Сечение на чертеже
Сечение, это воображаемый срез части предмета, образованный пересечением его с плоскостью. Профиль сечения указывается на чертеже с целью детального отображения геометрических особенностей и размеров отдельного участка детали. Сечение отличается от разреза тем, что отображает только контур грани расположенный на секущей плоскости, а все остальные сегменты, расположенные за ней, не изображаются.
Технические чертежи содержат разнохарактерные типы изображений, это могут быть виды, разрезы, сечения и прочее. Вспомогательные графические элементы, такие как, сечения играют важную роль в передаче геометрической информации, которая показывает скрытые части детали необходимые для её изготовления.
Сечения подразделяются на виды отображения. К одному из таких подразделов относится, наложенное сечение, которое непосредственно располагается на изображении исходного предмета.
Вынесенное симметричное сечение ещё один способ визуализации среза предмета, который в виду своей практичности, является более предпочтительным. Такой вид зрительного воспроизведения может компоноваться в непосредственной близости от основного изображения, причём ось симметрии должна совпадать с местоположением секущей плоскости и пересекать внешнее очертание предмета.
Сечение помещённое в разрыве
В случаях, когда секущая плоскость проходит сквозь отверстия некруглой формы, в результате чего получается сечение, состоящее из отдельных частей, его нужно заменить разрезом, для правильного отражения особенностей предмета.
При выполнении одинаковых по форме сечений указываемых на однородном предмете, выносной профиль среза показывается в одном исполнении для всех одинаковых частей, а линии служащие обозначением мест их расположения обозначаются одной и той же буквой.
повёрнуто». Когда секущие плоскости не параллельны друг другу, то знак «повернуто» не наносится.
Вместо плоскостей отсекающих необходимые части объекта разрешается применять секущие цилиндрические поверхности, которые затем можно развернуть в плоскость. У некоторых деталей представление такого детального разреза обеспечивает наглядную характеристику его конструктивных индивидуальных черт. Над развернутым сечением наносится надпись с буквами того же формата но с добавлением знака, – «».
Разрезы. Сечения
Лекция 12
Разрезы. Сечения.
Введение
Разрезы и сечения применяются для изображения внутренних, невидимых наблюдателю, поверхностей предметов.
Для выявления этих поверхностей применяют искусственный прием, заключающийся в том, что предмет условно рассекают плоскостью, называемой секущей, и удаляют часть предмета, находящуюся перед секущей плоскостью. Таким образом становятся видимыми внутренние очертания предмета.
Разрезом называется изображение предмета, мысленно рассеченного одной или несколькими плоскостями. На разрезе изображается то, что получается в секущей плоскости в результате её пересечения с поверхностями предмета (сечение, входящее в состав разреза) и что расположено за ней.
Сечение представляет собой изображение плоской фигуры, получающейся в секущей плоскости при мысленном рассечении предмета.
Рис. 12.1
На рис 12.1. показано образование разреза детали. Для выяснения внутренней формы деталь целесообразно рассечь фронтальной секущей плоскостью, походящей через выемки, расположенные в основании этой детали.
На рис 12.1. изображены передняя, находящаяся перед секущей плоскостью, мысленно удаляемая и оставшаяся (проецируемая) часть детали. Разрез расположен на фронтальной плоскости проекции, параллельно секущей плоскости и представляет собой ортогональную проекцию оставшейся части детали. Для получения неискаженных изображений секущая плоскость всегда должна быть параллельна плоскости изображения. Если секущая плоскость не параллельна плоскости изображения (наклонные разрезы и сечения), для достижения параллельности следует применять способы преобразования чертежа.
Мысленное рассечение предмета секущей и плоскостью относятся только к данному разрезу и не влечет за собой изменения других изображений (видов, разрезов) того же предмета.
Так, на рис. 12.1. виды сверху и слева не изменились от того, что на месте главного вида выполнен разрез.
Для выяснения внутренней формы детали выполним ещё один разрез, изображенный на рис. 12.2а. Этот разрез выполняется независимо от первого новой секущей плоскостью (профильной), проходящей через ось цилиндрического отверстия. Разрез расположен на профильной плоскости проекции, параллельно секущей плоскости. На рис. 12.2б выполнен чертеж детали с рассмотренными выше разрезами.
Рис. 12.2а, б
Классификация разрезов
В зависимости от секущей плоскости относительно горизонтальной плоскости проекций разреза разделяются на горизонтальные, вертикальные и наклонные.
Горизонтальными разрезами называются разрезы, выполненные горизонтальной секущей плоскостью (см. рис. 12.4)
Вертикальными разрезами называются разрезы, выполненные секущей плоскостью, перпендикулярной горизонтальной плоскости проекций.
Если вертикальный разрез выполнен фронтальной секущей плоскостью, его называют фронтальным; профильной секущей плоскостью профильными.
Наклонными называются разрезы, у которых секущая плоскость составляет с горизонтальной плоскостью проекций, угол отличный от прямого (рис. 12.5).
В зависимости от числа секущих плоскостей разрезы разделяются на простые и сложные. Простые разрезы выполняются одной секущей плоскостью, сложные несколькими.
Разрезы делятся на продольные и поперечные в зависимости от положения секущей плоскости относительно измерений самого предмета.
Продольными называются разрезы, секущие плоскости которых направлены вдоль длины или высоты предмета (см. рис.12.5).
Поперечными называются разрезы, у которых секущие плоскости направлены перпендикулярно к длине или высоте предмета (см. рис. 12.6).
12.
1 Обозначения разрезов
Положение секущей плоскости на чертеже указывают линии сечения. Для горизонтальных разрезов линии сечения указываются на главном виде или виде слева, для фронтальных на виде сверху и слева; для профильных на главном виде и виде сверху. Для линии сечения применяется разомкнутая линия толщиной от S до 1,5S (см. ГОСТ 2.303-68).
Для простых разрезов вычерчиваются начальный и конечный штрихи (рис. 12.2), а для сложных начальный, у перегибов и конечный штрихи (рис. 12.12). Начальный и конечный штрихи линий сечения не должны пересекать контур соответствующего изображения. На этих штрихах перпендикулярно к нам следует ставить стрелки, указывающие направление взгляда. Стрелки находятся на расстоянии 2-3 мм от конца штриха (рис. 12.3)
Рис. 12.3.
У начала и конца линии сечения, а при необходимости и у перегибов этой линии (для сложных разрезов), ставят одну и ту же прописную букву русского алфавита.
Буквы наносят около стрелок, указывающих направления взгляда, и в местах перегиба (в случае необходимости) со стороны внешнего угла, образованного линией сечения и стрелкой. Располагают их параллельно основной подписи чертежа.
Разрезы простые и сложные отмечаются надписью типа «А-А», теми же буквами, что и у линии сечения, написанными над разрезом через тире. Их располагают параллельно основной надписи чертежа.
Если секущая плоскость совпадает с плоскостью симметрии предмета в целом (его наружной и внутренней формой) и соответствующие изображения расположены на одном и том же месте в непосредственной проекционной связи и не разделены какими-либо другими изображениями, на простых горизонтальных, фронтальных и продольных разрезах не отмечают положение секущей плоскости и разрез надписью не сопровождают.
Примеры разрезов, не требующих надписей, приведены на рис.
12.6.
12.2 Простые разрезы
Горизонтальные разрезы. Горизонтальные разрезы могут быть расположены на месте видов сверху или снизу в том случае, если эти виды не нужны для выяснения формы наружных очертаний предметов. Если эти виды необходимы, горизонтальный разрез следует располагать на свободном месте поля чертежа в соответствии с направлением, указанным стрелками. В этом случае должно быть отмечено положение секущей плоскости и надписан разрез.
Так, на рис. 12.4 вид сверху необходим для выяснения формы верхнего профиля детали, поэтому горизонтальный разрез помещен на свободном месте поля чертежа и надписан (А-А).
Рис. 12.4
На рис. 12.5 горизонтальный разрез расположен на месте вида сверху, что не нарушило представления о наружной форме детали и дало возможность выполнить чертежи с наименьшим количеством изображений.
Рис. 12.5
Из чертежа видно, что фронтальная проекция секущей плоскости (линия сечения А-А) не является осью симметрии изображения. В этом случае положение секущей плоскости следует отметить и над разрезом сделать надпись, что и выполнено на рис. 12.5.
Вертикальные разрезы. Фронтальные разрезы могут быть расположены на месте главного вида. В том случае, если этот вид является необходимым для выяснения формы наружных очертаний предмета, разрезы помещают на свободное место поля чертежа.
Рис. 12.6
Выполненный на рис. 12.6 фронтальный разрез помещен на месте главного вида. Положение его секущей плоскости не отмечено, и сам разрез не надписан, так как в данном случае секущая плоскость совпадает с плоскостью симметрии детали, а разрез расположен в непосредственной проекционной связи с остальными изображениями.
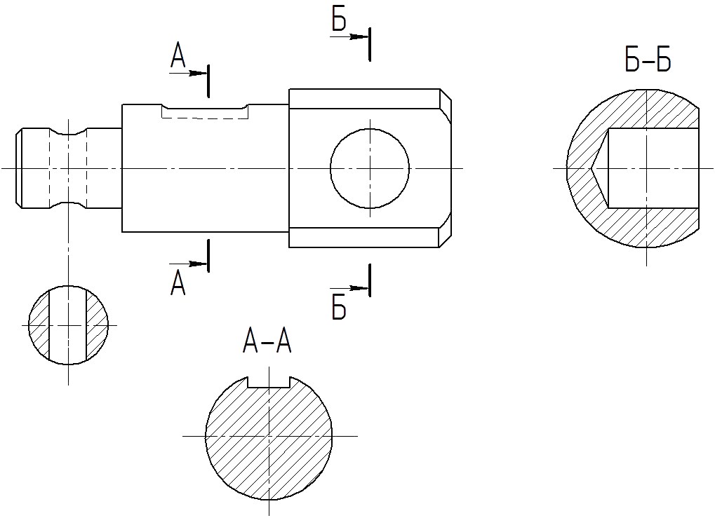
Для выяснения формы детали, изображенной на рис. 12.7, выполнено два профильных разреза. Разрезы расположены на месте вида слева (Б-Б) и вида справа (А-А).
Рис. 12.7
Наклонные разрезы. Вертикальный разрез, когда секущая плоскость не параллельна фронтальной или профильной плоскости проекций, а также наклонный разрез должны строиться и располагаться в соответствии с направлением, указанным стрелками на линии сечения (рис. 12.8).
Рис. 12.8
При выполнении вертикального разреза детали, изображенной на рис. 12.8 для получения неискаженного сечения фронтальную плоскость П2 заменяют дополнительной плоскостью, которая перпендикулярна к горизонтальной плоскости проекций П1 и параллельна секущей плоскости, отмеченной линией сечения А-А.
Подобные разрезы, а так же наклонные допускается располагать с поворотом до положения, соответствующего принятому для данного предмета на главном изображении. В этом случае к надписи добавляется знак «…», означающий повернутое изображение.
Рис. 12.9
На рис. 18.9 изображен корпус подшипника, наклоненный к горизонтальной плоскости проекций. Для выявления его формы целесообразно выполнить наклонный разрез фронтально-проецирующей плоскостью (линия сечения А-А).
Наклонный разрез помещен на свободном месте поля чертежа и надписан. Секущая плоскость разрезает одно ребро детали вдоль длинной стороны, оно не заштриховано.
18.3 Совмещение вида с разрезом
Для уменьшения количества изображений целесообразно во многих случаях соединять часть вида и часть соответствующего разреза.
Это сочетание даёт возможность при наименьшем количестве изображений получить исчерпывающее представление о внешней и внутренней форме изображенного предмета.
Соединение части вида с частью соответствующего разреза выполняется на изображениях, расположенных на местах основных видов (в проекционной связи). Часть вида и часть соответствующего разреза допускается соединять, разделяя их сплошной волнистой линией. Такое соединение выполняется для несимметричных фигур (рис. 12.7).
Если соединяются половина вида и половина разреза, каждый из которых является симметричной фигурой, разделяющей линией служит ось симметрии – штрихпунктирная тонкая линия. Разрезы рекомендуется располагать справа и снизу от оси симметрии.
Рис. 12.10
Для выявления наружных и внутренних очертаний детали, изображенной на рис. 12.10 разрезы выполнены в соединении с соответствующими видами, что обусловлено формой данной детали.
На представленных изображениях соединяются половина вида и половина разреза, каждый из которых есть симметричная фигура, свидетельством чему являются оси симметрии всех изображений.
На половине вида не следует проводить штриховых линий проекции внутренних очертаний предмета (они изображены на разрезе), а на половине разреза не следует повторять штриховыми линиями изображения наружных очертаний предмета так, как они показаны на половине вида.
Рис. 12.11
Если линия оси симметрии изображения совпадает со сплошной основной линией, принадлежащей проекции предмета (например, ребра), следует соединять части вида и разреза, разделяя их сплошной волнистой линией. Эту линию можно проводить справа (рис. 12.11а) или слева (рис. 12.11б) ось фронтальной проекции ребра в зависимости от того, что необходимо показать на виде и на разрезе.
12.
4 Сложные разрезы
Выполнение сложных разрезов дает возможность уменьшить количество изображений, так как на одном изображении при помощи нескольких секущих плоскостей можно выявить внутреннюю форму предмета в разных его местах.
В зависимости от взаимного положения секущих плоскостей сложные разрезы делятся на ступенчатые и ломаные.
Ступенчатые разрезы выполняются параллельными секущими плоскостями. Они могут быть горизонтальными, фронтальными, профильными и наклонными.
На рис. 12.12а изображен фронтальный ступенчатый разрез детали, выполненный двумя фронтальными секущими плоскостями. При построении разреза секущие плоскости совмещаются в одну плоскость, параллельную плоскостям изображения. На разрезе не отображается то, что он выполнен несколькими секущими плоскостями.
Рис. 12.
12
Переход от одной секущей плоскости к другой осуществляется плоскостью, перпендикулярной к секущим плоскостям, так называемой плоскостью перехода. В некоторых случаях переход от одной секущей плоскости к другой выполняют плоскостью, проходящей по оси симметрии отверстия, как это показано на рис. 12.12б. На рис. 12.12в выполнен наклонный ступенчатый разрез.
Ломаные разрезы выполняются пересекающимися секущими плоскостями (их линия сечения является ломаной линией).
Для получения неискаженных изображений секущие плоскости этих разрезов способом вращения вокруг проецирующих прямых (линии пересечения секущих плоскостей) совмещаются в одну плоскость, параллельную плоскости изображения. Если совмещенные секущие плоскости окажутся параллельными одной из основных плоскостей проекций, ломаный разрез помещают на месте соответствующего вида. Выбор плоскости совмещения зависит от заданных условий (конструктивных особенностей предмета, удобства размещения и т.
д.)
На рис 12.13 изображен ломаный разрез, образованный двумя пересекающимися горизонтально-проецирующими плоскостями, одна из которых фронтальная. Для построения разреза левую секущую плоскость вместе с расположенным в ней сечением поворачивают вокруг линии её пересечения с фронтальной секущей плоскостью до совмещения с последней.
Рис. 12.13
В данном примере направление совмещения секущей плоскости (поворота) совпадает с направлением взгляда, указанного стрелкой на линии сечения (у буквы А).
Направление взгляда может и не совпадать с направлением поворота секущих плоскостей до совмещения их в одну плоскость, как это выполнено на рис. 12.14, где направление совмещения и стрелки у буквы А противоположны.
При построении ломаных разрезов следует обращать внимание на изображение элементов предмета, расположенных за секущей плоскостью, которые при выполнении разреза поворачивать не следует.
Так спроецирован выступ детали на рис. 12.13, расположенный за секущей горизонтально-проецирующей плоскостью, он не участвует в повороте.
Рис. 12.14
12.5 Местный разрез
Местным разрезом называется разрез, служащий для выяснения устройства предмета лишь в отдельном, ограниченном месте. Местные разрезы применяются в тех случаях, когда для выяснения внутренней формы предмета целесообразно показать разрез лишь на некоторой части проекции, вскрывая интересующие нас выемки, отверстия и т.д.
Местный разрез выделяется на виде сплошной волнистой линией. Эта линия не должна совпадать с какими-либо другими линиями изображения. На рис. 12.9 для изображения цилиндрических отверстий детали выполнены местные разрезы. На чертежах местные разрезы не обозначаются.
12.6 Сечения
Для изображения большой группы деталей применяются нормальные сечения, которые изображаются самостоятельно, т.
е. не входят в состав разреза. Такие сечения в большинстве случаев выявляют форму предметов в их поперечных измерениях.
Сечением называется изображение, полученное при мысленном пересечении предмета одной или несколькими плоскостями.
В сечении показывают лишь то, что получается в секущей плоскости. Часть предмета, находящуюся за этой плоскостью в сечении не изображают. Следовательно, для получения сечения нужно:
а) в определённом месте детали провести секущую плоскость;
б) фигуру, полученную в сечении повернуть в положение, параллельное плоскости проекций;
в) на свободном месте поля чертежа вычертить сечение и, в случае необходимости, оформить его надписью.
12.6.1 Классификация сечений
Сечение, как разрез, – изображение условное. Условность заключается, во-первых, в том, что секущую плоскость проводят мысленно, а во-вторых, – в том, что фигура, образованная в сечении, отдельно от предмета не существует: её мысленно отрывают и изображают на свободном месте поля чертежа.
Сечения разделяют на входящие в состав разреза и существующие как самостоятельные изображения. Последние, в свою очередь, разделяются на вынесенные и наложенные.
Сечение называют вынесенным, если оно выполнено отдельно от основного изображения. Их допускается располагать в разрыве между частями одного и того же вида. Вынесенные сечения предпочтительнее наложенных, которые затемняют чертежи. Вынесенные сечения обводят сплошной основной линией и заштриховывают под углом 45° к основной надписи чертежа.
Правила и обозначения линии сечения, т.е. следа секущей плоскости, те же, что и для разрезов.
Рассмотрим некоторые случаи выполнения вынесенных сечений:
1. Сечение представляет собой симметричную фигуру, размещенную на продолжении следа секущей плоскости. В этом случае линию сечения, совпадающую с осью симметрии самого сечения, изображают тонкой штрихпунктирной линией без обозначения буквами и стрелками (рис.
12.15а). Так же выполняют симметричные сечения, располагаемые в разрыве между частями самого изображения (рис. 12.15в)
Рис. 12.15.
2. Сечение представляет несимметричную фигуру, размещенную на свободном месте поля чертежа. В этом случае линию сечения обозначают и само сечение подписывают (рис. 12.16)
Рис. 12.16.
3. Сечение располагают на месте вида слева в непосредственной проекционной связи (рис. 12.17)
Рис. 12.17.
Наложенным сечением называется сечение, расположенное непосредственно на виде предмета. Контур наложенного сечения изображают сплошными тонкими линиями, причем контур изображения в месте расположения наложенного сечения не прерывают (рис. 12.15б).
если фигура сечения симметрична положение секущей плоскости указывают штрихпунктирной тонкой линией без обозначения буквами и стрелками и линию сечения не проводят (рис. 12.15б)
Во всех остальных случаях для линии сечения применяют разомкнутую линию с указанием стрелками направления взгляда, обозначают её одинаковыми прописными буквами русского алфавита. Сечение сопровождают надписью по типу «А-А»; размеры букв, величина стрелок и другие данные такие же, как и для разрезов.
Построение и расположение сечения должно соответствовать направлению, указанному стрелками. Допускается располагать сечение на любом месте поля чертежа.
Для несимметричных сечений, расположенных в разрыве (рис. 12.18а) или наложенных рис. (12.18б), линию сечения проводят со стрелками, но буквы не обозначают.
Рис. 12.18.
Для нескольких одинаковых сечений, относящихся к одному предмету, линию сечения обозначают одной буквой и вычерчивают одно сечение (рис.
12.17).
Рис. 12.19.
Если секущая плоскость проходит через ось поверхности вращения, ограничивающей отверстие или углубление, контур отверстия или углубление показывают полностью как на разрезе (рис .12.19.). На этом чертеже контур призматического отверстия (шпоночного паза) показан не полностью, а контур цилиндрических отверстий и конического углубления полностью.
Рис. 12.20.
Если секущая плоскость проходит через некруглое отверстие и сечение состоит из отдельных самостоятельных частей, следует применять разрезы (рис. 12.20). При необходимости допускается в качестве секущей применять цилиндрическую поверхность, развертываемую затем в плоскость (рис. 12.21.)
Рис. 12.21.
Рис.
12.22.
12.6.3 Наклонные сечения
Секущие плоскости могут быть направлены по отношению к плоскостям проекций под различными углами. В этом случае допускается располагать сечения с поворотом, добавляя соответствующий знак , означающий, что изображение повернуто (рис. 12.22а).
Если на чертеже несколько секущих плоскостей, наклоненных под
разными углами, то знак не наносят (рис. 12.22б).
Рис. 12.22.
Секущие плоскости следует выбирать, чтобы получать нормальные поперечные сечения. Если элементы предмета наклонены к плоскостям проекций, секущие плоскости для получения нормальных сечений располагают перпендикулярной к этим элементам (рис. 12.23)
Рис. 12.23
Разрезы – Энциклопедия по машиностроению XXL
Известным примером тензора может служить тензор напряжений, который может быть введен следующим образом.
Один из методов обнаружения напряженного состояния в точке тела состоит в том, что делается разрез (разумеется, мысленный) через эту точку и наблюдается, с какой силой каждая из двух частей тела воздействует на другую. (Эта сила однозначно определяется как сила, которая должна быть приложена к поверхности разреза с тем, чтобы сохранить условия, которые существовали перед тем, как
[c.20]
Для выполнения этой операции надо осмотреть деталь, узнать ее наименование, определить материал и поверхности, ограничивающие элементы детали, продумать возможные способы ее изготовления, определить главное изображение и достаточное число других изображений (видов, разрезов, сечений), необходимых для полного отображения формы детали. [c.27]
СОДЕРЖАЩИМ РАЗРЕЗЫ И СЕЧЕНИЯ [c.45]
Для выявления формы отдельных элементов детали (внутренних, поперечных, продольных) применяют разрезы и сечения.
[c.45]
Правила их построения установлены ГОСТ 2.305—68. Необходимость применения разрезов и сечений обусловлена тем, что на чертежах многих деталей выявить их внутренние невидимые контуры при помощи штриховых линий не всегда целесообразно и возможно, так как это загромождает чертеж. Поэтому в черчении разработан прием, который позволяет ясно показать на чертеже невидимые элементы любой сложности. Чтобы пояснить, как получаются разрезы и сечения, в качестве примера взят шатун (рис. 32, а). [c.45]
| Рис. 32. Получение условных разрезов и сечений на чертежах |
На рис. 33 показаны некоторые условные графические обозначения материалов в разрезах и сечениях для деталей, изготовленных из металла (рис.
33, а), неметаллических — пластмассовых и других материалов (рис. 33, б) и дерева (рис. 33, б — в поперечном сечении, рис. 33, г — в продольном сечении).
[c.48]
Для выявления формы внутренних элементов детали применяют разрезы. Образование разрезов рассмотрено в 9. [c.48]
| Рис. 34. Примеры, иллюстрирующие применение всех случаев разрезов |
[c.50]Третий пример. Деталь преобразована так, что с осью симметрии фигуры на главном виде совпала проекция внутреннего ребра. В этом случае соединяют меньшую часть вида с большей частью соответствующего разреза, а разделом между ними служит сплошная волнистая линия. [c.50]
Четвертый пример. Деталь изменена так, что с осью симметрии совпадает наружное ребро. В этом случае соединяют большую часть вида с меньшей частью разреза. [c.50]
Шестой пример. В данной детали отсутствует сквозное отверстие имеется лишь отдельный элемент, требующий для выполнения внутренней формы применения местного разреза. Местный разрез выделяется на виде сплошной волнистой линией. [c.50]
Восьмой пример. Изображенная деталь отличается от предыдущей одним добавленным элементом А, нарушившим ее симметричность относительно секущей плоскости. При выполнении разреза этот элемент окажется в отсеченной части. Чтобы не давать дополнительных изображений, элемент А на главном изображении показывают условно штрих-пунктирной утолщенной линией.
Такими линиями изображают при выполнении разрезов элементы детали, расположенные перед секущей плоскостью в условно отсеченной ее части (так называемая наложенная проекция). Необходимость такого приема здесь вполне оправдана значительно сокращается графическая работа, так как не требуется дополнительно давать полный или частичный вид. Очевидно, что часть размеров для данного элемента придется давать на этом условном изображении.
[c.51]
Девятый пример. Изменение детали потребовало применения нового правила выполнения разреза. На главном изображении применен ломаный разрез, который должен быть изображен и обозначен, как показано на чертеже. [c.52]
Двенадцатый пример. На аксонометрическом изображении ребра в продольном разрезе штрихуют так же, как и другие элементы детали. [c.52]
На рис. 35 показаны направления штриховки в аксонометрических проекциях с разрезами для одной детали. [c.52]
Построение основано на том, что для всех размеров и сечений одной детали на комплексном чертеже принято штриховку обязательно выполнять в одном направлении (обычно под 45° в горизонтали, вправо (рис.
35, а) или влево). Выделенные квадратные элементы из фигур сечения трех изображений (с разрезами) комплексного чертежа детали в изометрии изобразятся заштрихованными ромбами, как показано на рис. 35, е, а в диметрии — как показано на рис. 35, г и укажут направления спроецированной штриховки.
[c.52]
Рассмотренные на рис. 34 примеры показывают, что форма детали определяет выбор целесообразного разреза. Поэтому при чтении чертежа примененный для выявления внутренней формы детали разрез [c.52]
На рис. 45, а показан чертеж, содержащий изображение на дополнительную плоскость для выявления формы боковых ребер и втулки с отверстием. На горизонтальной проекции дан разрез А — А, чтобы исключить ненужное изображение с искажением ребер и втулки. Процесс получения изображения на дополнительной плоскости проекций рассмотрен на рис. 45, б. [c.60]
На рис. 50, е разрез выполнен рационально (один повторяющийся элемент — окно спроецировалось без искажения, два других — оказались в условно отсеченной части).
[c.68]
Главное изображение дает наиболее полное представление о детали. Так как деталь не имеет симметрии относительно вертикально-поперечной плоскости, проходящей через ось основного конуса, применяется полный разрез. [c.72]
Разрез А — А потребовался только для того, чтобы выявить контурные очертания внутреннего прилива на конической поверхности, так как две другие проекции — главное изображение и сечение И — [c.73]
После того как конструктор уже отобразил на чертеже форму детали, перед ним встает вторая задача — обозначить величину (длину, ширину, высоту, диаметр, глубину) для каждого элемента детали в установленных единицах измерения — миллиметрах. Правда, об этом он думал еще раньше, когда решал вопросы о количестве изображений. Давая то или иное дополнительное изображение — сечение, разрез, вид, конструктор старался показать на них не только форму неясных еш е элементов, но и проставить их размеры.
[c.74]
На каждом изображении — виде (указатель 33), разрезе (указатель 4), сечении (указатель 25), выносном элементе (указатель 36) — наносят размеры именно тех элементов детали, для выявления которых эти изображения выполнены. Размеры, относящиеся к одному элементу, группируют на том изображении, на котором он наиболее понятен, а не распределяют равномерно, как иногда ошибочно делают на чертежах. [c.87]
При разделительной резке изделие устанавливают в положение, в котором наиболее благоприятны условия для вытекания расплавлеппого металла из места реза. При вертикальных резах резку ведут сверху вниз, для того чтобы выплавляемый металл не засорял выполненный разрез. Для отклонения дуги магнитным дутьем в направлении реза второй сварочный кабель присоединяют сверху у начала разреза. Разделительную резку начинают с кромки или с середины листа. В последнем случае вначале прорезают отверстие. Затем, наклонив электрод так, чтобы кратер был расположен на торцовой кромке реза, оплавляют ее (рис, 64).
Если
[c.76]
Для приближенного определения характера структуры обычно пользуются диаграммой Шеффлера, предварительно подсчитав эквивалеитпые содержания никеля и хрома. На структуру этих сталей оказывает влияние также термообработка, пластическая деформация н другие факторы. По )тому положение фазовых областей на диаграммах состояния определено для немногих систем в виде псевдобинарн1,[х разрезов тройных систем, обычно Fe—Сг—Ni с углеродом. [c.281]
При выполнении чертежей применяют различные услбвности, установленные государственными стандартами. Так, например, чтобы вскрыть невидимые внутренние элементы детали, дают условные разрезы (указатель /, рис. 11), а для изображения резьб условности (указатели 2 и 3). Подробно о всех условностях, принятых при выполнении чертежей, будет рассказано в последующих главах. [c.18]
Показанный на рис. 32, б способ их получения (путем мысленного рассечения детали секущими плоскостями) является как бы ключом для понимания общей условности для любых разрезов или сечений, применяемых на производственных чертежах.
Важно обратить внимание на положение секущей плоскости, положение наблюдателя и на ту часть детали, находящуюся между наблюдатеяем и секущей плоскостью, которая должна быть мысленно удалена. Изображается толь-
[c.45]
На рис. 34 показано применение правил выполнения разрезов, установленных стандартом, на конкретных примерах однотипных деталей. Очень важно правильно применять эти правила, так как даже небольшие нарушения их могут привести к усложнению чтения чертежа и даже к браку. Так, стандартом рекомендовано соединение па1овины вида с половиной соответствующего разреза для деталей [c.48]
Второй пример. На чертеже изображена деталь, полученная на основе первой так, что ее внутренняя и наружная формы усложнены. Если дать полный разрез, то внешняя форма окажется на чертеже не совсем ясной. Поэтому с целью сокращения графической работы и улучшения чтения чертежа в стандарте для этих су. у- аев установлено правило, по которому рекомендуется соединять половину вида с половиной соответстБуюш,его разреза.
Разделом между ними служит осевая линия симметрии. Справа наглядно показано, что в случае применения штриховых линий для изображения невидимого контура читать чертеж будет труднее.
[c.50]
Десятый пример. Изменение расположения одного штуцера в этой детали обусловило целесообразность применения ступенчатого разреза на горизонтальной проекции. Ступенчатые разрезы в таких счучаях изображаются и обозначаются, как показано в этом примере. [c.52]
Одиннадцатый пример. На чертеже изображена деталь с продольными вертикальными ребрами. В продольном разрезе ребра показывают незаштрихованными и отделяютлиниями видимого контура. [c.52]
Для некоторых симметричных деталей целе-сообраз.чо применять полные разрезы (рис. 37, а), а не соединение половин вида и разреза (рис. 37, б). [c.53]
На рис. 38 приведен пример изображения сплц в продольных разрезах спицы не штрихуют, а наложенным или вынесенным сечением выявляют их поперечную форму.
[c.53]
На рис. 53 показаны три основных изображения и большое количество дополнительных (всего их 14), отображающих формы отдельных элементов детали корпуса прибора. Расположение основных изображений чертежа обычное главное изображение (полный разрез) располагается в верхней левой четверти чертежа, под ним— вид сверху с местным разрезом, справа от главног о— вид слева тоже с местным разрезом. Рассмотренные выше сведе- [c.69]
КСП по предмету черчение. “Виды сечений и разрезов. Сечения”
Раздел долгосрочного планирования:
Основные виды изображений и их
построение.
Школа: КГУ «Гимназия №6 города Семей»
Дата:
Класс: 10
Тема урока
Учебные цели, достигаемые на этом
уроке (Ссылка на учебный план)
Цель урока
Критерии оценки
Языковые цели
Привитие ценностей
Межпредметная связь
Предшествующие знания
ФИО учителя: Попова Т.В.
Участвовали:
Не участвовали:
Виды сечений и разрезов. Сечения.
10.2.4.1. Знать и понимать целесообразность
применения сечения и разрезов на чертежах
10.
2.4.2. Знать и применять правила изображения
сечения и разреза на чертеже
Знание и понимание
Определять сечения и разрезы среди графических
изображений.
Применение
Усвоить правила выполнения сечений на чертеже.
Различать виды сечений.
Синтез
Анализировать и выделять правильно выполненные
сечения из группы предложенных.
Определяет сечения и разрезы среди графических
изображений.
Осваивает правила выполнения сечений на чертеже.
Различает виды сечений.
Анализирует и выделяет правильно выполненные
сечения из группы предложенных.
Обучающиеся развивают технический язык, применяя
терминологию в процессе общения в группах.
Предметная лексика:
технический рисунок;
наглядное изображение;
фронтальная, горизонтальная, профильная проекции;
чертеж плоской детали;
сечения;
разрезы;
штриховка;
вынесенное и наложенное сечение; секущая плоскость.
Ценности общенациональной идеи “Мәңгілік Ел».
5 ценность. Общество Всеобщего Труда. Урок направлен
на привитие учащимся базовых ценностей: «труд и
творчество», «сотрудничество».
Формирование пространственного мышления, развитие
конструкторских способностей.
Технология, геометрия
Учащиеся знают понятия и умеют выполнять на
чертежах: технический рисунок; наглядное
изображение; фронтальная, горизонтальная, профильная
проекции; чертеж плоской детали. Ход урока
Запланированные
этапы урока
Начало урока
5 мин.
Середина урока
30 мин.
Виды упражнений, запланированных на урок:
Ресурсы
1.Психологический настрой.
Добрый день, ребята! Приглашаю вас всех в наш «круг
радости». Давайте все встанем дружно в круг,
рядышком, плечом к плечу. Улыбнемся друг другу и
пожелаем успеха в работе на уроке.
2.Деление на группы.
Предлагаю для следующего этапа урока разделиться на 3
группы. Игра «Лото».
Учащиеся получают карточки с различными изображениями:
изометрическая проекция, диметрическая проекция, эпюр
Монжа. На столах каждой группы стоят соответствующие
надписи. При этом делении дети активизируют свои знания
по прошлым темам.
3.Создание коллаборативной среды. Правила работы в
группах.
Распределение в группе (секретарь, спикер, таймер,
генератор идей) с учетом индивидуальных способностей.
1.Постановка целей урока.
Для определения учащимися темы урока на этом
этапе предлагается активный метод обучения
«Мозговой штурм».
Каждая группа получает карточку с изображениями:
технический рисунок; наглядное изображение;
фронтальная, горизонтальная, профильная проекции;
чертеж плоской детали, сечение, разрез.
Карточки
с различными
изображения
ми:
изометричес
кая проекция,
диметрическая
проекция, эпюр
Монжа.
Таблички на
столах группы
с надписями
соответствую
щих
изображений.
Карточки с
изображениям
и.
«Черчение», 9
класс.
Гордиенко
Н.А.,
Степакова
В.В.
Астрель,
Москва.
2010г.
а
в
б
г д
е
Задание (индивидуально). Дифференциация через
задания.
1.Найдите известные вам изображения, выпишите
буквенные обозначения.
2. Выпишите правильно названия предложенных
изображений.
3. Запишите буквенные обозначения изображений,
которые вам не известны.
Предположите, для чего они
предназначены.
Взаимооценивание.
1
2
3
Задание (групповое)
1.Обсудите правильные ответы.
2.Презентация правильного решения.
Учитель вместе с классом формулирует тему урока.
Тема нашего урока: Виды сечений и разрезов. Сечения.
Учащиеся записывают тему урока в тетрадь.
Физминутка для глаз.
2.Назначение сечений и разрезов.
Как определить сечения и разрезы на чертеже?
Что особенного в их изображении?
Какую часть детали они показывают?…
Применение закрытых и открытых вопросов.
Обсуждение в группах. Ответы.
Рабочая
тетрадь.
Учебные
таблицы.
«Черчение2,
Кураш Г.Л.
Москва.
2001г.
Разрез
Сечение
В конструкциях деталей может быть большое
количество отверстий, углублений и прорезей
различных форм. Поэтому введен удобный способ
изображения невидимых частей предмета. Этот способ
заключается в применении сечений и разрезов.
Сечения и разрезы это изображения, получающиеся при мысленном пересечении предмета плоскостью.
Стенки детали, которые условно разрезала проведенная
плоскость, заштриховывают тонкими сплошными
линиями под углом 45о.
Интервал между линиями 1…
10 мм.
Задание (индивидуальное практическое).
Выполните в тетради штриховку рассеченной
металлической поверхности размером 40х40 по
стандарту.
Дескрипторы.
1.Вычерчивает деталь по размеру.
2.Применяет соответствующюю металлу штриховку.
3.Соблюдает угол наклона штриховки.
4.Выдерживает параллельность прямых.
5.Использует равномерный интервал в пределах 1…10
мм.
1
2
3
4
5
+
+
+
+
+
Таблица примерного взаимооценивания.
Тетрадь,
чертежные
инструменты
и
принадлежнос
ти 3.Сечения.
Сечением называется плоская фигура, полученная при
мысленном рассечении предмета плоскостью. На
сечении показывают только то, что находится в
секущей плоскости.
Сечение является составной частью разреза, а так же
имеет самостоятельное значение.
Для детали может применяться одно или несколько
сечений.
Учебные
таблицы.
«Черчение»
№5,6
Сечение.
Преображенск
ая Н.Г.,
Преображенск
ая И.Ю..
Москва,
«Вента
Граф», 2003 4.Виды сечений.
По расположению сечений на чертеже их различают на
наложенные и вынесенные.
Задание. Выполните по изображениям следующие
задания (разноуровневое).
1.Определите виды сечений по расположению на
чертеже (а, б).
2.Выявите правила выполнения вынесенных и
наложенных сечений.
3.Сформулируйте определения для вынесенных и
наложенных сечений.
Карточки.
«Черчение»1,
2 часть
«Келешек
2030», 2013г.
Кульбаев
В.Б.,
Никитенко
В.В.,
Мухамадеева
Р.М.
б
а
авынесенное, бналоженное
1
2
3
Правила выполнения сечений.
1.Вынесенные сечения располагают вне контура
изображения детали на любом месте поля чертежа.
2.Контур вынесенного сечения обводят сплошной
толстой линией.
3.Наложенные сечения располагаются непосредственно
на видах.
4.Контур наложенного сечения обводят тонкой линией.
Концептуальная таблица.
Вынесенные
сечения
Наложенные
сечения
Критерии
сравнения
Расположение
Линия
контура
Нанесение
штртховки
Каждый ученик после выполненного задания
сравнивает свои результаты с ответами и правилами.
Дескриптор.
1.Определяет виды сечений по расположению на
чертеже.
2. Выявляет правила выполнения вынесенных и
наложенных сечений.
3. Формулирует определения для вынесенных и
наложенных сечений.
5.Задание (дифференциация по темпу).
Определить правильно выполненное сечение из
группы предложенных.
Карточки
Концептуаль
ная таблица с
ответами. Конец урока
5 мин.
Прием КМ « Телеграмма»
Кратко напиши на листочке бумаги, с какими
проблемами вы столкнулись на уроке, что еще не ясно.
23 предложения и отправь учителю. (Обратная связь)
Рефлексия. Расставьте стикеры на уровни «Пьедестала
почета» по удовлетворенности уроком.
Стикеры,
плакат.
Дифференциация – каким
способом вы хотите больше
оказывать поддержку? Какие
задания вы даете
ученикам более способным по
сравнению с другими?
Используется дифференциация
через задания для учащихся с
различным уровнем знаний,
задания для учащихся, которые
работают быстрее остальных.
Дифференциация внутри группы с
учетом индивидуальных
способностей учащихся.
В течение урока учитель
оказывает индивидуальную
поддержку учащимся,
нуждающимся в помощи
Оценивание – как Вы
планируете проверять
уровень освоения
материала учащимися?
Охрана здоровья и
соблюдение техники
безопасности
научатся
Обучающиеся
оценивать
собственную
работу и работу других,
используя дискрипторы по
теме «Виды сечений и
разрезов.
Сечения».
Все свои успехи и победы
ребята зафиксируют
на
«Пьедестале почета».
Соблюдение требований
СЭС. ТБ при движении в
классе, при работе в
группе с использованием
карандашей, линеек и
других предметов.
физминутки для глаз.
Проведение
Рефлексия по уроку
Была ли реальной и доступной цель урока
или учебные цели?
Все ли учащиеся достигли цели обучения?
Если ученики еще не достигли цели, как вы
думаете, почему? Правильно проводилась
дифференциация на уроке?
Эффективно ли использовали вы
время во время этапов урока? Были ли
отклонения от плана урока, и почему? Итоговая оценка
Какие две вещи прошли действительно хорошо (принимайте в расчет, как преподавание, так и
учение)?
1:
Какие две вещи могли бы улучшить Ваш урок (принимайте в расчет, как преподавание, так и
учение)?
1:
Что нового я узнал из этого урока о своем классе или об отдельных учениках, что я мог бы
использовать при планировании следующего урока?
Мы не можем найти эту страницу
(* {{l10n_strings.
REQUIRED_FIELD}})
{{l10n_strings.CREATE_NEW_COLLECTION}} *
{{l10n_strings.ADD_COLLECTION_DESCRIPTION}}
{{l10n_strings.COLLECTION_DESCRIPTION}} {{addToCollection.description.length}} / 500 {{l10n_strings.TAGS}} {{$ item}} {{l10n_strings.PRODUCTS}} {{l10n_strings.DRAG_TEXT}}{{l10n_strings.DRAG_TEXT_HELP}}
{{l10n_strings.
ЯЗЫК}}
{{$ select.selected.display}}{{article.content_lang.display}}
{{l10n_strings.AUTHOR}}{{l10n_strings.AUTHOR_TOOLTIP_TEXT}}
{{$ select.selected.display}} {{l10n_strings.CREATE_AND_ADD_TO_COLLECTION_MODAL_BUTTON}} {{l10n_strings.CREATE_A_COLLECTION_ERROR}}Обзор аннотаций поперечных сечений
Эта страница представляет собой общий обзор процесса аннотирования поперечных сечений, созданных OpenRoads.

Введение
После того, как коридор спроектирован, можно создать поперечные сечения. Однако, если вы хотите, чтобы на секциях было больше, чем просто предлагаемый коридор и существующий участок земли, необходимо будет выполнить другие процедуры. Чтобы элемент отображался в поперечных сечениях, это должен быть трехмерный элемент.
Обратите внимание, что ссылки на «12345» в именах файлов относятся к пятизначному номеру проекта.
Введение в подготовку чертежей поперечных сечений см. В разделе «Создание поперечных сечений
».Аннотировать сечения
Детали поперечного сечения и текст используют шкалу аннотаций.Для правильного отображения этих элементов необходимо установить масштаб аннотации.
- Затем измените масштаб чертежа на 1 “= 10 ‘. Это можно сделать в меню CADD> Настройки> Масштаб чертежа.
- Выполните команду «Сохранить настройки» и сохраните чертеж.
Инструмент аннотирования поперечных сечений
Выберите инструмент «Аннотировать сечения», чтобы добавить аннотацию.
Появится панель ниже.
Диалоговое окно “Аннотации сечений”
** Важно ** Выберите имя модели поперечного сечения (обычно MCxM-Sections), созданной на предыдущих шагах.Аннотации будут добавлены к неправильным сечениям, если не выбрана правильная модель!
В разделе «Поверхность» этой панели выберите «Треугольники» или «Имя коридора». Нажмите «Настройки», выберите предпочтение, которое вы хотите применить, и нажмите «Загрузить», а затем «Закрыть».
Диалоговое окно настроек
Каждое предпочтение будет иметь настройки, которые применяются к одному или нескольким типам элементов сечения: точкам, объектам или сегментам. В таблице ниже перечислены папки панели «Аннотировать поперечное сечение», используемые каждым Предпочтением, и примеры функций, которые будут аннотированы.
| Предпочтение | Папки | Аннотировать элементы пересечения |
|---|---|---|
| 1_Prop Slope & Supers | Сегменты | Линия верха и носка всех опор – без насечек и насечек |
| 2_Размер Ширина | Сегменты | Размерные точки коридора, содержащие размеры |
| 2A_Размер ширины и удлинительные линии | Функции и сегменты | MC, Travel Way, Edge of Pave, Edge of Lane, исключая обочины и обрывы на склоне – используйте только в том случае, если не используете 2_ |
| 3_Exist метки функций | Характеристики | Все существующие функции, включая экологические элементы и элементы полосы отчуждения |
| 4_Prop MC Elevation | Характеристики | Предлагаемые отметки трассы (MCxM. MCxM) |
| 5_Exist Sect Elevation | Характеристики | Существующая отметка осевой линии – раздел ExistElev. Дополнительные сведения см. В разделе «Аннотирование существующих отметок | ».
| 6_Prop Ditch Elev | Характеристики | Фронтальная траншея для откоса |
После закрытия панели «Настройки» панель «Аннотировать поперечное сечение» снова станет активной.Выбор папки расширит ее содержимое. Галочка появится (вверху в центре), если свойства этой папки определены для этого предпочтения.
Диалоговое окно “Аннотировать поперечное сечение”
Выберите запись «Аннотировать» в определенной папке, чтобы открыть список пересекающихся объектов, которые могут быть аннотированы.
Диалоговое окно “Аннотировать выбранное сечение”
Выделите объекты пересечения, которые вы хотите аннотировать (см. Рекомендации в таблице выше).
Выбор объекта пересечения выполняется, удерживая клавишу
Рекомендуется сохранять чертеж между каждым успешным аннотированием. Будьте особенно осторожны в случае ошибки, поскольку использование инструмента «Отменить» приведет к отмене всех аннотаций, размещенных с момента открытия окна или последнего сохранения чертежа.
Повторите, выбрав следующий параметр, откройте соответствующую папку (точки, элементы или сегменты) на панели «Аннотировать поперечное сечение», выберите вкладку «Аннотации» и выделите элементы пересечения. Щелкните Применить.
Образец сечения
В предыдущих версиях OpenRoads разделы экспортировались как чертежи MicroStation для редактирования.
Это уже не так. Этот чертеж можно открывать и изменять в MicroStation, а также в MX для (повторного) создания объемов конечных областей, если в компоненты были внесены обновления или нарисованные вручную исправления.Когда чертеж открывается через MicroStation, отображается меню задач поперечного сечения MicroStation (nhXSU10), потому что в имени чертежа есть «XS».
Свойства модели
Используйте инструмент «Модели»> «Редактировать свойства модели», чтобы изменить тип модели на «Дизайн», снимите флажок «Распространить масштаб аннотации» и измените настройку «Масштаб стиля линии», чтобы использовать глобальную шкалу стиля линии, которая должна быть = 1.
Макрос XS-Edit OpenRoads из раскрывающегося меню NHDOT также должен быть запущен для изменения некоторых уровней текста и замены некоторых меток правильным текстом.
Как построить поперечный разрез по карте – Видео и стенограмма урока
Создание поперечного сечения
Давайте рассмотрим различные шаги, необходимые для создания поперечного сечения на карте.
Шаг 1:
Возьмите тонкую полоску бумаги и поместите ее вдоль линии поперечного сечения. В месте пересечения контуров с полоской бумаги сделайте отметку и запишите высоту. Эти отметки и отметки показаны красным.
Шаг 2:
Возьмите эту полоску бумаги и положите ее на новый лист бумаги.Нарисуйте две вертикальные линии (похожие на две оси и на графике), представляющие границы вашего поперечного сечения. Кроме того, нарисуйте линии возвышения, расположенные на одинаковом расстоянии друг от друга, параллельно вашей полоске бумаги. Эти линии будут параллельны оси x на графике и помечены числами, представляющими высоту. Будет хорошо, если вы сделаете нижнюю линию на 50 футов ниже самой низкой отметки, а верхнюю линию на 50 футов выше самой высокой.
Шаг 3:
Нарисуйте точки, соответствующие отметкам на полосе бумаги, представляющей линию поперечного сечения.
Шаг 4:
Нарисуйте плавную линию, соединяющую точки. В некоторой степени это сделано по художественным причинам. Мы действительно не знаем, как выглядит местность между контурными линиями, поэтому делаем приблизительную оценку того, как это может выглядеть.
Вот как выглядит местность на хребте Армадилло, переходя от A к A ‘.Мы видим, что если бы мы взобрались на этот гребень, самый легкий путь к вершине был бы от A ‘до A , потому что местность плавно поднимается от 100 до 200 футов по сравнению с другой стороной гребня. Крутизна подъема примерно одинакова от 250 футов до пика на высоте 300 футов.
Резюме урока
Давайте вспомним важную информацию, которую мы узнали о построении поперечных сечений по карте. Топографическая карта – это плоская карта, представляющая высоты с горизонтальными линиями .
Эти контурные линии соединяют места с одинаковой высотой над уровнем моря. Поперечное сечение – это боковой профиль определенной линии, которую мы хотим нарисовать на карте. Обычно мы представляем эту линию поперечного сечения, начиная с A и заканчивая A ‘(A-простое число). Рисование поперечного сечения состоит из четырех этапов.
Шаг 1:
Поместите полоску бумаги вдоль поперечного сечения и сделайте отметку на бумаге в том месте, где контурные линии пересекаются с бумагой.Обязательно запишите высоту в этой точке.
Шаг 2:
Возьмите эту полоску бумаги и положите ее на чистый лист бумаги. Затем нарисуйте границы, определяемые линией вашего поперечного сечения. Кроме того, нарисуйте линии высот, расположенные на одинаковом расстоянии друг от друга, убедитесь, что они начинаются на 50 футов ниже самой низкой отметки. Закончите на 50 футов выше вашей максимальной отметки.
Шаг 3:
Нарисуйте точки на линиях возвышения, обозначенных вашей полосой бумаги.
Шаг 4:
Нарисуйте плавную линию, соединяющую точки.Мы хотим, чтобы поперечное сечение выглядело естественно, а не угловато.
Поперечные сечения и вырезы в книжках с картинками.
Этот пост был первоначально опубликован в Picture Book Den, блоге о книжках с картинками авторов и иллюстраторов.
Два типа картинок, которые гарантированно привлекали мое внимание в детстве, – это сечения и сечения . Эти показательные иллюстрации предлагали читателям божественное всеведение, позволяя им заглядывать в вещи, которые обычно были скрыты, и давали понимание того, как отдельные части или пространства соединяются вместе, образуя более сложное целое.
Если вы не понимаете, в чем разница, поперечное сечение – это чертеж, на котором показан вид, показанный воображаемым прямым срезом объекта, а разрез – это чертеж, на котором некоторые внешние части были удалены (или «вырезаны»), чтобы открыть интерьер.
Многие рисунки, представленные в книгах с «поперечными сечениями», на самом деле являются вырезами.
Лесли Эшвелл Вуд очень много сделал для популяризации визиток.Хотя, пожалуй, лучше всего он знает сотни вырезок, которые он создал для комикса Eagle в 1950-х и 60-х годах, Вуд также выпустил серию книг Inside Information , в том числе эту, в которой показаны вырезки космических кораблей, над которыми я потратил много часов, изучая их. ребенок.
| Внутренняя информация о космических путешествиях входил в серию из двенадцати Внутренняя информация визиток, иллюстрированных Лесли Эшвелл Вудом |
В 1990-е годы было повальное увлечение поперечными сечениями и брошюрами, особенно, пожалуй, особенно с серией Incredible Cross Section , проиллюстрированной Стивеном Бисти.
| Замысловатый разрез Стивена Биести в разрезе Колизея из Рима в захватывающем поперечном сечении с текстом Эндрю Солуэя. ![]() |
В то время как рисунки Биести раскрывали скрытые сложности реального мира, прошлого и настоящего, другие иллюстраторы начали создавать столь же подробные поперечные сечения и вырезы, основанные на вымышленных мирах фильмов и телешоу. В 1998 году Дорлинг Киндерсли опубликовал Звездные войны: Невероятные сечения , проиллюстрированный Гансом Дженсеном и Ричардом Часемором и написанный Дэвидом Уэстом Рейнольдсом.
| “Сокол тысячелетия” Ханса Йенсена в разрезе из “Звездные войны: невероятные сечения”. |
С тех пор все, от спасательного корабля Thunderbirds до мотоцикла и коляски Уоллеса и Громита, было обнажено в разрезе или поперечном сечении.
Забавной вариацией жанра является серия
Алана Сноу « Как все на самом деле работает» , которая призвана показать механическое внутреннее устройство знакомых существ.
| Поперечный разрез стегозавра из книги Алана Сноу Как на самом деле работают динозавры . |
Хотя некоторые из представленных выше книг содержат художественный контент, ни одна из них не является сборниками рассказов, поэтому я подумал, что закончу, просмотрев несколько книжек с картинками, которые включают в себя поперечные сечения в повествование.
Теперь, когда вы знаете, какой я фанат, вы, вероятно, не будете удивлены, узнав, что поперечные сечения и вырезы иногда появляются в книжках с картинками, которые я написал, например, на этом чудесно детализированном развороте в виде крокодиловой подводной лодки, созданном Стивом Коксом. для Сокровище капитана Когтя .
Крокодилоподобная подводная лодка Капитана Когтя (щелкните здесь, чтобы увидеть увеличенную версию).![]() |
Рисунок Криса Ридделла в разрезе для Pirate Diary , написанный Ричардом Платтом, позволяет читателям исследовать корабль, на котором разворачивается история…
… как и поперечное сечение Ноева ковчега (сделанное из пластилина!) Барбары Рид для ее иллюстрированной книги Two By Two .
Но ни один пост о поперечных сечениях и вырезах в книжках с картинками не был бы полным без упоминания двух книг Full Moon – Full Moon Soup и Full Moon Afloat – Алистера Грэма.Это обе книги с картинками без слов, в которых история рассказывается в последовательности из двенадцати комично детализированных сечений, заполненных набором все более странных и удивительных персонажей. В Суп полнолуния одноименное волшебное зелье приводит к отелю, похожему на Фолти-Тауэрс, начиная с , этого в начале книги…
… До это к концу.
Надеюсь, вам понравился этот «фрагмент» некоторых из моих любимых поперечных сечений и вырезов из книжки с картинками.
Если у вас есть какие-то собственные фавориты, я хотел бы услышать о них в поле для комментариев ниже.
Поперечное сечение подводной лодки, показанное выше, взято из
.Как называется область рисования? – MVOrganizing
Как называется область рисования?
Область рисования – это прямоугольная область, которая поддерживает рисование, получение ввода (щелчки мыши, движение мыши и нажатия клавиш) и запросы повторного отображения от X.Также полезно прочитать рисунок. …
Что такое локационные чертежи?
Географические чертежи / чертежи общего вида Чертежи общего вида (общие чертежи, иногда называемые схемами расположения) представляют общую композицию объекта, такого как здание.
Какие бывают типы рисунков?
Различные виды рисунков
- Иллюстрация Чертеж. Это чертежи, которые созданы для представления макета конкретного документа.
- Живой рисунок.
Рисунки, полученные в результате прямых или реальных наблюдений, являются рисунками из жизни. - Эмоциональный рисунок.
- Аналитический чертеж.
- Рисунок в перспективе.
- Схематический чертеж.
- Геометрический рисунок.
Что такое чертеж в разрезе?
«Чертеж в разрезе», «разрез» или «чертеж в разрезе» показывает вид конструкции, как если бы она была разрезана пополам или разрезана по другой воображаемой плоскости. Чертежи плана на самом деле являются разновидностью разреза, но они разрезают здание в горизонтальной, а не вертикальной плоскости.…
Что такое сечение AA на чертеже?
Режущая плоскость представлена линией разрезающей плоскости. Линия секущей плоскости определяется как A-A, а вид в разрезе определяется как вид A-A.
Что такое вид вырезки на чертеже?
Раздел лома позволяет увидеть часть отверстий на скрытом виде. Вы также можете создавать секции брака из схем отверстий.
Чтобы создать вид сечения утиля: Создайте модель, подобную показанной ниже: Создайте соответствующий чертеж.
Что такое чертеж в разрезе?
Поперечные сечения или сечения, как их обычно называют, представляют собой архитектурные чертежи, которые представляют собой ортогональные проекции конструкций с разрезами, пересекающими их.Этот тип проекции показывает трехмерный рисунок в двухмерном виде.
Что такое площадь поперечного сечения?
Площадь поперечного сечения – это площадь двумерной формы, которая получается, когда трехмерный объект – например, цилиндр – разрезается перпендикулярно некоторой указанной оси в точке. Например, поперечное сечение цилиндра, разрезанного параллельно его основанию, представляет собой круг.
Какой пример поперечного сечения?
Примеры поперечного сечения для некоторых форм: Любое поперечное сечение сферы представляет собой круг.Вертикальное сечение конуса представляет собой треугольник, а горизонтальное сечение – круг.
Вертикальное сечение цилиндра представляет собой прямоугольник, а горизонтальное сечение – круг.
Как описать поперечное сечение?
Поперечное сечение – это форма, которую мы получаем при прямом разрезании объекта. Поперечное сечение этого объекта представляет собой треугольник. Это похоже на взгляд внутрь чего-то, сделанного разрезанием. Это срез сельдерея.
Каким будет поперечное сечение?
Как по-другому обозначают поперечное сечение?
| слой | самолет |
|---|---|
| раздел | слой |
| вид |
Как сделать сечение?
Изготовление поперечного сечения
- Возьмите тонкую полоску бумаги и поместите ее вдоль линии поперечного сечения.
- Возьмите эту полоску бумаги и положите ее на новый лист бумаги.
- Нарисуйте точки, соответствующие отметкам на полосе бумаги, представляющей линию поперечного сечения.

- Нарисуйте плавную линию, соединяющую точки.
Это поперечное сечение или поперечное сечение?
Если вы ссылаетесь на совокупность определенных вещей или людей, вы имеете в виду их группу, которая, по вашему мнению, является типичной или репрезентативной для всех из них. Поперечное сечение объекта – это то, что вы бы увидели, если бы могли разрезать его прямо через середину. Зал квадратный в поперечном сечении.
Для чего используется поперечное сечение?
Поперечное сечение – это форма, которую вы создаете при прорезании или разрезании объекта. Они позволяют нам видеть, что находится внутри объекта. Некоторые из самых известных поперечных сечений – это конические сечения, поперечные сечения создаются путем разрезания правого конуса различными способами.
Какова формула для вычисления площади поперечного сечения?
Формула площади поперечного сечения:
| Формула площади прямоугольника | |
|---|---|
| Параметр | Уравнение |
| Площадь поперечного сечения | А = BH |
В чем разница между площадью поперечного сечения и площадью поверхности?
Площадь – это что-то, что занято объектом, когда он находится на поверхности i.
e area – это пространство, которое занимает объект. В то время как площадь поперечного сечения – это площадь, которую мы получаем, когда один и тот же объект разрезан на две части.
Как перевести диаметр в площадь поперечного сечения?
Площадь поперечного сечения провода A – это площадь круга радиуса r или диаметра d = 2r: A = πr2 = π (d2) 2.
В чем разница между диаметром и площадью поперечного сечения?
Поперечное сечение – это площадь. Диаметр – это линейная мера. Поперечное сечение или площадь поперечного сечения – это площадь такого разреза.Это не обязательно должен быть круг.
Как найти площадь с диаметром?
Формула площади круга: A = π r2, где r – длина радиуса круга. Мы можем использовать наши знания о том, что диаметр состоит из двух радиусов, чтобы понять, что r = d / 2. Обладая этими знаниями, вы можете переписать формулу для площади круга как A = π (d / 2) 2.
Что такое радиус и диаметр?
Диаметр – это прямая линия, проходящая через центр круга.
Радиус составляет половину диаметра. Он начинается с точки на круге и заканчивается в центре круга.
Создание детали поперечного сечения в Home Designer Pro
Информация в этой статье относится к:
ВОПРОС
Мне нужно создать деталь сечения в Home Designer Pro. Как мне это сделать?
ОТВЕЧАТЬ
Используя инструменты CAD, Текст и Размер, вы можете создать деталь поперечного сечения вашей конструкции.
В этой статье мы рассмотрим следующие темы, чтобы создать деталь фундамента:
Чтобы создать вид поперечного сечения
- Выберите 3D> Создать ортогональный вид> Заднее обрезанное поперечное сечение , затем щелкните и перетащите стрелку камеры в том направлении, в котором вы хотите, чтобы вид отображался.
- Стрелка камеры или линия визирования должны быть перпендикулярны желаемой плоскости поперечного сечения.

Примечание. Инструмент «Заднее обрезанное поперечное сечение» включает только объекты между начальной и конечной точками линии поперечного сечения.
- Стрелка камеры или линия визирования должны быть перпендикулярны желаемой плоскости поперечного сечения.
- Выберите «Инструменты »> «Параметры отображения » в меню и в открывшемся диалоговом окне «Параметры отображения слоя » включите или выключите любые слои по мере необходимости. Примечание: Если вы хотите отобразить каркас в деталях поперечного сечения, помните, что сначала вы должны построить каркас. Пожалуйста, обратитесь к разделу «Связанные статьи», чтобы узнать больше.
- Выберите «Вид»> «Цвет » в меню, чтобы включить или выключить цвета.
- Увеличьте масштаб на области, которую вы хотите детализировать.
- Выберите в меню 3D> Сохранить активную камеру .
Теперь мы готовы добавить элементы САПР, этикетки и размеры.
Чтобы добавить стили заливки
- Выберите CAD> Коробки> Изоляция , затем щелкните и перетащите, чтобы нарисовать прямоугольную форму с заливкой изоляции .
- Если у вас включена функция Object Snaps , изоляционные коробки будут прикрепляться к краям обрамления пола и стен. Изоляционные боксы
- также можно изменять, используя их ручки редактирования и размеры.
- Если у вас возникли проблемы с получением нужного размера, удерживайте клавишу Ctrl / Command , чтобы обеспечить свободное перемещение.
- Обратите внимание, что боксы, поперечные боксы и изоляция всегда должны иметь прямоугольную форму.
- Выберите в меню CAD> Коробки> Прямоугольная полилиния , затем щелкните и перетащите, чтобы нарисовать замкнутую прямоугольную форму.

- Как и блоки изоляции, прямоугольные полилинии будут привязаны к объектам и поверхностям на виде.
- В этом примере прямоугольная полилиния проведена по стене ствола , основанию .
- Щелкните полилинию, чтобы выбрать ее, затем нажмите кнопку редактирования Открыть объект .На панели «Стиль заливки» диалогового окна «Спецификация полилинии » :
- Выберите «Бетон» из раскрывающегося списка Тип .
- Отрегулируйте настройки «Масштаб», «Смещение», «Угол» и «Внешний вид узора» по своему вкусу.
- Нажмите ОК .
- Добавьте вторую полилинию, как описано выше, для стенки ствола.
- Нарисуйте еще одну прямоугольную полилинию за пределами стенки ствола, используя детали, описанные в шаге 3 выше, и назначьте этой полилинии стиль заливки Weave .

- Щелкните ломаную линию, чтобы выбрать ее.
- Нажмите кнопку редактирования Добавить перерыв .
- Щелкните по одному из краев полилинии.
- В этом месте создается новый угловой маркер редактирования.
- Щелкните и перетащите этот новый угловой маркер, чтобы изменить форму полилинии.
- Края полилинии также могут быть изогнутыми. Щелкните на одном из краев полилинии, чтобы выбрать его.
- Когда выбрано ребро, квадратный маркер редактирования, расположенный по его длине, будет больше, чем квадратный маркер на других кромках.
- Выделив кромку, нажмите кнопку редактирования Изменить линию / дугу .
- Выбранная кромка преобразуется из прямой в дугу.
- Щелкните и перетащите небольшой треугольный маркер изменения формы, чтобы изменить длину дуги, или щелкните маленький круглый маркер изменения размера, чтобы изменить его радиус.

- Нажмите кнопку Изменить линию / дугу еще раз, чтобы преобразовать ее из дуги в прямую.
- При необходимости отрегулируйте полилинию, чтобы создать желаемую форму.
Детальные чертежи редко показывают всю конструкцию. Вместо этого длинные компоненты, такие как стены и платформы пола, обрезаются с помощью линии разрыва. Если бы вы рисовали поперечное сечение вручную, используя только инструменты САПР, вы могли бы создать линию разрыва, используя простую открытую полилинию.Поскольку детали в Home Designer Pro добавляются к поперечному сечению всей конструкции, может быть полезно создать замкнутую полилинию со сплошной белой заливкой, чтобы скрыть ненужные части вашего поперечного сечения.
Чтобы добавить линии разрыва
- Выберите в меню CAD> Коробки> Прямоугольная полилиния , затем щелкните и перетащите, чтобы нарисовать прямоугольник.

- Эта полилиния будет преобразована в линию разрыва для платформы пола .
- Эта полилиния будет преобразована в линию разрыва для платформы пола .
- Щелкните прямоугольник, чтобы выбрать его верхний или нижний край, затем щелкните временный размер, отображающий его высоту.
- Во встроенном текстовом поле введите желаемую высоту ломаной линии.
Примечание. Если вы не видите «Временные измерения», выберите «Просмотр»> «Временные измерения» в меню, чтобы включить их.
- В этом примере высота указана как 18 дюймов.
- Во встроенном текстовом поле введите желаемую высоту ломаной линии.
- Не снимая выделения с полилинии, используйте инструмент редактирования Добавить разрыв , чтобы добавить четыре новых маркера редактирования к одному из его вертикальных краев, как показано на изображении ниже.

Чтобы расположить разрывы равномерно, проведите линии САПР через полилинию и расположите их через равные промежутки времени с помощью размерных линий. Затем используйте объектную привязку, чтобы добавить угловые ручки редактирования в точках, где линии пересекают полилинию.
- Щелкните и перетащите два угловых маркера, ближайших к центральной точке края ломаной линии, чтобы создать зигзагообразную форму.
- Выделив полилинию, нажмите кнопку редактирования Открыть объект и в диалоговом окне Спецификация полилинии :
- На панели «Стиль линии» укажите светло-серый цвет линии.
- На панели «Стиль заливки» укажите белый образец заливки Сплошная заливка .
- Нажмите ОК , чтобы закрыть диалоговое окно и применить изменения.
- Не снимая выделения с полилинии, нажмите кнопку редактирования Копировать / Вставить , затем вторичную кнопку редактирования Вставить удерживаемую позицию .

- Это создаст точную копию ломаной линии разрыва, расположенной непосредственно поверх оригинала.
- Как только он будет создан, эта вновь созданная копия будет выбрана.
- Выделив только что скопированную полилинию, нажмите кнопку редактирования Открыть объект и на панели «Стиль линии» диалогового окна «Спецификация полилинии » укажите цвет черной линии по умолчанию.
- Нажмите кнопку Выбрать объекты , затем щелкните самый верхний край скопированной ломаной линии.
- Щелкните инструмент редактирования Disconnect Selected Edge .
- Щелкните инструмент редактирования Удалить или нажмите клавишу Удалить на клавиатуре.
- Повторите этот процесс для самого правого и нижнего краев скопированной полилинии.
- Выберите замкнутую полилинию светло-серого цвета и измените цвет линии на белый.

- Нажмите кнопку Выбрать объекты , затем нажмите и перетащите прямоугольную область выделения вокруг двух полилиний.
- Используйте маркер редактирования Перемещение , чтобы расположить полилинии линии разрыва на чертеже так, как необходимо.
- Используйте инструмент редактирования Копировать / Вставить , чтобы сделать копии двух полилиний, если на детальном чертеже требуется более одной линии разрыва.
Чтобы добавить текст
- Выберите в меню Edit> Default Settings и в диалоговом окне Default Settings :
- Разверните список для текста, выноски и маркеров
- Щелкните Rich Text , а затем нажмите кнопку Edit .
- На панели «Форматированный текст» диалогового окна « Параметры форматированного текста по умолчанию » укажите желаемый шрифт, размер и стиль текста, который вы хотите использовать для деталей поперечного сечения.

- В этом примере используется шрифт Arial, размер которого установлен на 2 дюйма.
- Убедитесь, что выбран параметр Выровнять по левому краю .
- На панели «Параметры» установите флажок « CAD Stops Move » и нажмите ОК .
- Нажмите Стрелка в настройках по умолчанию и нажмите кнопку Изменить , чтобы открыть диалоговое окно Стрелка по умолчанию . Укажите желаемый стиль и размер стрелки, а затем нажмите OK .
- В этом примере используется стрелка размером из 3 дюймов.
- В этом примере используется стрелка размером из 3 дюймов.
- Нажмите ОК , чтобы закрыть Стрелка по умолчанию , а затем нажмите Готово .
- Выберите в меню CAD> Текст> Текст со стрелкой , затем щелкните один раз в области рисования слева от детали поперечного сечения, чтобы открыть диалоговое окно Спецификация форматированного текста .

- Введите желаемую информацию в текстовое поле и нажмите OK .
- Текстовый объект с линией со стрелкой создается в том месте, где вы щелкнули.
- Щелкните линию со стрелкой, чтобы выбрать ее, затем с помощью маркеров редактирования наведите ее на объект, который описывается текстом в деталях поперечного сечения.
- При необходимости повторите эти шаги для создания дополнительных текстовых объектов.
Чтобы выровнять текстовые объекты
- Выберите в меню CAD> Линии> Нарисовать линию , затем щелкните и перетащите, чтобы нарисовать вертикальную линию по всей высоте области, где вы добавили заливку и другие детали.
- Щелкните линию, чтобы выбрать ее, затем отодвиньте от детали на расстояние, на котором должен находиться текст.
- Эта строка будет служить временной книгой для выравнивания текста.
- Эта строка будет служить временной книгой для выравнивания текста.
- Щелкните кнопку Select Objects , затем щелкните объект Rich Text , чтобы выбрать его.
Используя маркер редактирования Move , перетащите его к только что нарисованной линии САПР, пока он не уперется в нее. - Повторите этот процесс, чтобы вставить все объекты Rich Text в линию САПР.
- Обратите внимание, что линия со стрелкой, прикрепленная к тексту, также регулирует свою длину, чтобы соответствовать линии CAD.
- Чтобы добавить углы к линиям со стрелками, которые выровнены друг с другом, нарисуйте вторую линию там, где вы хотите разрывы.
- Выберите линию со стрелкой и нажмите кнопку редактирования Добавить разрыв .
- Щелкните линию со стрелкой в месте пересечения с линией бухгалтерской книги САПР, которую вы только что нарисовали.
- Когда Объектные привязки включены, красный индикатор привязки будет отображаться, когда ваш указатель находится над перекрестком.
- Щелкните один раз, чтобы создать новый угол в этом месте.

- Не снимая выделения с линии со стрелкой, при необходимости отредактируйте ее форму.
- Повторите этот процесс, чтобы отредактировать все линии со стрелками, пересекающие линию вашей бухгалтерской книги.
- Когда вы закончите, вы можете выбрать линии САПР и нажать кнопку редактирования Удалить или нажать клавишу Удалить на клавиатуре.
Детали поперечного сечения часто имеют текст как слева, так и справа от детали. Вы также можете повторить описанные выше шаги, чтобы создать текст с правой стороны. Чтобы сделать объект Rich Text выровненным по правому краю, выберите его и нажмите кнопку редактирования Align Right .
Отправить деталь в макет
- Когда ваша детализация поперечного сечения будет завершена, выберите Файл> Сохранить , чтобы сохранить вашу работу.
- Если вы еще этого не сделали, не забудьте также выбрать 3D> Сохранить активную камеру .
- Если вы еще этого не сделали, не забудьте также выбрать 3D> Сохранить активную камеру .
- Выберите в меню Файл> Новый макет , чтобы открыть новую страницу макета.
- Выберите «Окно »> «Выбрать предыдущую вкладку » в меню, чтобы вернуться к виду поперечного сечения.
- Выберите Файл> Отправить в макет и в диалоговом окне Отправить в макет :
- Укажите желаемое масштабирование вида.
- Убедитесь, что выбран Текущий экран .
- Нажмите ОК .
- В зависимости от выбранного масштаба сообщение может предупредить вас о том, что вид слишком велик для размещения на листе макета. Нажмите ОК . Это может быть нормально, потому что через мгновение размер окна просмотра уменьшится, чтобы отображались только те детали, которые вы создали.
Когда вы отправляете представление в макет, он может отображать контент, который вы не хотите отображать.Эту проблему можно решить, обрезав поле макета.
Чтобы обрезать вид на странице макета
- Если страница макета в настоящее время не активна, выберите вкладку, связанную с файлом макета.
- Если вы не можете увидеть весь вид поперечного сечения в компоновке, выберите в меню «Окно »> «Заливка окна ».
- Нажмите кнопку Выбрать объекты , затем щелкните вид в разрезе, чтобы выбрать его.
- Используя его ручки редактирования, уменьшите размер окна просмотра макета, пока в нем не будут отображаться только те детали, которые вы хотите видеть.
Back to Top
Линии разреза или штриховки – технический чертеж
Когда вы идете в музей, вы часто видите изрезанные артефакты. Например, чтобы проиллюстрировать, как работает бензиновый двигатель, блок цилиндров можно разрезать пополам, а поверхности среза неизменно окрашиваются в красный цвет. В инженерном рисовании штриховка эквивалентна рисованию чего-то красного.
Он используется для отображения внутренних деталей деталей, которые в противном случае стали бы слишком сложными для отображения или измерения.
Линии штриховки обычно имеют равные интервалы и для мелких деталей покрывают всю «красную» область разреза. Обычно они располагаются под углом 45 °, но если это неудобно, потому что сама часть или ее поверхность находится под углом 45 °, линии штриховки могут быть под другим углом. Логические углы, такие как 0 °, 30 °, 60 ° или 90 °, должны быть предпочтительнее особых, таких как 18 ° (скажем). Если разрезанные части примыкают друг к другу, это нормально, если поперечная штриховка выполняется в разных ориентациях (+ и -45 °), или, если используется одна и та же ориентация, используются двойные линии или смещение линий.Примеры одинарных и двойных линий поперечной штриховки + и -45 ° показаны на сборочном чертеже тисков на Рисунке 3.1. Пример ступенчатой штриховки показан на перевернутом плане подвижной челюсти на рис. 3.2.
Если требуется разделить большие области, нет особой необходимости иметь линии штриховки, покрывающие весь компонент, а скорее внешние области и те области, которые содержат детали.
Когда разрезаются длинные детали, такие как ребра, перемычки, спицы колес и т.п., обычно принято оставлять их неразрезанными, и поэтому линии штриховки не используются.Причина этого в том, что секция обычно имеет длинную форму, поэтому, если бы она была заштрихована, это произвело бы ложное впечатление жесткости и прочности. Точно так же не является нормальным заштриховывать такие детали, как гайки, болты и шайбы, при их разрезании. Обычно они показаны в их полном виде, если, например, болт не имеет некоторых специально обработанных внутренних элементов, так что это не стандартный элемент. Пример резьбы, которая не заштрихована, можно увидеть на сборочном чертеже тисков на Рисунке 3.1.
Читать здесь: Размерные линии
Была ли эта статья полезной?
.

MCxM)
