Инженерная графика и основы черчение
Один из лучших способов донести свои идеи через какую-либо форму рисунка или рисунок. Это особенно верно для инженера. Цель этого руководства – дать вам основы инженерного рисования и черчения.
Содержание
Введение
Изометрический рисунок
Ортогональные рисунки
Размеры
Секции
Инструменты рисования
Сборочные чертежи
Виды в разрезе
Полусекций
Разделы объектов с отверстиями, ребрами
Размерность
Введение
Мы будем относиться к «черчению» и «рисованию» как к одному. «Эскиз» обычно означает рисование от руки. «Рисование» обычно означает использование инструментов для рисования, от нанесения от руки до использования компьютера, для обеспечения точности рисунков.
Это всего лишь введение. Не беспокойтесь о понимании каждой детали прямо сейчас – просто получите общее представление о языке инженерной графики.
Мы надеемся, что вам понравился объект на
Прежде чем мы начнем с технических чертежей, давайте взглянем на эту фигуру с нескольких точек зрения.
Рисунок 1 – Обработанный рисунок
[обратно к содержанию]
Изометрический рисунок
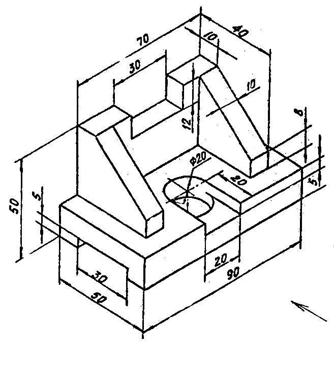
Представление объекта на рисунке 2 называется изометрическим рисунком. Это одно из семейства трехмерных видов, называемых графическими рисунками. На изометрическом чертеже вертикальные линии объекта нарисованы вертикально, а горизонтальные линии в плоскостях ширины и глубины показаны под углом 30 градусов к горизонтали. Если нарисованы в соответствии с этими рекомендациями, линии, параллельные этим трем осям, имеют истинную (в масштабе) длину. Линии, которые не параллельны этим осям, не будут иметь их истинную длину.
Рисунок 2 – Изометрический чертеж
Любой технический чертеж должен показывать все: полное понимание объекта должно быть возможным из чертежа. Если изометрический чертеж может показать все детали и все размеры на одном чертеже, это идеально.
Можно изобрести много информации в изометрической графике. Однако, если бы объект на рисунке 2 имел отверстие на задней стороне, его бы не было видно при использовании одного изометрического чертежа. Чтобы получить более полное представление об объекте, можно использовать проекцию.
[обратно к содержанию]
Ортогональный рисунок
Представьте, что у вас есть объект, подвешенный на прозрачной нити внутри стеклянной коробки, как на рисунке 3.
Рисунок 3 – Блок подвешен в стеклянной коробке
Затем нарисуйте объект на каждой из трех граней, если смотреть с этого направления. Разверните коробку как на рисунке 4, и вы получите три вида. Мы называем это «многовидовым» рисунком.
Какие виды следует выбрать для чертежа с несколькими видами? Виды, раскрывающие каждую деталь об объекте. Три вида не всегда необходимы; нам нужно только столько представлений, сколько требуется для полного описания объекта.
Рисунок 6 – Объект, требующий только двух ортогональных представлений
[обратно к содержанию]
Размеры
Рисунок 7 – Изометрический вид с размерами
Мы «измерили» объект на изометрическом чертеже на рисунке 7. В качестве общего ориентира для определения размеров постарайтесь подумать, что вы бы сделали с объектом и измерили его наиболее удобным для Вас способом. Введите столько размеров, сколько необходимо мастеру, чтобы сделать это – ни больше, ни меньше. Не кладите лишние размеры. Они не только загромождают чертеж, но, если были включены «допуски» или уровни точности, избыточные размеры часто приводят к конфликтам.
Повторные измерения из одной точки в другую приведут к неточностям. Часто лучше измерять от одного конца до разных точек. Это дает размеры эталонного стандарта. Полезно выбрать размещение размера в том порядке, в котором мастер должен создать деталь.
Этот навык может потребовать некоторого опыта.
[обратно к содержанию]
Секции
Иногда, когда внутренние детали объекта не видны снаружи, как на рисунке 8.
Рисунок 8 – Изометрический чертеж, который не показывает все в детали
Мы можем обойти это, делая вид, что разрезаем объект на плоскости и показывая «вид в разрезе». Вид в разрезе применим к таким объектам, как блоки двигателя, где детали интерьера запутаны и их было бы очень трудно понять с помощью использования «скрытых» линий (скрытые линии, как правило, пунктирные) на чертеже.
Представьте, что вы делаете разрез объекта посередине, рисунок 9:
Уберите переднюю половину, рисунок 10
Рисунок 11 – Секционные изометрические и ортогональные виды
Поперечное сечение выглядит как на рисунке 11, если смотреть прямо вперед.
[обратно к содержанию]
Инструменты рисования
Для подготовки чертежа можно использовать инструменты для черчения вручную – рисунок 12, а также чертеж или дизайн с помощью компьютера или САПР. Основные стандарты и условные обозначения чертежей одинаковы независимо от того, какой инструмент проектирования вы используете для создания чертежей будь то AutoCAD или Компас 3D. При обучении черчению мы подойдем к нему с точки зрения ручного черчения. Если чертеж выполнен без инструментов или САПР или мобильных приложений в САПР, он называется
Рисунок 12 – Инструменты рисования
[обратно к содержанию]
Сборочные чертежи
Изометрическая проекция «собранной» системы опорных подушек показана на рисунке 13. Она очень близко соответствует тому, что вы действительно видите при просмотре объекта под определенным углом. Мы не можем сказать, как выглядит внутренняя часть детали с этой точки зрения.
Мы также можем показать изометрические изображения «разобранного» блока подушки – рисунок 14. Это позволяет увидеть внутренние компоненты системы подшипников. Изометрические чертежи могут четко показывать общее расположение, но не детали и размеры.
[обратно к содержанию]
Виды в разрезе
Вид в поперечном разрезе изображает вырезанную часть объекта и является еще одним способом показать скрытые компоненты в устройстве.
Представьте себе плоскость, которая разрезает вертикально через центр блока подушки, как показано на рисунке 15. Затем представьте, что вы снимаете материал с передней части этой плоскости, как показано на
Так будет выглядеть оставшаяся задняя часть. Диагональные линии (поперечные штриховки) показывают области, где материалы были разрезаны плоскостью резания.
Рисунок 17 – Разрез «А-А»
Этот вид в поперечном разрезе (сечение A-A, рисунка 17), ортогональный направлению обзора, лучше показывает соотношение длин и диаметров.
Эти чертежи сделать проще, чем изометрические чертежи. Опытные инженеры могут интерпретировать ортогональные чертежи без изометрического чертежа, но для этого требуется немного практики.
Верхний «внешний» вид подшипника показан на рисунке 18. Это ортогональная (перпендикулярная) проекция. Обратите внимание на направление стрелки для плоскости резания “A-A”.
Рисунок 18 – Вид сверху «снаружи» на подшипник
[обратно к содержанию]
Полусекций
Половина сечения представляет собой вид объекта, показывающий половину сечения в разрезе, как на рисунке 19 и 20.
Диагональные линии на чертеже сечения используются для обозначения теоретически вырезанной области. Эти линии называются сечениями или штриховкой. Линии тонкие и обычно рисуются под углом 45 градусов к основному контуру объекта. Расстояние между линиями должно быть равномерным.
Второе, более редкое использование перекрестной штриховки – указать материал объекта.
Одна форма штриховки может использоваться для чугуна, другая для бронзы и так далее. Чаще всего тип материала указан в другом месте на чертеже, что делает ненужным использование различных типов штриховки.
Рисунок 21 – Половина сечения без скрытых линий
Обычно скрытые (пунктирные) линии не используются в поперечном сечении, если они не нужны для определения размеров. Кроме того, некоторые скрытые линии на неразрезанной части чертежей не нужны, рисунок 12, поскольку они становятся избыточной информацией и могут загромождать чертеж.
[обратно к содержанию]
Секционирование объектов с отверстиями, ребрами
Поперечное сечение справа на рисунке 22 является технически правильным. Однако условное обозначение на чертеже состоит в том, чтобы показывать вид слева как предпочтительный метод для секционирования этого типа объекта.
Рисунок 22 – Сечение
[обратно к содержанию]
Размерность
Целью определения размеров является предоставление четкого и полного описания объекта.
Полный набор размеров позволит только одну интерпретацию, необходимую для построения детали. Определение размеров должно следовать этим рекомендациям.
- Точность: должны быть указаны правильные значения.
- Четкость: размеры должны быть размещены в соответствующих положениях.
- Полнота: ничего не следует упускать и ничего не дублировать.
- Читабельность: для разборчивости необходимо использовать соответствующее качество линии.
Основы: определения и размеры
Размерная линия – это тонкая линия, разбитая посередине, чтобы можно было разместить размерное значение со стрелками на каждом конце, рисунок 23.
Рисунок 23 – Габаритный чертеж
Стрелка длиной около 3 мм и шириной 1 мм. То есть длина примерно в три раза больше ширины. Выносная линия расширяет линию объекта до размерной линии. Первая размерная линия должна находиться примерно в 12 мм (0,6 дюйма) от объекта.
Удлинительные линии начинаются на 1,5 мм от объекта и продолжаются на 3 мм от последней размерной линии.
Лидер – это тонкая линия, используемая для соединения измерения с определенной областью, рисунок 24.
Рисунок 24 – Пример рисунка с лидером
Лидер также может быть использован для указания заметки или комментария о конкретной области. Когда пространство ограничено, стрелки могут заменить тяжелая черная точка, как на рисунке 23. Также на этом чертеже два отверстия идентичны, что позволяет использовать обозначение «2x».
Где разместить размеры
Размеры должны быть размещены на грани, которая наиболее четко описывает элемент. Примеры правильного и неподходящего размещения размеров показаны на рисунке 25.
Рисунок 25 – Пример подходящих и неуместных размеров
Чтобы понять, что такое размерность, мы можем начать с простого прямоугольного блока. Для этого простого объекта необходимы только три измерения, чтобы полностью описать его, рисунок 26. Существует мало выбора, где поставить его размеры.
Рисунок 26 – Простой объект
Мы должны сделать выбор, когда измеряем блок с выемкой или вырезом, как на рисунке 27. Обычно лучше всего проводить измерения от общей линии или поверхности. Это можно назвать базовую линию поверхности. Это исключает добавление неточностей измерения или обработки, которые могут возникнуть из-за «цепных» или «последовательных» размеров. Обратите внимание, как размеры берут начало на опорных поверхностях. Мы выбрали одну базовую поверхность на рисунке 27, а другую на рисунке 28. Пока мы последовательны, это не имеет значения. Мы просто показываем вид сверху.
Рисунок 27-28 – Пример базовой поверхности
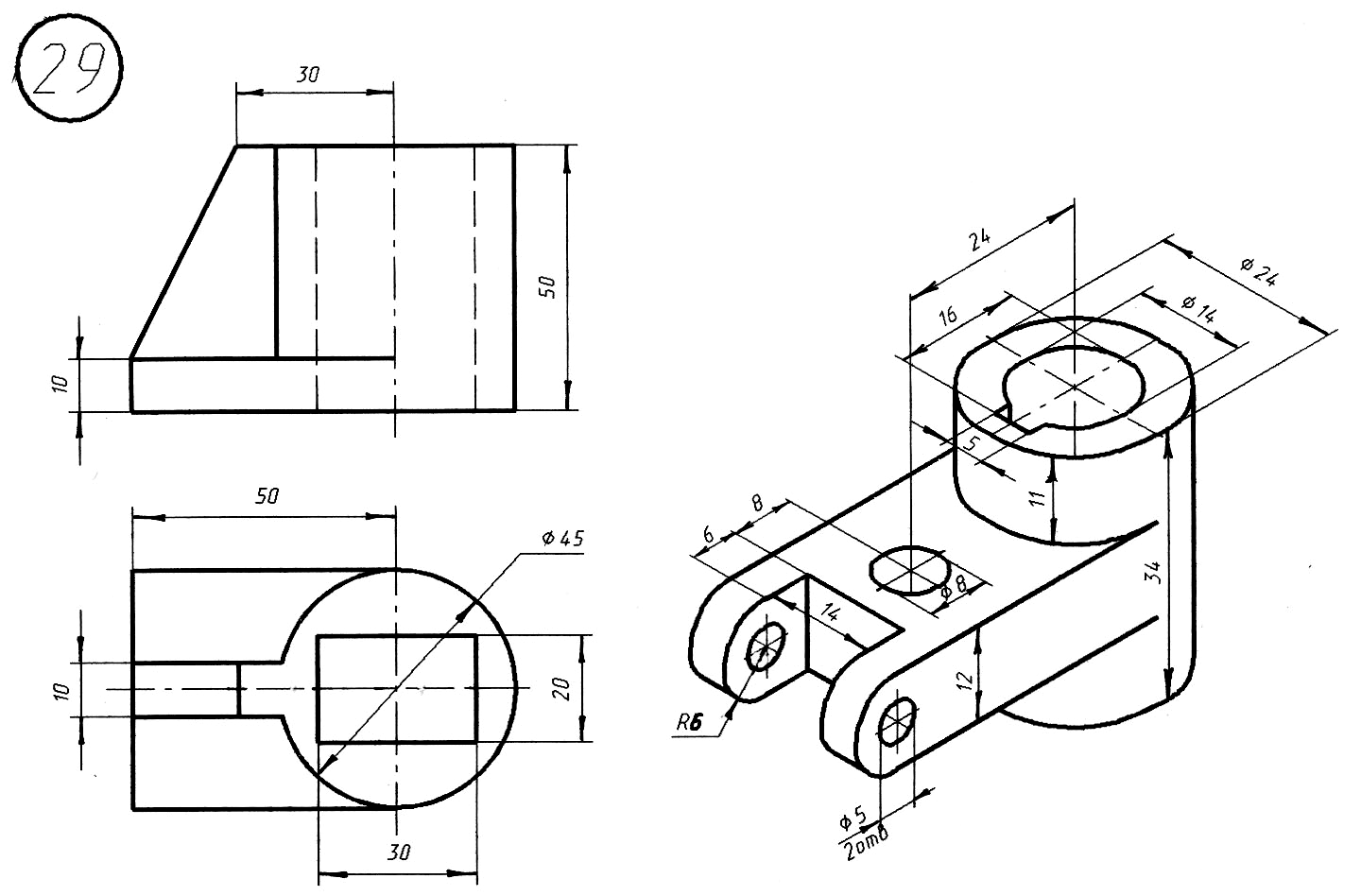
На рисунке 29 мы показали отверстие, которое мы выбрали для измерения на левой стороне объекта. Символ Ø обозначает «диаметр».
Рисунок 29 – Образец размерного отверстия
Когда левая сторона блока является «радиусом», как на рисунке 30, мы нарушаем наше правило, что мы не должны дублировать измерения.
Общая длина известна потому, что дан радиус кривой с левой стороны. Затем, для ясности, мы добавляем общую длину 60 и отмечаем, что это эталонное измерение. Это означает, что это на самом деле не требуется.
Где-то на бумаге, обычно внизу, должна быть размещена информация о том, какая измерительная система используется (например, миллиметры), а также о масштабе чертежа.
Рисунок 30-31 – Пример размера отверстия
Этот чертеж симметричен относительно горизонтальной центральной линии. Центральные линии (пунктирные) используются для симметричных объектов, а также для центра окружностей и отверстий. Мы можем измерять размеры непосредственно до центральной линии, как на рисунке 31. В некоторых случаях этот метод может быть более понятным, чем просто измерение между поверхностями.
Будет полезно для ознакомления
Чертежи в черчении
Технический рисунок
Машиностроительное черчение
Строительное черчение
Начертательная геометрия
Инженерная графика
[обратно к содержанию]
Основы технического черчения
Графические изображения в технике получают, используя множество различных способов, причем некоторое количество из них было изобретено совсем недавно, а другие – еще в глубокой древности.
До наших дней дошло не так уж и много письменных свидетельств, изучение которых позволило бы исследователям досконально изучить то, как эволюционировали графические способы отображения информации, однако совершено ясно, что их основы были заложены еще на ранних этапах человеческой цивилизации.
Историки утверждают, что истоки графического языка, который сейчас широко используется в технике, следует искать еще в каменном веке. Именно этой эпохой датируются древние пиктограммы и наскальные первобытные рисунки. По всей вероятности, как раз тогда сформировались основные способы изображений, которые используются в графическом языке.
Еще задолго до того, как появилась письменность, рисунки использовались в качестве одного из средств коммуникации. Они послужили основой для развития так называемого рисунчатого письма.
При помощи рисунков в древности передавались сообщения делового, экономического и военного характера, множество другой важной информации, в том числе и технической.
При помощи простых рисунков практически невозможно получить исчерпывающую информацию о различных объектах, однако именно они успешно использовались древними архитекторами и строителями при проектировании и сооружении многих грандиозных объектов.
Постепенно, с течением времени, такого рода рисунки трансформировались и превратились в «специализированные» технические.
Механизация рабочего места конструктора
На протяжении многих столетий технические чертежи выполнялись исключительно вручную, при помощи таких инструментов, как линейки, угольники и циркули, и этот процесс требовал больших затрат времени.
Чтобы их сократить, стали изобретать различные приспособления, позволявшие конструкторам работать быстрее и эффективнее. Так появились и стали активно эксплуатироваться различные специализированные чертежные приборы и машины. На сегодняшний день они представляют собой сложные компьютеризованные программно-аппаратные комплексы, существенно ускоряющие и упрощающие разработку различной проектно-конструкторской документации.
Тем не менее, даже используя их, невозможно обойтись без знания основ графического языка, которые изучаются предметом «Черчение».
Системы автоматизированного проектирования
Конструкторы широко используют в своей работе различные инновационные системы автоматизированного проектирования, позволяющие им трудиться с наибольшей эффективностью.
Одной из наиболее популярных и распространенных из них является система AutoCAD, которая первоначально была рассчитана на создание двумерных графических построений. Поскольку этого функционала довольно быстро конструкторам стало недостаточно, то разработчики американской фирмы Autudesk разработали и успешно интегрировали в программный пакет модули, позволяющие создавать трехмерные изображения.
Конструкторами довольно широко используются и такие программы, как CATIA, SolidWorks, Pro/Engeneer и Autodesk Inventor, изначально созданные для 3D-моделирования и имеющие широкие возможности в части оформления конструкторской документации в соответствии с действующими стандартами.
Поскольку технические грамотные люди могут без проблем читать чертежи, которые созданы в разных странах, графический язык можно смело назвать интернациональным средством коммуникации.
Черчение
Введение (2 ч)
Основные теоретические сведения
Краткая история графического общения человека. Значение графической подготовки в современной жизни и профессиональной деятельности человека. Области применения графики и ее виды. Основные виды графических изображений: эскиз, чертеж, технический рисунок, техническая иллюстрация, схема. Диаграмма, график. Виды чертежных инструментов, материалов и принадлежностей. Понятие о стандартах. Правила оформления чертежей. Форматы, масштабы, шрифты, виды линий.
Практические работы
Знакомство с единой системой конструкторской документации (ЕСКД ГОСТ). Знакомство с видами графической документации. Организация рабочего места чертежника. Подготовка чертежных инструментов, Оформление формата А4 и основной надписи.
Выполнение основных линий чертежа.
Варианты объектов труда
Образцы графической документации. ЕСКД. Формат А4 для чертежа.
Метод проецирования и графические способы построения изображений (10 ч)
Основные теоретические сведения
Метод проецирования. Центральное прямоугольное проецирование. Расположение видов на чертеже. Дополнительные виды. Параллельное проецирование и аксонометрические проекции/ Аксонометрические проекции плоских и объемных фигур. ‘Прямоугольная изометрическая проекция. Особенности технического рисунка.
Графические способы решения геометрических задач на плоскости.
Практические работы
Выполнение чертежей (эскизов) плоских и объемных деталей в системах прямоугольной и аксонометрической проекций. Выполнение технического рисунка по чертежу.
Построение параллельных и перпендикулярных прямых. Деление отрезка и окружности на равные части. Построение и деление углов. Построение овала. Сопряжения.
Варианты объектов труда
Изображения различных вариантов геометрических построений.
Чтение и выполнение чертежей, эскизов и схем (9 ч)
Основные теоретические сведения
Образование поверхностей простых геометрических тел. Чертежи геометрических тел. Развертки поверхностей предметов. Формообразование Особенности технического рисунка. Эскизы, их назначение и правила выполнения.
Электрические и кинематические схемы: условные графические обозначения и правила изображения соединений.
Практические работы
Анализ геометрической формы предмета. Чтение чертежа (эскиза) детали и ее описание. Определение необходимого и достаточного количества видов на чертеже. Выбор главного вида и масштаба изображения. Нанесение размеров на чертеже (эскизе) с учетом геометрической формы и технологии изготовления детали. Выполнение эскиза детали с натуры. Чтение простой электрической и кинематической схемы.
Варианты объектов труда
Чертежи и эскизы плоских и объемных фигур, модели и образцы деталей, электрические и кинематические схемы.
Сечения и разрезы (8 ч)
Основные теоретические сведения
Наложенные и вынесенные сечения. Обозначение материалов в сечениях. Простые разрезы, их обозначения. Местные разрезы. Соединение вида и разреза. Разрезы в аксонометрических проекциях.
Практические работы
Вычерчивание чертежа детали с необходимыми сечениями и разрезами. Выполнение чертежа детали с разрезом в аксонометрической проекции.
Варианты объектов труда
Модели и образцы деталей, чертежи деталей с сечениями и разрезами.
Сборочные чертежи (8 ч)
Основные теоретические сведения
Основные сведения о сборочных чертежах изделий. Понятие об унификации и типовых деталях. Способы представления на чертежах различных видов соединений деталей. Условные обозначения резьбового соединения. Штриховка сечений смежных деталей. Спецификация деталей сборочного чертежа. Размеры, наносимые на сборочном чертеже. Деталировка сборочных чертежей.
Практические работы
Чтение сборочного чертежа.
Выполнение несложного сборочного чертежа (эскиза) типового соединения из нескольких деталей. Выполнение деталировки сборочного чертежа изделия.
Варианты объектов труда
Сборочные чертежи (эскизы) несложных изделий из 4-5 деталей. Чертежи деталей сборочных единиц. Модели соединений деталей. Изделия из 5-6 деталей,
Строительный чертёж (1)
Практические работы
Чтение строительного чертежа. Выполнение несложного строительного чертежа (эскиза)
Варианты объектов труда
Строительные чертежи (эскизы)
| Объекты эскиза | В документах чертежей SOLIDWORKS, как и в 2D САПР, можно в любое время добавить элементы эскиза (линии, окружности, прямоугольники и т.д.). Можно создавать свои стили линий с использованием слоев, инструмента “Формат линии” или “Тип линии”. |
| Чертежные виды | Объекты эскизов и примечания можно добавлять в чертежный лист или чертежные виды. Чертежные виды позволяют перемещать и масштабировать все элементы вида выполнением одной операции. Можно вставлять пустые виды в чертежные листы, чтобы они содержали начерченные объекты. |
| Стандарты | Элементы чертежа соответствуют стандарту, указанному в меню Параметры Свойства документа Чертежный стандарт. Такие элементы, как стрелки размеров, допуски, отображаемые примечания и т.д., генерируются на основе стандарта, но эти элементы можно также редактировать вручную (например, чтобы выбрать другой тип стрелки). |
| Основные надписи | Шаблоны чертежей SOLIDWORKS содержат основные надписи чертежей. Основные надписи можно редактировать и сохранять. Можно также использовать шаблон, не содержащий основной надписи, и создать собственную основную надпись или импортировать блок 2D САПР (например, блок заголовка). |
| Масштабная сетка | Чтобы отобразить масштабную сетку, нажмите на правую кнопку мыши и выберите Отобразить масштабную сетку. Укажите интервал сетки и способы привязки, выбрав
Параметры
Свойства документа
Масштабная сетка/Привязать. |
| Размеры | Размеры в SOLIDWORKS управляют геометрией. Объект эскиза или элемент модели должен быть согласован с его размерами. Нельзя создать эскиз объекта с определенным размером и отобразить размер, имеющий другую величину. Однако объекты в чертежном листе или чертежном виде можно масштабировать. |
| Взаимосвязи | Взаимосвязи (например, Горизонтальность, Концентричность, Касательность) также управляют геометрией. Некоторые взаимосвязи формируются уже при создании эскиза. Взаимосвязи можно добавлять, отображать и удалять. Чтобы предотвратить создание автоматических взаимосвязей, нажмите клавишу Ctrl во время рисования или выключите параметр Автоматические взаимосвязи в разделе
Параметры
Настройки пользователя
Эскиз
Взаимосвязи/привязки.![]() |
| Annotations | Многие примечания работают с объектами эскизов таким же образом, как с чертежами, полученными из трехмерных моделей. Исключениями являются условные обозначения отверстия и автопозиции. Отдельные позиции и группы позиций появляются с вопросительными знаками, которые можно заменить текстом пользователя. Можно импортировать в чертежи размеры и допуски, созданные с помощью DimXpert для деталей. |
Как правильно организовать рабочее место для черчения?
При черчении надо сидеть прямо, не горбясь. Расстояние от глаза до чертежа должно быть примерно 300 мм.
На чертежной доске оставляют только те инструменты, которые нужны для работы в данное время. При этом готовальня, угольники, карандаши должны лежать справа, а книга — слева.
Чертежная доска должна иметь небольшой наклон (приблизительно 15°). В этом случае легче работать, так как не нужно очень наклоняться над чертежом.
От правильной подготовки рабочего места зависит аккуратность и быстрота выполнения чертежа.
Показано, как организовано рабочее место конструктора. В конструкторских бюро чертежи выполняют с помощью чертежного прибора, который называют механической рейсшиной. Такой прибор полностью заменяет рейсшину, угольник, транспортир и измерительную линейку. Он дает возможность проводить вертикальные, горизонтальные, на- клонные параллельные линии.
Кроме чертежного прибора, в оборудование рабочего места конструктора входит стол, за которым он проверяет чертежи и проводит технические расчеты.
При хорошей организации рабочего места конструктор меньше устает и быстрее выполняет чертежи.
Ответьте на вопросы
1. Как подготовить к работе чертежный циркуль? Как проводят таким циркулем линии?
2. Для чего нужна рейсшина? Из каких частей она состоит? Как с ней работать?
3. Как подготовить к работе карандаш? Какие бывают карандаши по твердости?
4. Как проводят горизонтальные, вертикальные и наклонные линии с помощью линейки и угольника?
5. Как правильно организовать рабочее место для черчения?
Задания
Подготовьте к работе чертежные инструменты и материалы. Выполните в рабочей тетради следующие упражнения:
1. По рейсшине или с помощью линейки и угольника, проведите 5 горизонтальных линий на расстоянии 5 мм одна от другой. Длина линий 100 мм.
2. С помощью рейсшины и угольника или угольника и линейки проведите 21 вертикальную линию на расстоянии 5 мм друг от друга. Высота линий 20 мм.
3. Проведите несколько наклонных параллельных линий одинаковой длины под углом 45, 60 и 30° к горизонтальной линии.
4. На расстоянии 25 мм от наклонных линий проведите тонкую горизонтальную линию и отметьте на ней вертикальными штрихами несколько засечек (центров) на равном расстоянии друг от друга. Первую засечку расположите на расстоянии 10 мм от начала линии, остальные — на расстоянии 25 мм друг от друга. Проведите из намеченных центров окружности радиусом 10 мм. Можно из этих же центров провести еще по одной или по две окружности меньшего (или большего) радиуса.
Указание к работе. Старайтесь проводить все липни одинаковой толщины. Расстояния между линиями можно выбирать по клеткам. Красиво расположите группы линий на листе тетради.
rn
Основы черчения
Построение циклоиды Вы сможете ознакомиться в видео ниже.
ПодробнееПостроение параболы по ее директрисе и фокусу состоит из следующих этапов:
ПодробнееСложные разрезы — изображение предмета, в образовании которого участвуют две и более секущие плоскости. Сложные разрезы используются при выполнении чертежей деталей, на которых нельзя показать внутреннюю конструкцию с помощью простого […]
ПодробнееПростой разрез — изображение предмета, мысленно рассеченного одной или несколькими секущими плоскостями. На разрезе показывается то, что получается в секущей плоскости и что расположено за ней.
ПодробнееГоризонтальный разрез — изображение, полученное при мысленном рассечении детали секущей плоскостью параллельной горизонтальной плоскости проекций, состоящее из фигуры сечения и изображения части детали, расположенной за секущей плоскостью.
Фронтальный разрез — изображение, полученное в результате мысленного рассечения детали секущей плоскостью, параллельной фронтальной плоскости проекций. Состоит из фигуры сечения и изображения части детали, расположенной за секущей плоскостью.
ПодробнееПрофильный разрез- изображение, полученное при мысленном рассечении детали секущей плоскостью, параллельной профильной плоскости проекций. Состоит из фигуры сечения и изображения части детали, расположенной за ней.
ПодробнееПостроение эвольвенты окружности начинается с первоначальных данных, т.е. диаметра. Рассмотрим наглядно на примере представленном ниже.
ПодробнееПостроение синусоиды рассмотрим на примере, используя размер окружности диаметром 60 мм. Не имеет значение какого диаметра окружность, т.е. общий принцип построения остается одним и тем же.
Пошаговое черчение синусоиды: Окружность […]
Следы плоскости — линии пересечения ее с плоскостями проекций. Так как следы плоскости совпадают с одноименными своими проекциями, то можно утверждать, что: ∑П1 – горизонтальный след плоскости ∑. Т.е. ∑П1 – это линия […]
ПодробнееРуководство по пакету черчения в Microsoft Azure Maps Creator (предварительная версия)
- Статья
- Чтение занимает 7 мин
Оцените свои впечатления
Да Нет
Хотите оставить дополнительный отзыв?
Отзывы будут отправляться в корпорацию Майкрософт.
Нажав кнопку “Отправить”, вы разрешаете использовать свой отзыв для улучшения продуктов и служб Майкрософт. Политика конфиденциальности.
Отправить
Спасибо!
В этой статье
В этом руководство показано, как подготовить пакет рисования для службы преобразования Azure Maps с помощью конкретных команд САПР, т. е. правильно подготовить файлы DWG и файл манифеста для службы преобразования.
Для начала убедитесь, что ваш пакет рисования имеет формат ZIP и содержит следующие файлы:
- Один или несколько файлов чертежей в формате DWG.
- Файл манифеста, описывающий файлы DWG и метаданные здания.
Если у вас нет собственного пакета для справки и работы с данным руководством, вы можете скачать пример пакета рисования.
Вы можете выбрать любое программное обеспечение САПР, чтобы открыть и подготовить файлы чертежей здания. Данное руководство составлено на основе программного обеспечения AutoCAD® от Autodesk. Все команды, упоминаемые в этом руководстве, относятся к программному обеспечению AutoCAD® от Autodesk.
Совет
Дополнительные сведения о требованиях к пакету рисования, которые не рассматриваются в этом руководстве, см. в разделе Требования к пакету рисования.
Глоссарий терминов
Для простоты использования руководства ниже приведены некоторые важные термины и определения, используемые в этом руководстве.
| Термин | Определение |
|---|---|
| Уровень | Слой AutoCAD DWG из файла рисунка |
| Сущность | Объект AutoCAD DWG из файла чертежа. |
| Level | Область здания с заданным возвышением. Например, основание здания. |
| Геометрический элемент | Объект, описывающий определенную геометрическую конструкцию и содержащий дополнительные метаданные.![]() |
| Классы геометрических элементов | Обычная схема с геометрическими элементами. Например, секция — это класс геометрического элемента, а офис — это сам элемент. |
Шаг 1. Требования к файлу DWG
При подготовке файлов чертежей здания для службы преобразования необходимо соблюдать следующие предварительные требования и рекомендации.
Файлы чертежей здания должны быть сохранены в формате DWG, который является собственным форматом программного обеспечения AutoCAD®, принадлежащего компании Autodesk.
Служба преобразования работает с форматом файла DWG в формате AutoCAD. AC1032 — это внутренняя версия формата для файлов DWG. рекомендуется выбрать AC1032 для внутренней версии формата файла DWG.
Файл DWG может содержать только один уровень пола. Пол здания должен быть указан в отдельном файле DWG. Таким образом, если в здании пять этажей, необходимо создать пять отдельных файлов DWG.

Шаг 2. Подготовка файлов DWG
В этой части руководства будет показано, как использовать команды САПР, чтобы убедиться, что файлы DWG соответствуют требованиям службы преобразования.
Вы можете выбрать любое программное обеспечение САПР, чтобы открыть и подготовить файлы чертежей здания. Данное руководство составлено на основе программного обеспечения AutoCAD® от Autodesk. Все команды, упоминаемые в этом руководстве, относятся к программному обеспечению AutoCAD® от Autodesk.
Привязка внешних ссылок
Каждый этаж здания должен быть указан в виде отдельного файла DWG. Если внешние ссылки отсутствуют, больше ничего делать не нужно. Однако при наличии внешних ссылок их необходимо привязать к одному чертежу. Чтобы привязать внешнюю ссылку, можно использовать команду XREF. После привязки чертежи по каждой внешней ссылке будут добавлены как ссылка на блок. Если необходимо внести изменения в любой из этих слоев, не забудьте развернуть ссылки на блоки с помощью команды XPLODE.
Единица измерения
Чертежи можно создавать с помощью любой единицы измерения. Однако во всех чертежах необходимо использовать одну единицу измерения. Таким образом, если для одного этажа здания используются миллиметры, все остальные этажи (чертежи) также должны быть в миллиметрах. Проверить или изменить единицу измерения можно с помощью команды UNITS.
На следующем рисунке показано окно единиц измерения в программном обеспечении AutoCAD® от Autodesk, которое можно использовать для проверки единиц измерений.
Выравнивание
Каждый этаж здания должен быть представлен как отдельный файл DWG. В результате возможна ситуация, при которой этажи, расположенные друг над другом, не будут идеально выровнены. Для службы преобразования Azure Maps необходимо, чтобы все чертежи были выровнены в физическом пространстве. Для проверки выравнивания используйте опорную точку, которая может охватывать несколько этажей, например лифт или колонна, проходящая через несколько этажей.
Все этажи можно просмотреть, открыв новый чертеж, а затем используя команду XATTACH для загрузки всех чертежей этажей. Если необходимо исправить ошибки выравнивания, можно использовать опорные точки и команду MOVE для коррекции этажей.
Слои
Убедитесь, что каждый слой чертежа содержит объекты одного класса компонентов. Если слой содержит объекты для стен, он не может содержать иные компоненты, такие как секции или двери. Однако класс компонента можно разделить на несколько уровней. Например, на чертеже может быть три слоя, содержащие объекты стен.
Кроме того, каждый уровень содержит список поддерживаемых типов объектов, все остальные типы игнорируются. Например, если слой меток единиц измерения поддерживает только однострочный текст, то многострочный текст или ломаная линия на соответствующем слое будут игнорироваться.
Более подробные сведения об уровнях и классах компонентов см. в разделе Требования к пакету черчения.
Слой “Экстерьер”
На основе каждого слоя экстерьера создается однослойный компонент. Этот слоистый компонент определяет периметр уровня. Важно убедиться, что объекты на слое экстерьера соответствуют требованиям слоя. Например, поддерживается замкнутая ломаная линия, но открытая ломаная линия не поддерживается. Если наружный слой состоит из нескольких линейных сегментов, они должны быть представлены в виде одной замкнутой ломаной линии. Чтобы объединить несколько линейных сегментов, выберите все линейные сегменты и используйте команду
JOIN.
Приведенное ниже изображение взято из примера пакета и содержит слой экстерьера здания, выделенный красным цветом. Уровень единиц измерения отключен, чтобы улучшить качество визуализации.
Слой “Секция”
Секции — это области для перемещения в здании, такие как офисы, холлы, лестницы и лифты. Для представления каждой единицы требуется замкнутый тип сущности, такой как многоугольник, замкнутая ломаная линия, круг или замкнутый эллипс. Таким образом, только стены и двери не образуют секцию, так как при этом нет сущности, представляющей эту секцию.
Приведенное ниже изображение взято из примера пакета черчения и содержит слой метки секции и слой секции, выделенный красным. Все остальные слои отключены, чтобы упростить обзор. Кроме того, выбрана одна секция, чтобы продемонстрировать, что каждая секция является замкнутой ломаной линией.
Слой меток секций
Если вы хотите добавить свойство имени для секции, необходимо добавить отдельный слой для меток секций. Метки должны быть представлены в виде однострочных текстовых сущностей, которые умещаются в границы соответствующей секции. Соответствующее свойство секции необходимо добавить в файл манифеста, где unitName – текстовая часть метки. Дополнительные сведения о поддерживаемых свойствах секций см. в разделе unitProperties.
Слой “Двери”
Двери можно не использовать. Однако двери можно использовать, чтобы указать точки входа для секции. Двери можно рисовать любым способом, если этот тип сущности поддерживается на уровне дверей.
Дверь должна перекрывать границу секции, а затем перекрываемое ребро секции будет преобразовано в проем секции.
Приведенное ниже изображение взято из примера пакета черчения и содержит секцию с дверью (показано красным), расположенной на границе секции.
Слой “Стены”
Слой стен предназначен для представления физических экстентов зданий, например стены и колонны. Служба Azure Maps Conversion воспринимает стены как физические структуры, которые являются препятствиями для маршрутизации. С учетом этого стенка должна рассматриваться как физическая структура, которую видно, но через которую нельзя пройти. Все, что невозможно увидеть, не будет размещено на этом слое. Если у стены есть внутренние стены или колонны, то на слое будут отражены только внешние элементы.
Шаг 3. Подготовка манифеста
Манифест пакета черчения является JSON-файлом. Манифест сообщает службе Azure Maps Conversion, как читать файлы DWG и метаданные здания. Среди этих сведений могут быть конкретные сведения, которые содержит каждый слой DWG, или географическое расположение здание.
Для успешного преобразования необходимо задать все «обязательные» свойства. Пример файла манифеста можно найти в примере пакета рисования. В этом руководстве не рассматриваются свойства, поддерживаемые манифестом. Дополнительные сведения о свойствах манифеста см. в разделе Свойства файла манифеста.
Уровни здания
Уровень здания определяет, какой файл DWG будет использоваться для каждого уровня. Уровень должен иметь имя и порядковый номер, описывающий порядок расположения уровней по вертикали. Каждое здание должно иметь порядковый номер 0, обозначающий первый этаж. Необходимо указать порядковый номер 0, даже если чертежи включают несколько этажей. Например, этажи 15–17 можно обозначить номерами 0–2 соответственно.
Следующий пример взят из образца пакета черчения. Это здание имеет три уровня: цокольный, 1 и 2 этажи. Имя файла содержит полное имя файла и путь к файлу относительно файла манифеста в пакете черчения .zip.
"buildingLevels": {
"levels": [
{
"levelName": "Basement",
"ordinal": -1,
"filename": ".
/Basement.dwg"
}, {
"levelName": "Ground",
"ordinal": 0,
"filename": "./Ground.dwg"
}, {
"levelName": "Level 2",
"ordinal": 1,
"filename": "./Level_2.dwg"
}
]
},
georeference
Объект georeference используется для указания географического расположения здания и его поворот. Нулевая точка чертежа должна соответствовать широте и долготе, указанной с помощью объекта georeference. Угол по часовой стрелке (в градусах) между истинным севером и вертикальной осью (Y) рисунка.
dwgLayers
Объект dwgLayers используется для указания имен для слоев DWG, в которых можно найти классы компонентов. Чтобы получить здание с преобразованными свойствами, важно правильно указать имена слоев. Например, слой стен DWG должен быть указан как слой стен, а не как слой секций. Чертеж может иметь другие слои, например мебель или коммуникации; однако они будут проигнорированы службой Azure Maps Conversion, если они не указаны в манифесте.
Ниже приведен пример объекта dwgLayers в манифесте.
"dwgLayers": {
"exterior": [
"OUTLINE"
],
"unit": [
"UNITS"
],
"wall": [
"WALLS"
],
"door": [
"DOORS"
],
"unitLabel": [
"UNITLABELS"
],
"zone": [
"ZONES"
],
"zoneLabel": [
"ZONELABELS"
]
}
На следующем чертеже показаны слои из соответствующего чертежа DWG, просматриваемого в программном обеспечении AutoCAD® Autodesk.
unitProperties
Объект unitProperties позволяет определить другие свойства для секции, чего нельзя сделать в файле DWG. Примерами могут быть сведения о каталоге секции или тип категории секции. Свойство секции связано с секцией путем сопоставления объекта unitName с меткой на слое unitLabel.
Следующее изображение взято из образца пакета черчения. На нем показана метка секции, связанная со свойством секции в манифесте.
В следующем фрагменте кода показан объект свойства секции, связанный с секцией.
"unitProperties": [
{
"unitName": "B01",
"categoryName": "room.office",
"navigableBy": ["pedestrian", "wheelchair", "machine"],
"routeThroughBehavior": "disallowed",
"occupants": [
{
"name": "Joe's Office",
"phone": "1 (425) 555-1234"
}
],
"nameAlt": "Basement01",
"nameSubtitle": "01",
"addressRoomNumber": "B01",
"nonPublic": true,
"isRoutable": true,
"isOpenArea": true
},
Шаг 4. Подготовка пакета черчения
Теперь все чертежи DWG приведены в соответствие с требованиями службы Azure Maps Conversion.
Для описания этого здания также был создан файл манифеста. Все файлы должны быть помещены в один файл архива с расширением .zip. Важно, чтобы файл манифеста был назван manifest.json и помещен в корневой каталог ZIP-пакета. Все остальные файлы могут находиться в любом каталоге ZIP-пакета, если имя файла содержит относительный путь к манифесту. Пример пакета черчения см. в примере пакета черчения.
Дальнейшие действия
100+ быстрых и простых идей для рисования, вдохновленных вашей жизнью
Фото: Mint Owl
Практика является жизненно важной частью совершенствования навыков рисования. Изучение основ и повторение их снова и снова — единственный способ стать лучше. Для доказательства просто посмотрите, что могут сделать несколько лет практики рисования. Поистине невероятный прогресс, которого можно добиться, посвятив время этому занятию. Те, кто это делает, перешли от простых набросков фигур к полностью визуализированным портретам, казалось бы, в мгновение ока.
Фото: EndOfAllHope
Хотя лучший способ улучшить свой рисунок — это просто начать, понять, что рисовать, может быть непросто. Как и во всех творческих начинаниях, каждый проходит через «блоки», когда не может понять, что нужно приложить карандашом к бумаге. Ну, не бойся! У нас есть список из 100+ простых идей для рисования, которые вы можете попробовать. Они варьируются от предметов повседневного обихода до фантастических городских пейзажей — мы рекомендуем попробовать разные варианты, чтобы напрячь все свои рисовальные мышцы.
Инвестиции в отличные расходные материалы помогут вам расширить свои возможности рисования. Итак, ознакомьтесь с нашими рекомендациями по лучшим карандашам для рисования и нашим руководством по лучшему типу бумаги. И если вы хотите добавить цвета в свою работу, мы также определили некоторые из лучших цветных карандашей для использования.
Фото: Pixabay
Идеи для рисования, которые может попробовать каждый
Простые идеи рисования, вдохновленные реальной жизнью:
- Интерьер вашей гостиной
- Комнатное растение
- Кухонная утварь, например, венчик или шумовка
- Ваш автопортрет
- Семейная фотография, которой вы дорожите
- Известный человек, которым вы восхищаетесь
- Ваши ноги (или чужие ноги)
- Твои руки (или чужие руки)
- Ожерелье, кольцо или другое украшение — попробуйте скомбинировать их в натюрморте
- Пушистый друг (вероятно, лучше всего работать с фотографией)
- Свежий букет цветов (попробуйте с этим цветными карандашами)
- Деревья за окном
- Внешний вид вашего любимого здания
- Предметы на вашем журнальном столике
- Ваша самая интересная пара обуви
- Милый детёныш животного
- Свежие фрукты, разрезанные пополам (хорошо подойдут цитрусовые)
- Ключи от дома на цепочке для ключей
- Чашка кофе и выпечка в местном кафе
- Интересная безделушка с полки
- Ваше любимое дикое животное
- Паук в паутине
- Затылок
- Зарисовать человека в общественном транспорте
- Интересная дверная ручка или дверной молоток
- Играйте с перспективой, глядя прямо на небоскреб или мост
- Мятая ткань
- Любимый пейзаж
- Сделайте копию любимой картины или статуи (бонусные баллы, если она находится в музее)
- Воссоздание научных изображений жуков или птиц (например, Джона Джеймса Одюбона)
- Крупный план вашего глаза
- Предмет в стеклянной посуде
- Что на тебе сегодня
- Вид из твоего окна
- Что вы видите в зеркало заднего вида вашего автомобиля
- Твой ужин в тот вечер…
- … пока вы не приготовили (ингредиенты)
- Мириады грибов
- Натюрморт со старинными технологиями
- Ваше любимое животное на ферме
- Коллекция любимых вещей
- Портрет твоей второй половинки
- Отправляйтесь в парк и нарисуйте то, что видите
- Лягушка на кувшинке
- Вид с моста — либо с него, либо из-под него
- Вещи, в которых чувствуешь себя уютно
- Сцена из любимого отпуска
- Внутреннее устройство механического объекта (например, часов)
- Ваша любимая приправа — обязательно нарисуйте этикетку
- Балерина на носочках
- Тот, кто выглядит взволнованным и кусает губу
- Нарисуйте свой список дел
- Найдите квитанцию и вытяните один предмет из нее
- Нарисуйте один и тот же предмет не менее чем пятью разными способами
- Документируйте свой день каждый час в виде комикса
Сезонные идеи рисования
Фото: Syda_Productions/DepositPhotos
Идеи для рисования на Хэллоуин:
- Летучая мышь летит в небе
- Ваше представление о доме с привидениями
- Массивная паутина (насколько велика, решаете вы)
- Тыквы со страшными лицами
- Группа ведьм варит кипящий котел
- Жуткий призрак, который может жить в вашем городе
- Гламурный вампир и его заклятый враг охотник на вампиров
- Зомби идут по городу
- Старое кладбище, которое оживает
Идеи для рисования на День Благодарения:
- Изобилие различных осенних продуктов (например, тыквы и кукурузы)
- Ваше любимое блюдо на День Благодарения
- Красочные осенние листья падают с деревьев
- Портрет индюка
- То, за что вы благодарны
Идеи для рождественского рисунка:
- Украшенная вами новогодняя елка
- Портрет Деда Мороза и госпожи.
Клаус - Все олени Санты играют в снегу
- Самый большой снеговик, которого вы можете себе представить
- Сани Деда Мороза с рождественскими огнями
- Ваша семья в виде пряничных человечков
- Снежный шар с красивой зимней сценой
- Ваш рождественский чулок (наполненный вкусностями)
- Двор с леденцами
Идеи для рисования, вдохновленные воображением
Фото: Хавьер Гонсалес
Классные идеи для рисования, вдохновленные воображением:
- Объединение двух несовместимых предметов в одну сцену
- Нарисуйте новый аквариум для рыбки
- Представьте себе волка из веток
- Покройте лист бумаги множеством цветов
- Дизайн экстерьера дома вашей мечты
- Построй свой собственный замок
- Заполнение портрета-силуэта геометрическими узорами
- Создайте свой собственный шаблон
- Рисуем натюрморт в стиле кубизма
- Проиллюстрируйте яркий сон, который видели вы или кто-то другой
- Представьте себе жизнь под водой
- Представьте себе дом в открытом космосе…
- … и корабль, который доставит вас туда…
- … и существа, которых вы встретите
- Визуализируйте свое любимое воспоминание
- Все в мире кувырком (верх-низ, низ-верх)
- Животное, одетое как человек
- Придать объекту лицо
- Район домиков на деревьях
- Невероятная пара друзей
- Безумное чаепитие
- Вилочный погрузчик, поднимающий спагетти и фрикадельки
- Вид с воздуха на любимое место
- Супергерои в реальной жизни
- Мэшап двух персонажей поп-культуры
- М.
C. Интерьер в стиле Эшер
- Твой мир в LEGO
- Чертеж чертежа
- Поменять местами масштаб двух предметов
- Идет дождь… (не вода)
- Дом вашей мечты
- Проиллюстрируйте фразу «Мир тесен»
- Проиллюстрируйте фразу «ваша голова в облаках»
- Представьте себе город в открытом космосе
- Лама в цилиндре
- Множество мандал разных форм и узоров
- Проиллюстрируйте отрывок из любимой песни
- Переосмыслите известный узор, например пейсли
- Буквально проиллюстрировать идиому
- Представьте себе обложку альбома вымышленной группы (или реальной группы)
- Произвольно выберите три слова и нарисуйте вместе их значение
- Ваш любимый персонаж из видеоигр
- Городской пейзаж в линзах солнцезащитных очков
- Животное держит воздушный шар
- Соберите свой собственный цветок — для дополнительной сложности сделайте из него целый букет
- Объединение нескольких животных в одно существо
- Придать объекту лицо
- Соберите музыкальную группу и нарисуйте обложку их альбома
- Нарисовать новую обложку альбома для существующего музыканта
Чтобы получить еще больше идей для рисования, возьмите свою копию 642 Things to Draw !
Узнайте, как реализовать свои идеи рисования шаг за шагом
Фото: rawpixel
Несмотря на то, что существует, казалось бы, бесконечное количество классных идей для рисования, некоторые из самых популярных сюжетов, как правило, связаны с темой природы или вращаются вокруг человеческой фигуры.
Ознакомьтесь с тем, как их рисовать, с помощью некоторых пошаговых руководств ниже. Вы никогда не знаете, научиться рисовать их может породить еще больше идей для рисования!
Рисование животных
Фото: Искусство: Сара Барнс | Моя современная встреча
Как нарисовать кошку двумя разными способами — Если вы хотите нарисовать бесчисленное количество крошечных меховых волосков или создать нового Гарфилда, это руководство познакомит вас с основами анатомии кошки и с тем, как нарисовать их в реалистичном или стилизованном виде. способ.
Фото и искусство: Маргарита Коул | Моя современная встреча
Рисуем тигра шаг за шагом — Готовы нарисовать большого кота? Узнайте, как нарисовать тигра за 10 шагов.
Фото и искусство: Маргарита Коул | Моя современная встреча
Узнайте, как нарисовать панду — Панды — одни из самых любимых животных на планете, и легко понять почему.
В этом уроке вы узнаете, как нарисовать панду, сидящую с побегом бамбука.
Фото и искусство: Маргарита Коул | Моя современная встреча
Мастер рисует корову, лежащую в поле — Ни одно изображение буколического пейзажа не будет полным без довольной коровы, пасущейся на траве.Узнайте, как нарисовать корову с помощью этих пошаговых инструкций.
Фото и искусство: Маргарита Коул | Моя современная встреча
Шаг за шагом нарисуйте белого медведя — В этом уроке мы рассмотрим этапы рисования белого медведя, идущего по Арктике под полной луной.
Фото и искусство: Маргарита Коул | Моя современная встреча
Нарисуйте спящего песца за девять шагов — Неудивительно, что с их плюшевыми шубками и очаровательным характером лисы являются одними из самых любимых животных в Интернете.Теперь вы можете научиться рисовать!
Фото и искусство: Маргарита Коул | Моя современная встреча
Сделайте свой собственный рисунок морской черепахи — Следуйте этому иллюстрированному руководству, чтобы узнать, как нарисовать морскую черепаху карандашом, а затем обвести его тушью.
Фото и искусство: Маргарита Коул | Моя современная встреча
Изучите летучую мышь шаг за шагом — Летучих мышей часто считают символом Хэллоуина и всего ужасного. Узнайте, как нарисовать летучую мышь с помощью этих пошаговых инструкций и иллюстраций.
Рисование анатомии человека
Фото и искусство: Сара Барнс | Моя современная встреча
«Удобное» руководство по рисованию рук — Рисовать анатомию человека сложно, а руки могут быть самой сложной частью тела из всех. В этом руководстве мы разберем внутреннюю структуру руки и то, как вы можете артикулировать кости и мышцы под кожей. Выполните следующие действия, чтобы оживить свой рисунок.
Фото и искусство: Сара Барнс | Моя современная встреча
Изучите свой нос с помощью этого урока — Из всех черт лица нос — это то, о чем вы можете не задумываться.Но не игнорируйте это — эта функция помогает выделить лицо.
Мы рассмотрим анатомию носа и то, как вы можете нарисовать его реалистично.
Фото и искусство: Сара Барнс | Моя современная встреча
Стремитесь к реализму — Чтобы научиться рисовать реалистичный глаз, нужно понять, что не только зрачок делает его реалистичным. Форма глаза, складки на веке и ресницы также важны для достижения сходства — и мы рассмотрим все это.
Фото и искусство: Сара Барнс | Моя современная встреча
Усовершенствуйте свои портреты с помощью этого урока — Рисование портретов уже давно занимает важное место в истории искусства и остается популярным предметом для современных художников. Если вы тоже творческий человек, который хочет продолжить эту традицию, важно, чтобы вы знали, как рисовать лицо.
Фото и искусство: Сара Барнс | Моя современная встреча
Научитесь рисовать череп — Это необходимое и полезное упражнение, чтобы научиться рисовать череп, даже если вы уже рисовали портрет.
В этом уроке мы рассмотрим пропорции головы, а также простой пошаговый процесс рисования костей.
Сюжеты, вдохновленные природой
Фото и искусство: Маргарита Коул | Моя современная встреча
Примите дух осени и нарисуйте тыкву — Оранжевые, зеленые, гладкие или неровные тыквы — синоним осени. Мы составили это пошаговое руководство по рисованию, которое поможет вам нарисовать тыкву всего за несколько шагов.
Фото и искусство: Маргарита Коул | Моя современная встреча
Нарисуйте подсолнух за девять шагов — Направьте картину Ван Гога, следуя этому пошаговому руководству.
Фото и искусство: Сара Барнс | Моя современная встреча
Научитесь рисовать розу — Роза — непреходящий символ любви. Точно так же, как писатели говорили о его красоте, художники рисовали его нежные лепестки. Но то, что роза популярна, не означает, что ее легко рисовать. Нагруженный слоями лепестков, это может быть проблемой. Но не бойтесь — мы ломаем рисунок розы, чтобы это было и доступно, и весело.
Заинтересованы в других цветах? Вот как рисовать разные цветы — В мире так много видов растений, что невозможно научиться рисовать каждый из них. Но как только вы поймете базовую структуру цветка, вы сможете использовать эти знания для наброска любого ботанического растения, которое вам нравится.
Фото: Rawpixel
Если вам не терпится нарисовать все вещи, ознакомьтесь с лучшими уроками по рисованию на YouTube.Эти художники помогут вам научиться рисовать бесплатно.
Эта статья была отредактирована и обновлена.
Статьи по теме:
Лучшие карандаши для рисования для профессионалов и начинающих, которые любят рисовать
Подробные архитектурные чертежи — современная дань уважения искусству М.К. Эшер
Взрослые заполняют рисунки успокаивающими узорами, а не просто раскрашивают их в
Художники перерисовывают свои старые работы, чтобы показать, насколько они улучшились
Как создавать отличные наблюдательные рисунки
Последнее обновление: 24 ноября 2021 г.
Наблюдение за рисованием является неотъемлемым компонентом многих школьных курсов по искусству, включая GCSE/IGCSE и A Level Art.Часто рисование является основным методом исследования, исследования, разработки и передачи идей. Хотя общепризнано, что существует много замечательных типов рисунков – и что нерепрезентативные методы рисования играют важную роль в студенческих художественных проектах, – обычно полезно продемонстрировать экзаменатору компетентные, реалистичные навыки наблюдательного рисования (особенно на ранней стадии) проекта).
Далее следует список советов, которые были написаны специально для старшеклассников, изучающих изобразительное искусство, которые хотят повысить реалистичность своих рисунков-наблюдателей.Это для тех, кто уже выбрал что-то подходящее для рисования (см. это руководство по выбору темы, если вам нужна помощь в этом) и кто понимает, как хорошо составить рисунок (об этом будет рассказано в следующей статье).
Совет 1: смотрите на то, что вы рисуете
Неспособность смотреть на то, что вы рисуете, является одной из самых фундаментальных ошибок, которую может сделать студент-художник.
Неспособность смотреть на то, что вы рисуете, является одной из самых фундаментальных ошибок, которые может сделать студент-художник
Звучит очевидно, но это самая распространенная ошибка студентов-искусствоведов.Многие ученики пытаются рисовать вещи так, как они думают, они должны выглядеть, а не так, как они на самом деле выглядят.
Единственный способ точно записать форму, пропорции и детали — это обратиться к источнику информации. Человеческой памяти не хватает. Формы, тени и детали достаточно сложно воспроизвести, когда они прямо перед вами; если вам приходится их придумывать, они кажутся еще менее убедительными. Чтобы создать выдающийся наблюдательный рисунок, вы должны наблюдать: ваши глаза должны постоянно перемещаться от листа бумаги к объекту и обратно.Не раз и не два, а постоянно.
Примечание: даже если вы преследуете тему о мифических существах, сказках или какой-либо другой воображаемой форме, вы должны работать как можно больше от наблюдения.
Соберите своих существ из фрагментов жизни. Оденьте людей, а затем нарисуйте их или объедините разные части насекомых или существ вместе (используя художественное разрешение, если это уместно), вместо того, чтобы создавать целую форму или сцену из вашей головы.
Совет 2. По возможности рисуйте с реальных объектов
Рисунок из наблюдения: вилки, перевязанные бечевкой.Это превосходное наблюдательное упражнение по рисованию создано художницей и учителем Джули Дуглас. Фраза «наблюдательный рисунок» обычно подразумевает рисование с натуры (см. превосходное упражнение по наблюдательному рисованию, выполненное художницей и учителем Джули Дуглас). Спросите любого учителя рисования, и он перечислит преимущества рисования с предметов, которые находятся прямо перед вами. Вам предоставляется огромное количество визуальной информации… изменение условий освещения; богатые текстуры; взгляды на предмет с разных ракурсов; а также информация от других органов чувств…запахи и шум из окружающей среды и т.
д.Преобразование трехмерного изображения в двухмерное, в конечном счете, намного сложнее, чем рисование с фотографии, но часто в результате рисунки получаются «богаче» и аутентичнее.
(Это, однако, не означает, что вы никогда не должны рисовать по фотографиям. Учащиеся часто ходят из дома в школу и обратно: может быть непрактично снова и снова нести и расставлять сложные натюрморты. Некоторые предметы — такие как пейзажи и обнаженные модели — также недоступны в большинстве классных комнат.Поэтому может быть хорошей практикой создать натюрморт во плоти (или посетить место) и начать рисовать непосредственно с объекта, используя фотографии для завершения работы дома).
Совет 3. Не отслеживайте
На протяжении всей истории великие художники-реалисты рисовали по фотографиям или работали с проекций, взорванных на стены. Но эти художники не учатся в средней школе искусств; они также не оцениваются по их способности воспроизводить форму.
В IGCSE или A Level Art есть место для обводки (например, при обводке того, что вы уже нарисовали, или при создании повторяющегося рисунка), но обводка по фотографиям, а затем простое применение цвета или тона недопустимо.
Такие методы «рисования» требуют минимальных навыков, малому учат и рискуют получить неуклюжие, бездушные наброски. Не делай этого.
Совет 4: Понимание перспективы
По мере удаления объекты кажутся меньше. Воспроизведение этого изменения масштаба на бумаге (посредством использования точек схода) называется «перспективой». Основы перспективы обычно преподаются в средней школе; самое позднее к 10 году. Если вы старшеклассник художественного факультета и каким-то образом пропустили этот урок, срочно исправляйте эту ситуацию.Существует не так много теоретических аспектов искусства, которые необходимо изучать, но это один из них. Пожалуйста, просмотрите перспективные раздаточные материалы в бесплатных ресурсах для учителей Student Art Guide, чтобы начать работу.
Совет 5. Используйте сетки, направляющие или грубые формы, чтобы получить правильные пропорции, прежде чем добавлять детали
Многие ученики начинают с крошечной детали (например, глаз на лице), а затем постепенно добавляют остальную часть изображения… заканчивая рисунком, который имеет плохие пропорции или не помещается на странице (или бесцельно плавает).
в его середине).Этого можно избежать, аппроксимируя основные формы перед добавлением деталей или используя рекомендации для обеспечения правильных пропорций.
При работе с фотографией использование сетки может привести к высокой точности работы. Это позволяет учащимся сосредоточиться на одном небольшом сегменте изображения за раз и дает произвольные линии, по которым можно определить расстояние. Это может быть полезной стратегией, когда требуются точные, детализированные изображения, которые сами по себе могут стать знаменитым компонентом произведения искусства. Однако, поскольку создание сетки методично и включает в себя тщательное построение линий, важно признать, что этот подход сопряжен с риском получения плотных и регламентированных рисунков, которым не хватает «духа», и поэтому к ним следует подходить с осторожностью.
Сетка была полезна для создания этого графитового рисунка собаки и кошки (который был составлен из двух отдельных фотографий). Это я, Амирия Робинсон. Если вы работаете с натуры, грубые наброски основных форм позволят вам получить правильные пропорции, прежде чем вы добавите детали.
Пока вы это делаете, вы должны постоянно проверять, какие точки совпадают (т. е. край ноздрей совпадает с краем глаза), и размер каждого объекта должен оцениваться по отношению к вещам, которые находятся рядом с ним.Вы должны привыкнуть видеть вещи не с точки зрения абсолютного масштаба, а с точки зрения того, как одна вещь сравнивается с другой.
Первоначальный наблюдательный рисунок художника Дугласа Флинта:
Это первый этап наблюдательного рисунка (который позже становится картиной) художника Дугласа Флинта. Основные формы тщательно прорисованы, обеспечивая соблюдение пропорций.Совет 6: опасайтесь многоточия
Эта диаграмма Рэйчел Ширли иллюстрирует некоторые распространенные ошибки при рисовании эллипса. Эллипсы — овальные формы, видимые в верхней части цилиндрических предметов, таких как бутылки или банки, — часто «спотыкаются» о слабый ящик. Они могут послать немедленный сигнал о том, что ученик не смотрит на то, что он рисует. Все эллипсы, независимо от того, под каким углом на них смотреть, должны быть закруглены (а не заострены) на концах, как показано на изображении слева (автор Рэйчел Ширли) и ниже (по материалам IDsketching).
Совет 7. Делайте контуры светлыми
Это обсервационное исследование было частью курсовой работы IGCSE класса «A», представленной Джорджией Шаттки из колледжа ACG Parnell. На нем изображена сложенная ткань, висящая над углом деревянного комода. Обратите внимание, что в работе нет ни одного черного контура: края определяются исключительно изменением тона.По мере того, как ваш рисунок детализируется, уделяя внимание тонким вариациям форм и форм, естественная склонность — особенно новичка — затемнять контуры, чтобы обеспечить их видимость.Не делай это.
Реальные объекты не имеют темных линий вокруг каждого края. Вместо этого края должны определяться изменением тона и/или цвета, как на красивом графитовом рисунке студента IGCSE, показанном слева.
Если вы создаете линейный рисунок, мультфильм или какое-либо другое графическое изображение, контуры могут быть затемнены, но в наблюдательном рисунке, особенно в том, который вы хотите сделать реалистичным, темные контуры никогда не рекомендуются.
Совет 8: Имейте хороший диапазон тембра
Когда дело доходит до применения тона к вашему рисунку, как и во всем остальном, смотрите на объект.Наблюдайте, где находятся светлые и темные области, и копируйте то, что видите. Почти во всех случаях ваш рисунок должен иметь полный диапазон тонов, от черного через множество оттенков серого (или цветных полутонов) до белого.
Некоторые ученики, научившись плавно смешивать тон от темного к светлому, вырабатывают досадную привычку случайным образом затенять все поверхности от темного к светлому. Ни в коем случае нельзя придумывать тон и применять его наугад.
Это произведение для экзамена по искусству IGCSE категории «А» принадлежит Кейтлин Дайкс из колледжа ACG Parnell.
Даже когда изображен светлый материал (как в ткани, показанной под фруктом), тени глубокие и насыщенные по тону. Обратите внимание на прекрасное добавление улиток в этой работе!Совет 9. Используйте маркировку для передачи качества и текстуры поверхности
При создании наблюдательного рисунка используемые отметки должны помочь передать текстуру(ы) предмета. Существует множество различных способов, которыми карандаш может ударять по бумаге — штриховка, штрихи, пятна, точки… тщательно подумайте, прежде чем решить, какую технику использовать.
Эта заключительная часть экзамена по искусству IGCSE категории «А» была подготовлена талантливой Клэр Митчелл (ACG Strathallan College). Искусно изображены поверхностные качества объектов: свернутые листья цветной капусты с тонко текстурированной пятнистой поверхностью цветной капусты.Совет 10. Включите или опустите детали по мере необходимости
Одной из областей, где ученики часто разочаровываются, является изображение невероятно сложных предметов.
При рисовании деревьев, растений и кустов не обязательно повторять каждый листик или палочку.Рисуя человека, необязательно изображать каждую прядь волос. Художник всегда может выбирать, что будет в его творчестве. Пока решение основано на том, что эстетически лучше для работы (а не на желании пропустить что-то, что трудно нарисовать… что часто является движущей силой студентов, желающих исключить определенные аспекты своего изображения), в этом нет ничего плохого. с пропуском некоторых деталей на чертеже. На самом деле, часто благодаря этому композиция становится менее загроможденной и приятной для глаз.
Есть много подходов к этому. Иногда каждая деталь может быть записана с точностью. Иногда определенная область рисунка отображается полностью, а другие части отстают.
Этот наблюдательный карандашный рисунок сандалии, ткани, крема для обуви, щетки и газеты был выполнен во время экзамена по искусству IGCSE Эммой Филлипс из колледжа ACG Strathallan. Эта работа A* — хороший пример того, как иногда полезно опускать детали.
Эмма включила только часть текста, чтобы ее окончательная работа не стала слишком загроможденной.Совет 11: Вставьте свою душу
Большинство советов, приведенных выше, направлены на то, чтобы помочь учащимся создавать более реалистичные наблюдательные рисунки. Этот последний совет — нечто иное. Это напоминание о том, что иногда важна разница между реальным предметом и рисунком.
Хотя обычно предполагается, что рисунки-наблюдатели должны быть реалистичными по своей природе, они не должны быть сверхреалистичными (другими словами, они не должны выглядеть в точности как фотография). Часто это нереалистичные детали: неожиданное нанесение меток — разрыв между реальным объектом и нарисованным — куда прокрадывается душа.Это красота в пятнах и неровностях и художественная интерпретация. Даже студент IGCSE или A Level Art является художником. Примите это!
Красивый графитовый рисунок Эйприл Коппини:
Этот красивый графитовый рисунок Эйприл Коппини — прекрасная иллюстрация того, как художник может вдохнуть немного души в наблюдательную работу.
В то время как формы изображены реалистично, с высокой точностью, они окружены, а иногда и покрыты нечеткими красивыми знаками, которые видны только глазу художника.Вот где волшебство.Если вам понравилась эта статья, вы также можете прочитать серию руководств по творчеству для учащихся, посвященных творческому использованию медиа, в которых содержатся советы и рекомендации для учащихся, желающих сделать свои рисунки, картины или презентацию из альбома более увлекательными.
Амирия в течение семи лет работала учителем искусства и дизайна и координатором учебной программы, отвечая за разработку курса и оценку работы учащихся в двух успешных школах Окленда. Она имеет степень бакалавра архитектурных исследований, степень бакалавра архитектуры (с отличием первой степени) и диплом о высшем педагогическом образовании.Амирия является аккредитованным CIE оценщиком курсовых работ по искусству и дизайну.
Сколько продаются рисунки карандашом
Продажа рисунков карандашом
Вы заинтересованы в том, чтобы узнать , как продавать рисунки в Интернете , но не знаете, сколько стоит художественный рисунок или эскиз?
За последние пять лет количество художников, продающих свои работы онлайн, увеличилось, как никогда прежде.
Продажи произведений искусства в Интернете растут, и они включают в себя оригинальные картины маслом, оригинальные акриловые картины, оригинальные акварельные картины, иллюстрации, карандашные рисунки, эскизы, штриховые рисунки и репродукции оригинальных произведений искусства.
Теперь художник может продемонстрировать свои работы потенциальным покупателям произведений искусства по всему миру. Но сколько люди готовы тратить на рисунки.
Ценность рисунка отличается от картины маслом, поэтому узнать, сколько стоит рисунок или портрет карандашом, — хорошая отправная точка для продажи своего искусства в Интернете.
Оценка произведений искусства – это вызов для каждого художника, начинающего продавать свои работы. Лучший способ начать — узнать, сколько другие художники берут за свои творения.
После получения средней цены художники продают рисунки; вы захотите узнать больше о ценообразовании искусства для продажи. Вы можете узнать больше, посетив «Как оценить искусство — Полное руководство».
Отказ от ответственности: этот пост может содержать партнерские ссылки. Если вы совершите покупку, нажав на партнерскую ссылку, Nevue Fine Art Marketing может получить партнерскую комиссию без каких-либо дополнительных затрат для вас. Партнерские отношения включают, помимо прочего, Bluehost, Tailwind, Skimlinks, SareASale и StudioPress.Чтобы узнать больше, посетите страницу с политикой раскрытия партнерской ссылки
За сколько продаются рисунки
Прежде чем устанавливать цену за свой рисунок, найдите время, чтобы посмотреть, сколько художников продается в популярных онлайн-галереях.
Вот несколько популярных платформ, которые художники-графитисты используют для продажи своих рисунков, и диапазон цен для каждой платформы.
Saatchi Art
- Оригинальные карандашные и цветные карандашные рисунки стоят от 300 до 2000 долларов.
- Цена от 40 долларов.00 – $ 100.00
1
ST DibsОригинальные рисунки Range от $ 246 – $ 2,710,00
Artfinder
Оригинал Ряд от $ 36.
00 – $ 5569.00
Singulart
Карандаш рисунков между – $ 860,00 – $ 7340,00
Etsy
Карандаш , графитовые художественные рисунки варьируются от – 9,99 до 1400,00 долларов США
Сколько стоит продавать рисунки за
Глядя на широкий диапазон цен на рисунки, вы можете спросить себя: «Сколько я должен брать за свое искусство?»
Есть несколько причин, по которым художник берет такую сумму за свою работу.
Art Price:
- Рыночная стоимость
- Medium – карандаш, цветной карандаш, уголь
- Size – 8 x 10, 16 x 20, 20 x 24
- Поверхность для рисования – бумага, brist
- Навыки рисования
- Распознавание имени
- Востребованный товар
Все перечисленные выше переменные влияют на цену рисунка.
Исследования — ключ к успеху, когда речь идет о ценообразовании произведений искусства.
Начните с поиска художников с таким же художественным стилем и уровнем мастерства, как у вас.
Начните с поиска на Etsy, а затем просмотрите другие сайты, перечисленные выше.
Посмотрите, занимает ли их имя первое место в результатах поиска.
Посмотрите, насколько они хороши и сколько людей подписано на них в социальных сетях, таких как Facebook, Instagram и Twitter. Прокрутите их новостные ленты вниз, чтобы узнать, покупают ли люди продукты через свои учетные записи в социальных сетях.
Последний шаг — подписаться на их список рассылки. Обратите внимание на то, сколько раз они отправляют информационные бюллетени и какой тип контента они включают в свои информационные бюллетени.
После того, как вы закончите свое исследование, у вас будет лучшее представление о том, сколько люди готовы потратить на рисунки, подобные вашему.
Как оценить чертежи
Как мы упоминали ранее, многие факторы связаны с ценообразованием чертежей. Вы также захотите учесть количество времени, которое потребовалось вам для завершения рисунков, насколько велика работа и сколько стоят материалы.
Карандаши и доска из щетины Strathmore относительно недороги по сравнению с большинством материалов, таких как цветные карандаши, масляные краски, пастель и акриловые краски.
Даже если вы используете самые лучшие карандаши, затраты не будут слишком высокими, поэтому затраты будут такими, когда вы инвестируете в создание изделия.
Профессиональные художники используют несколько формул ценообразования, включая ценообразование за квадратный дюйм или почасовую оплату.
Чтобы узнать больше о ценообразовании на произведения искусства, посетите страницу How To Price Art — The Ultimate Guide.
Загружайте рисунки и зарабатывайте деньги
Многие платформы позволяют вам продавать оригинальные рисунки и репродукции в Интернете, включая WordPress (мы рекомендуем художникам создать веб-сайт художника для своего художественного бизнеса), сторонние конструкторы веб-сайтов и печать по запросу. места.
Любая платформа упрощает загрузку произведений искусства.
Если вы можете загрузить изображение в свою учетную запись Facebook, вы можете загрузить изображение на WordPress, Fine Art America и другие конструкторы веб-сайтов.
Разница заключается в ежемесячных платежах, связанных с разработчиками веб-сайтов, гибкости дизайна сайта и скорости сайта. (Google вознаграждает сайты с быстрой загрузкой.)
Сайты печати по запросу позволяют художникам и фотографам продавать репродукции своих работ, выполнять заказы и напрямую отправлять товар покупателю.Художник будет получать гонорары за каждую продажу.
В качестве примера того, как легко продавать репродукции ваших рисунков, посетите статью «Как продавать художественные репродукции на Etsy с помощью Printful».
Чтобы узнать, как продавать материальные продукты в WordPress, посетите страницу Как добавлять товары и управлять ими с помощью WooCommerce.
Чтобы узнать больше о продаже рисунков в Интернете, посетите страницу Как продавать рисунки в Интернете и зарабатывать деньги.
Как заработать деньги рисованием
Художник может зарабатывать деньги рисованием разными способами, и успешные художники используют несколько методов для получения дохода.
- Продажа произведений искусства на арт-сайте.
- Продажа произведений искусства на местных арт-ярмарках.
- Продажа произведений искусства в галереях.
- Продажа произведений искусства в социальных сетях, таких как Facebook и Instagram.
- Преподавание уроков рисования онлайн и индивидуально.
- Продажа репродукции оригинального рисунка.
- Продажа товаров с отпечатками оригинала на них.
- Продажа векторных рисунков.
- Написание постов в блог.
- Написание электронных книг.
- Комиссионные продукты.
- Иллюстрации.
Это всего лишь несколько способов, с помощью которых художники по графиту могут получить работу, используя свои навыки.
Заключительные мысли о ценообразовании Рисунки
Все больше и больше художников продают произведения искусства через Интернет.
Художники из Соединенного Королевства и Соединенных Штатов преуспевают в продвижении своих карандашных рисунков и рисунков цветными карандашами в Интернете.
При первом запуске может возникнуть проблема с ценообразованием на произведения искусства, и вы можете сначала рассмотреть возможность снижения цен на свои произведения искусства, чтобы привлечь новых поклонников.По мере того, как ваше искусство становится востребованным, вы можете легко повышать цены.
More Drawing Related Posts
Советы по рисованию для улучшения навыков рисования
Вы заинтересованы в том, чтобы научиться рисовать? Рисование — это весело, расслабляюще, вознаграждающе, и это навык, которому может научиться каждый. Рисование означает нанесение меток на поверхность. Вы научились писать свое имя и буквы алфавита. Если вы можете напечатать свои слова на бумаге, вы… [Читать далее…]
Что мне рисовать – классные идеи для рисования
Когда вы новичок, вы можете найти удовольствие в рисовании чего угодно, но каждый художник столкнется с творческим блоком через некоторое время.
Независимо от того, являетесь ли вы новичком или продвинутым художником, нельзя пренебрегать отработкой своих навыков рисования. Тем не менее, это может стать очень … [Читать далее …]
Как сделать репродукции рисунков
Как сделать репродукции ваших произведений искусства для потрясающих портфолио и выставок Нет лучшего чувства, чем продажа оригинального рисунка, но знаете ли вы что можно заработать еще больше денег, продавая репродукции своих карандашных рисунков? Создание высококачественных цифровых изображений и отпечатков жикле… [Подробнее…]
Современное vs.Исторический: роль и функция изобразительного искусства
Джорджо Вазари, известный художник эпохи Возрождения, красноречиво говорил о важности рисунка в области изобразительного искусства. Вазари утверждает: «Рисование… есть необходимое начало всего [в искусстве], а не имея его, не имеешь ничего». Рисунки — это не только начало всего в искусстве, хотя это важный элемент их ценности; они также облегчают творческий процесс художника, описывая увиденное, визуализируя воображаемое и символизируя идеи и концепции.
Хотя рисунок широко используется художниками как средство осмысления своих идей для картины, он также выполняет множество других функций. Некоторые из этих других функций включают: описательный рисунок, орнамент и иллюстрацию, рисунок как социальный комментарий, рисунок как средство прояснения или кристаллизации идеи, рисунок как средство самовыражения.
Каждый художник будет использовать одну или все эти функции в зависимости от того, чего он пытается достичь. Сама функция, которую берет на себя каждый рисунок, может быть подчеркнута средствами, которые используются для его завершения.Ибо, как важно помнить, рисунок делается не только карандашом или графитом, но и завершается такими средствами, как карандаш, пастель, цветной карандаш, тушь и уголь.
Во времена старых мастеров, таких как Микеланджело, Рафаэль и да Винчи, предпочтительным материалом был красный мел. Большинство их основных картин начинались как рисунки или «этюды» для окончательного написания произведения искусства.
Сегодня мы рассматриваем эти рисунки как законные произведения искусства сами по себе, точно так же, как мы относимся к конечному нарисованному произведению.Во времена великих мастеров эти рисунки считались предварительными и не предназначались для показа. Хотя рисунки собирались и ими восхищались с шестнадцатого века, они считались информативными исследованиями, а не законченными и независимыми произведениями сами по себе. Сегодня все изменилось, и рисование стало намного больше, чем просто средство для достижения цели. Для многих это стало самоцелью.
Рисунки также попадают в те же категории, что и живопись или скульптура, и часто отражают качества и стиль художника, который их создал.Как и следовало ожидать, рисунки варьируются от репрезентативных до абстрактных и всего, что между ними. В двадцатом веке подъем абстрактной живописи и других современных движений изменил роль устоявшихся художественных дисциплин. В современном мире искусства рисунок был переосмыслен и включен в современное понимание как нечто большее, чем просто способ точно изобразить изображение или концептуализировать окончательное произведение искусства.
Скорее, это стало для художника средством самовыражения.
Несмотря на то, что роль и функции рисования менялись с течением времени, одна вещь остается неизменной. Как упоминал Вазари в приведенной выше цитате, рисование было, есть и будет преподаваться как неотъемлемый аспект художественного процесса и является жизненно важным и фундаментальным элементом самого изобразительного искусства.
Просмотрите нашу коллекцию Fine Art Drawing для продажи прямо сейчас!
Эта статья была написана для ARTmine Джеффри Шрайером.
Рисование для начинающих: 26 БЕСПЛАТНЫХ базовых уроков рисования
Если вам нужны уроки рисования для начинающих или советы по рисованию для начинающих, чтобы улучшить свое искусство, мы поможем вам.
В этом БЕСПЛАТНО загружаемом руководстве вы найдете 26 бесплатных базовых уроков рисования для начинающих ! Эти пошаговые уроки дадут вам все советы по рисованию, необходимые для начала работы.
Вы можете скачать эти бесплатные базовые уроки рисования прямо сейчас! Узнайте, как рисовать цилиндр, сферу, куб или круг, и как использовать эти навыки для улучшения своего искусства.
Загрузите бесплатные уроки рисования для начинающих уже сегодня!
*Указав свой адрес электронной почты, вы начнете получать наши информационные бюллетени, специальные предложения и другой бесплатный контент от Artists Network.
Что внутри этого рисунка для начинающих?
В нашей бесплатной электронной книге вы найдете 26 бесплатных пошаговых уроков рисования, чтобы быстро освоить основы.
Одним из первых шагов простого рисования является овладение искусством рисования фигур. Куб, цилиндр и сфера — это основные формы, которые художник должен выучить, чтобы достичь более глубокого понимания всех форм при обучении рисованию.
Этот учебник по рисованию для начинающих предлагает уроки рисования для начинающих, простые упражнения по рисованию для всех и отличный способ улучшить свою технику.
Часть 1: Чертеж цилиндра Джона де Мартина
Правильное рисование фигур подчеркнет естественные объекты на ваших рисунках. Цилиндр, который представляет собой комбинацию куба и сферы, является идеальной формой, чтобы сначала научиться рисовать. Научиться рисовать цилиндры очень важно, особенно в натюрморте, потому что художник постоянно сталкивается с эллипсами, встречающимися в обычных предметах.
Рисование кругов и эллипсов: основы цилиндров
Прежде чем стать экспертом по рисованию цилиндров, вы должны сначала научиться рисовать эллипс и правильно строить окружность.Рисование круга может быть трудным без надлежащего руководства, но с различными иллюстрациями Джона де Мартина, которые помогут вам научиться рисовать круг, это станет легким рисованием для всех. Он объясняет, как круг становится эллипсом, если его наклонить из-за перспективы. Узнайте, как рисовать успешные эллипсы без искажений, с помощью этих подробных уроков рисования для начинающих.
Чертежные цилиндры
Глаз не может видеть половину цилиндра, поэтому важно научиться правильно наблюдать за цилиндром.Эти пошаговые инструкции по рисованию показывают процесс рисования цилиндра из куба — вы должны уметь рисовать хороший куб в перспективе, прежде чем сможете построить удачный цилиндр. Подробные иллюстрации в этой бесплатной электронной книге помогут вам понять различные шаги, необходимые для того, чтобы научиться рисовать цилиндр и правильно располагать цилиндры в пространстве.
Использование цилиндра для рисования фигур
На протяжении веков для формирования человеческой фигуры использовались основные геометрические формы.В этих упражнениях по рисованию вы узнаете, насколько человеческая фигура действительно состоит из цилиндров. Несколько иллюстраций, представленных в этом бесплатном руководстве по рисованию, помогут вам осмыслить идею о том, что даже наши пальцы состоят из цилиндров. Используя эти конструкции, художники могут лучше понять и оценить модель при рисовании лиц. Потенциал движений модели безграничен, но определение направления форм при рисовании фигур является очень важным техническим соображением.
Часть 2: Рисунок сферы Джона де Мартина
Сфера и овоид — две формы, которые следует тщательно изучить, чтобы точно изобразить природные объекты и человеческую фигуру. Сфера, как бы вы на нее ни смотрели, всегда сохранит свою первоначальную форму. Овоид имеет странную форму, что делает его более естественным для рисования фигур, потому что человеческая фигура, как мы все знаем, не создана с идеальными кругами.
Как нарисовать сферу и овоид
Сфера, шар, и овоид, яйцо, являются двумя основными геометрическими формами, которые представляют кривизну, идущую в двух разных направлениях.Уроки рисования для начинающих всегда должны включать в себя, как нарисовать сферу. Джон де Мартин предлагает научиться рисовать сферу, нарисовав ее внутри квадрата. В этом уроке рисования дано еще много полезных советов не только о сферах, но и о овоидах.
Овоид рисовать немного сложнее, чем сферу, из-за его неправильной формы. Овоиды обычно используются для создания более натуралистичных объектов, таких как наброски лиц.
Часть 3: научиться рисовать куб
Если вы научитесь рисовать куб, вы поймете основные принципы перспективы и сможете легко изображать человеческую фигуру и другие органические формы.Это обязательное условие рисования для начинающих, и оно хорошо изложено в этом бесплатном руководстве.
Куб
Понимание того, как рисовать куб, упрощает рисование в перспективе. Способность рисовать куб под любым углом, как из жизни, так и из воображения, необходима для хорошего мастерства. После приобретения навыка несложно применить эти знания к более сложным предметам. Куб кажется простым, но на самом деле он сложен и требует как внимательного наблюдения, так и знаний конструкции и перспективы.Если нельзя нарисовать куб в перспективе, то нарисовать голову будет невозможно.
Освойте технику рисования с помощью этого БЕСПЛАТНОГО руководства по рисованию для начинающих
Рисовать фигуры может быть довольно сложно, но с помощью экспертного совета Джона деМартина вы сможете научиться рисовать эскизы фигур более точно в кратчайшие сроки.
Научитесь рисовать сейчас и начните понимать все методы рисования, необходимые для обучения рисованию для начинающих.
Загрузите бесплатные уроки рисования для начинающих уже сегодня!
*Указав свой адрес электронной почты, вы начнете получать наши информационные бюллетени, специальные предложения и другой бесплатный контент от Artists Network.
бесплатных крутых простых рисунков, скачать бесплатные крутые простые рисунки PNG, бесплатные клип-арты в библиотеке клипартов
мультфильм карандашный рисунок
простых эскиза для рисования
легкий рисунок супер марио
эскиза черными чернилами легко
забавных простых крутых идеи рисования
снупи джо крутой
крутых рисунка татуировки легко
простых рисунка морской черепахи
простых крутых узора для рисования
цветочный рисунок
картинки с собаками
пошаговые простые идеи рисования
легкие монстры вкл рисунок
легкий крутой 3d рисунок
простых рисунка машин
крутых картинки, которые легко нарисовать детям
простых рисунка черепа
крутые рисунки мальчика легко
простой трехмерный рисунок
легкие крутые простые скетчи
нарисовать дизайн маори
крутых простых рисунка
схема птицы орла
простой карандашный рисунок покемонов
простых простых идеи рисования
простой рисунок Микки Мауса
легко рисовать акулу круто
паутина ручной эскиз
штуки для рисования
простых милых рисунка на день Святого Валентина
нарисуй кошку прикольно
эскиза татуировки на рисунке легко
крутых онлайн-рисунка
легкий рисунок крыла ангела
татуировки для рисования легко
идеи рисования карандашом
легкий рисунок текстуры искусства
хороший рисунок
хороший рисунок сердечек
русский музей
классная легкая акула для рисования
Чертежи
Посмотреть все чертежи
31 000 рисунков, акварелей и пастелей Национальной галереи, датируемых одиннадцатым веком до наших дней, в том числе некоторые из лучших итальянских, немецких и французских работ в этой стране, а также важные работы Уинслоу Гомера и Джорджии О’Киф и значительные фонды послевоенных американских работ на бумаге.
Коллекция Галереи, основанная в 1941 году, за короткий период времени достигла мирового уровня по сравнению с другими крупными коллекциями рисунков в этой стране и уважаемыми европейскими учреждениями. Быстрые темпы его роста еще более примечательны, если учесть, что каждое произведение искусства было приобретено в дар или за счет пожертвования частных средств на его покупку; никакие федеральные средства никогда не использовались для этой цели.
Благодаря щедрости благотворителей, больших и малых, коллекция рисунков Галереи с годами неуклонно и впечатляюще росла.Первые значительные дары графического искусства, около 2000 работ, были получены в 1942 году вместе с пожертвованием всей коллекции Джозефа Э. Уайденера, включая прекрасную группу рисунков Рембрандта, а также 350 эскизов французских рисунков восемнадцатого века для книжных иллюстраций. Лессинг Розенвальд начал самый большой и важный подарок в 1943 году, передав музею в течение тридцати шести лет свою коллекцию из 22 000 старых мастеров и современных гравюр и рисунков, включая выдающиеся средневековые миниатюры и рисунки Рембрандта, Нантёя, Домье, Блейка, Уистлер и Кассат.
Пожертвование коллекции Сэмюэля Х. Кресса и завещание коллекции Честера Дейла в 1963 году добавило превосходные французские и итальянские рисунки восемнадцатого и девятнадцатого веков. Совсем недавно серия пожертвований мистера и миссис Пол Меллон еще больше укрепила владения девятнадцатого века. В то же время завещанная коллекция рисунков Арманда Хаммера, несколько превосходных подарков от Роберта и Кларисы Смит, а также подарки и обещанные подарки из семейной коллекции Вуднеров добавили драматические пики и важные преимущества коллекции рисунков европейских старых мастеров.Коллекция двадцатого века также продемонстрировала впечатляющий рост благодаря подаркам от Джейкоба и Рут Коул Кайнен, мистера и миссис Стэнли Вудворд, миссис Макс Бекманн, Нормы Б. Марин и Джона Марин-младших, а также Марка. Фонд Ротко. Коллекция рисунков старых мастеров и современных рисунков выросла благодаря щедрости многих важных дарителей, в том числе Уильяма Б. О’Нила, Рут К. Хеншель, мистера и миссис Джеймс Т.
Дайк, Эвелин Стеффанссон Неф и Джозеф Ф. МакКриндл. .
С 1966 года Галерея ведет активную деятельность на рынке рисунков, используя пожертвованные средства для приобретения отдельных работ для коллекции.Средства на покупку также позволили галерее приобрести целые коллекции путем комбинированных договоренностей о подарке и покупке, в том числе коллекцию американских рисунков Джона Дэвиса Хэтча, коллекцию старых мастеров и современных рисунков Юлиуса Хелда, исключительную группу итальянских и немецких рисунков из коллекции Вольфганга. Ratjen, а также минималистские и концептуальные работы, собранные Гербертом и Дороти Фогель.
Работы на бумаге очень восприимчивы к повреждению при чрезмерном воздействии света, и их можно экспонировать только в течение короткого периода времени.По этой причине Галерея ведет график сменных выставок, взятых из собственной коллекции или заимствованных у других учреждений и частных лиц. Произведения графического искусства, которые не выставлены, разделены между двумя хранилищами: европейское искусство в Восточном здании и американское искусство в Западном здании.

Чертежные виды позволяют перемещать и масштабировать все элементы вида выполнением одной операции. Можно вставлять пустые виды в чертежные листы, чтобы они содержали начерченные объекты.
Укажите интервал сетки и способы привязки, выбрав
Параметры
Свойства документа
Масштабная сетка/Привязать.
