Что будет если соединить землю и ноль?
Фаза и нуль: понятия и отличие
Существует такое понятие, как напряжение. Это слово означает степень напряженности электрического поля в данной точке или цепи. Иначе его называют потенциалом. Если очень простыми словами, то это некий поршень, что дает толчок для электронов, чтобы они прошли по проводам и зажгли лампочку в люстре.
В общей цепи (фаза ноль), той, что приходит на люстру или розетку, есть два провода. Один из них и есть фаза. Именно этот провод находится под напряжением. Фаза в электротехнике сравнима с плюсом в автомобиле — это основное питание для сети.
Вам это будет интересно Особенности коэффициента пульсации
Фаза, ноль, земля в розетке
Нуль — это провод, который не находится под напряжением (это именно то, чем отличается ноль от фазы). Он не перегружен в процессе отбора мощности, но, тем не менее, по нему так же течет электрический ток, только в направлении, обратном фазному. В отсутствии напряжения он является безопасным в плане поражения человека электротоком.
Советы от электрика
Владельцу, не обладающему широкими познаниями в области электротехники, важно прислушиваться к следующим рекомендациям опытных электриков:
- При использовании мультиметра необходимо детально изучить руководство по эксплуатации прибора, чтобы правильно вставить контакты щупов и настроить аппарат.
- Способ с контрольной лампой связан с повышенным риском поражения электрическим током, поэтому к нему не рекомендуется прибегать пользователю, у которого отсутствуют навыки электромонтажных работ.
- Не следует слепо полагаться на наличие маркировки или цветовое оформление изоляции проводов, без предварительной инструментальной проверки, поскольку не исключена вероятность ошибки при монтаже.
Правильно определённая принадлежность проводов позволит верно выполнить домашнюю проводку и подключить оборудование, обеспечив безопасность потребителя.
Как найти нуль и фазу
В домашних условиях, даже не имея специальных приборов и приспособлений, возможно определить в обычной розетке, какой из двух проводов является фазой, а какой нулем. В этом случае используются электролампа или индикаторная отвертка.
Проверка с помощью электролампы
Для поиска нуля и фазы достаточно взять обыкновенный патрон с лампочкой и прикрутить два провода на его штатные места. Затем один из этих проводов подключить к заземляющим ножам в розетке, а второй — к любому из двух силовых разъемов.
Фазным будет являться тот разъем, при подключении к которому лампочка будет загораться. Это происходит потому, что по Правилам устройства электроустановок (ПУЭ), в вводном электрощите нулевые провода всех розеток должны быть соединены с земляными проводами этих же розеток. А отдельно земляная шина должна быть соединена с защитным контуром заземления. Именно это и обеспечивает наличие надежного нуля во всей цепи энергоснабжения дома.
Вам это будет интересно Мощность розетки 220 в
Электролампа
Обратите внимание! Самостоятельно подобные процедуры допустимо делать только в том случае, когда квалифицированной помощи ждать неоткуда, а также в случае аварийной ситуации (пожар, короткое замыкание, попадание человека под напряжение).
Не стоит забывать, что электрический ток очень опасен. Не стоит рисковать своим здоровьем и своей жизнью из-за лампочки!
Индикаторная отвертка
Для того, чтобы определить фазу в сети переменного тока напряжением 220В — 230В, можно использовать бытовой указатель напряжения — индикаторную отвертку. Продается он практически в любом хозяйственном магазине и стоит (в зависимости от конструкции) очень недорого.
Пример исправной индикаторной отвертки
Как правило, инструкции к применению у подобных инструментов нет, поэтому, чтобы не получить электротравму, следует помнить несколько простых правил, применимых к любому инструменту, соприкасающемуся с токоведущими частями:
- Использовать инструмент только по назначению (запрещается применять указатель напряжения — индикаторную отвертку — в качестве обыкновенной отвертки для закручивания/откручивания винтов, саморезов, шурупов и т.д.)
- Перед использованием инструмента следует внимательно рассмотреть состояние изоляции на рукояти и жале (применимо для любых отверток, в том числе для индикаторных).
Ни в коем случае не использовать приспособление, если изоляционное покрытие имеет сколы или вообще отсутствует. - Проверять работоспособность индикаторных устройств необходимо на электроустановках, заведомо находящихся под напряжением (например, в удлинителе, в который включен работающий электроприбор).
Отвертка с изолированным жалом
В случае сомнения в работоспособности индикатора следует считать его неисправным, а электроустановку действующей.
Так же существуют более точные и безопасные приборы для определения наличия напряжения в сети — это мультиметры, токоизмерительные клещи, вольтамперфазометры (ВАФ) и другие.
Мультиметр
В быту, как правило, используются простые мультиметры. Они способны показать наличие напряжения в сети и его значение. Намного безопаснее использовать для определения фазы именно эти приборы, так как их щупы имеют диэлектрическую рукоятку. Принцип определения такой же, как и в случае с патроном — достаточно один щуп приложить к земляному контакту розетки, а второй накладывать на один из двух контактов розетки.
Пример мультиметра
Важно! Как и правила дорожного движения, правила электробезопасности обязательно нужно соблюдать, ведь электрический ток невидим, неслышим и неосязаем, и именно этим он и опасен.
Вам это будет интересно Особенности измерения света
Электроэнергия (согласно второму закону Ньютона) не появляется из ниоткуда и не уходит в никуда. Она производится, транспортируется и потребляется на глазах. Нужно знать, откуда она берется, как к нам попадает и в каком виде. Каждый должен понимать, что в бытовом потреблении есть провода, которые могут нанести вред здоровью человека, а есть и такие, которые совершенно безвредны, поэтому необходимы небольшие знания и минимум приборов для определения и разграничения этих проводов. Но любые манипуляции с электричеством лучше доверять профессионалу — квалифицированному специалисту, чтобы избежать беды.
Виды повреждений
На стояке подъезда
Для начала в общих чертах рассмотрим, что собой представляет электросеть городского многоэтажного дома.
Источником питания в данном случае является трансформаторная подстанция, от которой протянуты провода к главному распределительному щиту постройки. Напряжение в главном щитке трехфазное, то есть сеть 380 Вольт. Отсюда уже выводятся группы проводов на каждую квартиру. В самих квартирах сеть уже однофазная – 220 В. Если произойдет обрыв общего нуля на стояке подъезда, это может стать причиной выхода бытовой техники из строя. Приводит это к неравенству — в трехфазной схеме питания произойдет перекос фаз и вместо симметричной нагрузки образуется несимметричная, проходящая в четырехпроводной цепи.
Простыми словами можно это объяснить так: от главного щитка в подъезде к каждой отдельной квартире подается одинаковое напряжение – 220 В. Если произойдет обрыв нулевого провода, может получиться так, что к одной квартире поступит 300 Вольт, а к другой 170 (как пример). Результат – перенапряжение и «недонапряжение» станет причиной выхода электроприборов из строя. Обычно если происходит повреждение нуля, ломается техника, имеющая двигатель: стиральная машина, холодильник, кондиционер и т.
д. Помимо этого может произойти пожар, что еще хуже.
Что собой представляет перекос фаз
Внутри жилого помещения
Совсем противоположная ситуация может произойти при обрыве нуля в однофазной сети 220 Вольт, то есть внутри Вашей квартиры, частного дома либо на даче. В этом случае последствием может стать поражение человека электрическим током. Происходит это потому, что в розетке у Вас появиться одноименная фаза на обоих зажимах. Сейчас мы расскажем, чем вызвано появление так называемой второй фазы.
От Вашего вводного щитка ток проходит по фазному проводу, а так как большинство потребителей электроэнергии постоянно подключены к сети (та же люстра), при обрыве напряжение перейдет от фазы к нулю. Результат – в двух отверстиях розетки будет присутствовать электрический ток. Но это еще не самое страшное, т.к. главная опасность заключается в том, что удар током может произойти от любой техники. Причина этому – неправильная система заземления сети в квартире либо доме. Если Вы подключите «землю» в распределительном щитке к нулевой шине (чего делать нельзя), при прикосновении к заземленному корпусу бытовой техники Вас сразу же ударит током. Последствия, как Вы понимаете, могут быть плачевными. Сразу же предоставляем к Вашему вниманию правильный вариант защиты от обрыва нуля в доме — сеть с системой заземления TN-S:
Подведя итог по поводу последствий обрыва нуля в трехфазной и однофазной сети, следует отметить следующее: при повреждении нулевого провода на стояке подъезда опасность распространиться на бытовую технику, а при повреждении рабочего нуля в самой квартире угроза распространится на Вас.
Увидеть, что может произойти, если оборвется нулевая жила, Вы можете на данном видео:
Наглядный обзор неисправности
Что размыкает выключатель — фазу или ноль? | Полезные статьи
Вопрос возникает сам собой и чаще тогда, когда производится монтаж проводки своими собственными силами. Для опытных монтажников все очевидно и делают это они на «автомате». Естественно, надо понимать, что размыкаться будет тот провод выключателем, что будет подведен к нему из распаечной коробки. А значит, самое главное соединение находится именно в ней. В этой статье мы поэтапно разберемся, как правильнее выполнить подключение выключателя в осветительной сети.
А что же такое выключатель по своему назначению? Очень просто. По ГОСТ в части выключателей для бытовых электроустановок – это устройство для выключения либо отключения тока в одной или нескольких цепях. Применяются они в цепях осветительных устройств, в цепях с активной нагрузкой с коэффициентом мощности не менее 0,95 и др.
Сначала посмотрим, что говорят о том, как подключить выключатель в цепях электроосвещения, производители электроустановочных изделий, на примере производителей Legrand и IEK.
Как видно из рисунков, в соответствующих разделах заводской документации на выключатели вообще никак не оговаривается, подключение каких именно проводников (фаза или ноль) разрешено к зажимам.
Если разобраться в сути процесса, то при любом варианте реализованной схемы освещение будет работать, хоть выключатель размыкает ноль, хоть фазу. Главное то, что есть цепь для протекания тока. Цепь рвется, пути для протекания тока нет – свет гаснет, а при включении, когда цепь замыкается – свет загорается.
Но, тем не менее, есть существенный и основополагающий недостаток, в случае если рвется ноль на выключателе.
Это – электробезопасность. Хоть и собранная система работоспособна, но получается так, что на одном из контактов светильника при отключении выключателя остается фаза. Фаза подключена к этому контакту напрямую от распаечной коробки и отключить ее локально невозможно. При замене, например, лампочки, есть неиллюзорная вероятность получить удар током в результате случайного прикосновения к этому контакту. Да и в целом снижается удобство эксплуатации домашних электросетей.
При замене или ремонте светильника придется отключать электропитание во всей квартире или части помещений, смотря как собрана группа электроприемников на автоматический выключатель в квартирном щитке. Да и удар током можно получить при отключенном выключателе, просто коснувшись корпуса светильника, если тот выполнен из металла. Причиной этому может быть нарушение изоляции этого самого фазного провода.
А что нам говорит нормативная документация? Так в п. 6.6.28. ПУЭ сказано, что в трех- или двухпроводных однофазных линиях сетей с заземленной нейтралью могут применяться однополюсные выключатели, которые при этом должны быть установлены в цепи ФАЗНОГО провода.
Также, в случае применения современных светодиодных светильников ненадлежащего качества или «уставших» от продолжительной эксплуатации, можно увидеть такое явление, как «мерцание». Явление это, как следствие, связано скорее всего с постоянным подключением фазы на светильник
Резюмируя вышесказанное, можно без всяких оговорок и допущений утверждать, что разрываться должна только фаза на выключателе. Для этого из распаечной коробки на один контакт выключателя подается фаза от общего фазного проводника, а на второй провод от фазного контакта светильника. Соответственно, на второй контакт светильника подается «постоянный» ноль.
Только в этом случае будут обеспечены необходимые нам удобство и безопасная эксплуатация домашних электрических сетей.
Схема подключения электроплиты – особенности и правила однофазного и трехфазного подключения к сети
Оборудование, работающее на электричестве, получило широкое распространение в наших домах. Простота эксплуатации и качественная, надежная работа современных моделей делает целесообразным установку электроплиты даже в домах с централизованным газоснабжением. Компактность и широкие возможности установленных вместе или отдельно ее составных частей – варочной панели и духового шкафа – позволяет использовать такое оборудование как в самых маленьких кухонных помещениях, так и на просторных домашних и профессиональных кухнях.
Особенности подключения современных электроплит
Электрическое подключение плиты предполагает наличие качественной проводки, способной выдерживать ежедневные высокие нагрузки, и надежных автоматических устройств защиты.
Обычно производители указывают параметры работы и схему электрического подключения в инструкции или на задней стенке бытового прибора. Новые модификации электроплит в большинстве случаев поставляются без соединительного шнура и предполагают подключение через клеммную коробку. Это объясняется разными требованиями к подключению и вниманием к безопасной эксплуатации. Поэтому важное значение в процессе инсталляции будет иметь правильный выбор кабеля нужного сечения и всех остальных элементов.
Схема подключения к однофазной сети 220 В
В большинстве городских квартир и частных домах бытовая электросеть рассчитана на напряжение 220В. Поэтому схема, собираемая на заводе, теоретически предполагает именно эти параметры сети.
В клеммной коробке 1-3 контакты уже соединены перемычкой и фаза подключается на один из них. К 4-5 контакту, также соединенных между собой, подсоединяют нулевой провод. На оставшийся контакт с маркировкой «заземление» подключается соответствующий провод.
По существующим правилам каждый из проводов в кабеле окрашен разным цветом: ноль – синий, земля – желтый или зеленый, фаза – коричневый, черный или красный. Для того, чтобы избежать неправильного подсоединения специалисты рекомендуют всегда проверять, на каком проводе они находятся независимо от цвета изоляции. При однофазном подключении, если перепутать фазу и ноль, ничего страшного не случится. Но если один из этих проводов подключить на заземление может произойти короткое замыкание.
Схема подключения к трехфазной сети 380 В
При наличии в доме трехфазного электроснабжения, от силового щита необходимо подвести 5-ти жильный медный кабель. В клеммной коробке нужно демонтировать заводские перемычки и все три фазы подключить на соответствующие контакты.
Если плита подключается через розетку, то для бытовой сети понадобится вилка и розетка с тремя контактами, а для трехфазной – с пятью. Провод тоже, соответственно, должен быть трехжильный и пятижильный. Его сечение определяется в зависимости от предполагаемой нагрузки (4- 6 мм2). Вести проводку можно открытым и закрытым способом. В первом случае он укладывается в гофрированные трубки или кабель-каналы, во втором – в штробу, которая потом заделывается цементным раствором. Более надежным считается закрытое подсоединение через клеммник, особенно в тех случаях, когда необходимо подключить встраиваемую электроплиту.
Очень коротко об очень важном, или моя азбука электропитания.

- Статьи
- Источники питания
- Очень коротко об очень важном, или моя азбука электропитания.
Часть 1
Попов Александр
В своем стремительном развитии рынок ТСБ все больше и больше «рвется в облака» в переносном, а теперь уже и в прямом смысле. Мы говорим об инновационных технологиях сжатия потока видеоданных, о волшебных функциях видеоаналитики, преимуществах IP и о других сложных вещах. И все больше и больше мы отрываемся от нашей грешной земли, то есть перестаем обращать первостепенное внимание на фундаментальные вещи, без учета которых любые уникальные технологии могут быть обречены на полный провал. Это показывает и наш опыт постоянного общения с клиентами, и анализ причин отказов нашего оборудования в уже работающих системах. Да и просто беседы с молодыми коллегами по рынку заставляют сделать вывод, что ситуация с базовыми знаниями становится все хуже и хуже. На то они и базовые, оттого и входят в курс обязательного пока еще среднего образования, что актуальны в очень многих сферах нашей жизни, не ограничиваясь рамками технической системы безопасности.
Какой бы умный дом мы ни рассматривали, перед тем, как этот дом станет умным, его нужно сначала построить. А перед возведением стен необходимо в полном объеме построить так называемый нулевой цикл. Потому что любые просчеты и недоделки в нулевом цикле неизбежно скажутся на процессе эксплуатации этого самого дома во всем временном периоде, а то и приведут к досрочному окончанию такой эксплуатации. А до «ума» дело может и вовсе не дойти. И занимает такой нулевой цикл в строительстве не менее 40% общей сметы, о чем очень хорошо знает любой строитель.
В системах безопасности такой нулевой цикл тоже есть и требует к себе не меньшего уважения и необходимого вложения средств. И в своих информационных материалах мы очень много внимания уделяли и уделяем именно вопросам «нулевого цикла» систем. Это и вопросы грамотного заземления, и вопросы наводок на длинные линии, и вопросы возникновения опасных наведенных напряжений в линиях. Но, оказывается, мы нигде не говорили о, пожалуй, самом «приземленном» вопросе -вопросе нашего обычного внешнего питания 220 В.
Для всех для нас, вероятно, он стал чем-то само собой разумеющимся. Есть розетка, в которую воткнул вилку, и все работает.
Между тем, наша практика как фирмы производителя показывает, что основная причина отказов аппаратуры в системах состоит именно в проблемах с линиями внешнего питания. А теперь признайтесь, много ли кто из вас, уважаемые инсталляторы, перед работой над проектом поинтересовался состоянием электроснабжения оснащаемого вами объекта? Конечно, самый простой путь -решить вопрос формально. Мы же -«слаботочники», высокое напряжение -это дело главного энергетика объекта. И мы с чистой совестью пишем в техническом задании:«Заказчик обеспечивает подключение аппаратуры в сеть ~220 В +10/-15%, 50 Гц». Лично сам эту фразу писал десятки раз. И если случится выход из строя аппаратуры, а то и всей системы, по причине того, что внешнее электропитание не укладывается в «го-стовские» рамки, лично вашей вины тут нет. Ну и конечно, ремонт не будет признан гарантийным.
Тем не менее, представлять, какие угрозы для системы могут исходить от системы внешнего электропитания и каковы причины их возникновения, всегда крайне полезно.
Ну, и будет совсем здорово, если в рамках системы безопасности мы сможем принять необходимые меры для защиты от этих угроз или хотя бы для минимизации возможных потерь. Поэтому знания лишними не будут, пригодятся они и просто в повседневной жизни.
Вот и давайте вспоминать, чему нас учили в школе, применительно к нашим задачам. В электротехнические дебри не полезем. Только необходимый минимум.
Если мы рассматриваем более-менее серьезный объект, а не отдельную квартиру в многоэтажном доме, мы имеем дело, как правило, с трехфазной системой электропитания. Даже у меня на садовом участке организована такая система электропитания для распределения мощностей и экономии на толщине силового магистрального кабеля, а проще – чтобы не сгореть.
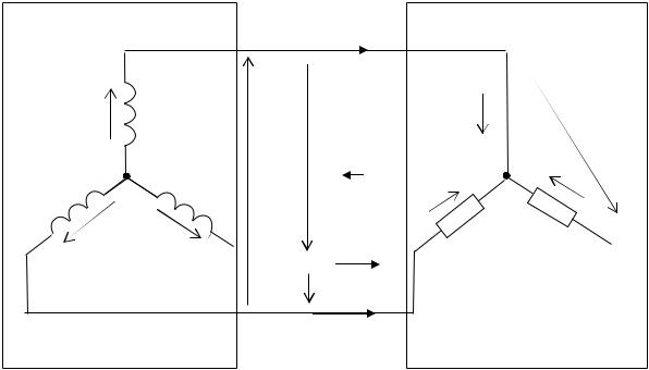
Простейшая схема соединения трехфазной цепи представлена на рисунке 1.
Где-то установлен генератор, на обмотках которого наводится ЭДС. Концы обмоток соединены в общую точку. Такое соединение называется звездой.
С такой схемой соединения мы и имеем дело и на наших объектах, и у себя дома. Генератор наш носит условный характер. В действительности мы получаем электропитание не напрямую с генератора какой-нибудь АЭС или ГЭС, а через отдельные высоковольтные системы передачи, через трансформаторные подстанции. Но для понимания вопроса на уровне потребителя – это не важно. Провод, соединяющий другой конец обмотки с потребителем, называется линейным (или линией). Обозначается L – L1, L2, L3. Провод, соединяющий общую точку обмоток с потребителем, называется нейтралью – N. При четырехпроводной схеме подключения, с которой нам и приходится иметь дело, имеем три линейных провода (L1, L2, L3) и один провод нейтрали N.
Напряжение между линейным проводом (линией) и нейтралью называется фазным (Uф1, Uф2, Uф3). В силу природы своего происхождения фазные напряжения по всем трем фазам смещены друг относительно друга на фазовый сдвиг 120 градусов. Если нагрузки, подключаемые между каждой линией и нейтралью одинаковые, то векторная сумма одинаковых в этом случае по величине напряжений равна нулю, то есть разница потенциалов между нейтралью и землей равна нулю.
Поэтому нейтраль еще называют нулевым проводом. Вот и говорим, что в сетевой розетке имеем ноль и фазу. Фазное напряжение у нас по ГОСТу должно составлять 220 В +10/-15%, 50 Гц. Кстати, в розетке «фаза» должна располагаться справа все по тому же ГОСТу. Так должно быть! Но если б так было всегда, надобности бы в этой статье не было.
Линейным напряжение называется напряжение между проводами линий – U1-2, U1-3, U2-3.
При соединении звездой при симметричной нагрузке:
Вот эту формулу стоит запомнить. То есть, если при симметричной нагрузке имеем фазное напряжение 220 В, то напряжение между двумя линиями фаз составит 380 В.
Теоретические воспоминания на этом будем считать законченными. А теперь рассмотрим, с чем можно в реальности столкнуться в системах электроснабжения, и как это может повлиять на работу нашего оборудования.
ОБРЫВ ЛИНЕЙНОГО ПРОВОДА
Самые частые и рядовые безобразия – обрыв линейного провода. Имеется в виду не обрыв в самом бытовом понимании, который бывает достаточно редко, а разрыв линии автоматическими выключателями.
Дело в том, что мы далеко не единственные потребители, питающиеся от какой-то конкретной линии. И наше оборудование потребляет совершенно определенный ток, и другое, подключенное к этой же линии оборудование, о котором мы можем даже не догадываться. Может случиться какое-то дополнительное нештатное подключение. Как только сумма потребляемых токов некоего участка линии превысит допустимую величину, в грамотно построенной линии происходит отключение участка автоматическим выключателем. В неграмотно построенной линии может произойти физическое разрушение провода линии, его перегорание, а то и возникновение пожара. В любом случае линия питания обрывается. Для нашей системы последствия самые легко переносимые – просто отключается вся аппаратура, подключенная к данной линии питания. При восстановлении линии восстанавливается и питание – все снова включается. Для подобных случаев первостепенное внимание следует уделить аппаратуре, работающей в условиях активной климатической защиты, -работоспособность которой обеспечивается специальной аппаратурой обогрева и термостабилизации, и включение питания в условиях низких температур способно вывести технику из строя.
Необходимо обеспечить функцию так называемого холодного запуска, смысл которой состоит в том, что питание на собственно теплолюбивую аппаратуру подается только по достижении допустимой рабочей температуры. Функция эта сегодня идет как обязательная опция в абсолютном большинстве оборудования климатической защиты. Другое дело, как такие перебои с питанием повлияют на конечную пользовательскую задачу -собственно безопасность. Объект может остаться на период отключения без систем сигнализации, без видеоконтроля, могут быть потеряны какие-то данные как на период отключения, так и в следствие его, и т.д., и т.п. В каждом конкретном случае это будут свои риски, требующие, принятия и конкретных организационных мер. Но это уже не входит в круг технических задач, и рассматривать мы их не будем в рамках этой статьи. А к техническим мерам относится, конечно, устройство резервной схемы питания, о чем поговорим позже. Но, в общем-то, повторюсь, что ничего особо страшного при обрыве линии питания для системы не происходит.
Как в нашей повседневной жизни – посидели при фонарике и без телевизора. Возобновилось питание – ну, пришлось снова настроить телевизор на нужную программу. Тем дело и заканчивается. Хуже, когда обрывается линия питания систем жизнеобеспечения. Но страшного тоже ничего не произойдет, если изначально предусмотрена такая возможность и есть системы резервирования. Главное – не забывать, что такое когда-нибудь может случиться, тем более, что случается, и довольно часто.
ОБРЫВ НЕЙТРАЛИ
А вот обрыв нейтрали, в отличие от обрыва линии, заслуживает отдельного рассмотрения. Случается, к счастью, значительно реже, поскольку причинами такого безобразия выступает в основном человеческая безграмотность. Зато и последствия могут быть намного серьезней.
Рассмотрим самую простую схему – рисунок 2.
В общем случае на объекте линий фаз три. Каждая линия однофазного питания образуется из одной линии фаз и линии нейтрали. То есть, для каждой линии однофазного питания есть своя линия фазы, а вот линия нейтрали одна единственная на все.
Естественно, линия эта имеет многочисленные разветвления на всевозможных нулевых шинах, но все «нули» розеток электрически соединены между собой. Пусть для подключения нашего потребителя (Рпотр.) мы взяли линию L1 и линию нейтрали. Абсолютно любое устройство, подключаемое к другим линиям, в качестве линии нейтрали будет иметь ту же, что и наш потребитель. Ток пойдет через наш потребитель по маршруту А-В-С и по линии наименьшего сопротивления по линии нейтрали к точке D. К какой-то другой линии L2 подключена другая нагрузка (о которой мы ничего не знаем) – Рнагр. Через нее ток пойдет по маршруту G-F-E-D. Через наш потребитель Рпотр. ток не пойдет, так как он всегда пойдет по линии наименьшего сопротивления. Теперь представим, что линия нейтрали оборвана где-нибудь по линии m. Цепь питания замкнется по маршруту A-B-C-E-F-G, то есть наш потребитель окажется включенным не между фазой и нейтралью, а между двумя линиями фаз. Напряжение на нем резко возрастет и в зависимости от нагрузки в другой линии может достигнуть максимального значения линейного напряжения, т.
е. 380 В.
Мы рассмотрели ситуацию с двумя линиями фаз и нейтралью. Когда на объекте присутствуют все три фазы, напряжение в третьей линии также через своих потребителей попадает на нашу линию. И результирующее напряжение может оказаться еще больше. Результат будет еще опасней.
В большинстве случаев, в зависимости от чувствительности самого потребителя к подобным броскам напряжения и длительности такого высоковольтного воздействия, это приводит к выходу аппаратуры из строя, а то и является причиной возгорания в линиях питания со всеми возможными вытекающими последствиями.
Если у вас дома вдруг лампочки засияли солнечным светом, немедленно отключайте все линии на силовом щитке, а потом уже разбирайтесь с причиной этой аномалии. Скорее всего, вместо фазного у вас в розетках появилось линейное напряжение. После восстановления нормального питающего напряжения будете подсчитывать убытки. В первую очередь пострадает, скорее всего, всякая аппаратура автоматики, блоки питания электроники, а то и сами телевизоры, домашние кинотеатры, музыкальные центры.
В последнюю очередь – всевозможная нагревательная техника – бойлеры, электрокотлы, а также холодильники. Хотя автоматика управления теми же котлами может выйти из строя в числе первых. Все это из личного опыта.
Приходилось слышать мнение, что от подобных бросков напряжения спасает автоматический выключатель в линии. Не спасает! Во-первых, он не для этого предназначен. Прежде всего, он спасает линию от превышения допустимого для линии (а не для аппаратуры, в ней установленной) тока, поскольку такое превышение грозит опасным нагревом провода, разрушением изоляции, возгоранием. Во-вторых, опасное напряжение на отдельном устройстве, способное даже полностью вывести аппаратуру из строя, вовсе не означает, что в линии произойдет увеличение величины тока до значения срабатывания автоматического выключателя. Можно задаться целью, посчитать, какой ток возникнет в цепи подключения каждого устройства при нижней границе опасного напряжения, для абсолютно каждого устройства ставить на входе отдельный автоматический выключатель со своим отдельно просчитанным током срабатывания.
Грубо говоря, каждая розетка будет предназначена исключительно для какого-то одного конкретного устройства, и каждая такая розетка будет иметь автомат защиты на свой определенный ток. Совершенно не реализуемый на практике вариант. И в-третьих, для защиты от подобной ситуации существуют специально для этого предназначенные устройства, о чем поговорим ниже.
Не спасет и защита от импульсных наводимых перенапряжений в линии первичного питания. Главная причина все та же – устройство защиты от импульсных перенапряжений не для этого предназначено. Природа возникновения опасного напряжения разная. При наводимых опасных напряжениях имеем очень большое по амплитуде, но крайне малое по времени воздействие. В данном случае имеем дело хоть и не с такими большими амплитудами, зато время воздействия в сравнение с наводимым импульсным напряжением можно считать просто гигантским. Даже если ситуация сразу обнаружена, и мы со всех ног помчались выключать автоматы на входе, сравнивать время нашей реакции придется с микросекундами.
На такое гигантское время аппаратура защиты от импульсных перенапряжений просто не рассчитана. Сработает защита варисто-ра от перегрева, которая отключит саму аппаратуру от линии. Причем восстановление аппаратуры в рабочее состояние потребует фактически его ремонта. Но самое главное, что защита от импульсных перенапряжений включается в линию питания параллельно, отводя на землю опасный потенциал с линии. При ее отключении, которое неминуемо произойдет во время длительного воздействия, линия питания не разорвется – все опасное высокое напряжение окажется поданым на все потребители. То есть, одни потери -ничего не защитили, а аппаратуру защиты от импульсных перенапряжений неминуемо вывели из строя.
Каковы могут быть причины обрыва нейтрали? Может быть обрыв в самом буквальном смысле. Хотя и с наименьшей вероятностью. Если имеем дело с воздушными линиями, провод нейтрали в силу своей безопасности с точки зрения поражения электрическим током располагается самым нижним на подвесах столбов.
Соответственно, этот провод рвется первым, если, например, под линией электропередач пытается проехать какая-нибудь крупногабаритная техника. Гораздо чаще происходят более банальные вещи. А именно, отгорание нейтрали (или нулевого провода). Горят провода не от напряжения, а от тока, по ним проходящего. Напряжение сварочного агрегата составляет 12 V. Зато сварочный ток составляет 120-150 А. Мощность, выделяемая на проводнике в виде тепла, пропорциональна его сопротивлению и квадрату силы тока. С увеличением силы тока, например в 2 раза, мощность, выделяемая в виде тепла, увеличивается в 4 раза. И линейно увеличивается с увеличением сопротивления.
Количество теплоты, выделяемое проводником, определяется законом Джоу-ля-Ленца:
Q = I2 х R х t, где t – время, в течение которого по проводнику протекал ток.
Еще одна фундаментальная формула из школьного курса:
р – удельное сопротивление проводника (зависит исключительно от материала, из которого проводник изготовлен).
L – длина проводника.
S – площадь сечения.
Таким образом, с увеличением диаметра проводника, например в 2 раза, сопротивление его уменьшится в 4 раза. И наоборот.
Как показал мой опыт общения с представителями нашего рынка, далеко не пустое множество тех, кто считает, что чем толще проводник, тем сопротивление его больше. Это очень опасное (в том числе для жизни и здоровья) заблуждение.
В общем, не случайно в электроплитке можем наблюдать в качестве нагревательного элемента очень тонкую спираль. Спираль – чтобы максимально увеличить сопротивление за счет длины проводника, а за счет выбора материала (нихром), который способен держать очень высокие температуры, не разрушаясь, максимально уменьшена его толщина. Таким образом, обеспечивается максимально возможный нагрев. В наших линиях нагрев – это прямая угроза возгорания.
В действительности монтажная схема электропитания на объекте очень далека от представленной на рисунке 2. Четыре провода только заходят от общей магистрали.
Далее устанавливаются контактные шины и на провод нейтрали (нулевая шина), и на линии фаз, и уже по однофазным потребителям линии разводятся двужильными кабелями, один провод которых подключается к фазовой шине, а другой к нулевой. И замыкается цепь между фазами при обрыве нейтрали через потребители на нулевой шине. Если обрыв происходит после нулевой шины, естественно, межфазная цепь не замкнется. Максимально все упростив, представим схему разводки однофазного питания на рисунке 3. Рассмотрим только две линии фаз -для понимания этого достаточно.
В первой однофазной цепи (между первой фазой и нейтралью) включена нагрузка R1, через которую проходит ток I1. Во второй цепи через нагрузку R2 проходит соответственно ток I2. И пусть это совершенно рабочие, безопасные для своих цепей токи, не вызывающие срабатывание защитных автоматических выключателей в линиях фаз. Однако на участке общего нулевого провода А-В (общей нейтрали) проходящий по ней ток представляет собой уже сумму токов первой и второй однофазных цепей.
А в действительности, при подводящем трехфазном питании это будет уже сумма токов всех трех однофазных цепей. И нередко об этом забывают. Количество потребителей, подключаемых в сети питания, со временем может увеличиваться. Потребляемая мощность их может расти. Соответственно, увеличиваются токи, проходящие в однофазных линиях. Вполне возможно, что со временем меняются защитные автоматы на входе линий, поскольку сечение кабелей линий это допускают. Срабатывание защиты не происходит. Однако забывают, что нулевой провод общего участка нейтрали должен быть рассчитан на общий суммарный ток по всем трем фазам. В результате, этот провод может не выдержать нагрузки и отгореть. Чаще всего это происходит в местах клеммных соединений, поскольку площадь контакта в таких соединениях часто бывает меньше площади поверхности всего проводника, соответственно сопротивление проводника в этом месте будет еще больше, больше выделяемое тепло, значит, самое слабое звено для теплового разрушения.
Бывают, что о заведомо больших токах в общей нейтрали не задумываются изначально.
А именно, посчитали суммарную мощность всех потребителей по каждой фазе, определили, исходя из этого, максимальные токи и, исходя из этого, выбрали четырехжильный кабель подключения с сечением проводов, соответствующим этим токам. Один из проводов этого че-тырехжильного кабеля задействовали в качестве провода нейтрали. И получили, что по этому проводу течет ток, намного превышающий допустимую величину для данного сечения. В лучшем случае этот провод начинает ощутимо греться, тратя электроэнергию на бесплатный обогрев атмосферы. А в худшем – отгорание проводника с подачей разрушающего для подключенной аппаратуры напряжения, с выходом из-за этого самой аппаратуры из строя, а то и причина пожара на объекте.
Вывод – при выборе нулевого провода подключения (до нулевой шины от источника трехфазного напряжения) необходимо выбирать провод, сечение которого безопасно обеспечивает прохождение по нему тока, равного суммарному максимальному току по всем однофазным линиям. Ну, а поскольку нулевой провод подключения, как правило, используется, как один из проводов многожильного кабеля, под максимальный суммарный ток выбирается весь кабель.
Так, если у меня в доме по линиям установлены на входе автоматические выключатели на 25 А (то есть, более 25 А ток в каждой линии быть не может), то подводящий к дому кабель взят 4хб мм2. А далее однофазные линии выполнены двужильными кабелями в основном 2х2,5 мм2.
Часть 2
Сегодня вы можете ознакомиться со второй частью статьи, посвященной угрозам для систем безопасности, которые исходят от системы внешнего электропитания. В первой части мы начали знакомство с причинами их возникновения и мерами, которые необходимо принять для защиты или минимизации потерь. Как обычно, статья построена на том, чему нас учили в школе, применительно к нашим задачам. В электротехнические дебри не полезем. Только необходимый минимум.
В предыдущей статье мы рассматривали такие угрозы как обрыв линейного провода и обрыв нейтрали.Еще одна, достаточно типовая причина обрыва нейтрали полностью соответствует пословице – «Хотели, как лучше, а получили хуже!» Да, на входе не только линий трехфазного напряжения, но и на ответственных однофазных ответвлениях всегда надо устанавливать автоматические выключатели после шин разветвления, которые отключат линию при превышении величины тока выше допустимого.
Как мы уже объясняли – именно от тока случаются пожары, и именно ток убивает. Все вы, наверное, сталкивались с коротким замыканием в цепи, когда величина тока стремится к бесконечности (сопротивление стремится к нулю). Источник возможного возгорания более чем очевиден. Простая чрезмерная перегрузка линии потребителями ведет к увеличению тока, что в свою очередь может привести к опасному перегреву провода. Автоматические выключатели не позволят нагружать линии более дозволенного, отключив ее при максимально допустимой величине тока, а также мгновенно отключат линию в случае короткого замыкания, не дав тепловому воздействию длиться в течение опасного для возгорания времени.
Проникшись важностью установки автоматических выключателей на входе линий трехфазного питания, отдельные горе-монтажники-электрики устанавливают автоматические выключатели и на линию нейтрали (см. рис. 1: на этом моменте акцентировано внимание зачеркиванием жирными красными полосами такого решения). И главная беда подобных типовых ошибок – на нейтраль устанавливают точно такой же автоматический выключатель, что и на линии фаз.
И, обратившись к рассуждениям, изложенным выше, нетрудно получить, что срабатывание такого автомата и отключение линии нейтрали может произойти даже тогда, когда нагрузка по линиям не превысит и половины от максимально допустимой. То есть, все линии находятся в рабочих и безопасных режимах, тем не менее, происходит срабатывание автомата в линии нейтрали со всеми вытекающими последствиями, изложенными выше. Все отказы и беды, которые могут возникнуть – результат исключительно неграмотного построения системы электропитания. А главное, установка автоматического выключателя даже на общий суммарный ток, если таковой все же удастся найти, абсолютно не имеет смысла. Если в какой-то линии нагрузка превысит допустимую, то сработает автомат в линии фазы. Если же он по какой-то причине не сработает, то рассматривать автомат в нейтрали, как дублирующий, все равно нельзя. Поскольку превышение допустимого тока только в одной из них к его отключению не приведет. Зато постоянно останется угроза, что линия нуля может быть легко разорвана путем принудительного отключения этого автоматического выключателя.
Например, при необходимости обесточить какую-то линию, автоматические выключатели можно перепутать. Или, при необходимости отключить все питание, автоматический выключатель нейтрали окажется не самым последним в последовательности отключений (можно с него начать и благополучно обеспечить тем самым подачу межфазного напряжения в линию до момента отключения автомата фазной линии).
Рис. 1
Но, повторюсь, такие «шедевры монтажа», хотя и случаются не так уж и редко, но до систем нашего рынка обычно не доходят. Это объясняется тем, что отказы, связанные с этими причинами, проявляются буквально сразу с подключением системы электропитания, и к моменту установки на объекте ТСБ люди успевают «схватиться за голову» и навести порядок. Но знать об этом стоит, хотя бы для того, чтобы самим не делать таких «ляпов», например, на своих дачных участках.
Гораздо чаще встречается более банальная, но от этого не менее опасная ситуация – электрик при выполнении каких-то своих плановых или внеплановых работ «просто» путает при коммутации провода нейтрали и одной из фаз.
Лично неоднократно сталкивался с подобными явлениями. Как-то поехал на объект выяснять причину отказа видеокамеры. Причина оказалась очевидной в буквальном смысле – в снегу догорал пламенем электрощиток с установленным в нем блоком питания этой самой камеры. Оказалось, что сварщики, подключая свое трехфазное оборудование, в конце концов поменяли на шинах фазный и нулевой провода местами. А еще приходилось слышать от электриков оправдание, что, прокладывая воздушную трехфазную сеть по столбам, они в листве деревьев не заметили, провода перехлестнулись. Провода, конечно, перехлестнуться могут. Но перед подачей напряжения все ж необходимо проверить правильность своего монтажа при помощи хотя бы простейшего тестера. А вот это, к сожалению, делается все реже. Соответственно, мы должны быть всегда готовы к возможным последствиям. А последствия будут все те же. На однофазных линиях, в которых задействованы две другие фазы, вместо напряжения 220 В появится межфазное напряжение 380 В, поскольку таким это напряжение и окажется – линейным.
На все эти причины мы с вами повлиять никак не можем. Не мы строили всю систему электропитания объекта. Часто становится проблемой даже найти автомат отключения выделенной на систему линии. Ну, а уж что творится в дебрях «человеческого фактора», и вовсе никому не ведомо. Но мы можем и должны бороться с нежелательными для системы безопасности последствиями. И для всех вышеописанных случаев возникновения опасного постоянно действующего напряжения на линии, единственное эффективное действие -своевременное отключение всей линии питания нашего оборудования. Технически это решается довольно просто -в начале нашей однофазной линии питания (до первого прибора системы) устанавливается автоматический ограничитель напряжений. Стандартное устройство, рассчитанное на определенное напряжение (при превышении допустимого тока линию отключит автоматический выключатель), включаемое в линию питания. На самом устройстве устанавливается максимально допустимое напряжение, а также минимально допустимое.
Если входящее питающее напряжение выходит за эти установленные границы, ограничитель напряжений отключает линию от общей системы электропитания. При восстановлении напряжения в допустимых пределах вновь происходит автоматическое подключение линии. Как правило, устанавливается еще временной интервал, через который должно происходить включение после восстановления допустимой величины входного напряжения. Ничего страшного произойти не должно, если предусмотрены индивидуальные особенности подобных ситуаций. Например, наличие функции «холодного запуска» для «теплолюбивой» аппаратуры. Но без резервирования питания на время всевозможных таких безобразий в любом случае остаемся без системы безопасности.
ПЕРЕКОС ФАЗ
И последнее, не просто типовое, а массовое безобразие, с которым приходится сталкиваться в системах электроснабжения, – это явление носит название перекоса фаз. Более того, если говорить о каких-то загородных объектах, то пока с этим безобразием приходится сталкиваться намного чаще, чем с его отсутствием. Возникать оно может в абсолютно любой момент и не поддается никаким прогнозам.
Рис. 2
На рисунке 2 синим цветом представлена идеальная ситуация, когда нагрузки во всех трех фазах равны. Соответственно, равны и напряжения в фазах – U1 = U2 = U3. А поскольку напряжения смещены относительно друг друга на угол 120 градусов, их векторная сумма в точке О равна нулю. То есть, на нейтрали никакого потенциала относительно земли нет. В действительности так практически никогда не бывает. Просто физически невозможно нагрузить все фазы одинаково. Да и момент включения всех нагрузок не совпадает. Таким образом, при неравенстве нагрузок по линиям напряжения в этих линиях нагрузки также не равны по величине (представлены красным цветом на рисунке 2), и их векторная сумма не равна нулю, а равна некоему вектору, называемому напряжением смещения Uсмещ.На нейтрали появляется потенциал относительно земли. Вот в этом и состоит суть перекоса фаз.
Поскольку добиться одинаковой нагрузки по всем фазам в любой момент времени невозможно физически, и установлен ГОСТ на допустимый разброс напряжений в линиях однофазной цепи – 220 В +/- 10-15%.
В действительности этот разброс может значительно превышать установленные ГОСТом границы. Особенно «ярко» можно наблюдать это явление в трехфазных сетях, проложенных по воздушным линиям электропередач. В основном это, конечно, относится к загородным объектам. Объяснение тут более чем простое – подключая тот или иной объект к однофазной линии, местному электрику всегда проще залезать на столб до первого линейного провода. И нулевой провод рядом. Можно даже, соблюдая профессиональную осторожность, выполнить подключение, не отключая всю магистраль. При необходимости подключиться к другим линиям это будет связано с очень большим риском. В чем, в общем, легко убедиться, проезжая по территории практически любого садоводства.
Но на промышленных объектах значительные перекосы фаз также имеют место. Например, из-за подключения мощного однофазного оборудования и разницы таких подключений во времени по разным фазам.
В результате перекоса фаз напряжение в однофазных сетях может иметь очень большой разброс по величине.
Вместо расчетных 220 В – и 140 В, и 260 В. Важно это осознавать и учитывать, чем такие колебания могут грозить системам безопасности. На сегодняшний день очень большой перечень аппаратуры имеет на входе импульсный блок питания, а непосредственно сама аппаратура питается уже вторичным напряжением с него. Выпускаемые отдельными изделиями блоки питания для нашего рынка (например, для питания видеокамер) тоже сегодня в основной своей массе импульсные. Главное преимущество импульсного блока питания – его очень широкий допустимый разброс входных напряжений. При этом на выходе в линию вторичного питания он выдает номинальное свое напряжение.
Лирическое отступление. Еще лет двадцать назад покупка цветного телевизора для загородного дома автоматически требовала покупки стабилизатора напряжений. Именно из-за очень большого разброса питающего напряжения в сети, поскольку блок питания в тех уже ретро-телевизорах стоял трансформаторный (любые колебания входного напряжения автоматически влекли колебания напряжения со вторичной обмотки, и при большой амплитуде таких входных напряжений телевизор переставал устойчиво работать, а то и выходил из строя по причине недопустимо высоких первичных из сети, а следом и вторичных напряжений).
Сегодня телевизор в загородном доме, пожалуй, один из самых невосприимчивых к колебаниям напряжений приборов. В отличие от насосов, электрокотлов отопления, холодильников. Как раз по причине наличия в нем импульсного блока питания. Если посмотреть в паспорт, в нем вы увидите этот допустимый разброс, который существенно больше допускаемого ГОСТом.
Тем не менее, и этот допускаемый разброс для импульсного блока питания отнюдь не бесконечен. Возможно, что реально происходящий разброс и превосходит допустимый.
А вот для нагревательных элементов аппаратуры климатической защиты (в том числе и для гермобоксов видеокамер, обогрев которых организован напрямую от сети 220 В) такой разброс может оказаться очень ощутимым. Особенно при существенном уменьшении внешнего питающего напряжения.
Кроме того, система безопасности может иметь в своем составе и всевозможные исполнительные механизмы -например, приводы ворот и шлагбаумов, для которых чрезмерное понижение или повышение входного напряжения может оказаться критическим.
Есть стандартный метод «борьбы» с перекосом фаз. Точнее, не с перекосом фаз, а с чрезмерными колебаниями напряжений питающей сети, возникающими вследствие этого. Выход – включение на входе в цепь питания стабилизатора напряжений. Схему работы стабилизатора здесь разбирать не будем, хотя ничего особо сложного в ней нет. Вот стабилизатор уже выдаст нам в сеть напряжение в соответствии с ГО-СТом. Даже несколько сузит «гостовский диапазон» – примерно 220 В +/- 8% (в зависимости от конкретной модели). При этом необходимо подсчитать максимальную суммарную мощность потребления всей нашей сети и в соответствии с этим параметром выбрать стабилизатор. Далее, подключить входную линию питания (ноль и фазу), а с выхода уже строить систему питания нашей системы. Однако при выборе стабилизатора по мощности следует учесть, что на нижнем пределе допустимых входных напряжений выдаваемая на выходе мощность будет составлять не максимальную, написанную, как правило, не только в паспорте, но и на лицевой стенке корпуса прибора, а процентов 60-70 от нее.
То есть, если максимальная потребляемая системой мощность составляет, например, 5 кВт, минимально возможное напряжение в сети составляет 130 В и такое же минимальное допустимое входное напряжение указано в паспорте стабилизатора, приобретать стабилизатор надо не на 5 кВт, а на 8 кВт.
Хочу вас огорчить, но за пределами допустимого разброса входных напряжений и стабилизатор не будет нормально работать. А при превышении максимально допустимого входного напряжения он может просто сгореть. Мы с вами, как отметили выше, никогда не знаем наперед этот самый фактически возможный разброс. Значит, надо его создать в соответствии с допустимым разбросом, с которым справится стабилизатор. А с этим с успехом справится упомянутый выше ограничитель напряжений. Тем более, он все равно актуален в схеме, поскольку описанные угрозы возникновения в цепи межфазного напряжения 380 В никуда не делись. Вот на нем выставляем верхнее и нижнее допустимые входные напряжения. Если подаваемое на вход ограничителя напряжение укладывается в этот диапазон, со стабилизатора гарантированно получим 220 В в границах даже меньших, чем требуется по ГОСТу.
Если не укладывается, произойдет отключение линии до момента подачи в цепь допустимого ограничителем напряжения.
Есть еще важный момент касательно именно наших слаботочных систем, связанный с перекосом фаз, о котором не следует забывать. А именно, напряжение смещения на проводе нейтрали в связи с вопросами заземления. Согласно отечественным нормам, допускается в целях безопасности от поражения человека электрическим током производить так называемое «зануле-ние» в силовых розетках, то есть соединение нейтрали с земляной клеммой. От поражения электрическим током в случае контакта линии с корпусом прибора и человека с этим же корпусом это действительно спасет – ток пойдет через нейтраль по линии наименьшего сопротивления. Однако, на проводе нейтрали при перекосе фаз, как мы выяснили выше, возникает напряжение смещения, которое, кстати сказать, тоже может достигать десятков вольт. Что в свою очередь представляет если не опасность для здоровья и жизни, то может быть весьма ощутимым, если замкнется цепь нейтраль-человек-земля.
Были случаи, что монтажники со стремянок даже падали.
Но гораздо очевидней другая опасность. Очень многие приборы наших систем имеют вилку с земляной клеммой, которая в свою очередь электрически соединена в самом приборе с сигнальным заземлением. И если в розетке, к которой подключен такой прибор, выполнено зануление, а в первичной сети питания имеется перекос фаз, очень велика вероятность помехи на полезный сигнал в силу наличия на сигнальной земле переменного потенциала. Практическая рекомендация – поиск возможной причины возникшей в системе помехи имеет смысл начинать с силовых розеток. Если имеется зануление, уберите его. Возможно, помеха и исчезнет.
ОРГАНИЗАЦИЯ ПИТАНИЯ СЛАБОТОЧНЫХ СИСТЕМ
И теперь в свете всего вышеизложенного можно делать выводы об организации первичного питания наших слаботочных систем.
Сюда же, не вдаваясь в физику процесса, добавим общую рекомендацию теории сигнальных цепей – все потребители одной цепи следует запитывать от одной и той же фазы трехфазной сети питания.
Конечно, не всегда это удается. Но стремиться к этому следует всегда.
Итак, оптимальным получается вариант, когда мы в одном месте подключаемся к одной фазе общей трехфазной сети и далее по всем потребителям нашей системы разводим свою собственную однофазную сеть питания.
В этом случае мы ставим в этой точке подключения автоматический выключатель на линии фазы, который отключит линию при перегрузке (в том числе, при коротком замыкании). Далее мы ставим ограничитель входных напряжений, который отключит линию питания, если входное напряжение находится за пределами допустимого диапазона для стабилизатора, устанавливаемого следом. И далее устанавливаем однофазный стабилизатор напряжения.
Все. Мы полностью защитили все оборудование нашей системы от всевозможных «чудес», которые могут происходить в сети питания, независимо от причин, по которым они возникают.
В который раз и на всякий случай остановим «горячие головы», предлагающие разводить по удаленным потребителям сразу вторичное питание.
Например, с выхода некоего мощного импульсного общего источника питания. Даже не касаясь вопросов земельных петель. И даже представив гипотетический блок питания любой требуемой мощности. В основном, с целью напомнить о необходимости всегда учитывать падение напряжения в линии.
Провод питания и потребитель, включенный в линию питания, представляют собой последовательную схему соединения: провод-потребитель-провод. Ток при последовательном соединении постоянный во всей цепи, общее напряжение на концах равно сумме напряжений на потребителях. В данном случае есть собственно потребитель, и в качестве потребителей выступают сопротивления провода в один конец (к собственно потребителю) и обратно от собственно потребителя. Ток в цепи определяется током потребления нашего собственно потребителя (паспортная величина). Тогда
Uобщ. = Uпотр. + ДельтаU, где Uобщ. – напряжение во всей цепи (на концах цепи),
Uпотр – напряжение на клеммах потребителя, Дельта U – падение напряжения на обоих проводниках (к потребителю и обратно).
В свою очередь Дельта U = Iпотр х R, где Iпотр – ток потребления, R – общее сопротивление провода (в оба конца).
Собственно потребитель потребляет не напряжение и ток, а мощность P = U х I. Соответственно, чем меньше напряжение в цепи, тем больший ток потребления. И наоборот. И в свою очередь, чем больший ток, тем большее падение напряжение AU. Таким образом, передавая вторичное напряжение, мы заведомо идем на большие потери в линии. Бесплатный обогрев атмосферы в линии увеличивается, как мы уже отмечали ранее, пропорционально квадрату силы тока. А для того, чтобы оставшегося Uпотр. = Uобщ.- Дельта U нам хватило для работы нашего оборудования, придется идти на уменьшение сопротивления, которое определяется по формуле: R = р х L/S, где р – удельное сопротивление проводника, которое зависит исключительно от материала, из которого он изготовлен, и на эту величину мы никак повлиять не можем. L -в данном случае длина проводника в оба конца (туда и обратно) – тоже величина от нас совершенно не зависящая. Остается только возможность влиять на уменьшение сопротивления за счет увеличения сечения.
Вот я и предлагаю – всегда, прежде чем принимать решение об организации централизованного для всей системы вторичного питания, сначала, исходя из тока потребления и допустимого падения напряжения, сосчитать необходимое сечение кабеля. Потом оценить стоимость всего такого необходимого кабеля, его толщину с точки зрения технологичности монтажа, вес. Уверен, что желание продолжать идти в этом направлении отпадет, если дальность трасс измеряется хотя бы несколькими сотнями метров, не говоря уже о километрах.
Просто обратите внимание – почему магистральные высоковольтные линии имеют напряжение, измеряемое в десятках киловольт, а предназначены в конце концов в основной своей массе для питания обычных рядовых потребителей. Почему перед передачей на дальние расстояния специально и за очень большие деньги устанавливаются повышающие трансформаторы, а уже в местах разводки по конечным потребителям за такие же большие деньги устанавливаются трансформаторы понижающие. Исключительно с одной единственной целью – уменьшить потери при передаче, которые равны, как мы отмечали выше, Q = I2 х R х t. Поскольку необходимо передать огромную мощность, для уменьшения потерь необходимо максимально снизить ток. Значит, максимально поднять напряжение. Ну, и снизить максимально возможно сопротивление, для чего остается все тот же единственный путь -увеличение сечения проводника. Вот оттого магистральные высоковольтные линии такие толстые.
Вывод – оптимальный путь организации питания – единая для всей системы однофазная линия 220 В. А к ней на местах уже подключается вся аппаратура систем безопасности.
Однако в реальности так бывает далеко не всегда. Бывает и вполне оправ-даное использование первичного питания, как говорят, на местах.
В этом случае все вышесказанное относительно защиты линии питания от типовых безобразий актуально для каждой точки подключения. Количество необходимого защитного оборудования будет иметь кратность количеству таких точек локального подключения.
Во всех вышеизложенных решениях защиты оборудования по сети 220 В реализация выражается в отключении линии питания. Оборудование мы спасли, но система на время отключения, естественно, не работает. А может, и на более длительный период времени.
Например, пока оборудование климатической защиты не обеспечит условия, при которых защищаемое оборудование может работать (проще, до срабатывания функции холодного запуска). Такое положение дел далеко не всегда устраивает заказчика. И встает вопрос об организации бесперебойного питания.
ОРГАНИЗАЦИЯ БЕСПЕРЕБОЙНОГО ПИТАНИЯ
На нашем рынке источники бесперебойного питания уже представлены отдельной самостоятельной нишей. Но так сложилось, что все они представляют собой источники вторичного напряжения. В то же время для полноценного функционирования всей системы необходимо обеспечить питанием в случае отключения централизованного абсолютно все активные элементы. И потребуется нам этих источников бесперебойного питания если и не по количеству всех активных элементов, то уж по количеству системных узлов, содержащих активные элементы, это точно.
При этом дальняя передача вторичного питания – вещь совершено не оправданная, а то и невозможная. Однозначно это потребует увеличения габаритов неких монтажных модулей и системы климатической защиты. Увеличение количества дополнительного оборудования и его территориальная разнесенность неизбежно усложняют обслуживание подобной техники во времени. А аккумуляторы требуют обслуживания и своевременной замены.
Самой оптимальной схемой централизованного питания 220 В из одной точки всей системы лично я считаю установку собственного генератора на 220 В необходимой мощности. Это может быть и автоматический переход на аварийное питание, и ручной. Главное -вся аппаратура резервного питания находится в одной единственной точке системы. Мы непременно выиграем в стоимости и оборудования, и монтажных работ, и обслуживания. При этом ничего не потеряем в надежности, ибо большое количество ИБП вторичного питания никоим образом не дублируют друг друга, а, напротив, выход хотя бы одного из них может привести к неработоспособности всей системы, в зависимости от того, на какого потребителя он работает.
В случае организации питания «на местах» такая система, конечно, не выгодна. Резервное питание также организуется локально уже на ИБП вторичного напряжения.
В принципе, весь изложенный материал абсолютно ничего сложного не представляет. В наших системах электропитания существует немало и объективных проблем, и всевозможных сюрпризов от «человеческого фактора». Однако подобные случаи носят достаточно типовой характер. И типовыми же являются меры защиты. Не мы отвечаем за энергоснабжение объекта. Но мы в состоянии противостоять если не самим проблемам, то их последствиям. И грех такой возможностью не воспользоваться. Лично у меня в доме на каждой из трех фаз установлены и ограничители напряжения, и стабилизаторы напряжения, и автоматические выключатели. А электроснабжение в случае отключения подачи электроэнергии обеспечивается трехфазным дизель-генератором. И все изложенное выше – это не теоретические изыскания, а исключительно практический опыт и оснащения наших объектов, и повседневной борьбы за живучесть, продиктованной чудесами наших электросетей.
Вот чего не стоит делать с питанием 220 В, это учиться сугубо на своих ошибках – цена может быть не оправданно высокой.
Источник: algoritm
Почему оба провода показывают фазу. Что будет если закоротить две фазы
Неисправность, связанная с одновременным действием двух фаз в розетках, встречается в определенных условиях. Но по своей важности она не уступает ни одной из известных неполадок, поскольку приводит к полному обесточиванию всех подключенных к домашней сети электрических приборов. Именно поэтому необходимо тщательно разобраться в причинах этого неприятного явления, способного привести к непредвиденным последствиям.
Теория о причине неисправности
Ситуации, при которой на втором контакте розетки или на цоколе лампочки освещения вместо привычного нуля появляется еще одно напряжение 220 вольт, имеет свое теоретическое обоснование. Несмотря на то что схемы подключения к розетке и лампочке отличаются между собой – причина их происхождения обычно одна и та же.
Разобраться с тем, почему в розетках две фазы поможет рисунок, размещенный ниже по тексту.
Из него следует, что появление двух одинаковых напряжений на клеммах розетки, например, связано с обрывом нулевого провода и случайным попаданием фазы на этот контакт. По этой же причине через распределительную коробку она вместо ноля попадает на цоколь осветительных лампочек, которые после этого перестают нормально светиться.
Важно! Под действующим напряжением, которое наряду с током совершает работу в нагрузке, понимается разность потенциалов между двумя точками электрической цепочки.
В нормальном положении между клеммами розетки этот показатель будет иметь значение 220 – 0 = 220 Вольт, а после появление второй фазы он составит 220 – 220 = 0 вольт. По этому любой измерительный прибор, подключенный к контактам этого изделия, покажет на своем индикаторе «ноль». Включенные же в розетку бытовые устройства перестают нормально работать, а подсоединенные к сети лампочки – не горят.
Основные причины неполадки
Неполадка, связанная с появлением в розетке второй фазы, может возникнуть из-за следующего стечения обстоятельств:
- Во-первых, в питающей сети произошел случайный обрыв ноля.
- Во-вторых, на нулевой провод или контакт «попала» прокладываемая рядом с ним оголенная фазная жила.
- В-третьих, плохой контакт проводника на нулевой шине или вводном автомате.
Каждое из них следует рассмотреть отдельно.
Обрыв ноля
Сам по себе обрыв провода с «нулем» – это обычная неисправность, возникающая довольно часто. Причиной может быть пропадание контакта в любом звене электрической цепи (в щитке, распредкоробке или в контакте силовой розетки, например).
Обратите внимание: Самый неприятный случай – обрыв нулевой жилы в электропроводке, спрятанной глубоко в стене (то есть при скрытой ее прокладке).
Задачу поиска места обрыва в других местах решить также не очень просто. Для того чтобы справиться с ней, потребуется специальный измерительный прибор, называемый мультиметром.
Ноль оборван и замкнут на фазу
Для того чтобы после обрыва провода, подводящего к розетке ноль, на этом контакте появилась фаза – необходимо случайное ее попадание в данное место. Такое событие хоть и редко, но все же случается при длительной эксплуатации электропроводки. Поэтому такое повреждение нельзя исключать из рассмотрения, особенно если для защиты электросети применяются морально устаревшие пробки.
Возможна еще одна неисправность линейного силового кабеля, способная привести к проблеме того же типа и также ставящая пользователя перед вопросом: что делать? Это – обрыв или обгорания нуля, произошедшие из-за длительной эксплуатации провода, неправильно подобранного по сечению (или в ситуации, когда его случайно повредили).
Вместо автоматов – пробки
Вероятность возникновения ситуации с попаданием фазы на «ноль» наиболее велика, если вместо современных автоматов для защиты сети установлены пробки с «жучками», не рассчитанными на номинальные тока нагрузки.
В этом случае при превышении током допустимой величины не рассчитанная на него изоляция может расплавиться. При этом нулевой провод при таких условиях сгорает, а фаза попадет на его поврежденный конец.
Две фазы, ошибочно подключенные в розетке
Еще один довольно редкий, но также возможный вариант неисправности – это ошибка монтажа электропроводки, при которой к обеим клеммам розетки подключены фазные ответвления от автомата. Отсутствие напряжения в этом случае будет наблюдаться в комнатах, подключенных к данному защитному устройству. Во всех остальных помещениях силовые розетки и лампочки будут работать нормально.
Смещение фаз
К таким распространенным и сложным неполадкам в трехфазной питающей сети относят смещение фаз в проводах силового кабеля, подведенного от подстанции до жилого строения или другого объекта. Для получения полноценного нуля в цепях, где трансформаторные обмотки и нагрузки соединены по схеме «звезда», потребители должны быть равномерно распределены между каждой из 3-х фазных линий.
При нарушении этого правила обеспечить полноценный нуль не получается, поскольку одна из фаз смещается в его сторону (можно сказать и наоборот). На приведенном ниже рисунке в векторном представлении показано, как происходит смещение нуля в сторону одной из трех фаз C (схема справа).
В результате на нулевой жиле появляется потенциал, тем больший, чем больше неравномерность распределения нагрузок по каждому из фазных направлений. В крайней ситуации он может достигнуть 220 Вольт и стать причиной наличия двух фаз в розетке.
Для выхода из возникшей ситуации и решения проблемы с наличием двух фаз, прежде всего, нужно определиться с причиной их появления. Если это произошло из-за обрыва нуля – сначала следует отыскать место повреждения с помощью прозвонки нулевой жилы посредством мультиметра.
Одновременно с этим необходимо надежно изолировать фазную жилу от уже проверенного и восстановленного «нуля». Для устранения неисправности, возникшей по вине старых пробок, потребуется срочно заменить их автоматическими выключателями, исключающими возможность выгорания проводов.
Убедиться в том, что на оба контакта розетки ошибочно подключены фазные провода, можно с помощью индикаторной отвертки. Если при прикосновении ее рабочим концом к обеим клеммам розетки индикатор показывает фазу (встроенная неоновая лампочка светится) – это значит, что при монтаже произошла ошибка. Для того чтобы устранить ее потребуется отсоединить один из проводов и подключить на его место нулевой проводник.
Самый сложный случай – описанное ранее смещение нуля в сторону одной фазы или обрыв (повреждение) нейтрального провода. Чтобы исправить это ненормальное положение можно сделать следующее:
- В частном доме необходимо будет замерить тем же мультиметром напряжения каждой фазы по отношению к нейтрали, которая ранее была проверена на целостность.
- При разнице в показаниях следует промерить токи в нагрузках.
- В случае отличия токовых величин необходимо попытаться выровнять их, правильно распределив нагрузки по фазам.
- При обнаружении повреждения нейтральной жилы потребуется заменить ее новым проводом большего сечения
В ситуации, когда индикатор показывает две фазы на розетке в городской квартире, а все рассмотренные варианты уже исключены – нужно обратиться в жилищное управление с просьбой пригласить бригаду электриков.
Только специалисты смогут разобраться с возникшим перекосом фаз и при необходимости согласовать вопрос исправления ситуации с технической службой местной подстанции.
По данной проблеме в интернете представлено большое количество видеообзоров, в которых подробнейшим образом разъясняются вопросы появления двух фаз на розетках и контактах бытовых источников света. Представляем вашему вниманию некоторые из них:
В заключительной части обзора отметим, что после ознакомления с представленными материалами даже неспециалист сможет попытаться самостоятельно устранить простейшую неисправность. Все, что ему для этого потребуется – это научиться обращаться с индикаторной отверткой и измерительным прибором (мультиметром).
При выходе из строя электропроводки иногда случается, что индикатор показывает в розетке две фазы, а электроприборы при этом не работают.
Такая неисправность является достаточно распространенной, но начинающий или неопытный электрик может долго над этим ломать голову.
Рассмотрим такую ситуацию. Вы сверлите стену, подключив дрель в розетке. Отверстие почти уже досверлено, как вдруг на счетчика сработал автомат.
Вы включаете автомат, но в результате ни один электроприбор не работает. Проверяете розетку – в обоих гнездах индикатор сигнализирует о наличии фазы. Что это все значит?
Почему в розетке две фазы?
В квартиру через счетчик и автоматы заходит только одна фаза . В розетке должна быть одна фаза и ноль, а в приведенной выше ситуации индикатор свидетельствует о наличии в обоих гнездах розетки одной и той же фазы.
Возьмите мультиметр и проверьте напряжение в розетке. Если прибор покажет 0, тогда фаза у вас только одна, перетекающая на нулевой проводник.
Это самый простой способ, который позволяет определить неисправность. Использовать индикаторную отвертку не рекомендуется, так как она не является точным методом проверки. Как видите, эта неисправность проводки необычная и поэтому может ввести в заблуждение, даже опытных электриков.
Электрическая проводка делается по простым принципам, которые изучаются еще в школе, но некоторые неисправности зачастую выходят за рамки стандартных представлений про работу электросети. Две фазы в розетке это распространенный казус, регулярно ставящий в тупик пользователей с недостаточным опытом в ремонте электропроводки.
Где и почему может появиться вторая фаза
Здесь сразу надо оговориться, что так как в квартиру заходит только один фазный провод, то понятие «вторая фаза» подразумевает что индикатор напряжения показывает фазу в контактах на которых она должна быть изначально и на нуле. Второй фазы, в правильном понимании этих слов, в квартире быть не может.
Следующий момент, который надо знать для понимания сути проблемы – каждый электроприбор является проводником электричества. Простейший пример это лампочка – ее нить накаливания светится из-за того, что она является проводником электрического тока. По сути, лампочка светит потому что она замыкает между собой фазу и ноль, а короткого замыкания не происходит так как нить накаливания обладает определенным электрическим сопротивлением.
Точно так же работают остальные приборы – они зачастую подключаются к сети через трансформаторы, обмотка которых сделана из медной проволоки. Замыкания опять же не происходит, так как из-за длины провода и его сечения он обладает электрическим сопротивлением, но по сути, когда в розетку вставляется штепсель любого прибора, то в ней замыкаются фаза и ноль.
Теперь должно быть понятно, почему в розетке две фазы – эта неисправность может появиться только в том случае, если отсутствует ноль. Фаза приходит к розетке, проходит через включенный в нее электроприбор и появляется на нулевом проводе, а от него и на тех розетках, что расположены после обрыва ноля. Соответственно, если выключить все выключатели и вынуть все штепсели из розеток, то индикатор будет показывать фазу только на одном контакте.
Как итог – фаза вместо ноля может появиться в одной отдельно взятой розетке (при условии, что она двойная или тройная и в один из штепселей вставлена вилка какого-либо электроприбора).
Далее, 2 фазы могут быть в одной из комнат, в половине квартиры или вообще везде.
Также нельзя скидывать со счетов вероятность короткого замыкания, например, при сверлении стены или некачественной укладке проводов в распределительной коробке. При определенном везении можно так зацепить проводку, что нулевой провод отгорит от основной сети и прикипит к фазному. В таком случае две фазы в розетке индикатор покажет даже при отключенных от сети электроприборах.
В этом видео вы может посмотреть как эта неисправность воспроизводится на специально собранном стенде:
Две фазы в одной розетке
Такой случай практически не встречается – это редкое исключение , подтверждающее правило. Если все же такое случилось – все остальные розетки работают без нареканий, свет везде есть, а в одной единственной розетке индикатор показывает две фазы, то в первую очередь разбирается сама розетка. Поломка скорее всего будет в другом месте, но сперва на всякий случай надо убедиться что ее нет в месте к которому проще всего добраться.
Если повезет, то перебитый, отгоревший или выскочивший из крепления провод найдется в подрозетнике.
Когда розетка исправна и без следов перегрева проводов, то следующий шаг это определить как она подключена – напрямую к распределительной коробке или через другую розетку. Во втором случае есть вероятность того, что нулевой провод был некачественно прикручен в «родительской» розетке, а теперь выпал.
Далее проверяется распределительная коробка – это наиболее вероятное место , где может обнаружиться плохой контакт. Здесь надо принимать во внимание, что фазный провод не такой требовательный к качеству скрутки – при плохом соединении она греется, но какое-то время еще работает. Нулевой провод может окислиться и без видимых последствий – чтобы это увидеть придется разматывать скрутки, заново зачищать провода и собирать все обратно.
Если скрутка в порядке, то остается только прозвонить провод тестером – если он покажет обрыв внутри стены, то для ремонта придется разбивать штробу.
Когда розетка перестает работать в доме, где проводка сделана недавно и по всем правилам, то дополнительно стоит проверить не является ли она силовой розеткой , к которой подключается водонагреватель или подобное мощное устройство. В таком случае причины надо искать в главном распределительном щитке, откуда она может быть запитана, минуя распределительные коробки.
Две фазы в нескольких розетках
Ситуация аналогична предыдущей, но теперь сразу в нескольких розетках, зачастую находящихся в одной комнате. При этом освещение может как работать, так и отсутствовать – в зависимости от способа его подключения.
Проверять розетки здесь смысла нет, за одним исключением – если все они подключены так называемым шлейфом. В этом случае от распределительной коробки провода приходят на одну из них, а остальные подключены последовательно. ПУЭ так делать настоятельно не рекомендует, но все может быть.
Порядок устранения неисправности зависит от желания лезть к распределительной коробке и от того, есть ли вероятность шлейфового подключения.
Вероятнее всего обрыв провода обнаружится в распределительной коробке, но если там все подключения в норме, тогда надо поочередно разбирать все розетки в комнате.
Две фазы в половине комнат
Такое случается, если распределительные коробки подключены последовательно одна за другой. Что делать в таком случае – решение стандартное – надо последовательно перебирать все коробки в поисках плохого контакта.
Вся сложность в том, что зачастую схема подключения отсутствует, поэтому неизвестно из какой комнаты и в какую из них проложена проводка. Также следует учитывать тот вариант, что контакт может подгореть как в комнате в которой не работают розетки, так и в предыдущей по схеме, где индикатор показывает нормальное напряжение в розетках.
Есть решение, чтобы не разбирать клеммные коробки во всех комнатах – можно поменять фазу и ноль на входном щитке, а потом воспользоваться индикатором напряжения который может показывать фазу через стену. Перед этим надо убедиться, что в розетках нигде не присутствует зануление и на всякий случай отсоединить заземление, если таковое подключено.
Две фазы во всех розетках
Если во всем доме выключилось освещение, а индикатор напряжения показывает в розетках две фазы, проблема скорее всего на входном щитке.
В этом случае надо обязательно проверить также провода заземления на тот случай если они занулены. При этом, пока не будет уверенности что на них нет напряжения, нельзя касаться голыми руками заземляющих контактов и запретить детям трогать розетки и электроприборы.
В старых домах часто установлены пробки или автоматические выключатели не только на фазу, как это рекомендовано последними редакциями ПУЭ, но и на нулевом проводе. Перегорание такой пробки равноценно обрыву ноля, поэтому рекомендуется проверить их в первую очередь.
Также надо учитывать возможности отсутствие электрощитка как такового, когда от счетчика провод идет сразу в главную распределительную коробку – неисправный контакт может быть в ней.
О распространенной неисправности проводки, когда в обоих разъемах розетки 220 В – фаза.
О том, почему это происходит и чем опасно. От первого лица и немного неформально.
Есть одна характерная неисправность электропроводки, которая способна поставить в тупик начинающего или неопытного электрика. Чтобы пояснить, о чем речь, приведу рассказ одного из знакомых:
«Приходит ко мне в субботу соседка – бабушка одинокая. И просит разобраться с электрикой в квартире. Дескать, ничего не работает, а свет, вроде не отключали.
Ну, я, понятное дело, выхожу на площадку и проверяю автоматические выключатели. Все в порядке, все автоматы включены. Беру индикатор: проходит. Захожу в квартиру к бабушке, проверяю первую же розетку. Первый разъем – «фаза». Проверяю второй разъем – тоже «фаза»! Что за бред!
Перехожу к другой розетке: та же картина. Две фазы. Откуда две фазы? Ну, положим, ладно, «ноль» может пропасть. Но откуда вторая фаза может появиться в розетке 220 вольт? В квартиру же только одна фаза заведена.
Ничего я не понял, извинился перед бабусей, и пришлось ей до понедельника ожидать электрика из ЖЭКа.
А что там за беда была, я так и не понял.»
Сразу попрошу специалистов не смеяться над рассказом моего знакомого. Он совсем не глупый человек , просто не электрик по профессии. А я пролью немного света на темную историю, приключившуюся с ним.
Если бы у героя рассказа кроме при себе был тестер, и он умел бы им пользоваться, то он смог бы сделать одно интересное наблюдение. Напряжение между двумя «фазами» в розетке отсутствовало. Это значит, что «фаза» была одноименная. Оно и понятно, иначе бы технике и светильникам в квартире не поздоровилось бы.
Но откуда же все-таки «фаза» попала на проводник, который прежде был нулевым? Она просто прошла через нагрузку, то есть, например, через лампочку коридорного светильника, который всегда включен, и… и все. Оказалось, что дальше ей идти просто некуда. Причина всей катавасии в том, что вводной нулевой рабочий проводник оборван. Он может просто отломиться на нулевой шине в щите, для алюминиевого провода это проще простого.
Когда такое происходит, ток в цепи, разумеется, пропадает.
Нет тока – нет и падения напряжения. Поэтому «фаза» одна и та же, что на входе, что на выходе лампочки. Получается «фаза» в обоих проводах. Ну, а поскольку все нулевые провода квартиры имеют прямое между собой на все той же нулевой шине квартирного щитка, то «заблудившаяся фаза» появляется и в розетке тоже. Достаточно было выключить все выключатели и отключить от розеток все приборы в квартире, чтобы аномалия исчезла.
Ну, а для исправления ситуации было достаточно зачистить и вновь подключить отвалившийся нулевой провод, предварительно, конечно, выключив вводной пакетник.
Здесь отдельно стоит заметить, что, хотя «фаза» на нулевом проводнике в подобных ситуациях и кажется призрачной и ненастоящей, опасность она может представлять собой вполне реальную. Даже через нагрузку вас может очень неплохо «дернуть», ведь человеку и надо-то всего около 7 миллиампер для очень неприятных ощущений.
Опять же для того, чтобы избежать в подобных ситуациях, нельзя производить корпусов электроприборов непосредственно в месте их подключения, без отдельной заземляющей линии и повторного заземления.
Ведь если пренебречь этим запретом, то при обрыве нулевого провода можно получить фазу прямо на корпусе прибора, пусть и «не совсем настоящую».
При нормальном режиме работы розетки проверяя наличие напряжения картина должна выглядеть следующим образом. При прикосновении к фазному проводу, должно появляться световое оповещение, а при прикосновении к нулевому, лампочка индикатора светиться не должна.
Но если розетка не работает, а индикатор показываетна проводах в розетке две фазы, что делать и как такое может быть?
Такое явление встречается довольно часто, как правило в домах со старой или некачественно выполненной электропроводкой. Откуда же берутся эти две фазы в розетке , давайте разберем возможные причины их появления:
Отгорел нулевой провод во внутренней системе электропроводкиЭто наиболее распространенная причина. При отсутствии нулевого соединения фаза через нить накаливания лампочек в люстре, либо через электроприборы включенные в другие розетки наведенным током будет присутствовать и на нулевом проводе.
При этом розетка, в которой находиться две фазы не работает. Правильно диагностировать данную причину можно выключив из всех розеток включенные в них электроприборы путем отсоединения вилок от розеток. Далее нужно перевести все выключатели в положение выключено. Если вы не знаете в каком положение выключатель включен, а в каком выключен, можно просто выкрутить из люстр и светильников лампочки эффект будет тот же. После того как вы произвели все действия указанные выше, нужно еще раз проверить напряжение в розетке. У вас должно получиться следующее, на
фазном проводе должна быть фаза, соответственно индикатор делает световое оповещение, а при прикосновении к нулевому, лампочка индикатора светиться не должна.
В этом случае причину неисправности следует начать искать:
- в местах недавно повешенных на стену картинах, фотографиях. Как правило в 95% случаев такой тюнинг жилья заканчивается перебитым проводом. В этом случае нужно отключить электропитание квартиры (выключить пробки, автоматы, пакетные выключатели) убедиться в отсутствии напряжения.
Далее снять слой штукатурки и освободить провод, визуально диагностировать место повреждения и устранить неисправность путем соединения проводов и их изоляцией. После проведения всех работ, включаем подачу напряжения и проверяем работоспособность розетки. После этого место повреждения можно замазывать штукатурным либо гипсовым раствором.
- если же никаких работ по обновлению дизайна жилья перед тем как в розетке появились две фазы не проводилось, то
возможная неисправность может быть в распределительной коробке
. В этом случае поиски начать следует с распределительных коробок, которые находиться в комнате где расположена розетка. Отключаем электроснабжение квартиры, снимаем крышку распределительной коробки, ищем обгоревшие, оплавленные либо отвалившееся провода. Если в этой распределительной коробке неисправности нет открываем ближайшее. После того как вы визуально диагностировали неисправность, приступаем к ее устранению. Делаем новое соединение, изолируем, закрываем крышку распределительной коробки, включаем электропитание и проверяем работоспособность розетки.
- в электро щитке. Если вы имеете доступ в силовой щит, вы можете открыть его и визуально просмотреть все контакты и соединения. При обнаружения оплавленных проводов, подгоревших контактов, отвалившихся от мест присоединения проводов нужно немедленно обратиться в обслуживающую данный электрощит организацию для устранения неполадок. Производить самостоятельный ремонт без снятия напряжения ОПАСНО ДЛЯ ЖИЗНИ.
Произошло перенапряжение
- Перенапряжение – это повышение или понижение значений напряжения с нормальных (220-230 вольт) до высоких (360-380 вольт) или наоборот низких (40-80 вольт). Когда происходит перенапряжение, сначала может моргать свет, потом начинают очень ярко или очень тускло гореть лампочки.
Основную опасность представляют те случаи когда происходит повышение напряжения (360-380 вольт). Начинают сильно светиться лампочки, в некоторых случаях даже гудят, начинает дымиться бытовая электроника. Моментально реагируют на повышенное напряжение: компьютеры, микроволновые печи, электронные часы, телевизоры, аудио и видео техника.
Перегорают, либо начинают некорректно работать.
При низких значениях напряжения (40-80 вольт) такого значительного ущерба бытовой технике не наноситься, из-за низкого напряжения она просто не включается, а освещение при этом еле светиться, так, что можно разглядеть еле тлеющую нить накала в лампочке. Причина очень банальна, где то по линии электропроводки от подстанции до вашего счетчика повредился нулевой провод.
Что происходит во время перенапряжения? В современных электросетях используются четырех жильные кабельные линии . Три жилы используются для передачи трех независимых фаз, а четвертая для нуля. Когда повреждается нулевой провод, ток подобно воде мгновенно заполняет свободную нишу и устремляется туда где самая маленькая нагрузка, в итоге получается что по по фазному проводу и по нулевому приходят две фазы вместо положенных 220 вольт, так получается 380. Соответственно раз ток убежал в свободную нишу с маленькой нагрузкой, то там откуда он убежал остается маленькое напряжение (40-80 вольт) или совсем ничего.
Что делать?
- Нужно быстро отключить электроснабжение квартиры
- выключить из розеток все бытовые приборы
- перевести все выключатели в положение отключено.
- Вызвать обслуживающий электро персонал. Дождаться устранения бригадой электромонтеров причин перенапряжения, далее ими делаются контрольные замеры напряжения, составляется акт и только после этого можно вновь восстановить электропитание вашей квартиры.
Наведенный ток
Розетка работает в нормальном режиме, но при замере индикатором диагностируются две фазы. Такое явление часто встречается, если рядом с вашим домом проходит высоковольтная линия электропередач.
Это один из самых опасных случаев , так как наведенное напряжение будет диагностироваться индикатором даже при полностью отключенной подачей напряжения в квартиру, что может ввести в заблуждение даже профессионала в данном вопросе . В этом случае поможет вольтметр, либо мультиметр, он безошибочно покажет наличие или отсутствие напряжения.
При нормальном режиме работы розетки проверяя наличие напряжения картина должна выглядеть следующим образом. При прикосновении к фазному проводу, должно появляться световое оповещение, а при прикосновении к нулевому, лампочка индикатора светиться не должна.
Но если розетка не работает, а индикатор показываетна проводах в розетке две фазы, что делать и как такое может быть?
Такое явление встречается довольно часто, как правило в домах со старой или некачественно выполненной электропроводкой. Откуда же берутся эти две фазы в розетке , давайте разберем возможные причины их появления:
Отгорел нулевой провод во внутренней системе электропроводкиЭто наиболее распространенная причина. При отсутствии нулевого соединения фаза через нить накаливания лампочек в люстре, либо через электроприборы включенные в другие розетки наведенным током будет присутствовать и на нулевом проводе. При этом розетка, в которой находиться две фазы не работает.
Правильно диагностировать данную причину можно выключив из всех розеток включенные в них электроприборы путем отсоединения вилок от розеток. Далее нужно перевести все выключатели в положение выключено. Если вы не знаете в каком положение выключатель включен, а в каком выключен, можно просто выкрутить из люстр и светильников лампочки эффект будет тот же. После того как вы произвели все действия указанные выше, нужно еще раз проверить напряжение в розетке. У вас должно получиться следующее, на
фазном проводе должна быть фаза, соответственно индикатор делает световое оповещение, а при прикосновении к нулевому, лампочка индикатора светиться не должна.
В этом случае причину неисправности следует начать искать:
- в местах недавно повешенных на стену картинах, фотографиях. Как правило в 95% случаев такой тюнинг жилья заканчивается перебитым проводом. В этом случае нужно отключить электропитание квартиры (выключить пробки, автоматы, пакетные выключатели) убедиться в отсутствии напряжения.
Далее снять слой штукатурки и освободить провод, визуально диагностировать место повреждения и устранить неисправность путем соединения проводов и их изоляцией. После проведения всех работ, включаем подачу напряжения и проверяем работоспособность розетки. После этого место повреждения можно замазывать штукатурным либо гипсовым раствором. - если же никаких работ по обновлению дизайна жилья перед тем как в розетке появились две фазы не проводилось, то возможная неисправность может быть в распределительной коробке
. В этом случае поиски начать следует с распределительных коробок, которые находиться в комнате где расположена розетка. Отключаем электроснабжение квартиры, снимаем крышку распределительной коробки, ищем обгоревшие, оплавленные либо отвалившееся провода. Если в этой распределительной коробке неисправности нет открываем ближайшее. После того как вы визуально диагностировали неисправность, приступаем к ее устранению. Делаем новое соединение, изолируем, закрываем крышку распределительной коробки, включаем электропитание и проверяем работоспособность розетки.

- в электро щитке. Если вы имеете доступ в силовой щит, вы можете открыть его и визуально просмотреть все контакты и соединения. При обнаружения оплавленных проводов, подгоревших контактов, отвалившихся от мест присоединения проводов нужно немедленно обратиться в обслуживающую данный электрощит организацию для устранения неполадок. Производить самостоятельный ремонт без снятия напряжения ОПАСНО ДЛЯ ЖИЗНИ.
Произошло перенапряжение
- Перенапряжение – это повышение или понижение значений напряжения с нормальных (220-230 вольт) до высоких (360-380 вольт) или наоборот низких (40-80 вольт). Когда происходит перенапряжение, сначала может моргать свет, потом начинают очень ярко или очень тускло гореть лампочки.
Основную опасность представляют те случаи когда происходит повышение напряжения (360-380 вольт). Начинают сильно светиться лампочки, в некоторых случаях даже гудят, начинает дымиться бытовая электроника. Моментально реагируют на повышенное напряжение: компьютеры, микроволновые печи, электронные часы, телевизоры, аудио и видео техника.
Перегорают, либо начинают некорректно работать.
При низких значениях напряжения (40-80 вольт) такого значительного ущерба бытовой технике не наноситься, из-за низкого напряжения она просто не включается, а освещение при этом еле светиться, так, что можно разглядеть еле тлеющую нить накала в лампочке. Причина очень банальна, где то по линии электропроводки от подстанции до вашего счетчика повредился нулевой провод.
Что происходит во время перенапряжения? В современных электросетях используются четырех жильные кабельные линии. Три жилы используются для передачи трех независимых фаз, а четвертая для нуля. Когда повреждается нулевой провод, ток подобно воде мгновенно заполняет свободную нишу и устремляется туда где самая маленькая нагрузка, в итоге получается что по по фазному проводу и по нулевому приходят две фазы вместо положенных 220 вольт, так получается 380. Соответственно раз ток убежал в свободную нишу с маленькой нагрузкой, то там откуда он убежал остается маленькое напряжение (40-80 вольт) или совсем ничего.
Что делать?
- Нужно быстро отключить электроснабжение квартиры
- выключить из розеток все бытовые приборы
- перевести все выключатели в положение отключено.
- Вызвать обслуживающий электро персонал. Дождаться устранения бригадой электромонтеров причин перенапряжения, далее ими делаются контрольные замеры напряжения, составляется акт и только после этого можно вновь восстановить электропитание вашей квартиры.
Наведенный ток
Розетка работает в нормальном режиме, но при замере индикатором диагностируются две фазы. Такое явление часто встречается, если рядом с вашим домом проходит высоковольтная линия электропередач.
Это один из самых опасных случаев, так как наведенное напряжение будет диагностироваться индикатором даже при полностью отключенной подачей напряжения в квартиру, что может ввести в заблуждение даже профессионала в данном вопросе. В этом случае поможет вольтметр, либо мультиметр, он безошибочно покажет наличие или отсутствие напряжения.
Треугольник.
Для передачи электроэнергии между населенными пунктам напряжение электрической сети многократно повышается. Это делается для сокращения токовой нагрузки сети, проще говоря с ростом напряжения сила тока в линиях электропередачи понижается.
Например, если приходя в ВРУ жилых строений линейное напряжение сети (между фаз) составляет 380 Вольт, то на высоковольтных линиях электропередач напряжение может повышаться от 6 000 до 1150 000 Вольт.
Понижение до 380 Вольт, происходит внутри трансформаторных подстанций, где установлен понижающий трансформатор тока.
В электрике существуют две схемы соединения обмоток понижающих трансформаторов “звезда” и “треугольник”. В большинстве случаев в современных электрических сетях для бытовых нужд применяется схема “звезды”, здесь все стандартно, есть 3 фазы и ноль (глухозаземленная нейтраль). Линейное напряжение = 380 Вольт (напряжение между фаз), а фазное = 220-240 Вольт (между фазой и нулем, землей).
На ВРУ, как правило, приходит четырех жильный кабель, по которому подается напряжение 380 Вольт, далее происходит разделение на отдельные лини “ноль + фаза”, которые и приходят в квартиру. В итоге на розетке получаем напряжение сети 220-240 Вольт.
А вот в “треугольнике” нуля нет, есть только три фазы и все. На ВРУ приходит трехжильный кабель, по которому подается напряжение 380 Вольт.
Так как в схеме треугольника фазное напряжение = линейному, далее он делится на отдельные линии “фаза + фаза” и именно в таком виде напряжение приходит в жилые квартиры. То есть в такой сети на обоих контактах розетки будет две фазы, при этом бытовые электроприборы в нормальном режиме работы будут исправно функционировать. В розетке будет напряжение 380 Вольт.
Стоит отметить, что схема треугольника в современных сетях встречается все реже и реже, в большинстве случаев в районах городов и селений старого жилого фонда.
Неисправность, при которой обнаруживается сразу две фазы в розетке – нередкое явление в бытовой практике.
Найти его причину по силам только опытному специалисту, разбирающемуся в электрике. Однако при грамотном подходе возможно самостоятельное решение возникшей проблемы. Для этого потребуется ознакомиться с принципами формирования питающего напряжения, которое по электрическим сетям поступает к каждому потребителю.
Нормальное распределение потенциалов в розетках
Две фазы в розетке
Прежде чем разобраться в том, почему в розетках сразу две фазы, следует знать, что в квартиру по линии электропроводки подводится пара питающих жил, одна из которых называется фазной, а вторая – нулевой. Потенциал 220 Вольт действует только на одной из клемм розеток, а на второй он равен нулю. Убедиться в этом можно, если воспользоваться обычной индикаторной отверткой.
Наличие двух потенциалов (фазного и нулевого) – обязательное условие работы любой системы электроснабжения.
Если в розетке нет одной фазы или по какой-то причине пропал ноль – не удастся получить и разности их значений (220-0=220 Вольт), называемой напряжением.
Поэтому если пропал ноль в розетках, и как его найти неизвестно – перед началом поисков следует ознакомиться с принципом формирования потенциалов. Намного сложнее ситуация, когда вместо нуля на второй клемме появляется еще одна фаза. Для устранения этой неисправности потребуется разобраться в причинах ее возникновения.
Причины появления двух фаз
Две фазы в розетке при разрыве нулевого провода
Появление фазы сразу на двух проводах может быть объяснено следующим стечением обстоятельств:
- Обрыв нулевого провода во входном щитке дома или квартиры.
- Его повреждение на вводе или внутри распределительной коробки.
- Нарушение контакта в подсоединении «нуля» только в одной розетке.
- Замыкание фазного провода на нулевую жилу из-за повреждения изоляции.
Чтобы разобраться, почему индикатор показывает фазу сразу на обоих проводах, причину, вызывавшую каждое из этих явлений, потребуется рассмотреть в отдельности.
Еслт нет нуля в розетке, прежде всего следует найти место его пропадания (обрыва).
Возможный вариант – повреждение кабеля на вводе в дом или квартиру, в результате чего «ноль» пропадет во всех розетках, установленных внутри данного здания и в отдельных помещениях. Помимо этого, контакт может нарушиться в любом месте электрической цепи, в том числе – на вводе или внутри распределительной коробки, что приведет к неисправности лишь нескольких розеток.
Второй случай касается тех из них, что подключены в пределах комнаты именно к этому распределительному узлу (то есть примерно половины), а во всех остальных установочных изделиях нормально работающий «ноль» сохранится.
При наличии неисправности только на вводе в конкретную розетку исчезновение нуля и появление второй фазы будет наблюдаться лишь в ней. Чтобы рассматриваемая ситуация сформировалась окончательно – напряжение попало на оборванный нулевой контакт – потребуется, чтобы оголившийся фазный провод случайно замкнулся на него.
Разновидностью последнего случая является вариант, когда нулевая жила не оборвана, а фазный провод с поврежденной изоляцией замкнулся на земляной контакт.
Это также приведет к появлению в данной розетке сразу двух высоких потенциалов.
Возможные последствия и опасность появления двух фаз
Две фазы в розетке дают нулевую разность потенциалов
Когда в той или иной розетке сразу 2 фазы, необходимо в первую очередь побеспокоиться о том, чем это грозит пользующимся ей людям. Такое положение недопустимо по следующим причинам:
- Разность потенциалов между клеммами розетки будет равна 220-220=0 Вольт.
- Пропадет напряжение, подключенные бытовые приборы не будут работать.
- Появляется опасность, объясняемая пропаданием цепи защитного заземления, которое в старых домах действует через земляную жилу (из-за отсутствия местного контура).
В данном случае о какой-либо защите говорить вообще не приходится, последствия могут оказаться неприемлемыми для людей. Несведущий электрик, считая, что касается нулевого провода (в изоляции синего цвета) может оказаться под высоким напряжением. Поэтому в нормативной документации предписывается при разборке установочных изделий обязательно проверять посредством индикатора отсутствие фазы на обеих клеммах.
В рассматриваемой ситуации также перестанут работать все или только подключенные к данной распредкоробке выключатели света. Объясняется это тем, что на подводимом к люстре нулевом проводе, связанном с соответствующим контактом розетки, появится фазный потенциал, а разность напряжений станет равной нулю.
Примеры обрывов нуля
Если на клеммах розеток старого образца действуют два высоких потенциала (2 фазы и заземленный ноль – для новых установочных изделий с тремя контактами) – такая ситуация требует срочного вмешательства. Поскольку она связана с обрывом нулевой жилы, сначала нужно отыскать точное место повреждения, используя методы визуального контроля плюс необходимый инструмент. Для этого потребуется предпринять действия, зависящие от характера повреждения.
Даже далекий от электротехники хозяин дома или квартиры просто обязан обладать минимальным набором знаний и навыков, касающихся эксплуатации домашней электросети. И это означает не только умение втыкать вилку в розетку, щелкать выключателем или менять перегоревшие лампочки.
Необходимо иметь понятия о проведении простейшей диагностики сети, о выявлении явных неполадок в ее работе. Ведь некоторые из них вполне можно исправить самостоятельно, не прибегая к вызову специалиста.
К одной из простейших проверок, к которым прибегают при внезапном отключении освещения или бытовых электроприборов, но при оставшихся включенными , относится проверка наличия фазы. Индикаторная отвёртка есть у большинства хозяев, и сам процесс занимает считанные минуты. И все более-менее понятно, когда такая «ревизия» показывает отсутствие фазы – это могут быть просто перебои в электроснабжении. Но иногда ситуация иная – индикатор светится в обеих гнездах розетки! Понятно, что проблем с подачей нет. Но в чем же дело, почему в розетке две фазы?
Давайте разберемся с причинами такой ситуации, с возможными способами устранения подобных неисправностей.
В каком гнезде должна быть фаза в розетке?Многим этот вопрос покажется смешным. Но, тем не менее, и с этим следует сразу внести должную определённость, так как публикация рассчитана на совершенно неопытных пользователей.
А у них, нет-нет, да и проскакивают неясности. Именно этим, наверное, объясняется немалое количество поисковых запросов типа «в какой дырке розетки искать фазу»? (Правильнее, наверное, выразиться «в каком гнезде»).
Итак, смотрим на однофазную розетку тех стандартов, которые могут встретиться в российских домах – чаще всего это тип С или тип F .
Тип С – это самая обычная розетка с двумя гнездами под контактные штыри вилки. В одном гнезде должен быть фазный контакт (L ) , во втором – нулевой (N ). И больше никаких прикрас.
Тип F в последнее время все активнее замещает тип С. Это связано с тем, что в городских новостройках систему электропроводки стали изначально планировать с наличием заземляющего контура РЕ . Становится нормой обустраивать надежное заземление и в частных домах. Это вызвано требованиями обеспечения безопасности эксплуатации бытовых электроприборов. Взгляните на сетевые вилки свое домашней техники – в подавляющем большинстве случаев современные приборы «просят» подключения и к контуру заземления.
Поэтому в розетках стандарта F предусмотрен дополнительный контакт именно для этих целей. Он представляет собой две фигурные подпружиненные пластины, расположенные в аккурат по центру розетки сверху и снизу.
Но какая бы розетка ни была, однозначно в ее гнездах должны быть фаза и ноль. Других вариантов не предусматривается. Наличие заземляющего контакта никак не меняет этого правила.
Для однофазных бытовых приборов, работающих от сети 220 В, взаимное расположение фазы и нуля в подавляющем большинстве случаев никакого значения не имеет. Да и хозяева в процессе эксплуатации зачастую вставляют вилку в розетку, совершенно не задумываясь о ее пространственном положении – короче, как получится. И на работоспособность техники это не оказывает никакого влияния.
Заметим, что есть и в этом плане исключения. Некоторые приборы, например, системы кондиционирования или обогрева со встроенными термостатическими регуляторами, требуют однозначного расположения фазы и нуля на своей клеммной колодке.
Но, как правило, эти приборы – стационарной установки, и подключаются не через розетки, а непосредственно к подведённым к ним выделенным линиям проводки.
Так на каком же гнезде искать фазу при проверке розеток?
Ответ категоричный – всегда следует проверять оба гнезда. Не надо надеяться на якобы имеющиеся стандарты расположения контактов. И прежде всего потому, что подобных стандартов – вообще не существует.
То, что говорят про правильное положение фазы именно в правом гнезде – это никем и нигде не закреплено. Да, многие мастера -электрики «старой закалки» соблюдают «полярность» розеток, действительно подключая фазу к правой клемме, если смотреть на розетку фронтально. Но это, скорее, можно считать своеобразным «правилом хорошего тона», выделяющим специалистов с профессиональным подходом.
Понятно, что при упорядоченном расположении фазы и нуля легче бывает разобраться с неисправностями, провести диагностику домашней электросети.
Мало того, существуют специальные приборы, позволяющие очень быстро и точно продиагностировать розеточную линию – наличие обрывов или утечек, правильность подключения контактов и т.п. Этот тестер достаточно вставить в розетку и включить его.
Так вот, компоновка подобных приборов рассчитана именно на правое расположение гнезда фазы. То есть при правильном включении тестера в розетку все надписи оказываются читаемы. На иллюстрации выше показан пример такого прибора, и стрелкой выделен светодиод фазы – он расположен справа. Ничто, конечно, не мешает включить тестер и «верх ногами» – он прекрасно справится с задачей и в том случае, когда фаза находится слева. Но, тем не менее, именно такая «правильная» компоновка – все же о чем-то говорит…
Но, опять же – не полагайтесь слепо на эти негласные правила. Всегда, в любом случае при проверке фазы следует проверять оба гнезда.
Как определить, где фаза, а где ноль в розетке?
С такой «диагностической операцией» наверняка придётся сталкиваться любому хозяину дома или квартиры.
Проверка осуществляется с помощью недорогих приборов, которые обязательно следует иметь в своем инструментальном «арсенале».
И вот в ходе проверки обеих гнезд при пропадании «света» хозяина может ждать весьма неожиданный и довольно-таки неприятный «сюрприз». Как раз об этом и пойдет речь далее.
Почему в розетке может появиться две фазы?Итак, в доме (квартире) внезапно погасло освещение, прекратили включенные работу электрические приборы. Хозяин для начала убеждается в том, что защитные не отключились. Затем берет индикаторную отвёртку и начинает проверку наличия фазы. Самым удобным местом для этого, безусловно, является розетка. И тут, к его удивлению, индикатор одинаково ярко зажигается в обеих ее гнездах. Все говорит о том, что в розетке – две фазы. Но как такое может быть?
Если в такой ситуации промерить напряжение между двумя контактами розетки, оно будет показывать нулевое значение. Почему – да просто это одна и та же фаза! Другой здесь взяться просто неоткуда, раз в дом (квартиру) заходит однофазная линия питания.
А напряжение – это, как известно, разность потенциалов, обеспечивающая возникновение электрического тока. Нет разности – нет и тока, поэтому все приборы отключились.
А почему такое может случиться? Причиной появления двух фаз на розетке является чаще всего обрыв нулевого провода.
Смотрим еще раз на схему, но только – несколько видоизмененную.
На схеме показана обычная, так сказать, «штатная» работа домашней . Для примера взяты лишь две розетки. Первая – в которой проводится определение фазы и нуля. Вторая – с подключенной нагрузкой. На рисунке условно показана лампочка, но это может быть и любой бытовой прибор во включенном состоянии.
Движение электрического тока проходит в сторону от контакта с большим потенциалом к меньшему. То есть – от фазы к нулю. Стрелками показана «траектория» тока при включенной нагрузке – от автомата по фазному проводу, минуя по пути распределительные коробки. Далее – через розетку (или выключатель – для большинства стационарных осветительных приборов), через нагрузку.
И потом – в обратном направлении, но уже по нулевому проводу к нулевой шине и далее, через входной автомат – к подъездному или уличному распределительному щиту. Но там уже зона ответственности энергоснабжающей или эксплуатационной компании – дальше она нас не волнует.
А теперь давайте смоделируем ситуацию, когда, скажем, на нулевой шине или на клемме входного автомата произошел обрыв. Например, при проведении монтажа были недостаточно затянуты зажимные винты или допущены иные небрежности, вроде установленных в натяг проводов. Кстати, именно здесь чаще всего и кроется причина подобных неисправностей домашней сети.
Представим, что потерян контакт нулевого провода на клемме автоматического выключателя.
Несмотря на то что нагрузка включена, прохождение тока невозможно. Общая цепь питания разомкнута на клемме автоматического выключателя. Но что получается вместо этого? Так как нагрузка остается включенной, то ее внутренняя цепь является проводником. Это может быть первичная катушка трансформатора блока питания, нить накаливания лампы, нагревательный элемент бойлера, утюга, электроплитки и т.
п. Сам то по себе прибор бездействует – тока нет. Но через него, через его внутреннюю цепь, подключённую к общей сети, потенциал фазы «перетекает» по нулевым проводам. И если сейчас проверить розетку индикаторной отверткой, то в обоих гнездах будет показывать фазу.
На схеме показана всего одна линия, защищенная автоматическим выключателем. На деле же их бывает обычно несколько. Но если обрыв нуля произошел до нулевой шины, то картина с двумя фазами будет наблюдаться во всех розетках.
Кстати, подобная ситуация бывает весьма частым явлением в домах или квартирах старой постройки. То есть там, где еще сохранились старые распределительные щиты с плавкими предохранителями-пробками, а не автоматическими выключателями. Перегорание «нулевой» пробки – дело вполне обыденное. И каждый раз будет вот такая картина. Так что при наличии возможности стоит как можно скорее модернизировать свою домашнюю (квартирную) сеть. То есть установить на входе спаренный автомат, после которого фаза распределяется на группу автоматов по разным линиям, а ноль заводится на общую нулевую шину.
Вероятность «потери» нуля при такой схеме существенно снижается.
Наверное, из вышеизложенного уже должно быть понятно, что если после выявления такой аварии отключить от сети всю нагрузку (все бытовые приборы и освещение), то «эффект двух фаз» сам по себе пропадет. Просто у фазы не останется пути перетекания на нулевой провод. Правда, работоспособность системы от этого никак не восстановится. Все равно необходимо разбираться с причиной, искать участок обрыва.
А для этого желательно сразу локализовать повреждённый участок домашней сети. Ведь «всеобщее двухфазие» будет наблюдаться исключительно в том случае, если обрыв произошел еще до нулевой шины. То есть на непосредственно подходящим к ней от автомата нулевом проводе.
Проверяется это несложно. К розетке ближайшей к распределительному щитку группы подключается какой-нибудь несложный бытовой прибор. Пусть это будет даже обычный утюг или вентилятор, неважно. Главное, чтобы он был во включённом положении. Его роль – всего лишь стать «мостиком» для фазы.
Затем берется индикаторная отвертка, и ею последовательно проверяются и соседние розетки этой группы, и далее – все без исключения розеточные группы в квартире (доме). Если во всех розетках «висит» по две фазы – дело ясное, обрыв нуля следует искать в щитке. Обычно это не вызывает затруднений. Как правило, такой дефект легко обнаруживается и довольно быстро устраняется. Это «лечится» зачисткой и подтяжкой контактов на клеммах (настоящий обрыв провода в щитке – дело практически невероятное). Естественно, все работы в электрощите должны производиться при отключённом вводном автомате.
Но если проверка не дала такой полной ясности, то, скорее всего, разрыв нуля локальный. И ревизию следует продолжить. Нагрузка переносится на розетку следующей распределительной коробки. Действия повторяются: сначала соседние розетки, затем – далее по сети. Рано или поздно наступит ясность – на какой линии или в какой распределительной коробке имеется разрыв нуля.
Случается и так, что на нулевой шине был ненадёжно закреплен только один проводник, который в составе кабеля далее идет в какое-то помещение или на конкретную розеточную группу.
Тогда, понятно, область неполадок будет распространяться только на эту линию. Все остальные розетки и осветительные приборы, подключенные к другим линиям, будут в рабочем состоянии.
И даже на одной какой-то линии, имеющей две или более распределительных коробки, возможна локализация такого повреждения. Как наверное, уже понятно, причиной тому может стать разрыв нулевого проводника именно в распределительной коробке. При этом все остальные точки подключения этой же линии, но коммутированные на других распределительных коробках, останутся в рабочем состоянии.
А происходит это чаще всего или из-за обветшалости проводки. Или из-за некачественного выполнения соединения проводов в коробке. Особо это характерно для тех домов или квартир, где пока в эксплуатации остается алюминиевая проводка. Алюминий – металл очень мягкий и даже, как говорят, «плывущий». То есть даже надежные, казалось бы, скрутки или клеммные соединения начинают ослабевать и требуют подтяжки.
Кроме того, слой окислов на его поверхности создает немалое дополнительное сопротивление. А это ведет к нагреву соединений, появлению искрения и как следствие – полному пропаданию контакта. Так что это – лишний повод задуматься о полной смене проводки на качественные медные кабели.
Каким должен быть кабель для качественной проводки в квартире или доме?
Ответ однозначный – только медный. Кстати, о том же категорично говорят и действующие, законодательно утвержденные нормы и правила. Как правильно – читайте в специальной публикации нашего портала.
Кстати, и с медными проводами некоторые мастера чудят так, что просто удивительно, как домашняя электросеть еще работает. Так что проверка распределительных коробок и приведение их в полный порядок – одна из ключевых мер по недопущению пропадания нуля.
Гораздо сложнее бывает найти место обрыва нуля, если он произошёл на скрытых участках проводки, вмурованных в стену. Здесь придется больше потрудиться для локализации возможного аварийного отрезка, выполнить прозвон скрытых участков.
Да и восстановление будет связано с более масштабными работами – вскрытием старой проводки и проведением замены.
Правда, сам по себе провод, заключенный в стену, обламывается или обрывается крайне редко. Чаще этому способствуют непродуманные действия хозяев квартиры. В частности, сверление отверстий в стенах на явно опасных участках, без предварительной проверки на наличие проводки.
Что произойдет, если вы подключите двигатель 3-Φ к однофазной сети?
Что произойдет с асинхронным двигателем 3-Φ (400 В) при подключении к однофазной сети (230 В)?
Как следует из названия, трехфазный асинхронный двигатель должен быть подключен к трем фазам (линиям) для правильной работы, при этом каждая фаза действует как обратный путь для тока из трех фаз. Но что, если нам нужно, чтобы трехфазный двигатель работал от однофазной сети? Что ж, Ответ 1: Нет: Нельзя и 2: Да! Ты сможешь.
При прямом подключении однофазного источника питания к трехфазному асинхронному двигателю для различных сценариев будут получены следующие результаты:
Если двигатель остановлен:
Двигатель вообще не запускается и останавливается, поскольку в однофазной системе питания нет равномерного крутящего момента и RMF (вращающегося магнитного поля).
Вот почему однофазные двигатели не запускаются самостоятельно. В этом случае двигатель может начать дымить и гореть из-за большой величины тока в короткозамкнутых пазах обмотки ротора.Если имеется надлежащая схема защиты, тепловое реле, предохранитель или автоматический выключатель могут отключить двигатель от источника питания.
Если двигатель работает:
Если двигатель запускается и работает из-за фазовращателя, частотно-регулируемого привода или пусковых/рабочих конденсаторов в одной из катушек, двигатель все равно будет работать, но с меньшей выходной мощностью и эффективностью, а также с гудящим шумом и вибрацией. Кроме того, скорость двигателя будет ниже, так как однофазное напряжение меньше, чем трехфазное напряжение, где скорость двигателя зависит от напряжения питания.
Если вы все еще хотите запустить двигатель:
Вы можете сделать это, используя конденсатор фазовращателя (в соответствии с номинальным значением) в одной из последовательных обмоток (в основном в соединении треугольником), или поворотный фазоинвертор, или самые последние и надежные ЧРП (преобразователь частоты).
Вручную вы можете покрутить двигатель (после подключения трехфазного двигателя 400 В к однофазному 230 В), и он будет работать в этом направлении, но с меньшим КПД, мощностью и крутящим моментом. Это возможно только в том случае, если двигатель рассчитан как на однофазное, так и на трехфазное питание (звезда/треугольник). e.г. Система питания 400В/230В.
Похожие сообщения:
В заключение, вы не можете запустить двигатель 3-Φ на двигателе 1-Φ без какого-либо фазовращателя, такого как конденсатор. В этом случае двигатель выйдет из строя из-за чрезмерного тока при отсутствии защиты, в противном случае сработают защитные автоматические выключатели. Если вы все же хотите управлять трехфазным двигателем от однофазного источника питания, вы должны использовать частотно-регулируемый привод, фазовращатель / преобразователь или просто конденсатор, который используется для создания разности фаз (конденсатор используется для той же цели, что и в потолочный вентилятор).
В основном небольшие двигатели соединены звездой «Y». В случае соединения треугольником конденсатор может быть подключен к свободной ветви, так как фаза подключается к первой клемме, нейтральная верхняя вторая клемма. Если вы хотите изменить направление или вращение двигателя, вы можете просто изменить фазу на другую клемму и подключить конденсатор к новой свободной ветви треугольника.
Метод статического конденсатора используется для двигателей малого диапазона. В методе запуска конденсатора с пусковым конденсатором пусковой конденсатор подключается параллельно свободной ветви соединения треугольником (фаза и нейтраль подключаются к трем клеммам, поэтому третья свободна).Когда двигатель запускается, пусковой конденсатор отключается, а рабочий конденсатор все еще подключен (обратите внимание, что рабочий конденсатор не является обязательным).
Имейте в виду, что описанный выше метод не подходит для постоянной работы двигателя, поскольку он сокращает срок службы двигателя, поскольку в такой конфигурации активны только две фазы (из трех). Кроме того, эффективность двигателя может быть снижена на 1/3 rd до 2/3 rd ). Например, КПД и выходная мощность трехфазного 5кВт (6.7 л.с.) будет уменьшена с 3,33 кВт (4,46 л.с.) до 1,66 кВт (2,22 л.с.). Короче говоря, работа трехфазного двигателя от однофазной сети с помощью статического конденсатора применима только для временных применений.
Похожие сообщения:
Номинал конденсатора фазовращателя:Значение пускового конденсатора в качестве фазовращателя можно рассчитать по следующей формуле.
C = 1950 x (I e / U e ) x CosΦ
или
C = 50 x л.с. x (220/В) 2 x 50/ f
C = 32 x P x (220/В) 2 x 50/ f
Где:
- C = емкость конденсатора в мкФ
- I e = Номинальный ток
- U e = номинальное напряжение
- В = 1-Φ Напряжение
- CosΦ = коэффициент мощности
- л.
с. = мощность двигателя в л.с. - P = Мощность в кВт
- f = Частота питания
Как правило
- Значение фазовращателя для двигателя в качестве пускового конденсатора = пусковой конденсатор = 50-100 мкФ на л.с. или 746 Вт.
- Значение фазовращателя для двигателя в качестве рабочего конденсатора = 12-16 мкФ на л.с. или 746 Вт.
Показывает, что значение рабочего конденсатора в микрофарадах в 4-5 раз меньше значения пускового конденсатора. Имейте в виду, что вы можете использовать только неполяризованные конденсаторы, предназначенные для переменного тока, и номинал должен быть на 5-20% выше, чем напряжение питания двигателя.
Похожие сообщения:
Электрическое преобразование, однофазное, трехфазное питание
В дополнение к обеспечению того, чтобы частота генератора соответствовала частоте сети или устройств, также должны быть выполнены следующие условия:
(a) Выходное напряжение генератора должно соответствовать рабочему напряжению сети или устройств, питаемых от генератор.
(b) Не должно быть разности фаз между напряжением сети и напряжением генератора.
Чтобы понять преобразование трехфазного генератора в однофазный и наоборот, давайте сначала кратко рассмотрим внутреннюю конфигурацию этих двух типов генераторов.
Однофазные генераторы:
В однофазном генераторе статор имеет ряд обмоток, соединенных последовательно, образуя единую цепь, в которой генерируется выходное напряжение.
• Одинаковое напряжение на всех обмотках статора в фазе друг с другом
Например, в 4-полюсном генераторе четыре полюса ротора равномерно распределены по раме статора. В любой момент времени каждый полюс ротора находится в том же положении относительно обмоток статора, что и любой другой полюс ротора. Следовательно, напряжения, индуцируемые во всех обмотках статора, имеют одинаковое значение и амплитуду, а также находятся в фазе друг с другом в каждый момент времени.
• Последовательное соединение обмоток статора
Кроме того, поскольку обмотки соединены последовательно, напряжения, создаваемые в каждой обмотке, складываются, чтобы получить конечное выходное напряжение генератора, которое в четыре раза превышает напряжение на каждой из отдельных обмоток статора.
Однофазное распределение электроэнергии обычно используется в жилых районах, а также в сельской местности, где нагрузки небольшие и редкие, а стоимость установки трехфазной распределительной сети высока.
Трехфазные генераторы:
В трехфазном генераторе три однофазные обмотки расположены так, что имеется разность фаз 120° между напряжениями, индуцируемыми в каждой из обмоток статора. Три фазы независимы друг от друга.
• Звезда или конфигурация Y
При соединении звездой или звездой один провод от каждой обмотки соединяется с нейтралью. Противоположный конец каждой обмотки, известный как конечный конец, каждый подключается к клемме линии. Это создает линейное напряжение больше, чем отдельное напряжение на каждой обмотке.
• Дельта-конфигурация
В конфигурации «треугольник» начальный конец одной фазы соединяется с конечным концом соседней фазы.Это создает линейное напряжение, равное фазному напряжению. Электроэнергетические предприятия и коммерческие генераторы производят трехфазную электроэнергию.
Преобразование фаз в генераторах:
(1) Изменение конфигурации соединения катушки
Трехфазный генератор можно преобразовать в однофазный, изменив соединение между его обмотками статора внутри или снаружи головки генератора. Например, в случае трехфазного генератора у вас будет 6 выводов. Большие генераторы обычно имеют 12 выводов от шести катушек, и все провода выходят из генератора, что упрощает настройку генератора различными способами, как показано ниже —
• Последовательное соединение катушек преобразует генератор в однофазный один.
• Соединив противоположные катушки последовательно, можно удвоить выходное напряжение.
• Параллельное соединение удвоит ток.
Сложная часть перенастройки генератора заключается в сопоставлении проводов, выходящих из генератора, с катушками, к которым они подключены. Необходимо иметь документы производителя. В противном случае вам нужно будет изучить, как в настоящее время подключен ваш генератор, и работать в обратном направлении.
(2) Однофазные нагрузки с отводом от середины к трехфазным генераторам
Трехфазный генератор можно рассматривать как комбинацию трех однофазных блоков.Однофазные нагрузки можно подключить к трехфазному генератору одним из следующих способов –
• Подключить нагрузку между фазным проводом и нейтралью системы. Обычно это делается для маломощных нагрузок.
• Подключите нагрузку к двум проводникам под напряжением в междуфазном соединении. Обычно это делается для мощных нагрузок, таких как кондиционеры или обогреватели, и обеспечивает 208 В. Однако это может привести к снижению производительности, поскольку устройства, требующие для работы 240 В, будут работать на 75% от их номинальной мощности при 208 В.
(3) Фазовые преобразователи:
Вращающийся фазовый преобразователь (RPC) может быть напрямую подключен к однофазному генератору для получения трехфазного источника питания. Для этого требуется простая конфигурация, включающая два входных соединения, известных как холостые входы от однофазного генератора.
На третьей клемме возникает напряжение, не подключенное к однофазной сети. Наведенное напряжение отличается по фазе от напряжения на двух других клеммах на 120°.
(4) Преобразователи частоты (VSD) / частотно-регулируемые приводы (VFD) / инверторы
Они похожи на вращающиеся фазовые преобразователи.Комбинация частотно-регулируемого привода и однофазного генератора наиболее эффективна в случаях, когда требуется мощность менее 20 л.с.
Выбор между однофазными и трехфазными генераторами
Мощность однофазных генераторов обычно ограничивается 25 кВА. При более высоких номиналах дешевле получать однофазное питание от трехфазного генератора, чем покупать специальные однофазные блоки для более высоких нагрузок. Прочтите следующую статью «Советы по покупке подержанных генераторов», чтобы найти подходящий генератор для любой ситуации.
Выбор между однофазным и трехфазным выходом зависит исключительно от типа питаемого приложения. Однофазные генераторы лучше всего подходят для однофазного выхода, тогда как трехфазный генератор может легко обеспечить как однофазную, так и трехфазную мощность.
Если все ваши электроприборы работают от однофазной сети, имеет смысл выбрать однофазный генератор. Если вам необходимо эксплуатировать приборы, работающие на разных фазах, лучше всего вам подойдет трехфазный генератор.Однако важно учитывать баланс нагрузки при преобразовании однофазного генератора в трехфазный агрегат.
Трехфазное питание или волшебство отсутствующей нейтрали
Мало что может вызвать столько путаницы, как трехфазное питание, особенно в конфигурации треугольника. Сантехники и автолюбители: ликуйте! В этом посте мы представим сантехнику (и автомеханику) версию трехфазной системы питания.
Представьте себе систему водоснабжения переменного тока, которая подает чередующиеся импульсы давления воды и вакуума в замкнутой системе с использованием двух труб.Вода поступает в ресивер (какой-то гидравлический двигатель) по одной трубе (назовем ее А), а затем обратно к источнику по другой трубе (назовем ее Н). Каждые несколько секунд направление потока воды меняется на противоположное.
Вы можете представить себе две трубы, идущие к двум концам цилиндра, толкающие и тянущие поршень в одноцилиндровом двигателе, преобразующие импульсы воды в полезную работу.
Система водоснабжения переменного тока
Теперь представьте, что вы хотите увеличить мощность в три раза.Вам потребуется три таких системы (A, B и C, всего шесть труб, A-N1, B-N2 и C-N3).
Вы можете запускать три пары синхронно (вода течет с одинаковой скоростью и направлением в любой момент времени во всех трубах A/B/C и во всех трубах N1/N2/N3) или вы можете запускать их не синхронно (например, полная скорость в одном направлении, B собирается дать задний ход и C движется на полной скорости в обратном направлении). Обратите внимание, что если все системы имеют одинаковые потоки (за исключением разного времени), когда N1 течет в одном направлении, N2 и N3 текут в противоположном направлении.Более того, если вы рассинхронизируете их ровно на ⅓ цикла каждую, поток в N-трубках фактически нейтрализуется, и вам вообще не нужны N-трубки (или, может быть, вы используете только одну общую N-трубку вместо нее).
из трех, чтобы позаботиться о любых дисбалансах в потоке через A-трубы, которые не компенсируются полностью).
Одинарная трубка N
Трубка N отсутствует
Та же идея работает для трех электрических цепей.Вот почему трехфазное питание так популярно. Он позволяет передавать такое же количество энергии с меньшим количеством проводов, в некоторых случаях на 50 % меньше (используя 3 провода вместо 6). Чтобы он работал, вам нужны три синхронизированных источника питания (три «фазы», обычно называемые X, Y и Z), сдвинутые на ⅓ цикла. Обычная труба «B» в этом расположении является «нейтральной».
Если вы используете только «трубы А», это называется соединением «треугольник» (треугольник). В этой конфигурации вы полностью пропускаете «трубу B» — «нейтраль» волшебным образом исчезает! В трехфазном соединении треугольником вы используете 3 силовых проводника (обычно обозначенных X, Y и Z).У вас также может быть 4-й заземляющий провод для безопасности.
Это то, что электрики называют 3-полюсным 3-проводным соединением (3P3W, без заземления) или 3-полюсным 4-проводным соединением (3P4W, с заземлением).
Если вы используете три «трубы А» и общую трубу «В», это называется соединением Y («звезда») (три ноги плюс центр). В Y-соединении вы используете 4 силовых проводника (обозначенных X, Y, Z и N) и дополнительный 5-й заземляющий провод для безопасности. Так электрики называют 4-полюсное 4-проводное соединение (4P4W, без заземления) или 4-полюсное 5-проводное соединение (4P5W, с заземлением).
3-фазные системы питания: Y (звезда) и треугольник
При трехфазном питании у вас есть два способа подключения традиционной двухпроводной нагрузки, такой как лампочка или сервер. В системе Y вы можете подключить ее между любой фазой (X, Y или Z) и нейтралью (N). В системах Y и Delta вы также можете подключить его между любыми двумя фазами (X-Y, Y-Z или Z-X).
В трехфазной системе напряжение между любыми двумя фазами в 3 раза выше напряжения отдельной фазы в 1 раз.
73 (квадратный корень из 3, если быть точным). Если ваше напряжение X-N (а также Y-N и Z-N) составляет 120 В (распространено в США), напряжения X-Y (а также Y-Z и Z-X) (также известные как «перекрестные» напряжения) будут 120 В * 1,73 = 208 В. Напряжение 208 В (иногда его путают с европейским напряжением 220 В) происходит от перекрестного соединения фаз с трехфазной системой 120 В. Система 220 В с тремя фазами 220 В имеет перекрестное напряжение 220 * 1,73 = 380 В.
Packet Power поддерживают трехфазное питание в конфигурациях «звезда» и «треугольник» и измеряют все ключевые параметры каждой отдельной фазы в цепи, а также общую мощность и энергопотребление.Отправьте электронное письмо по адресу [email protected] , если вам нужна дополнительная информация.
Если вы нашли эту информацию полезной, вам также могут быть интересны несколько последних сообщений в блоге.
Вольты, амперы, ватты, ватт-часы и стоимость
Коэффициент мощности: разница между обещаниями и реальностью
DC в DC
Однофазный и трехфазный ИБП: в чем разница и как выбрать?
При покупке ИБП для вашего бизнеса или организации следует учитывать множество факторов, среди которых выбор источника питания между однофазным ИБП и трехфазным ИБП является главным.
Хотя оба ИБП обеспечивают стабильное резервное питание в непредвиденных ситуациях, они выполняют разные функции. Вот краткое введение однофазного и трехфазного для тех, кто не знаком с их различием.
Что такое фаза в электрических терминах?
Если вы новичок в мире электроэнергии, вы можете немного знать о термине фаза. Фаза, по своей сути, представляет собой распределение электроэнергии, которое показывает, что источник питания переменного тока (AC) изменяется в зависимости от периода времени.Электропитание бывает однофазным, двухфазным и трехфазным.
Однофазное напряжение обычно называют «бытовым напряжением», потому что оно широко распространено в домах. Например, микроволновая печь, кофемашина, домашний компьютер могут быть однофазными устройствами. В разных регионах есть сходство для однофазных соединений: для замыкания цепи требуется два провода (один провод напряжения и один провод нейтрали). На рисунке ниже показан ток в однофазной сети переменного тока.
Рисунок 1: Однофазное питание переменного тока
Двухфазный в основном то же самое, что и однофазный, который состоит из переменного тока с двумя проводами. Его также называют расщепленной фазой. Питание подается от одной из двух силовых цепей 120 В в нагрузках, использующих цепи малой мощности, такие как свет, телевидение и т. Д. В настоящее время трехфазные системы заменили первоначальные двухфазные системы электропитания для передачи и использования энергии.
Трехфазное питание содержит либо 3 провода под напряжением, либо 4 провода (3 фазных провода и нейтральный), обеспечивающие три переменного тока, разделенных по фазе.Суммарные нагрузки распределяются между тремя проводами. В большинстве коммерческих зданий в Северной Америке используются трехфазные четырехпроводные схемы питания.
Рисунок 2: Трехфазное питание переменного тока
Система ИБП — однофазный ИБП или трехфазный ИБП?
Блоки ИБП бывают двух разных форматов: однофазные и трехфазные.
Общие конфигурации фаз для ИБП показаны в следующей таблице:
| Вход | Вывод | Номенклатура | Напряжение сети США |
|---|---|---|---|
| 1 фаза | 1 фаза | 1/1 | 120/120 В переменного тока, 60 Гц |
| 3 фазы | 1 фаза | 3/1 | 220/120 В переменного тока, 60 Гц |
| 3 фазы | 3 фазы | 3/3 | 220/208 В переменного тока, 60 Гц |
Однофазная система ИБП (1/1)
Как показано на диаграмме, однофазные ИБП имеют один вход и выход 120 В переменного тока (для Канады и США).С.). Однофазная установка состоит из двух проводов, где переменное напряжение представляет собой одиночную синусоиду. Стандартное напряжение одной фазы различается в разных странах или регионах. Стандартное однофазное напряжение в Америке составляет 120 В, а в Европе, Азии или других регионах в качестве стандартного напряжения используется 230 В.
Трехфазная система ИБП (3/1 и 3/3)
Трехфазные ИБП можно разделить на системы ИБП с трехфазным входом/трехфазным выходом и системы с трехфазным входом/однофазным выходом.Если вам необходимо подключиться к трехфазной сети, вам потребуется ИБП с конфигурацией 3/x. ИБП 3/1 потребляет 3-фазное питание, но подает одну фазу на нисходящую нагрузку, в то время как ИБП 3/3 не только принимает, но и отдает 3-фазное питание.
В чем разница между однофазным и трехфазным ИБП?
Основное различие между однофазным ИБП и трехфазным ИБП заключается в следующих моментах:
Проводник: количество проводников в однофазной и трехфазной системе различается.Однофазный ИБП содержит один проводник, тогда как трехфазный ИБП подает питание по трем проводникам.
Синусоидальная волна: однофазный ИБП обеспечивает одну синусоидальную волну, тогда как трехфазный ИБП обеспечивает три синусоидальных волны, каждая из которых не совпадает по фазе и разнесена на 120° друг от друга.

Напряжение: однофазное напряжение составляет 120 В в Северной Америке, в то время как межфазное напряжение для трехфазной системы составляет 220 В, а фазное напряжение составляет 120 В.
Техническое обслуживание: характеристика plug and play однофазного ИБП упрощает его установку и настройку по сравнению с трехфазным аналогом без необходимости внешней установки.
Эффективность: при низком энергопотреблении однофазный ИБП более эффективен, чем трехфазный ИБП. Но когда потребность в мощности выше, трехфазные ИБП демонстрируют большую эффективность, чтобы нести большую нагрузку более безопасным образом.
Стоимость: оборудование в трехфазной системе ИБП будет иметь более длительный срок службы, а линии передачи для трехфазного питания не нуждаются в медных проводах большого сечения, как однофазные ИБП, поэтому в долгосрочной перспективе трехфазные ИБП сэкономят больше денег.
Применение: Однофазные ИБП доступны в тех случаях, когда требуется меньше кВА, как правило, менее 20 кВА, таких как дома, малый бизнес и офисы-спутники.
Трехфазные ИБП обычно используются в крупных установках, таких как центры обработки данных, а также в крупных промышленных энергетических установках с более высокими требованиями к мощности.
Как выбрать между однофазным ИБП и трехфазным ИБП?
Следует ли выбирать однофазную систему ИБП или трехфазную систему ИБП, зависит от потребности в электроэнергии ваших приложений, а также от того, к какому источнику питания подключено оборудование. Вам нужно будет подтвердить нагрузку, которую ИБП будет защищать, и получить доступ к их диапазону напряжения.Как правило, нагрузки менее 20 кВА могут безопасно использовать однофазные ИБП, а более крупные нагрузки обычно используют трехфазные ИБП. После того, как вы отключите 3-фазный ИБП, последующие нагрузки, которые защищает ИБП, будут решать, какой ИБП 3/1 или 3/3 является наиболее подходящим. Если вас интересует, как рассчитать ваши потребности в ИБП, вы можете дополнительно обратиться к разделу «Как определить требуемую мощность ИБП?».
Причины, следствия и методы защиты
Для правильной работы любого 3-фазного асинхронного двигателя он должен быть подключен к 3-фазному источнику переменного тока (переменного тока) с номинальным напряжением и нагрузкой.После запуска эти трехфазные двигатели будут продолжать работать, даже если одна из трехфазных линий питания будет отключена. Потеря тока через одну из этих фаз питания описывается как однофазное.
Корабль оснащен сотнями двигателей, которые отвечают за работу различных насосов, механизмов и систем. К критически важным механизмам, таким как рулевой механизм, главный двигатель, генератор, котел и т. д., подключены трехфазные двигатели, которые приводят в действие ту или иную основную или вспомогательную систему.
Связанные материалы: Электрическая силовая установка для судов
Трехфазный двигатель 440 В, как правило, представляет собой стандартный асинхронный двигатель с короткозамкнутым ротором, предназначенный для переменного тока 440 В, 3 фазы, 60 Гц.
Только двигатели малой мощности 0,4 кВт или меньше, в основном используемые для освещения и других маломощных систем, представляют собой однофазные двигатели с рабочим напряжением 220 В 60 Гц.
Связанные материалы: Понимание важности морских навигационных огней
Причины однофазностиОднофазное замыкание — электрическая неисправность, связанная с источником питания, в случае асинхронного двигателя.Возникает при размыкании одной из 3-х фазных цепей в трехфазном двигателе; следовательно, в остальных цепях протекает избыточный ток. Это состояние однофазного подключения обычно возникает, когда:
– Перегорает один или несколько из трех резервных предохранителей (или расплавляется проволока предохранителя, если предохранитель проволочного типа)
– В цепи двигателя есть контакторы, подающие ток. Один из контакторов разомкнут.
– Неправильная или неправильная настройка любого из защитных устройств, предусмотренных на двигателе, также может привести к однофазному соединению.
– Если процедуры контактора не выполняются регулярно, они могут покрыться или покрыться окислительным слоем, что приведет к однофазному включению.
— Контакты реле двигателя повреждены или сломаны
— Обрыв одного из проводов цепи двигателя
– Из-за отказа оборудования системы подачи
– Из-за короткого замыкания в одной фазе двигателя, соединенного по схеме «звезда» или «треугольник»
Связанные материалы: Пусковые панели двигателей на судах: техническое обслуживание и регламент
– Перегорел предохранитель фидера или трансформатора
Эффект однофазности
Как упоминалось ранее, трехфазный двигатель — это двигатель переменного тока, предназначенный для работы от трехфазного источника питания.Конструкция обоих типов двигателей одинакова, поскольку они оба имеют статор и вращатель. Однофазный двигатель не имеет вращающегося поля, а поворачивается на 180 градусов. Обычно однофазные двигатели не запускаются самостоятельно.
Для этого они используют дополнительные средства, такие как отключение пусковой обмотки или конденсатора.
Проблема с одной фазой на трехфазном асинхронном двигателе будет иметь следующие последствия:
– Если двигатель находится в остановленном состоянии, его нельзя запустить, так как однофазный двигатель не может быть самозапускающимся (как объяснялось выше), а также из-за системы безопасности, предусмотренной в трехфазном двигателе для защиты от перегрева
— Если во время работы двигателя произойдет однофазное замыкание, он будет продолжать работать (если не предусмотрено дополнительной системой защитного отключения) из-за крутящего момента, создаваемого оставшимися двумя фазами, который создается в соответствии с требованием нагрузки.
— Поскольку оставшиеся две фазы выполняют дополнительную работу одной фазы по умолчанию, они будут перегреваться, что может привести к критическому повреждению обмоток
– Единичная фаза приведет к увеличению текущего потока на 2.
4-кратное среднее значение тока в оставшихся двух фазах
Связанное Чтение: 10 способов достижения энергоэффективности в электрической системе корабля
— Однофазное соединение снижает скорость двигателя, и его обороты будут колебаться
– Шум и вибрация двигателя будут ненормальными. Это результат неравномерного крутящего момента оставшихся двух фаз
— Почти вся двигательная система корабля имеет резервную схему.Если двигатель выбран в режиме ожидания с проблемой однофазного включения — он не запустится, что приведет к отказу соответствующей системы
– Если проблема не будет устранена, а работа двигателя будет продолжена, обмотки расплавятся из-за перегрева и могут привести к короткому замыканию или заземлению
Связанное чтение: Как найти замыкание на землю на борту корабля?
— В таком состоянии, если экипаж корабля соприкоснется с мотором, он получит удар током, который может быть даже смертельным.
Перегрев обмотки происходит в первую очередь из-за протекания тока обратной последовательности.
– Может вызвать перегрузку силовой установки, т. е. вспомогательного двигателя и его генератора
Как защитить двигатель от повреждения из-за однофазного включения?Такое состояние требует, чтобы двигатель был снабжен защитой, которая отключит его от системы до того, как двигатель будет необратимо поврежден.
Все двигатели мощностью более 500 кВт должны быть оснащены защитными устройствами или оборудованием для предотвращения любого повреждения из-за однофазного включения.
Изложенное выше правило не распространяется на двигатели рулевого привода, установленные на судне. Только при обнаружении одиночной фазы подается сигнал тревоги; однако двигатель не остановится, поскольку непрерывная работа рулевого двигателя необходима для обеспечения безопасности или движения судна, особенно когда судно находится в перегруженных водах или маневрирует.
Связанное Чтение: 8 общих проблем, обнаруженных в системе рулевого управления судов
Наиболее часто используемые защитные устройства для однофазной сети:
1) Электромагнитное устройство защиты от перегрузки
В этом устройстве все три фазы двигателя снабжены реле перегрузки.Если происходит увеличение значения тока, то это реле срабатывает автоматически и двигатель отключается.
Это устройство работает на принципе электромагнитного эффекта, создаваемого током.
По мере увеличения значения тока электромагнит в катушке также увеличивается, что приводит в действие реле и активирует реле отключения, и двигатель останавливается.
Связанные материалы: Техническое обслуживание электрического реле в электрической цепи судна
В этой системе предусмотрена временная задержка, так как при запуске двигатель потребляет большие токи, которые могут отключить двигатель.
2) Термисторы
Кредит: Викимедиа
Термисторы представляют собой небольшие тепловые устройства, которые используются вместе с электромагнитным реле перегрузки.
Термисторы вставлены в три обмотки двигателя. Любое увеличение тока вызовет нагрев обмоток, который обнаруживается термисторами, посылающими сигналы на усилитель.
Связанные материалы: Цепь усилителя или операционный усилитель, используемый на корабле
Усилитель подключен к электромагнитному реле.Как только от терморезистора поступает сигнал о перегреве, этот усилитель увеличивает значение тока в катушке электромагнитного реле, которое срабатывает на отключение и двигатель останавливается или отключается.
3) Биметаллическая полоса
Кредит: Викимедиа
В этом методе биметаллическая пластина размещается таким образом, чтобы обнаруживать перегрев в цепи. Как только обнаруживается перегрев, эта биметаллическая полоса пытается расшириться из-за использования двух разных металлов и из-за того, что они имеют разный коэффициент расширения.Лента пытается согнуться в сторону металла с высоким коэффициентом расширения и, наконец, замыкает цепь отключения, и двигатель отключается.
4) Стандартная защита пускателя двигателя от перегрузки
Предусмотрен в трехфазном двигателе для обеспечения однофазного режима. Нагреватели перегрузки предусмотрены во всех фазах, которые обнаруживают любую перегрузку в фазе, и, если нагрузка намного превышает спецификации для двигателя, нагреватели отключают пускатель до того, как обмотка двигателя будет повреждена.
Как определить однофазное замыкание?Экипаж корабля должен знать, перешел ли двигатель в однофазный режим. Трехфазный асинхронный двигатель обычно снабжен устройством обнаружения перегрузки для однофазного обнаружения. Тем не менее, машина может выйти из строя в любой момент, и, как опытный судовой механик, он должен знать, как двигатель обычно звучит, ощущается или работает.
Связанные материалы: 10 электромонтажных работ, которые должны знать морские инженеры на борту судов
При проверке судового двигателя важно сохранять бдительность, чтобы обнаружить проблемы, связанные с однофазным питанием:
– Необычный гудящий шум, исходящий от двигателя
– Двигатель вибрирует с большей частотой, чем обычно
– Запах горячей и горелой меди (изоляция) (узнайте, как проверка изоляции с помощью мегомметра помогает предотвратить несчастный случай)
– Видимый легкий дым/дым из корпуса двигателя
Для устранения неполадок и повторного запуска двигателя с однофазного на трехфазный немедленно остановите двигатель и переключитесь на резервный двигатель.
Проверьте параметры двигателя, указанные на табличке, прикрепленной к корпусу, и устраните неполадки в двигателе.
Проведите надлежащий визуальный осмотр обмотки двигателя и проверьте целостность цепи заземления и проверку сопротивления . Проверка источника питания двигателя также выполняется для выявления проблемы, если двигатель не диагностирует неисправность.
Связанные материалы: Как ремонтировать двигатели на кораблях
Как только проблема обнаружена и устранена, упакуйте двигатель. Перед подключением двигателя к нагрузке включите управление двигателем и выполните пробный пуск двигателя по всем важным параметрам (например,г. напряжение, ток, скорость вращения, температура и т. д.) и сравните со значениями, указанными на табличке.
Убедитесь, что все размеры соответствуют спецификациям на паспортной табличке. Когда пробный запуск двигателя на холостом ходу будет удовлетворительным, подключите нагрузку и отслеживайте работу двигателя, чтобы убедиться, что проблема устранена, и теперь двигатель работает эффективно в 3 фазах.
Вы также можете прочитать – Что такое морское электричество и как его производят?
Отказ от ответственности: Мнения авторов, выраженные в этой статье, не обязательно отражают взгляды Marine Insight. Данные и диаграммы, если они используются в статье, были получены из доступной информации и не были подтверждены каким-либо установленным законом органом. Автор и компания Marine Insight не претендуют на точность и не несут за это никакой ответственности. Взгляды представляют собой только мнения и не представляют собой каких-либо руководящих указаний или рекомендаций относительно какого-либо курса действий, которым должен следовать читатель.
Статья или изображения не могут быть воспроизведены, скопированы, переданы или использованы в любой форме без разрешения автора и Marine Insight.
Параллельные трансформаторы – Руководство электрика по однофазным трансформаторам
Может наступить момент, когда ваш трансформатор приблизится к полной нагрузке.
На данный момент у вас есть два варианта.
Замените трансформатор на более мощный.
Параллельно в новый трансформатор.
Иногда более практично подключить новый трансформатор параллельно, так как время простоя в работе минимально.
Три правила и истина (для распараллеливания)
Перед параллельным подключением трансформаторов необходимо выполнить три условия.
1. Трансформаторы должны иметь одинаковое первичное и вторичное напряжение.
Если номинальное напряжение трансформаторов неодинаково, большие блуждающие токи будут протекать как в первичной, так и во вторичной обмотках. Циркуляционные токи — это токи, протекающие между двумя трансформаторами, но не через нагрузки.Меньший трансформатор будет работать как нагрузка на больший трансформатор. Из-за низкого сопротивления обмотки трансформатора циркулирующие токи могут оказаться довольно большими и опасными.
Несмотря на то, что напряжения, индуцируемые во вторичных обмотках трансформаторов, являются переменными, в каждой из вторичных обмоток текут одни и те же циркулирующие токи.
Любой ток, протекающий во вторичной обмотке трансформатора, должен быть согласован с током в первичной обмотке, чтобы в первичных обмотках создавалось надлежащее CEMF.Ток в первичной обмотке равен току вторичной обмотки, деленному на коэффициент витков. Это означает, что циркулирующие токи, пропорциональные токам во вторичных обмотках, также будут протекать в первичных обмотках.
2. При подключении необходимо соблюдать полярность клемм трансформаторов.
Это по-прежнему позволяет параллельно подключать трансформатор с вычитающей полярностью к трансформатору с аддитивной полярностью, если убедиться, что соединительные клеммы имеют одинаковую мгновенную полярность.
Рисунок 10. Циркуляционные токиМожно заменить вторичные обмотки трансформатора батареями, чтобы проанализировать, что произойдет, если не соблюдать правильную полярность. На рисунке 11 показаны две батареи с одинаковым напряжением, соединенные неправильно параллельно.
Аккумуляторы действуют так, как будто они соединены последовательно друг с другом, и только сопротивление самих обмоток будет ограничивать ток.Этот ток будет довольно большим и скорее всего превысит номиналы обмоток и сгорит трансформатор.
Опять же, любой ток, протекающий во вторичной обмотке трансформатора, должен быть согласован с током в первичной обмотке, чтобы в первичных обмотках создавалось надлежащее CEMF. Ток в первичной обмотке равен току вторичной обмотки, деленному на коэффициент витков.
Вы должны убедиться, что мгновенная полярность всех клемм, соединенных вместе, всегда одинакова.
3. Все трансформаторы должны иметь одинаковый процент импеданса.
Подробнее об этом мы поговорим позже. Использование одного и того же импеданса в процентах важно для обеспечения того, чтобы трансформаторы распределяли нагрузку в соответствии со своими возможностями. Например, при условии, что они имеют одинаковый процент импеданса, трансформаторы на 100 кВА и 25 кВА могут быть соединены параллельно, так что трансформатор на 100 кВА всегда будет нести в четыре раза большую нагрузку, чем трансформатор на 25 кВА.
При нагрузке трансформатора напряжение на его клеммах изменяется из-за падения IZ (линейных потерь) в обмотках.Полное сопротивление в процентах — это просто выражение полного сопротивления трансформатора в процентах от номинального полного сопротивления трансформатора при полной нагрузке. Если трансформаторы имеют одинаковые процентные импедансы, то их напряжения на клеммах равны, если трансформаторы несут равный процент их токов полной нагрузки. Это гарантирует, что трансформаторы распределяют нагрузку в соответствии со своими индивидуальными способностями.
Рассмотрим трансформаторы на 100 кВА и 25 кВА, упомянутые ранее. Если эти два трансформатора имеют одинаковый процент импеданса, то вместе они способны питать нагрузку 125 кВА без превышения номинальной мощности любого трансформатора.
Однако, если два трансформатора имеют разные импедансы в процентах, тот, у которого полное сопротивление в процентах меньше, будет перегружен до того, как они достигнут 125 кВА.
Возможно параллельное соединение трансформаторов разной полярности. Вы должны помнить, что вы совмещаете полярности. Ранее мы узнали, что h2 и X1 всегда имеют одинаковую полярность, поэтому очень важно обращать особое внимание на полярность трансформаторов.
При разработке чертежей трансформатора необходимо соблюдать следующую последовательность:
- Вы определяете полярность линии питания.
- Полярность линии питания определяет первичную полярность трансформатора.
- Первичная полярность определяет вторичную полярность трансформатора.
- При подключении убедитесь, что минусы соединены вместе, а плюсы соединены вместе.
В видео ниже показано, как правильно соединить параллельные обмотки.
Проверка напряжения замыкания
Этот тест определяет, была ли соблюдена правильная полярность.

Снова используйте обмотки как батареи для определения мгновенной полярности. Начните с одной стороны вольтметра и продвигайтесь к другой стороне.
- Если соблюдена правильная полярность, вольтметр должен показывать ноль вольт.
- Если цепь неправильно подключена, вы увидите, как суммируются два напряжения. Это вызовет большие циркулирующие токи и каблазальфлам!
На рисунке 12 две батареи соединены параллельно с соблюдением правильной полярности, и с вольтметром, установленным вместо последнего соединения. Напряжение замыкания, измеренное вольтметром, должно быть равно нулю.
Если вы проследите схему, то увидите, что когда батареи правильно подключены, они расположены последовательно, а наоборот.(То есть два напряжения противоположны друг другу.)
На рисунке 6 две батареи соединены параллельно с неправильной полярностью и с вольтметром, установленным вместо последнего соединения, как и раньше.
Теперь он измеряет напряжение закрытия как удвоенное напряжение батареи. Если вы проследите схему, вы увидите, что когда батареи неправильно подключены, они соединены последовательно, что помогает. (То есть два напряжения суммируются.)
На рис. 13 показан вольтметр, используемый для проверки напряжения замыкания на двух трансформаторах, соединенных параллельно.Мгновенная полярность первичной шины изображена как две батареи, чтобы мы могли лучше представить взаимосвязь между двумя обмотками. Начав с одной стороны счетчика и перейдя на другую сторону, мы можем рассчитать, что счетчик будет показывать ноль вольт и его можно будет безопасно подключить.
Рисунок 14. Испытание на замыкание переменного тока kablazalflam На рис. 14 показан вольтметр, используемый для проверки напряжения замыкания на двух неправильно параллельно соединенных трансформаторах. Теперь вольтметр показывает удвоенное вторичное напряжение.
В этом случае не , а не снимите вольтметр и выполните окончательные соединения, иначе вы можете столкнуться с каблазальфламом. Вместо этого вы должны исправить неправильное подключение и повторить тест.
Асимметрия тока и напряжения – причины и меры по устранению
Что такое дисбаланс? Любое отклонение формы волны напряжения и тока от идеальной синусоидальной формы или фазового сдвига называется дисбалансом. В идеальных условиях, т.е. при подключении к системе только линейных нагрузок, фазы источника питания разнесены на 120 градусов по фазовому углу, а величина их пиков должна быть одинаковой.На уровне распределения несовершенства нагрузки вызывают дисбаланс токов, которые передаются на трансформатор и вызывают дисбаланс трехфазного напряжения. Даже незначительная асимметрия напряжения на уровне трансформатора существенно влияет на форму кривой тока на всех подключенных к нему нагрузках. Не только на стороне распределения, но и через трансформатор, асимметрия напряжения также влияет на систему высокого напряжения.
Практические недостатки, которые могут привести к дисбалансу: –
1.Трехфазное оборудование, такое как асинхронный двигатель с дисбалансом в обмотках. Если реактивное сопротивление трех фаз неодинаково, это приведет к различному току, протекающему по трем фазам, и приведет к дисбалансу системы.
– При непрерывной работе физическая среда двигателя вызывает ухудшение характеристик обмоток ротора и статора. Это ухудшение обычно различно в разных фазах, влияя как на величину, так и на фазовый угол формы волны тока.
– Утечка тока из любой фазы через подшипники или корпус двигателя иногда приводит к плавающему заземлению, вызывая флуктуации тока.
2. Любая большая однофазная нагрузка или несколько небольших нагрузок, подключенных только к одной фазе, вызывают больший ток, протекающий от этой конкретной фазы, что приводит к падению напряжения в линии.
3. Коммутация трехфазных тяжелых нагрузок приводит к скачкам тока и напряжения, вызывающим дисбаланс в системе.
4. Неравные импедансы в системе передачи или распределения электроэнергии вызывают дифференциальный ток в трех фазах.
Как рассчитать дисбаланс –Дисбаланс рассчитывается как максимальное отклонение тока в фазе от среднего значения трех фаз.Для расчета процентного отклонения- [1]
Кроме того, дисбаланс также может быть определен количественно путем сравнения силы токов обратной последовательности с токами прямой последовательности. Допустимый предел с точки зрения процента тока обратной последовательности по сравнению с током прямой последовательности составляет 1,3% в идеале, но допустимо до 2%. [2]
Последствия дисбаланса: 1. Дисбаланс снижает КПД двигателя, вызывая дополнительный нагрев двигателя.Вырабатываемое тепло также влияет на срок службы оборудования, повышая рабочую температуру, что приводит к разложению смазки или масла в подшипнике и снижению номинальных характеристик обмоток двигателя.
2. В асинхронных двигателях, подключенных к несимметричному источнику питания, токи обратной последовательности протекают вместе с токами прямой последовательности, что приводит к уменьшению процента полезного тока и снижению КПД двигателя. Любой дисбаланс выше 3% снижает КПД двигателя.
3. Крутящий момент (и, следовательно, скорость), создаваемый двигателем, колеблется.Эти внезапные изменения крутящего момента вызывают усиление вибрации коробки передач или подключенного к ней оборудования. Возникающие вибрация и шум повреждают оборудование, а также снижают его эффективность.
4. Преобразователи частоты или скорости, подключенные к несбалансированной системе, могут отключиться. VFD обрабатывает дисбаланс высокого уровня как обрыв фазы и может отключиться при замыкании на землю или обрыве фазы.
5. Небалансы вызывают снижение номинальных характеристик силовых кабелей и, таким образом, увеличивают потери I2R в кабеле.Для распределительных кабелей коэффициент понижения номинала представляет собой часть общего тока, дающую положительный результат.
6. Источники бесперебойного питания или инверторы также работают с низкой эффективностью и вводят больше гармонических токов в случае дисбаланса в системе.
7. Ток обратной последовательности, протекающий из-за асимметрии, может вызвать неисправности в двигателе, что приведет к отключению или необратимому повреждению электрооборудования.
Количественная оценка потерь-Дисбаланс в 1% допустим, поскольку он не влияет на кабель.Но выше 1% он увеличивается линейно, а при 4% снижение рейтинга составляет 20%. [3] Это означает, что 20 % тока, протекающего по кабелю, будут непроизводительными, и, таким образом, потери в меди в кабеле увеличатся на 25 % при асимметрии 4 %.
1. Для двигателей дисбаланс в 5 % приведет к снижению мощности на 25 %. [4] Это означает, что ток двигателя увеличится в соответствии с потребностями оборудования в крутящем моменте, что приведет к пропорциональным потерям меди в двигателе.
Асимметрия напряжения в 3 % увеличивает нагрев асинхронного двигателя на 20 %. [4]
2. Сопротивление для тока обратной последовательности составляет 1/6 тока прямой последовательности, что означает, что небольшая асимметрия в форме волны напряжения даст больший ток и, следовательно, потери. [4]
Влияние на распределительный трансформатор- Трансформаторобладает высоким реактивным сопротивлением токам обратной последовательности и, таким образом, снижает уровень дисбаланса на другой стороне системы.
– В идеале любой распределительный трансформатор обеспечивает максимальную производительность при нагрузке 50 %, и каждая система распределения электроэнергии рассчитана на это.Но в случае дисбаланса нагрузка превышает 50%, так как оборудование потребляет больше тока.
– Следующие данные представляют эффективность трансформатора при различных условиях нагрузки – [5]
1. Полная нагрузка — 98,1%
2.
Половинная загрузка — 98,64%
3. Неуравновешенные нагрузки- 96,5%
Для распределительного трансформатора мощностью 200кВА вихревые токи составляют 200Вт, но в случае 5% дисбаланса напряжения они могут возрастать до 720Вт. [5]
Меры контроля-1.Все однофазные нагрузки должны быть распределены по трехфазной системе таким образом, чтобы они оказывали равную нагрузку на три фазы.
2. Замена возмущающего оборудования, т.е. с неуравновешенным трехфазным реактивным сопротивлением.
3. Уменьшение гармоник также уменьшает дисбаланс, что можно сделать, установив реактивные или активные фильтры. Эти фильтры уменьшают токи обратной последовательности, вводя компенсирующую волну тока.
4. Если возмущающие нагрузки не могут быть заменены или отремонтированы, подключите их к стороне высокого напряжения, это уменьшит влияние в процентном выражении и даже позволит контролировать помехи на стороне низкого напряжения.
5. Двигатели с несбалансированным реактивным сопротивлением фаз следует заменить и перемотать.
Чтобы определить точные причины дисбаланса, Zenatix рекомендует проводить измерения при разных нагрузках в распределении. Zenatix может собирать данные с высоким разрешением из этих точек измерения и анализировать их, чтобы определить точные причины и меры контроля, которые могут привести к улучшению дисбаланса. Кроме того, такой подробный учет предоставит данные, которые можно использовать для выявления других потерь, происходящих в повседневной работе объекта, что обеспечивает дополнительные преимущества установленного решения.
Практический пример —Для дальнейшего выяснения дисбаланса напряжения и тока были проанализированы трехфазные токи двух клиентов zenatix. Для примера мы можем назвать двух клиентов как client1 и client2.
Сначала снимались показания трехфазных токов с периодичностью 15 минут в течение месяца. Затем нам нужно снять показания и в нерабочее время, так как в это время ток нагрузки будет довольно низким, и, таким образом, небаланс тока всего в 2-3 ампера может показать очень высокий процент небаланса.
После уточнения данных был рассчитан процент дисбаланса путем запуска моделирования в программном обеспечении R. Поскольку все упомянутые показания сняты в течение 15 минут, мы получили показания процентного дисбаланса за весь месяц с периодичностью 15 минут. Затем эти непрерывные показания были нанесены на график.
Только по графику видно, что для клиента1 система более сбалансирована по сравнению с клиентом2. Дальнейший анализ был проведен для получения консолидированных данных о том, что является максимальным дисбалансом, каков средний дисбаланс и какая фаза его вызывает.
Каталожные номера-[1] – Снижение номинальных характеристик асинхронных двигателей, работающих в сочетании с несимметричным напряжением и повышенным или пониженным напряжением – П. Пиллей, заслуженный профессор инженерных наук Джин Ньюэлл, Университет Кларксона, И П. Хофманн, менеджер по качеству электроэнергии, Манхэттен. , Нью-Йорк.
[2] – Предельные значения асимметрии напряжения в системе электроснабжения, Версия 1.

Но, как правило, эти приборы – стационарной установки, и подключаются не через розетки, а непосредственно к подведённым к ним выделенным линиям проводки.