Устройство и принцип работы трансформатора
Здравствуйте, уважаемые читатели сайта sesaga.ru. Продолжаем знакомство с электронными компонентами и в этой статье рассмотрим устройство и принцип работы трансформатора.
Трансформаторы нашли широкое применение в радио и электротехнике и применяются для передачи и распределения электрической энергии в сетях энергосистем, для питания схем радиоаппаратуры, в преобразовательных устройствах, качестве сварочных трансформаторов и т.п.
Трансформатор предназначен для преобразования переменного напряжения одной величины в переменное напряжение другой величины.
В большинстве случаев трансформатор состоит из замкнутого магнитопровода (сердечника) с расположенными на нем двумя катушками (обмотками) электрически не связанных между собой. Магнитопровод изготавливают из ферромагнитного материала, а обмотки мотают медным изолированным проводом и размещают на магнитопроводе.
Одна обмотка подключается к источнику переменного тока и называется
Схематичное устройство простого трансформатора с двумя обмотками показано на рисунке ниже.1. Принцип работы трансформатора.
Принцип работы трансформатора основан на явлении электромагнитной индукции.
Если на первичную обмотку подать переменное напряжение U1, то по виткам обмотки потечет переменный ток Io, который вокруг обмотки и в магнитопроводе создаст переменное магнитное поле. Магнитное поле образует магнитный поток Фo, который проходя по магнитопроводу пересекает витки первичной и вторичной обмоток и индуцирует (наводит) в них переменные ЭДС –
При подключении к вторичной обмотке нагрузки, например, лампы накаливания, в первичной обмотке возникает ток I1, образующий в магнитопроводе переменный магнитный поток Ф1 изменяющийся с той же частотой, что и ток I1.
Под воздействием переменного магнитного потока в цепи вторичной обмотки возникает ток
В результате размагничивающего действия потока Ф2 в магнитопроводе устанавливается магнитный поток Фo равный разности потоков Ф1 и Ф2 и являющийся частью потока Ф1, т.е.
Результирующий магнитный поток Фo обеспечивает передачу магнитной энергии из первичной обмотки во вторичную и наводит во вторичной обмотке электродвижущую силу е2, под воздействием которой во вторичной цепи течет ток I2. Именно благодаря наличию магнитного потока
Из сказанного следует, что при определенных значениях магнитного потока Ф1 и сопротивлений вторичной обмотки и нагрузки устанавливаются соответствующие значения ЭДС е2, тока I2 и потока Ф2, обеспечивающие равновесие магнитных потоков в магнитопроводе, выражаемое формулой приведенной выше.
Таким образом, разность потоков
Величина магнитного потока зависит от создающего его тока и от числа витков обмотки, по которой он проходит.
Напряжение вторичной обмотки зависит от соотношения чисел витков в обмотках. При одинаковом числе витков напряжение на вторичной обмотке будет приблизительно равно напряжению, подаваемому на первичную обмотку, и такой трансформатор называют разделительным
Если вторичная обмотка содержит больше витков, чем первичная, то развиваемое в ней напряжение будет больше напряжения, подаваемого на первичную обмотку, и такой трансформатор называют повышающим.
Если же вторичная обмотка содержит меньшее число витков, чем первичная, то и напряжение ее будет меньше, чем напряжение подаваемое на первичную обмотку, и такой трансформатор называют понижающим.
Следовательно. Путем подбора числа витков обмоток, при заданном входном напряжении U1 получают желаемое выходное напряжение U2
Трансформатор может работать только в цепях переменного тока. Если его первичную обмотку подключить к источнику постоянного тока, то в магнитопроводе образуется магнитный поток постоянный во времени, по величине и направлению. В этом случае в первичной и вторичной обмотках не будет индуцироваться переменное напряжение, а следовательно, не будет передаваться электрическая энергия из первичной цепи во вторичную. Однако если в первичной обмотке трансформатора будет течь пульсирующий ток, то во вторичной обмотке будет индуцироваться переменное напряжение частота которого будет равна частоте пульсации тока в первичной обмотке.
2. Устройство трансформатора.
2.1. Магнитопровод. Магнитные материалы.
Назначение магнитопровода заключается в создании для магнитного потока замкнутого пути, обладающего минимальным магнитным сопротивлением. Поэтому магнитопроводы для трансформаторов изготавливают из материалов, обладающих высокой магнитной проницаемостью в сильных переменных магнитных полях. Материалы должны иметь малые потери на вихревые токи, чтобы не перегревать магнитопровод при достаточно больших значениях магнитной индукции, быть достаточно дешевыми и не требовать сложной механической и термической обработки.
Магнитные материалы, используемые для изготовления магнитопроводов, выпускаются в виде отдельных листов, либо в виде длинных лент определенной толщины и ширины и называются электротехническими сталями.
Листовые стали (ГОСТ 802-58) изготавливаются методом горячей и холодной прокатки, ленточные текстурованные стали (ГОСТ 9925-61) только методом холодной прокатки.
Также применяют железноникелевые сплавы с высокой магнитной проницаемостью, например, пермаллой, перминдюр и др. (ГОСТ 10160-62), и низкочастотные магнитомягкие ферриты.
Для изготовления разнообразных относительно недорогих трансформаторов широко применяются электротехнические стали, имеющие небольшую стоимость и позволяющие трансформатору работать как при постоянном подмагничивании магнитопровода, так и без него. Наибольшее применение нашли холоднокатаные стали, имеющие лучшие характеристики по сравнению со сталями горячей прокатки.
Сплавы с высокой магнитной проницаемостью применяют для изготовления импульсных трансформаторов и трансформаторов, предназначенных для работы при повышенных и высоких частотах 50 – 100 кГц.
Недостатком таких сплавов является их высокая стоимость. Так, например, стоимость пермаллоя в 10 – 20 раз выше стоимости электротехнической стали, а пермендюра – в 150 раз. Однако в ряде случаев их применение позволяет существенно снизить массу, объем и даже общую стоимость трансформатора.
Другим их недостатком является сильное влияние на магнитную проницаемость постоянного подмагничивания, переменных магнитных полей, а также низкая стойкость к механическим воздействиям – удар, давление и т.п.
Из магнитомягких низкочастотных ферритов с высокой начальной проницаемостью изготавливают прессованные магнитопроводы
Выбор магнитных материалов производится исходя из электромагнитных характеристик с учетом условий работы и назначения трансформатора.
2.2. Типы магнитопроводов.
Магнитопроводы трансформаторов разделяются на шихтованные (штампованные) и ленточные (витые), изготавливаемые из листовых материалов и прессованные из ферритов.
Шихтованные магнитопроводы набираются из плоских штампованных пластин соответствующей формы. Причем пластины могут быть изготовлены практически из любых, даже очень хрупких материалов, что является достоинством этих магнитопроводов.
Ленточные магнитопроводы изготавливаются из тонкой ленты, намотанной в виде спирали, витки которой прочно соединены между собой. Достоинством ленточных магнитопроводов является полное использование свойств магнитных материалов, что позволяет уменьшить массу, размеры и стоимость трансформатора.
В зависимости от типа магнитопровода трансформаторы подразделяются на стрежневые, броневые и тороидальные. При этом каждый из этих типов может быть и стрежневым и ленточным.
Стержневые.
В магнитопроводах стержневого типа обмотки располагается на двух стержнях (стержнем называют часть магнитопровода, на которой размещают обмотки).
Это усложняет конструкцию трансформатора, но уменьшает толщину намотки, что способствует снижению индуктивности рассеяния, расхода проволоки и увеличивает поверхность охлаждения.
Стержневые магнитопроводы используют в выходных трансформаторах с малым уровнем помех, так как они малочувствительны к воздействию внешних магнитных полей низкой частоты. Это объясняется тем, что под влиянием внешнего магнитного поля в обеих катушках индуцируются напряжения, противоположные по фазе, которые при равенстве витков обмоток компенсируют друг друга. Как правило, стержневыми выполняются трансформаторы большой и средней мощности.
Броневые.
В магнитопроводе броневого типа обмотка располагается на центральном стержне. Это упрощает конструкцию трансформатора, позволяет получить более полное использование окна обмоткой, а также создает некоторую механическую защиту обмотки. Поэтому такие магнитопроводы получили наибольшее применение.
Некоторым недостатком броневых магнитопроводов является их повышенная чувствительность к воздействию магнитных полей низкой частоты, что делает их малопригодными к использованию в качестве выходных трансформаторов с малым уровнем помех.
Чаще всего броневыми выполняются трансформаторы средней мощности и микротрансформаторы.
Тороидальные.
Тороидальные или кольцевые трансформаторы позволяют полнее использовать магнитные свойства материала, имеют малые потоки рассеивания и создают очень слабое внешнее магнитное поле, что особенно важно в высокочастотных и импульсных трансформаторах. Но из-за сложности изготовления обмоток не получили широкого применения. Чаще всего их делают из феррита.
Для уменьшения потерь на вихревые токи шихтованные магнитопроводы набираются из штампованных пластин толщиной 0,35 – 0,5 мм, которые с одной стороны покрывают слоем лака толщиной 0,01 мм или оксидной пленкой.
Лента для ленточных магнитопроводов имеет толщину от нескольких сотых до 0,35 мм и также покрывается электроизолирующей и одновременно склеивающейся суспензией или оксидной пленкой. И чем тоньше слой изоляции, тем плотнее происходит заполнение сечения магнитопровода магнитным материалом, тем меньше габаритные размеры трансформатора.
За последнее время наряду с рассмотренными «традиционными» типами магнитопроводов находят применение новые формы, к числу которых следует отнести магнитопроводы «кабельного» типа, «обращенный тор», катушечный и др.
На этом пока закончим. Продолжим во второй части.
Удачи!
Литература:
1. В. А. Волгов – «Детали и узлы радио-электронной аппаратуры», Энергия, Москва 1977 г.
2. В. Н. Ванин – «Трансформаторы тока», Издательство «Энергия» Москва 1966 Ленинград.
3. И. И. Белопольский – «Расчет трансформаторов и дросселей малой моности», М-Л, Госэнергоиздат, 1963 г.
4. Г. Н. Петров – «Трансформаторы. Том 1. Основы теории», Государственное Энергетическое Издательство, Москва 1934 Ленинград.
5. В. Г. Борисов, – «Юный радиолюбитель», Москва, «Радио и связь» 1992 г.
§63. Назначение и принцип действия трансформатора
Назначение трансформатора.
Трансформатором называется статический электромагнитный аппарат, преобразующий переменный ток одного напряжения в переменный ток другого напряжения той же частоты.
Трансформаторы позволяют значительно повысить напряжение, вырабатываемое источниками переменного тока, установленными на электрических станциях, и осуществить передачу электроэнергии на дальние расстояния при высоких напряжениях (110, 220, 500, 750 и 1150 кВ). Благодаря этому сильно уменьшаются потери энергии в проводах и обеспечивается возможность значительного уменьшения площади сечения проводов линий электропередачи.
В местах потребления электроэнергии высокое напряжение, подаваемое от высоковольтных линий электропередачи, снова понижается трансформаторами до сравнительно небольших значений (127, 220, 380 и 660 В), при которых работают электрические потребители, установленные на фабриках, заводах, в депо и жилых домах. На э. п. с. переменного тока трансформаторы применяют для уменьшения напряжения, подаваемого из контактной сети к тяговым двигателям и вспомогательным цепям.
Кроме трансформаторов, применяемых в системах передачи и распределения электроэнергии, промышленностью выпускаются трансформаторы: тяговые (для э.
п. с), для выпрямительных установок, лабораторные с регулированием напряжения, для питания радиоаппаратуры и др. Все эти трансформаторы называют силовыми.
Трансформаторы используют также для включения электроизмерительных приборов в цепи высокого напряжения (их называют измерительными), для электросварки и других целей. Трансформаторы бывают однофазные и трехфазные, двух- и многообмоточные.
Принцип действия трансформатора.
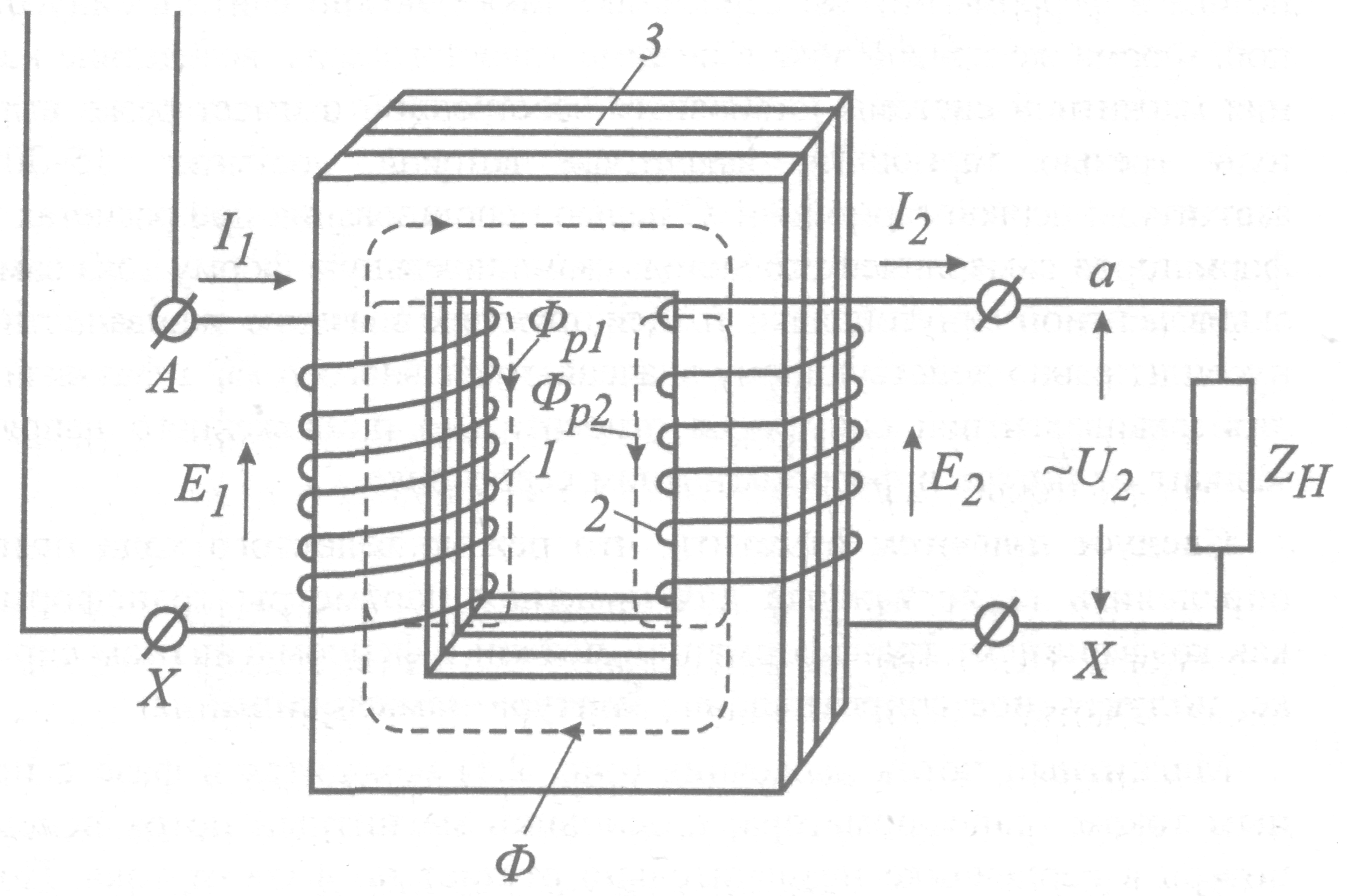
Действие трансформатора основано на явлении электромагнитной индукции. Простейший трансформатор состоит из стального магнитопровода 2 (рис. 212) и двух расположенных на нем обмоток 1 и 3.
Рис. 212. Схема включения однофазного трансформатора
Обмотки выполнены из изолированного провода и электрически не связаны. К одной из обмоток подается электрическая энергия от источника переменного тока. Эту обмотку называют первичной. К другой обмотке, называемой вторичной, подключают потребители (непосредственно или через выпрямитель).
При подключении трансформатора к источнику переменного тока (электрической сети) в витках его первичной обмотки протекает переменный ток i1, образуя переменный магнитный поток Ф. Этот поток проходит по магнитопроводу трансформатора и, пронизывая витки первичной и вторичной обмоток, индуцирует в них переменные э. д. с. е1 и е2. Если к вторичной обмотке присоединен какой-либо приемник, то под действием э. д. с. е2 по ее цепи проходит ток i2.
Э. д. с, индуцированная в каждом витке первичной и вторичной обмоток трансформатора, согласно закону электромагнитной индукции зависит от магнитного потока, пронизывающего виток, и скорости его изменения. Магнитный поток каждого трансформатора является определенной величиной, зависящей от напряжения и частоты изменения переменного тока в источнике, к которому подключен трансформатор. Постоянна также и скорость изменения магнитного потока, она определяется частотой изменения переменного тока.
Следовательно, в каждом витке первичной и вторичной обмоток индуцируется одинаковая э. д.с. В результате этого отношение действующих значений э. д. с. Е1 и E2, индуцированных в первичной и вторичной обмотках трансформатора, будет равно отношению чисел витков N1 и N2 этих обмоток, т. е.
E1/E2 = N1/ N2.
Отношение э. д. с. Евн обмотки высшего напряжения к э. д. с. Eнн обмотки низшего напряжения (или отношение чисел их витков) называется коэффициентом трансформации,
n = Евн / Eнн = Kвн / Kнн.
Коэффициент трансформации всегда больше единицы. Если пренебречь падениями напряжения в первичной и вторичной обмотках трансформатора (в трансформаторах средней и большой мощности они не превышают обычно 2—5 % номинальных значений напряжений U1 и U2), то можно считать, что отношение напряжения U1 первичной обмотки к напряжению U2 вторичной обмотки приблизительно равно отношению чисел их витков, т. е.
U1/U2 ≈ N1/ N2
Таким образом, подбирая требуемое соотношение между числами витков первичной и вторичной обмоток, можно увеличивать или уменьшать напряжение на приемнике, подключенном к вторичной обмотке. Если необходимо на вторичной обмотке получить напряжение большее, чем подается на первичную, то применяют повышающие трансформаторы, у которых число витков во вторичной обмотке больше, чем в первичной.
В понижающих трансформаторах, наоборот, число витков вторичной обмотки меньше, чем в первичной.
Трансформатор не может осуществить преобразование напряжения постоянного тока. При подключении его первичной обмотки к сети постоянного тока в трансформаторе создается постоянный по величине и направлению магнитный поток, который не может индуцировать э. д. с. в первичной и вторичной обмотках. Поэтому не будет происходить передачи электрической энергии из первичной обмотки во вторичную.
При подключении первичной обмотки трансформатора к сети переменного тока через эту обмотку проходит некоторый ток, называемый током холостого хода.
При включении нагрузки по вторичной обмотке трансформатора начинает проходить ток, при этом увеличивается и ток, проходящий по первичной обмотке.
Чем больше нагрузка трансформатора, т. е. электрическая мощность и ток i2, отдаваемые его вторичной обмоткой подключенным к ней приемникам, тем больше электрическая мощность и ток i1, поступающие из сети в первичную обмотку.
Ввиду того что потери мощности в трансформаторе обычно малы, можно приближенно принять, что мощности в первичной и вторичной обмотках одинаковы. В этом случае можно считать, что токи в обмотках трансформатора приблизительно обратно пропорциональны напряжениям: I1/I2 ≠ U2/U1 или что токи в обмотках трансформатора обратно пропорциональны числам витков первичной и вторичной обмоток: I1/I2 ≠ N2/N1.
Это означает, что в повышающем трансформаторе ток во вторичной обмотке меньше, чем в первичной (во столько раз, во сколько напряжение U2 больше напряжения U1), а в понижающем ток во вторичной обмотке больше, чем в первичной.
Поэтому в трансформаторах обмотки высшего напряжения выполняются из более тонких проводов, чем обмотки низшего напряжения.
Устройство и принцип действия трансформатора
С открытием и началом промышленного использования электричества возникла необходимость создания систем его преобразования и доставки к потребителям. Так появились трансформаторы, о принципе действия которых и пойдет речь.
Появлению их на свет предшествовало открытие явления электромагнитной индукции великим английским физиком Майклом Фарадеем почти 200 лет назад. Позже он и его американский коллега Д. Генри нарисовали схему будущего трансформатора.
Трансформатор Фарадея Первое воплощение идеи в железо состоялось в 1848 году с создания индукционной катушки французским механиком Г.
Румкорфом. Свою лепту внесли и российские ученые. В 1872 году профессор Московского университета А. Г. Столетов открыл петлю гистерезиса и описал структуру ферромагнетика, а 4 года спустя, выдающийся российский изобретатель П. Н. Яблочков получил патент на изобретение первого трансформатора переменного тока.
Как устроен и как работает трансформатор
Трансформаторы – это название огромного «семейства», куда входят однофазные, трехфазные, понижающие, повышающие, измерительные и множество других типов трансформаторов. Основное их назначение – преобразование одного или нескольких напряжений переменного тока в другое на основе электромагнитной индукции при неизменной частоте.
Итак, кратко, как работает простейший однофазный трансформатор. Он состоит из трех основных элементов – первичной и вторичной обмоток и объединяющего их в единое целое магнитопровода, на который они как бы нанизаны. Источник подключается исключительно к первичной обмотке, в то время, как вторичная снимает и передает уже измененное напряжение потребителю.
Подключенная к сети первичная обмотка создает в магнитопроводе переменное электромагнитное поле и формирует магнитный поток, который начинает циркулировать между обмотками, индуцируя в них электродвижущую силу (ЭДС). Ее величина зависит от числа витков в обмотках. К примеру, для понижения напряжения необходимо, чтобы в первичной обмотке витков было больше, чем во вторичной. Именно по такому принципу работают понижающие и повышающие трансформаторы.
Важная особенность конструкции трансформатора состоит в том, что магнитопровод имеет стальную структуру, а обмотки, как правило имеющие форму цилиндра, изолированы от него, непосредственно не связаны друг с другом и имеют свою маркировку.
Трансформаторы напряжения
Это, пожалуй, наиболее многочисленная разновидность семейства трансформаторов. В двух словах, их основная функция – сделать произведенную на электростанциях энергию доступной для потребления различными устройствами. Для этого существует система передачи электроэнергии, состоящая из повышающих и понижающих трансформаторных подстанций и линий электропередач.
Вначале электроэнергия, произведенная электростанцией, подается на повышающую трансформаторную подстанцию (к примеру, с 12 до 500 кВ). Это необходимо для того, чтобы компенсировать неизбежные потери электроэнергии при передаче на большие расстояния.
Следующий этап – понижающая подстанция, откуда электроэнергия уже по низковольтной линии подается на понижающий трансформатор и далее к потребителю в виде напряжения 220 в.
Но на этом работа трансформаторов не заканчивается. В большинстве окружающих нас бытовых электроприборов — в ПК, телевизорах, принтерах, стиральных машинах-автоматах, холодильниках, микроволновых печах, DVD и даже в энергосберегающих лампочках установлены понижающие трансформаторы. Пример индивидуального «карманного» трансформатора – зарядное устройство мобильного телефона (смартфона).
Гигантскому разнообразию современных электронных устройств и выполняемых ими функций соответствует множество различных типов трансформаторов. Это далеко не полный их список: силовые, импульсные, сварочные, разделительные, согласующие, вращающиеся, трехфазные, пик-трансформаторы, трансформаторы тока, тороидальные, стержневые и броневые.
Какие они, трансформаторы будущего
Считается, что трансформаторная отрасль весьма консервативна. Тем не менее и ей приходится считаться с революционными изменениями в области электротехники, где все громче о себе заявляют нанотехнологии. Как и множество других устройств, они постепенно «умнеют».
Элегазовые трансформаторыАктивно ведется поиск новых конструкционных материалов – изоляционных и магнитных, способных обеспечить более высокую надежность трансформаторного оборудования. Одним из направлений может стать использование аморфных материалов, что значительно повысит его пожарную безопасность и надежность.
Появятся взрыво- и пожаробезопасные трансформаторы, в которых хлордифенилы, используемые для пропитки электроизоляционных материалов, будут заменены нетоксичными жидкими, экологически безопасными диэлектриками.
Элегазовые трансформаторы Примером тому — элегазовые силовые трансформаторы, где функцию хладагента выполняет негорючий элегаз гексафторид серы, вместо далеко не безопасного трансформаторного масла.
Вопрос времени – создание «умных» электросетей, оснащенных полупроводниковыми твердотельными трансформаторами с электронным управлением, с помощью которых появится возможность регулировать напряжение в зависимости от потребностей потребителей, в частности, подключать к домашней сети возобновляемые и промышленные источники питания, или наоборот отключать лишние, когда в них нет необходимости.
Еще одно перспективное направление – низкотемпературные сверхпроводимые трансформаторы. Работа по их созданию началась еще в 60-е годы. Главная проблема, с которой столкнулись ученые – огромные размеры криогенных систем, необходимых для изготовления жидкого гелия. Все изменилось в 1986 году, когда были открыты сверхпроводниковые высокотемпературные материалы. Благодаря им, появилась возможность отказаться от громоздких охлаждающих устройств.
Трансформатор с полупроводниковым преобразователем Сверхпроводимые трансформаторы обладают уникальным качеством: при высокой плотности тока потери в них минимальны, зато, когда ток достигает критических значений, сопротивление от нулевого уровня резко увеличивается.
Трансформаторы — устройство, принцип работы и область применения, основные типы и характеристики
электрика, сигнализация, видеонаблюдение, контроль доступа (СКУД), инженерно технические системы (ИТС)
Трансформаторы — это устройства предназначенные для преобразования электроэнергии. Их основная задача — изменение значения переменного напряжения.
Трансформаторы используются как в виде самостоятельных приборов, так и в качестве составных элементов других электротехнических устройств.
Достаточно часто трансформаторы используются при передаче электроэнергии на дальние расстояния. Непосредственно на электрогенерирующих предприятиях они позволяют существенно повысить напряжение, которое вырабатывается источником переменного тока.
Повышая напряжение до 1150 кВт, трансформаторы обеспечивают более экономную передачу электроэнергии: значительно снижаются потери электричества в проводах и появляется возможность уменьшить площадь сечения кабелей, используемых в линиях электропередач.![]()
Принцип работы трансформатора основан на эффекте электромагнитной индукции. Классическая конструкция состоит из металлического магнитопровода и электрически не связанных обмоток выполненных из изолированного провода. Та обмотка, на которую подается электроэнергия, называется первичной. Вторая — подсоединённая к устройствам, потребляющим ток, называется вторичной.
После того как трансформатор подсоединяют к источнику переменного тока в его первичная обмотка формирует переменный магнитный поток. По магнитопроводу он передается на витки вторичной обмотки, индуцируя в них переменную ЭДС (электродвижущую силу). При наличии устройства потребления в цепи вторичной обмотки возникает электрический ток.
Соотношение между входным и выходным напряжением трансформатора прямо пропорционально отношению количества витков соответствующих обмоток.
Эта величина называется коэффициентом трансформации: Ктр=W1/W2=U1/U2, где:
- W1, W2 — количество витков первичной и вторичной обмоток соответственно;
- U1,U2 — входное и выходное напряжения соответственно.

Обмотки могут быть расположены либо в виде отдельных катушек либо одна поверх другой. У маломощных устройств обмотки выполняются из провода с хлопчатобумажной или эмалевой изоляцией. Микро трансформатор имеет обмотки из алюминиевой фольги толщиной не более 20—30 мкм. В качестве изолирующего материала выступает оксидная пленка, полученная естественным окислением фольги.
ВИДЫ И ТИПЫ ТРАНСФОРМАТОРОВ
Трансформаторы — это достаточно широко распространенные устройства, поэтому существует множество их разновидностей. По конструктивному исполнению и назначению они делятся на:
- Автотрансформаторы.
- Они имеют одну обмотку с несколькими отводами. За счет переключения между этими отводами можно получить разные показатели напряжения. К недостаткам следует отнести отсутствие гальванической развязки между входом и выходом.
- Импульсные трансформаторы.
- Предназначены для преобразования импульсного сигнала незначительной продолжительности (около десятка микросекунд).
При этом форма импульса искажается минимально. Обычно используется в цепях обработки видеосигнала. - Разделительный трансформатор.
- Конструкция этого устройства предусматривает полное отсутствие электрической связи между первичной и вторичными обмотками, то есть обеспечивает гальваническую развязку между входными и выходными цепями. Используется для повышения электробезопасности и, как правило, имеет коэффициент трансформации равный единице.
- Пик—трансформатор.
- Используется для управления полупроводниковыми электрическими устройствами типа тиристоров. Преобразует синусоидальное напряжение переменного тока в пикообразные импульсы.
Стоит выделить способ классификации трансформаторов по способу их охлаждения.
Различают сухие устройства с естественным воздушным охлаждением в открытом, защищенном и герметичном исполнении корпуса и с принудительным воздушным охлаждением.
Устройства с жидкостным охлаждением могут использовать различные типы теплообменной жидкости.
Чаще всего это масло, однако встречаются модели где в качестве теплообменного вещества используется вода или жидкий диэлектрик.
Кроме того производят трансформаторы с комбинированным охлаждением жидкостно-воздушным. При этом каждый из способов охлаждения может быть как естественным, так и с принудительной циркуляцией.
ХАРАКТЕРИСТИКИ ТРАНСФОРМАТОРОВ
К основным техническим характеристиками трансформаторов можно отнести:
- уровень напряжения: высоковольтный, низковольтный, высоко потенциальный;
- способ преобразования: повышающий, понижающий;
- количество фаз: одно- или трехфазный;
- число обмоток: двух- и многообмоточный;
- форму магнитопровода: стержневой, тороидальный, броневой.
Один из основных параметров — это номинальная мощность устройства, выраженная в вольт-амперах. Точные граничные показатели могут несколько различаться в зависимости от количества фаз и других характеристик. Однако, как правило, маломощными считаются устройства, преобразовывающие до нескольких десятков вольт-ампер.
Приборами средней мощности считаются устройства от нескольких десятков до нескольких сотен, а трансформаторы большой мощности работают с показателями от нескольких сотен до нескольких тысяч вольт-ампер.
Рабочая частота – различают устройства с пониженной частотой (менее стандартной 50 Гц), промышленной частоты – ровно 50 Гц, повышенной промышленной частоты (от 400 до 2000 Гц) и повышенной частоты (до 1000 Гц).
ОБЛАСТЬ ПРИМЕНЕНИЯ
Трансформаторы получили широкое распространение, как в промышленности, так и в быту. Одной из основных областей их промышленного применения является передача электроэнергии на дальние расстояния и ее перераспределение.
Не менее известны сварочные (электротермические) трансформаторы. Как видно из названия, данный тип устройств применяется в электросварке и для подачи питания на электротермические установки. Также достаточно широкой областью применения трансформаторов является обеспечение электропитания различного оборудования.
В зависимости от назначения трансформаторы делят на:
Силовые.
Являются наиболее распространенным типом промышленного трансформатора. Применяются для повышения и понижения напряжения. Используется в линиях электропередач. По пути от электрогенерирующих мощностей до потребителя электроэнергия может несколько раз проходить через повышающие силовые трансформаторы, в зависимости от удалённости конкретного потребителя.
Перед подачей непосредственно на приборы потребления (станки, бытовые и осветительные приборы) электроэнергия претерпевает обратные преобразования, проходя через силовые понижающие трансформаторы.
Тока.
Выносные измерительные трансформаторы тока используются для обеспечения работоспособности цепей учета электроэнергии защиты энергетических линий и силовых автотрансформаторов. Они имеют различные размеры и эксплуатационные показатели. Могут размещаться в корпусах небольших приборов или являться отдельными, габаритными устройствами.
В зависимости от выполняемых функций различают следующие виды:
- измерительные — подающее ток на приборы измерения и контроля;
- защитные — подключаемые к защитным цепям;
- промежуточные — используется для повторного преобразования.
Напряжения.
Они применяются для преобразования напряжения до нужных величин. Кроме того, такие устройства используются в цепях гальванической развязки и электро- радио- измерениях.
© 2012-2021 г. Все права защищены.
Представленные на сайте материалы имеют информационный характер и не могут быть использованы в качестве руководящих и нормативных документов
Принцип работы трансформаторов постоянного и переменного тока
С целью преобразования электрической энергии высокого напряжения до значений, приемлемых при эксплуатации бытовых приборов в частных домах и квартирах, используются специальные устройства – трансформаторы.
В этой статье мы дадим определение трансформаторам постоянного и переменного тока, рассмотрим принцип их работы и разновидности.
Определение трансформаторов тока
Трансформатором тока называют устройство, используемое для образования переменного тока на вторичной обмотке с напряжением, значение которого пропорционально измеряемой величине. Выпускаются разных мощность – 25, 100, 1000 кВА и т. д.
Но трансформатор необязательно понижает входное напряжение – он может работать и на повышение. Существуют приборы различного класса точности, что зависит от погрешности. В общей сложности есть пять классов точности – 0,2, 0,5, 1, 3 и 10. С ростом класса точности повышается и значение погрешностей. Это значит, что приборы классом точности 0,2 характеризуются минимальными погрешностями и используются преимущественно в лабораторных условиях.
Принцип действия трансформаторов тока
Конструктивно трансформатор ТМГСУ и любого другого типа состоит из магнитопровода (сердечника), изготавливаемого из электротехнической стали, и обмоток (в автотрансформаторах одна, срощенная) из меди.
Первичная обмотка бывает плоской или в форме ролика, и оборачивается вокруг сердечника или проводника. Это позволяет создать трехфазный трансформатор с первичной обмоткой, состоящей из минимального числа витков. Такой подход существенно повышает эффективность работы устройства и его коэффициент трансформации.
На вторичной обмотке обычно больше витков. Они наматываются на основу магнитопровода, характеризующегося малыми потерями и при поперечном рассмотрении большой площадью сечения. Величина плотности магнитного потока минимальна, низки и потери напряжения. Для вторичных обмоток обычно используют стандартные величины 1 или 5 А.
Разновидности трансформаторов тока
Трансформаторы делятся на три основных типа:
- Сухие – устройства, в которых обмотка соединяется с проводником, а процесс охлаждения протекает за счет естественной циркуляции воздуха.
- Масляные – первичная обмотка расположена на кабеле или шине. Периодичность устройств равна одному ходу обычного сухого трансформатора.
Охлаждения происходит за счет трансформаторного масла, забирающего тепло с нагретых элементов и передающего его через стенки и крышки гофрированного бака в окружающую среду. - Тороидальные – отсутствует первичная обмотка.
Трансформатор – устройство и принцип работы
Трансформатор – статический электромагнитный аппарат для преобразования переменного тока одного напряжения в переменный ток другого напряжения, той же частоты. Трансформаторы применяют в электрических цепях при передаче и распределении электрической энергии, а также в сварочных, нагревательных, выпрямительных электроустановках и многом другом.
Трансформаторы различают по числу фаз, числу обмоток, способу охлаждения. В основном используются силовые трансформаторы, предназначенные для повышения или понижения напряжения в электрических цепях.
Устройство и принцип работы
Схема однофазного двухобмоточного трансформатора представлена ниже.
На схеме изображены основные части: ферромагнитный сердечник, две обмотки на сердечнике. Первая обмотка и все величины которые к ней относятся (i1-ток, u1-напряжение, n1-число витков,Ф1 – магнитный поток) называют первичными, вторую обмотку и соответствующие величины – вторичными.
Первичную обмотку включают в сеть с переменным напряжением, её намагничивающая сила i1n1 создает в магнитопроводе переменный магнитный поток Ф, который сцеплен с обеими обмотками и в них индуцирует ЭДС e1= -n1 dФ/dt, e2= -n2dФ/dt. При синусоидальном изменении магнитного потока Ф = Фm sinωt , ЭДС равно e = Em sin (ωt-π/2). Для того чтобы посчитать действующее значение ЭДС нужно воспользоваться формулой E=4.44 f n Фm, где f- циклическая частота, n – количество витков, Фm – амплитуда магнитного потока. Причем если вы хотите посчитать величину ЭДС в какой либо из обмоток, нужно вместо n подставить число витков в данной обмотке.
Из приведенных выше формул можно сделать вывод о том, что ЭДС отстает от магнитного потока на четверть периода и отношение ЭДС в обмотках трансформатора равно отношению чисел витков E1/E2=n1/n2.
Если вторая обмотка не находится под нагрузкой, значит трансформатор находится в режиме холостого хода. В этом случае i2 = 0, а u2=E2, ток i1 мал и мало падение напряжения в первичной обмотке, поэтому u1≈E1 и отношение ЭДС можно заменить отношением напряжений u1/u2 = n1/n2 = E1/E2 = k. Из этого можно сделать вывод, что вторичное напряжение может быть меньше или больше первичного, в зависимости от отношения чисел витков обмоток. Отношение первичного напряжения ко вторичному при холостом ходе трансформатора называется коэффициентом трансформации k.
Как только вторичная обмотка подключается к нагрузке, в цепи возникает ток i2, то есть совершается передача энергии от трансформатора, который получает ее из сети, к нагрузке. Передача энергии в самом трансформаторе происходит благодаря магнитному потоку Ф.
Обычно мощность на выходе и мощность на входе приблизительно равны, так как трансформаторы являются электрическими машинами с довольно высоким КПД, но если требуется произвести более точный расчет, то КПД находиться как отношение активной мощности на выходе к активной мощности на входе η = P2/P1.
Магнитопровод трансформатора представляет собой закрытый сердечник собранный из листов электротехнической стали толщиной 0,5 или 0,35мм. Перед сборкой листы с обеих сторон изолируют лаком.
По типу конструкции различают стержневой (Г-образный) и броневой (Ш-образный) магнитопроводы. Рассмотрим их структуру.
Стержневой трансформатор состоит из двух стержней, на которых находятся обмотки и ярма, которое соединяет стержни, собственно, поэтому он и получил свое название. Трансформаторы этого типа применяются значительно чаще, чем броневые трансформаторы.
Броневой трансформатор представляет собой ярмо внутри которого заключается стержень с обмоткой. Ярмо как бы защищает стержень, поэтому трансформатор называется броневым.
Обмотка
Конструкция обмоток, их изоляция и способы крепления на стержнях зависят от мощности трансформатора. Для их изготовления применяют медные провода круглого и прямоугольного сечения, изолированные хлопчатобумажной пряжей или кабельной бумагой.
Обмотки должны быть прочными, эластичными, иметь малые потери энергии и быть простыми и недорогими в изготовлении.
Охлаждение
В обмотке и сердечнике трансформатора наблюдаются потери энергии, в результате которых выделяется тепло. В связи с этим трансформатору требуется охлаждение. Некоторые маломощные трансформаторы отдают свое тепло в окружающую среду, при этом температура установившегося режима не влияет на работу трансформатора. Такие трансформаторы называют “сухими”, т.е. с естественным воздушным охлаждением. Но при средних и больших мощностях, воздушное охлаждение не справляется, вместо него применяют жидкостное, а точнее масляное. В таких трансформаторах обмотка и магнитопровод помещены в бак с трансформаторным маслом, которое усиливает электрическую изоляцию обмоток от магнитопровода и одновременно служит для их охлаждения. Масло принимает теплоту от обмоток и магнитопровода и отдает ее стенкам бака, с которых тепло рассеивается в окружающую среду. При этом слои масла имеющие разницу в температуре циркулируют, что улучшает теплообмен.
Трансформаторам с мощностью до 20-30 кВА хватает охлаждения бака с гладкими стенками, но при больших мощностях устанавливаются баки с гофрированными стенками. Также нужно учитывать что при нагреве масло имеет свойство увеличиваться в объеме, поэтому в высокомощных трансформаторах устанавливают резервные баки и выхлопные трубы (в случае если масло закипит, появятся пары которым нужен выход). В трансформаторах меньшей мощности ограничиваются тем, что масло не заливают до самой крышки.
Читайте также – Приведение обмоток трансформатора
Принцип работы трансформатора: этапы работы
Трансформатор – это регулирующее устройство, которое достаточно часто используется для того, чтобы повысить эффективность многих устройств. Эти устройства могут использоваться для повышения и понижения напряжения в сети. В этой статье вы узнаете принцип работу трансформатора тока.
Принцип работы трансформатора тока
Измерительные трансформаторы имеют достаточно простой принцип работы. Его работа подчиняется закону про электромагнитную индукцию. Если разобраться более детально, то взаимная индукция будет отвечать за действие преобразования напряжения. В соответствии с этим законом Фарадей гласит: «скорость изменения потокосцепления будет пропорциональной наведенной ЭДС в проводнике».
Основы теории трансформатора
Представьте, что у вас есть трансформатор с одной обмоткой, которая соединяется с электрическим током. Переменный ток будет производить меняющийся поток, который окружает катушку. Определенная ее часть может соединяться в том случае, если переменный ток постоянно будет проходить через обмотку. Этот поток может постоянно меняться в своем направлении.
Следуя из закона Фарадея у нас должно быть ЭДС, которое будет производить индукцию раз в секунду. Если в последней обмотке цепь будет закрыта, тогда через нее пройдет ток. Этот принцип работы трансформатора считается простейшим. Тороидальный трансформатор имеет немного другой принцип работы.
Когда вы будете использовать движение переменного тока к электрической катушке, поток энергии будет ее окружать. Поток будет неравномерным, а его скорость может изменяться. Это понятие считается фундаментальным в работе трансформатора. Обмотка, которую он содержит, будет принимать электрическую мощность от источника. Она дает выходное напряжение благодаря взаимной индукции.
Конструктивные части трансформатора
На сегодняшний день устройство трансформатора включает в себя три основные части, к которым относят:
- Первичную обмотку. Когда подключается к источнику, она будет производить магнитный поток.
- Магнитный сердечник. Магнитный поток будет создан в замкнутую цепь.
- Вторичная обмотка. Ее необходимо наматывать на сердечник.
Это три основные части, из которых будет состоять силовой трансформатор.
Принцип работы трансформатора
Электрический силовой трансформатор является статистическим устройством. Принцип работы сварочного трансформатора заключается в том, что он будет преобразовывать энергию от схемы одного устройства к другому. Этот процесс проходит благодаря индукции между обмотками. Преобразование энергии будет происходить на основе изменения частоты. Он может работать в разных уровнях напряжения.
Работа однофазного трансформатора
Принцип работы однофазного трансформатора на сегодняшний день ничем не отличается от других устройств. Когда ток будет проходить по первичной обмотке, то будет создано магнитное поле. У него имеются мощные силовые линии. Первичную катушку они будут пронизывать полностью. Все линии являются замкнутыми между вокруг проводников катушек.
Закон про магнитную связь гласит о том, чем ближе расположены объекты, тем сильнее будет их связь. Вам следует знать, что в однофазном трансформаторе сила магнитного поля будет зависеть от напряжения. Именно поэтому скачки напряжения могут снизить силу МП. При соединении концов обмотки устройство начнет снабжаться электрическим током.
Принцип работы автотрансформатора
Здесь мы рассмотрим принцип работы автотрансформатора. Эти устройства можно отнести к трансформаторам, которые имеют специальное использование. Обмотки в этом устройстве связаны между собою не только магнитным полем, но и гальваническим.
При переключении обмоток можно получить как высокое, так и низкое напряжение. Переменное магнитное поле возникает в момент подключения переменного тока к сердечнику. Благодаря устройству сердечника небольшое напряжение способно создавать сильное МП. Автотрансформаторы довольно часто используют в областях, где существует незначительное изменение напряжения.
На сегодняшний день существуют также узкоспециализированные лабораторные трансформаторы. Они имеют другой принцип работы трансформатора.
Их обмотка должна выполняться из ферромагнитного материала. Она сводит резонансное движение к минимуму. К основным его отличиям относят:
- Кроме ферромагнетика используют медный провод.
- Он имеет низкие допустимые параметры.
- В нем работает система строчного ролика.
Эти трансформаторы также могут иметь недостатки, к которым относят:
- Все цепи нужно изолировать, так как они имеют сильную связь.
- Его нельзя использовать для защиты в мощных цепях.
- Ремонт стоит достаточно дорого.
Работа гидротрансформатора
Наверное, каждый водитель бульдозера знает принцип работы гидротрансформатора. На самом деле прибор является муфтой, которая вращается два раза. Устанавливать его необходимо между двигателем. Это необходимо чтобы получить вращательное движение. Механизм напоминает бублик, но у него достаточно сложная конструкция:
- По краям находятся специальные насосы. Передний прибор будет передавать жидкость на турбинное колесо.
- Переднее колесо необходимо соединить с главным валом. Благодаря этому он будет передавать жидкость по механизму.
Как видите, принцип работы трансформатора у всех устройств практически одинаковый. Существуют некоторые особенности, но все зависит от его модели.
Вам будет интересно: типы трансформаторов тока.
Принцип работы трансформатора, конструкция, типы, применение
Большинство электронных схем, используемых на Circuitstoday.com, имеют различные применения трансформатора. Поэтому важно знать принцип работы, конструкцию и типы трансформаторов, используемых в различных аналоговых схемах.
Что такое трансформатор?
Трансформатор можно определить как статическое устройство, которое помогает в преобразовании электроэнергии в одной цепи в электроэнергию той же частоты в другой цепи.Напряжение в цепи можно повышать или понижать, но с пропорциональным увеличением или уменьшением номинального тока. В этой статье мы узнаем об основах и принципе работы Transformer
. Трансформатор – принцип работыОсновной принцип работы трансформатора – это взаимная индуктивность двух цепей, связанных общим магнитным потоком. Базовый трансформатор состоит из двух катушек, которые электрически разделены и индуктивны, но связаны магнитным полем через сопротивление.Принцип работы трансформатора можно понять из рисунка ниже.
Трансформатор рабочийКак показано выше, электрический трансформатор имеет первичную и вторичную обмотки. Пластины сердечника соединены в виде полос, между которыми вы можете видеть, что есть узкие зазоры прямо через поперечное сечение сердечника. Эти смещенные суставы называются «черепичными». Обе катушки имеют высокую взаимную индуктивность. Взаимная электродвижущая сила индуцируется в трансформаторе из-за переменного потока, который создается в многослойном сердечнике, из-за катушки, которая подключена к источнику переменного напряжения.Большая часть переменного потока, создаваемого этой катушкой, связана с другой катушкой и, таким образом, создает взаимно индуцированную электродвижущую силу. Возникающая таким образом электродвижущая сила может быть объяснена с помощью законов электромагнитной индукции Фарадея как
e = M * dI / dt
Если цепь второй катушки замкнута, в ней протекает ток и, таким образом, электрическая энергия передается магнитным путем от первой ко второй катушке.
Подача переменного тока подается на первую катушку, поэтому ее можно назвать первичной обмоткой.Энергия отбирается из второй катушки и, таким образом, может называться вторичной обмоткой.
Вкратце, трансформатор выполняет следующие операции:
- Передача электроэнергии из одной цепи в другую.
- Передача электроэнергии без изменения частоты.
- Передача с принципом электромагнитной индукции.
- Две электрические цепи связаны взаимной индукцией.
Для простой конструкции трансформатора необходимы две катушки с взаимной индуктивностью и многослойный стальной сердечник.Обе катушки изолированы друг от друга и от стального сердечника. Устройству также потребуется подходящий контейнер для собранного сердечника и обмоток, среда, с помощью которой можно изолировать сердечник и его обмотки от его контейнера.
Чтобы изолировать и вывести выводы обмотки из резервуара, необходимо использовать подходящие вводы, изготовленные из фарфора или конденсаторного типа.
Во всех трансформаторах, которые используются в коммерческих целях, сердечник изготовлен из листовой стали трансформатора, собранной для обеспечения непрерывного магнитного пути с минимальным воздушным зазором.Сталь должна иметь высокую проницаемость и низкие потери на гистерезис. Для этого сталь должна быть изготовлена с высоким содержанием кремния и подвергаться термообработке. Эффективное ламинирование сердечника позволяет снизить вихретоковые потери. Ламинирование может быть выполнено с помощью тонкого слоя лака для стержневых плит или наложения оксидного слоя на поверхность. Для частоты 50 Гц толщина ламинации варьируется от 0,35 мм до 0,5 мм для частоты 25 Гц.
Типы трансформаторовТипы по дизайну
Типы трансформаторов различаются по способу размещения первичной и вторичной обмоток вокруг многослойного стального сердечника.По конструкции трансформаторы можно разделить на два:
. 1. Трансформатор с сердечникомВ трансформаторе с сердечником обмотки подводятся к значительной части сердечника. Катушки, используемые в этом трансформаторе, имеют цилиндрическую намотку и имеют фасонную намотку. Такой тип трансформатора может применяться как для малогабаритных, так и для крупногабаритных трансформаторов. В малоразмерном типе сердечник будет прямоугольной формы, а используемые катушки – цилиндрическими.На рисунке ниже показан шрифт большого размера. Вы можете видеть, что круглые или цилиндрические катушки намотаны таким образом, чтобы соответствовать крестообразной части сердечника. В случае круглых цилиндрических катушек они имеют значительное преимущество в виде хорошей механической прочности. Цилиндрические катушки будут иметь разные слои, и каждый слой будет изолирован от другого с помощью таких материалов, как бумага, ткань, микарта-картон и так далее. Общее расположение трансформатора с сердечником относительно сердечника показано ниже.Показаны обмотки как низкого (LV), так и высокого (HV) напряжения.
Трансформатор с сердечником Крестообразное сечение Трансформаторы с сердечникомОбмотки низкого напряжения располагаются ближе к сердечнику, поскольку их легче всего изолировать. Эффективная площадь сердечника трансформатора может быть уменьшена за счет использования пластин и изоляции.
2. Трансформатор корпусного типаВ трансформаторах оболочечного типа сердечник окружает значительную часть обмоток. Сравнение показано на рисунке ниже.
Обмотка трансформатора с сердечником и оболочкойКатушки имеют формную намотку, но представляют собой многослойные диски, обычно намотанные в виде блинов. Бумага используется для изоляции различных слоев многослойных дисков. Вся обмотка состоит из дисков, уложенных друг на друга с изоляционными промежутками между катушками. Эти изоляционные пространства образуют горизонтальные охлаждающие и изолирующие каналы. Такой трансформатор может иметь форму простого прямоугольника или также может иметь распределенную форму. Обе конструкции показаны на рисунке ниже:
Трансформаторы корпусного типа прямоугольной формы Трансформаторы корпусного типа распределенного типаСердечники и катушки трансформаторов должны быть усилены жесткими механическими связями.Это поможет свести к минимуму перемещение устройства, а также предотвратит повреждение изоляции устройства. Трансформатор с хорошей фиксацией не будет издавать гудящего шума во время работы, а также снизит вибрацию.
Для трансформаторов должна быть предусмотрена специальная платформа. Обычно устройство помещается в плотно пригнанные емкости из листового металла, заполненные специальным изоляционным маслом. Это масло необходимо для циркуляции через устройство и охлаждения змеевиков. Он также обеспечивает дополнительную изоляцию устройства, когда оно находится в воздухе.
Могут быть случаи, когда гладкая поверхность бака не сможет обеспечить необходимую площадь охлаждения. В таких случаях борта бака гофрированы или собираются радиаторами по бокам устройства. Масло, используемое для охлаждения, должно быть абсолютно свободным от щелочей, серы и, самое главное, влаги. Даже небольшое количество влаги в масле приведет к значительному изменению изоляционных свойств устройства, поскольку это в значительной степени снижает диэлектрическую прочность масла.
С математической точки зрения, присутствие примерно 8 частей воды на 1 миллион снижает изоляционные качества масла до значения, которое не считается стандартным для использования. Таким образом, резервуары защищены герметичным уплотнением в меньших единицах. При использовании больших трансформаторов герметичный метод реализовать практически невозможно. В таких случаях предусмотрены камеры для масла, чтобы расширяться и сжиматься при повышении и понижении его температуры.
Эти сапуны образуют барьер и препятствуют контакту атмосферной влаги с маслом.Также следует проявлять особую осторожность, чтобы не кататься на санках. Сливание происходит, когда масло разлагается из-за чрезмерного воздействия кислорода во время нагрева. Это приводит к образованию больших отложений темного и тяжелого вещества, которые забивают охлаждающие каналы в трансформаторе.
Качество, долговечность и обращение с этими изоляционными материалами определяют срок службы трансформатора. Все выводы трансформатора выведены из корпусов через подходящие вводы. Существует множество их конструкций, их размер и конструкция в зависимости от напряжения на выводах.Фарфоровые вводы можно использовать для изоляции выводов трансформаторов, которые используются при умеренном напряжении. В трансформаторах высокого напряжения используются маслонаполненные или емкостные вводы.
Выбор между типом сердечника и оболочки осуществляется путем сравнения стоимости, поскольку аналогичные характеристики могут быть получены от обоих типов. Большинство производителей предпочитают использовать трансформаторы кожухового типа для высоковольтных систем или для многообмоточных конструкций. По сравнению с сердечником, оболочка имеет большую среднюю длину витка катушки.Другими параметрами, которые сравниваются при выборе типа трансформатора, являются номинальное напряжение, номинальная сила тока в киловольтах, вес, напряжение изоляции, распределение тепла и т. Д.
Трансформаторытакже можно классифицировать по типу используемого охлаждения. Различные типы в соответствии с этой классификацией:
Типы трансформаторов по методу охлаждения
1. Самоохлаждающийся с масляным наполнениемВ маслонаполненном типе с самоохлаждением используются распределительные трансформаторы малых и средних размеров.Собранные обмотки и сердечник таких трансформаторов устанавливаются в сварные маслонепроницаемые стальные резервуары, снабженные стальной крышкой. Резервуар заполняется очищенным высококачественным изоляционным маслом, как только сердечник возвращается на свое место. Масло помогает передавать тепло от сердечника и обмоток к корпусу, откуда оно излучается в окружающую среду.
Для трансформаторов меньшего размера резервуары обычно имеют гладкую поверхность, но для трансформаторов больших размеров требуется большая площадь теплового излучения, и это тоже без нарушения кубической емкости резервуара.Это достигается частым рифлением корпусов. Еще более крупные размеры снабжены радиацией или трубами.
2. Тип с масляным водяным охлаждениемЭтот тип используется для гораздо более экономичного строительства больших трансформаторов, так как описанный выше метод с самоохлаждением очень дорог. Здесь используется тот же метод – обмотки и сердечник погружаются в масло. Единственное отличие состоит в том, что рядом с поверхностью масла установлен охлаждающий змеевик, через который холодная вода продолжает циркулировать.Эта вода уносит тепло от устройства. Эта конструкция обычно реализуется на трансформаторах, которые используются в высоковольтных линиях электропередачи. Самым большим преимуществом такой конструкции является то, что для таких трансформаторов не требуется другого корпуса, кроме собственного. Это значительно снижает затраты. Еще одним преимуществом является то, что техническое обслуживание и осмотр этого типа требуется только один или два раза в год.
3. Тип воздушной струиЭтот тип используется для трансформаторов с напряжением ниже 25 000 вольт.Трансформатор помещен в коробку из тонкого листового металла, открытую с обоих концов, через которую воздух продувается снизу вверх.
E.M.F Уравнение трансформатора Трансформатор ЭДС EquationLet,
N A = Количество витков первичной обмотки
N B = Количество витков вторичной обмотки
Ø макс. = максимальный поток в сердечнике в перепонках = B макс. X A
f = Частота переменного тока на входе в герцах (H Z )
Как показано на рисунке выше, магнитный поток в сердечнике увеличивается от нулевого значения до максимального значения Ø max за одну четверть цикла, то есть за частоты секунды.
Следовательно, средняя скорость изменения потока = Ø макс. / ¼ f = 4f Ø макс. Вт / с
Скорость изменения магнитного потока на виток означает наведенную электродвижущую силу в вольтах.
Следовательно, средняя индуцированная электродвижущая сила / оборот = 4f Ø макс. вольт
Если поток Ø изменяется синусоидально, то среднеквадратичное значение наведенной ЭДС получается путем умножения среднего значения на коэффициент формы.
Форм-фактор= среднеквадратичное значение. значение / среднее значение = 1.11
Следовательно, среднеквадратичное значение ЭДС / оборот = 1,11 X 4f Ø макс. = 4,44f Ø макс.
Теперь, среднеквадратичное значение наведенной ЭДС во всей первичной обмотке
= (наведенная ЭДС / оборот) X Количество витков первичной обмотки
Следовательно,
E A = 4,44f N A Ø макс. = 4,44fN A B м A
Аналогично, среднеквадратичное значение наведенной ЭДС во вторичной обмотке равно
.E B = 4.44f N B Ø макс = 4,44fN B B м A
В идеальном трансформаторе без нагрузки,
В A = E A и V B = E B , где V B – напряжение на клеммах
Коэффициент трансформации напряжения (K)Из приведенных выше уравнений получаем
E B / E A = V B / V A = N B / N A = K
Эта постоянная K известна как коэффициент трансформации напряжения.
(1) Если N B > N A , то есть K> 1, то трансформатор называется повышающим трансформатором.
(2) Если N B <1, то есть K <1, то трансформатор называется понижающим трансформатором.
И снова идеальный трансформатор,
Вход В A = выход В A
В A I A = V B I B
Или, I B / I A = V A / V B = 1 / K
Следовательно, токи обратно пропорциональны коэффициенту трансформации (напряжения).
Применение трансформатора
Трансформаторы используются в большинстве электронных схем. У трансформатора всего 3 применения;
- Для увеличения напряжения и тока.
- Для понижения напряжения и тока
- Для предотвращения постоянного тока – трансформаторы могут пропускать только переменный ток, поэтому они полностью предотвращают прохождение постоянного тока в следующую цепь.
Но применение этих трех приложений безгранично, поэтому они используются во многих схемах.
Трансформаторы– Принцип работы
Трансформатор – это устройство, которое соединяет две электрические цепи через общее магнитное поле. Трансформаторы используются при преобразовании импеданса, преобразовании уровня напряжения, изоляции цепей, преобразовании между режимами несимметричного и дифференциального сигналов и других приложениях. В основе электромагнитного принципа лежит закон Фарадея (раздел 8.3) – в частности, ЭДС трансформатора.
Основные характеристики трансформатора могут быть получены из простого эксперимента, показанного на рисунках 8.5.1 и 8.5.2. В этом эксперименте две катушки расположены вдоль общей оси. Шаг намотки небольшой, так что все силовые линии магнитного поля проходят по длине катушки, и никакие линии не проходят между обмотками. Чтобы дополнительно сдерживать магнитное поле, мы предполагаем, что обе катушки намотаны на один и тот же сердечник, состоящий из некоторого материала, обладающего высокой проницаемостью. Верхняя катушка имеет
витков, а нижняя –
витков.
В части I этого эксперимента (рис. 8.5.1), верхняя катушка подключена к источнику синусоидально изменяющегося напряжения
, в котором нижний индекс относится к катушке, а верхний индекс относится к «части I» этого эксперимента. Источник напряжения создает в катушке ток, который, в свою очередь, создает изменяющееся во времени магнитное поле
в сердечнике.
Рисунок 8.5.1: Часть I эксперимента, демонстрирующего соединение электрических цепей с помощью трансформатора.
Нижняя катушка имеет
витков, намотанных на в противоположном направлении и разомкнутую.Учитывая близко расположенные обмотки и использование сердечника с высокой магнитной проницаемостью, мы предполагаем, что магнитное поле в нижней катушке равно
, создаваемому в верхней катушке. Потенциал, наведенный в нижней катушке, составляет
с эталонной полярностью, указанной на рисунке. Из закона Фарадея имеем
(8.5.1), где
– поток через один виток нижней катушки. Таким образом:
(8.5.2)Обратите внимание, что направление
определяется полярностью, которую мы выбрали для
.
Во второй части эксперимента (рисунок 8.5.2) мы вносим следующие изменения. Подаем напряжение
на нижнюю катушку и размыкаем верхнюю катушку. Далее, мы настраиваем
так, чтобы плотность индуцированного магнитного потока снова составляла
, то есть равнялась полю в Части I эксперимента.
Рисунок 8.5.2: Часть II эксперимента, демонстрирующего соединение электрических цепей с помощью трансформатора
(8.5.3) (8.5.4)По причинам, которые станут очевидными через мгновение, давайте сместим ведущую знак минус в интеграл.Тогда у нас будет
. Сравнивая это с уравнениями 8.5.1 и 8.5.2, мы видим, что можем переписать это в терминах потока в нижней катушке в Части I эксперимента:
Фактически, мы можем выразить это в виде с точки зрения потенциала в Части I эксперимента:
(8.5.7)Мы обнаружили, что потенциал в верхней катушке в Части II связан простым образом с потенциалом в нижней катушке в Части I эксперимента. эксперимент. Если бы мы сначала выполнили Часть II, мы получили бы тот же результат, но с поменкой местами надстрочных индексов.Следовательно, в целом должно быть верно – независимо от расположения выводов – что
(8.5.8)Это выражение должно быть знакомо из теории элементарных цепей – за исключением, возможно, знака минус. Знак минус – следствие того, что катушки намотаны в разные стороны. Мы можем сделать приведенное выше выражение немного более общим:
(8.5.9), где
определяется как
, когда катушки намотаны в одном направлении, и
, когда катушки намотаны в противоположных направлениях.(Это отличное упражнение, чтобы подтвердить, что это правда, повторяя приведенный выше анализ с изменением направления обмотки для верхней или нижней катушки, для которого
тогда окажется
.) Это «закон трансформатора». теории основных электрических цепей, из которой могут быть получены все другие характеристики трансформаторов как устройств с двумя портами (см. раздел 8.6 для дальнейшего изучения).
Подводя итог:
Отношение напряжений катушек в идеальном трансформаторе равно отношению витков со знаком, определяемым относительным направлением обмоток, согласно уравнению 8.5.9.
Более знакомая конструкция трансформатора показана на рисунке 8.5.3 – катушки, намотанные на тороидальный сердечник, а не на цилиндрический сердечник. Зачем это делать? Такое расположение ограничивает магнитное поле, связывающее две катушки с сердечником, в отличие от того, чтобы силовые линии выходили за пределы устройства. Это ограничение важно для предотвращения того, чтобы поля, возникающие вне трансформатора, мешали магнитному полю, соединяющему катушки, что могло бы привести к проблемам с электромагнитными помехами (EMI) и электромагнитной совместимостью (EMC).Принцип действия во всем остальном тот же.
Рисунок 8.5.3: Трансформатор выполнен в виде катушек с общим тороидальным сердечником. Здесь
. Изображение используется с разрешения (CC BY SA 3.0; BillC).
Сноски
Дополнительная литература
Используйте клавиши со стрелками влево и вправо для переключения страниц. Проведите пальцем влево и вправо для переключения страниц.Принцип работы трансформатора – коэффициент поворота и трансформации
Основным принципом работы трансформатора является Закон электромагнитной индукции Фарадея Индукция или взаимная индукция между двумя катушками.Работа трансформатора объясняется ниже. Трансформатор состоит из двух отдельных обмоток, размещенных на сердечнике из многослойной кремнистой стали.
Обмотка, к которой подключен источник переменного тока, называется первичной обмоткой, а нагрузка – вторичной обмоткой, как показано на рисунке ниже. Он работает только на переменном токе , потому что переменный поток требуется для взаимной индукции между двумя обмотками.
Состав:
Когда питание переменного тока подается на первичную обмотку с напряжением V 1 , переменный поток ϕ устанавливается в сердечнике трансформатора, который соединяется со вторичной обмоткой, и в результате этого индуцируется ЭДС. в нем называется взаимно индуцированная ЭДС .Направление этой наведенной ЭДС противоположно приложенному напряжению V 1 , это из-за закона Ленца, показанного на рисунке ниже:
Физически между двумя обмотками нет электрического соединения, но они связаны магнитным полем. Следовательно, электрическая мощность передается из первичной цепи во вторичную через взаимную индуктивность.
Индуцированная ЭДС в первичной и вторичной обмотках зависит от скорости изменения магнитной индукции, которая составляет (N dϕ / dt).
dϕ / dt – это изменение магнитного потока, одинаковое как для первичной, так и для вторичной обмоток. Индуцированная ЭДС E 1 в первичной обмотке пропорциональна количеству витков N 1 первичных обмоток (E 1 ∞ N 1 ). Подобным образом наведенная ЭДС во вторичной обмотке пропорциональна количеству витков на вторичной стороне. (E 2 ∞ N 2 ).
Трансформатор на питании постоянного тока
Как обсуждалось выше, трансформатор работает от источника переменного тока, и он не может работать без источника постоянного тока.Если номинальное напряжение постоянного тока приложено к первичной обмотке, в сердечнике трансформатора установится магнитный поток постоянной величины, и, следовательно, не будет самоиндуцированной генерации ЭДС, поскольку для связи магнитного потока со вторичной обмоткой должна быть должен быть переменный поток, а не постоянный поток.
По закону Ома
Сопротивление первичной обмотки очень низкое, а первичный ток высокий. Таким образом, этот ток намного превышает номинальный ток первичной обмотки при полной нагрузке.Следовательно, в результате количество выделяемого тепла будет больше, и, следовательно, потери на вихревые токи (I 2 R) будут больше.
Из-за этого произойдет возгорание изоляции первичных обмоток и повреждение трансформатора.
Передаточное число
Определяется как отношение количества витков первичной обмотки к вторичной.
Если N 2 > N 1 трансформатор называется Повышающий трансформатор
Если N 2
Коэффициент трансформации
Коэффициент трансформации определяется как отношение вторичного напряжения к первичному напряжению.Обозначается К.
As (E 2 ∞ N 2 и E 1 ∞ N 1 )
Это все о работе трансформатора.
Электрический трансформатор – Основная конструкция, работа и типы
Электрический трансформатор – это статическая электрическая машина, которая преобразует электрическую мощность из одной цепи в другую без изменения частоты. Трансформатор может увеличивать или уменьшать напряжение с соответствующим уменьшением или увеличением тока.Принцип работы трансформатора
Основной принцип работы трансформатора – это явление взаимной индукции между двумя обмотками, связанными общим магнитным потоком. На рисунке справа показана простейшая форма трансформатора. В основном трансформатор состоит из двух индуктивных катушек; первичная обмотка и вторичная обмотка. Катушки электрически разделены, но магнитно связаны друг с другом. Когда первичная обмотка подключена к источнику переменного напряжения, вокруг обмотки создается переменный магнитный поток.Сердечник обеспечивает магнитный путь для потока, чтобы соединиться с вторичной обмоткой. Большая часть потока связана с вторичной обмоткой, которая называется «полезным потоком» или основным «потоком», а поток, который не связан с вторичной обмоткой, называется «потоком рассеяния». Поскольку создаваемый поток является переменным (его направление постоянно меняется), ЭДС индуцируется во вторичной обмотке согласно закону электромагнитной индукции Фарадея. Эта ЭДС называется «взаимно индуцированной ЭДС», и частота взаимно индуцированной ЭДС такая же, как и частота подаваемой ЭДС.Если вторичная обмотка является замкнутой цепью, то через нее протекает взаимно индуцированный ток, и, следовательно, электрическая энергия передается от одной цепи (первичной) к другой цепи (вторичной).Базовая конструкция трансформатора
В основном трансформатор состоит из двух индуктивных обмоток и многослойного стального сердечника. Катушки изолированы друг от друга, а также от стального сердечника. Трансформатор также может состоять из контейнера для сборки обмотки и сердечника (называемого баком), подходящих вводов для подключения терминалов, маслорасширителя для подачи масла в бак трансформатора для охлаждения и т. Д.На рисунке слева показана основная конструкция трансформатора.Во всех типах трансформаторов сердечник изготавливается путем сборки (штабелирования) ламинированных листов стали с минимальным воздушным зазором между ними (для обеспечения непрерывного магнитного пути). Используемая сталь имеет высокое содержание кремния и иногда подвергается термообработке, чтобы обеспечить высокую проницаемость и низкие потери на гистерезис. Ламинированные стальные листы используются для уменьшения потерь на вихревые токи. Листы нарезаются в форме E, I и L. Чтобы избежать высокого сопротивления в стыках, листы укладываются друг на друга, чередуя стороны стыка.То есть, если стыки первой сборки листа находятся на передней стороне, стыки следующей сборки остаются на задней стороне.
Типы трансформаторов
Трансформаторы можно классифицировать по разным признакам, например по типам конструкции, типам охлаждения и т. Д. (A) По конструкции трансформаторы можно разделить на два типа: (i) трансформатор с сердечником и (ii) трансформатор с корпусом, которые описаны ниже.
(i) Трансформатор с сердечником
В трансформаторе с сердечником обмотки представляют собой цилиндрическую намотку, установленную на плечах сердечника, как показано на рисунке выше.Цилиндрические катушки имеют разные слои, и каждый слой изолирован друг от друга. Для изоляции можно использовать такие материалы, как бумага, ткань или слюда. Обмотки низкого напряжения располагаются ближе к сердечнику, так как их легче изолировать.
(ii) Трансформатор оболочечного типа
Катушки предварительно намотаны и смонтированы слоями с изоляцией между ними. Трансформатор оболочечного типа может иметь простую прямоугольную форму (как показано на рис. Выше) или распределенную форму. (B) В зависимости от их назначения
- Повышающий трансформатор: Напряжение увеличивается (с последующим уменьшением тока) на вторичной обмотке.
- Понижающий трансформатор: Напряжение уменьшается (с последующим увеличением тока) на вторичной обмотке.
- Однофазный трансформатор
- Трехфазный трансформатор
- Силовой трансформатор: Используется в сети передачи, высокий рейтинг
- Распределительный трансформатор: Используется в распределительной сети, сравнительно более низкий номинал, чем у силовых трансформаторов.
- Измерительный трансформатор: используется для реле и защиты в различных приборах в промышленности
- Трансформатор тока (ТТ)
- Трансформатор потенциала (ПТ)
- Маслонаполненный самоохлаждаемый тип
- Масляные с водяным охлаждением типа
- Воздуховоздушного типа (с воздушным охлаждением)
Конструкция и принцип работы трансформатора
Принцип работы силового трансформатора очень прост, он аналогичен принципу взаимной индукции.Преобразователь представляет собой статическое (или стационарное) устройство, с помощью которого электрическая мощность в одной цепи преобразуется в электрическую энергию той же частоты в другой цепи. Он может повышать или понижать напряжение в цепи, но с соответствующим уменьшение или увеличение тока. Физической основой силового трансформатора является взаимная индукция между двумя цепями, соединенными общим магнитным потоком. В своей простейшей форме он состоит из двух индуктивных катушек, которые электрически разделены, но магнитно связаны через путь с низким сопротивлением, как показано на рисунке ниже.Обе катушки обладают высокой взаимной индуктивностью. Если одна катушка подключена к источнику переменного напряжения, переменный поток создается в многослойном сердечнике, большая часть которого связана с другой катушкой, в которой он создает взаимно индуцированную ЭДС. (согласно законам электромагнитной индукции Фарадея e = M.dI / dt). Если цепь второй катушки замкнута, в ней протекает ток, и поэтому электрическая энергия передается (полностью магнитным путем) от первой катушки ко второй катушке.Первая катушка, в которую электроэнергия подается от сети переменного тока. питающая сеть называется первичной обмоткой, а другая, от которой отбирается энергия, называется вторичной обмоткой. Короче говоря, силовой трансформатор – это устройство, которое
1. передает электроэнергию из одной цепи в другую
2. делает это без изменения частоты
3. Это достигается за счет электромагнитной индукции и
4. где две электрические цепи находятся во взаимоиндуктивном влиянии друг друга.
Конструкция трансформатора:
Силовой трансформатор состоит из двух катушек, имеющих взаимную индуктивность и многослойного стального сердечника. Две катушки изолированы друг от друга и стального сердечника. Другими необходимыми частями являются подходящий контейнер для собранного сердечника и обмоток; подходящая среда для изоляции сердечника и его обмоток от контейнера; подходящие вводы (фарфоровые, маслонаполненные или конденсаторные) для изоляции и вывода выводов обмоток из бака.
Во всех типах силовых трансформаторов сердечник изготовлен из листов трансформаторной листовой стали, собранных для обеспечения непрерывного магнитного пути с минимальным включенным воздушным зазором. Используемая сталь имеет высокое содержание кремния, иногда термообработанную для получения высокая проницаемость и низкие гистерезисные потери при обычных рабочих плотностях потока. Потери на вихревые токи сводятся к минимуму за счет ламинирования сердечника, причем слои изолированы друг от друга легким слоем лака для сердечника и пластины или оксидным слоем на поверхности.
Толщина пластин варьируется от 0,35 мм для частоты 50 Гц до 0,5 мм для частоты 25 Гц. Пластины сердечника (в виде полос) соединяются, как показано на рисунке. чередующиеся слои расположены в шахматном порядке, чтобы избежать появления узких зазоров прямо через поперечное сечение сердечника. Такие шахматные соединения называются «черепичными».
Конструктивно трансформаторы бывают двух основных типов, отличающихся друг от друга только тем, как первичная и вторичная обмотки размещены вокруг многослойного сердечника.Эти два типа известны как
(i) трансформаторы с сердечникомДругой недавней разработкой является трансформатор со спиральным сердечником или с намотанным сердечником, торговая марка – Трансформатор со спиральным сердечником . В так называемых трансформаторах сердечника обмотки окружают значительную часть сердечника, тогда как в трансформаторах корпусного типа сердечник окружает значительную часть обмоток, как схематично показано на рисунках (а) и (b) соответственно.
(ii) трансформаторы с корпусом
На упрощенной схеме трансформаторов с сердечником первичная и вторичная обмотки показаны расположенными на противоположных плечах (или плечах) сердечника, но в реальной конструкции они всегда чередуются для уменьшения потока утечки. первичная и половина вторичной обмоток размещены бок о бок или концентрически на каждой конечности, а не первичная обмотка на одной конечности (или ноге), а вторичная – на другой.
Как в трансформаторах с сердечником , так и в трансформаторах кожухового типа отдельные листы нарезаются в виде длинных полос L, E и I, как показано на рисунке.Сборка полного сердечника для двух типов трансформаторов показана на рисунках ниже.
Как сказано выше, во избежание высокого сопротивления в соединениях, где ламинаты стыкуются друг с другом, чередующиеся слои укладываются по-разному, чтобы исключить эти соединения, как показано на рисунках ниже.
Теория работы однофазных трансформаторов
Определение трансформатора
Трансформатор электроэнергии – это статическое устройство, которое преобразует электрическую энергию из одной цепи в другую без какого-либо прямого электрического соединения.Он также выполняет это с помощью взаимной индукции между двумя обмотками. Он может преобразовывать мощность из одной цепи в другую без изменения ее частоты, но может иметь разные уровни напряжения в зависимости от необходимости.
Схема однофазного трансформатора
Символ трансформатора
Трансформатор Строительство
Три основные части трансформатора:
- Первичная обмотка : Обмотка, которая потребляет электроэнергию и создает магнитный поток, когда она подключена к источнику электроэнергии.
- Магнитный сердечник : Это относится к магнитному потоку, создаваемому первичной обмоткой. Поток проходит через путь с низким сопротивлением, связанный со вторичной обмоткой, создавая замкнутую магнитную цепь.
- Вторичная обмотка : Обмотка, которая обеспечивает желаемое выходное напряжение за счет взаимной индукции в трансформаторе.
Принцип работы трансформаторов
Принцип работы однофазного трансформатора основан на законе электромагнитной индукции Фарадея.В основном, взаимная индукция между двумя или более обмотками отвечает за действие преобразования в электрическом трансформаторе.
Законы электромагнитной индукции Фарадея
Согласно закону Фарадея «Скорость изменения магнитной связи во времени прямо пропорциональна наведенной ЭДС в проводнике или катушке».
Основная теория трансформатора
Первичная обмотка питается от источника переменного тока.Переменный ток через первичную обмотку создает переменный поток, окружающий обмотку. Другая обмотка, также известная как вторичная обмотка, приближена к первичной обмотке. В конце концов, некоторая часть потока в первичной обмотке будет связана с вторичной. Поскольку этот поток постоянно изменяется по амплитуде и направлению, происходит изменение магнитной связи и во второй обмотке. Согласно закону электромагнитной индукции Фарадея, во вторичной обмотке индуцируется электродвижущая сила (ЭДС), которая называется наведенной ЭДС.Если цепь вторичной обмотки замкнута, через нее будет протекать индуцированный ток. Это простейшая форма преобразования электроэнергии; это самый основной принцип работы трансформатора.
Принцип работы трансформатора был объяснен в следующих простых шагах:
- Как только первичная обмотка подключается к однофазному источнику питания, через нее начинает течь переменный ток.
- Переменный поток создается в сердечнике первичным переменным током.
- Переменный поток через сердечник связывается со вторичной обмоткой.
- Теперь, согласно законам электромагнитной индукции Фарадея, этот изменяющийся поток будет индуцировать напряжение во вторичной обмотке.
Сопутствующие товары
Вышеупомянутый тип трансформатора теоретически возможен, но не практически, потому что есть потери, связанные с работой трансформаторов.
(PDF) ТРАНСФОРМАТОР: Принцип действия трансформатора
Парвин Р.Карим, преподаватель. Электротехнический отдел. Al-Hawija Technical
институт Северный технический университет
Аналогичным образом, разделив уравнение (10) на уравнение (11), дает
…… .. ( 16)
Где a – коэффициент трансформации трансформатора.
В случае, трансформатор называется повышающим трансформатором, тогда как для
трансформатор называется понижающим трансформатором.В идеальном трансформаторе
потери равны нулю. В этом случае входная мощность трансформатора равна выходной мощности
, что дает
…… .. (17)
Уравнение (17) может быть преобразовано в виде :
…… .. (18)
Отношение первичного тока к вторичному:
…….. (19)
Опять же, магнитодвижущая сила, создаваемая первичным током, будет равна
магнитодвижущей силе, создаваемой вторичным током, и ее можно выразить как:
…… .. (21)
…… .. (22)
Из уравнения (22) следует, что отношение первичных к вторичному току обратно пропорционально
коэффициенту трансформации трансформатора.
Входная и выходная мощность идеального трансформатора составляет:
…… .. (23)
…… .. (24)
Для идеальных условий угол равен углу , и выходная мощность может быть пере-
в виде,
…… .
