Чертежи Компас 3D регулятор давления.
Хотите в короткий срок изучить систему
КОМПАС-3D.
ДЛЯ ВАС СОВЕРШЕННО БЕСПЛАТНО, 4 САМЫХ ЭФФЕКТИВНЫХ ВИДЕОКУРСА.
Видеокурс «Автоматизация работы в Компас-3D» за 14 часов научит не только работать с библиотеками, но и создавать собственные библиотеки!
НАЖИМАЙТЕ ЗДЕСЬ.
Осваиваем систему КОМПАС 3D с нуля!
Создание 3D моделей, сборок и документации.
СТАНЬТЕ ПРОФЕССИОНАЛОМ!
Как легко, просто и быстро научиться чертить в трехмерном AutoCAD?
КЛИКНИТЕ И УЗНАЙТЕ.
Новинка! Бесплатный видеокурс по созданию 3D моделей в программе SolidWorks
Поиск по сайту:
1 2 3 4 5 6 7 8 9 10 11 12 13 14 15 16 17
97. Подшипник.
Чертеж подшипника. Подшипник служит опорой для вращающегося вала и устанавливается на консоли в том случае, когда вал близко подходит к стене производственного помещения.
- Сборочный чертеж подшипника, формат А1;
- Спецификация.
Объем архива ZIP – 36КВ
Скачать чертеж
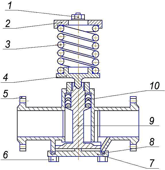
98. Регулятор давления.
Чертеж регулятора давления. Регулятор давления устанавливается на трубопроводах для предотвращения аварии в случае избыточного давления газа или воздуха.
- Сборочный чертеж регулятора давления, формат А1;
- Спецификация.
Объем архива ZIP – 43КВ
Данный чертеж размещен на платной основе.
По вопросам приобретения обратитесь к администратору сайта.
Связь с администратором.
99. Вал червячный.
- Чертеж вала червячного, формат А3;
Объем архива ZIP – 32КВ
Скачать чертеж
100. Насос шестеренный.
Чертеж шестеренного насоса. Данный насос предназначен для перекачивания жидкости.
- Сборочный чертеж шестеренного насоса, формат А1;
- Спецификация.

Объем архива ZIP – 48КВ
Данный чертеж размещен на платной основе.
По вопросам приобретения обратитесь к администратору сайта.
Связь с администратором.
101. Муфта зубчатая.
Чертеж зубчатой муфты.
- Чертеж муфты зубчатой, формат А2;
Объем архива ZIP – 41КВ
Скачать чертеж
102. Вентиль запорный.
Чертеж запорного вентиля. Запорный вентиль монтируют на трубопроводах, предназначенных для подачи жидкости. С помощью вентиля можно переодически отключать одну часть трубопровода от другой.
- Сборочный чертеж вентиля запорного, формат А1;
- Спецификация.
Объем архива ZIP – 46КВ
Данный чертеж размещен на платной основе.
По вопросам приобретения обратитесь к администратору сайта.
Связь с администратором.
103. Боек.
Чертеж бойка.
- Чертеж бойка, формат А3;
Объем архива ZIP – 21КВ
Скачать чертеж
104.
Устройство запорное.Чертеж устройства запорного. Концевое запорное устройство предназначено для соединения концов рукавов при перепуске сжатого воздуха из одной емкости в другую.
- Сборочный чертеж запорного устройства, формат А3;
- Спецификация.
Объем архива ZIP – 42КВ
Данный чертеж размещен на платной основе.
По вопросам приобретения обратитесь к администратору сайта.
Связь с администратором.
1 2 3 4 5 6 7 8 9 10 11 12 13 14 15 16 17
Автор: Саляхутдинов Роман | “БОСК 8.0” Познай Все Cекреты КОМПАС-3D
>> Читать Полное Описание << |
Автор: Саляхутдинов Роман | “БОСК 5. Новый Видеокурс. “Твердотельное и Поверхностное Моделирование в КОМПАС-3D”
>> Читать Полное Описание << |
Автор: Дмитрий Родин | “AutoCAD ЭКСПЕРТ” Видео самоучитель По AutoCAD
|
Регулятор давления в ресивере Castel 3350/M12S (12 мм)
Временно не продается
| Артикул | 3350/M12S |
| id товара | 14977 |
| Страна | Италия |
| Минимальный заказ | 1 шт |
| В наличии на складах | 0 шт |
Общее описание
Регуляторы давления Castel серии 3350 используется вместе с регулятором серии 3340 или попеременно с дифференциальным клапаном 3136W. Вместе эти клапаны образуют регулирующую систему, которая поддерживает постоянное давление конденсатора и ресивера в установках с рекуперацией тепла и конденсацией воздуха и воды. Регуляторы серии 3340 ограничивают поток жидкости от конденсатора к ресиверу, уменьшая поверхность активного конденсатора и повышая давление конденсации.
Регулятор 3350 пропускает горячий газ из нагнетания компрессора в ресивер, повышая давление жидкости в ресивере.
Технические
характеристикиЧертежи
и схемыДополнительная
информацияКомплектующие
Характеристика
| Производитель | Castel |
| Модель | KVD |
| Вид регулятора | Регулятор давления в рессивере |
| Соединительный размер | 12 мм |
| Тип входного соединения | Под пайку |
| Тип выходного соединения | Под пайку |
| Максимальное рабочее давление | 28,0 bar |
| Хладагенты | HCFC/HFC |
| Средний температурный диапазон | -40…+110 °C |
| Вес | 506 г |
Чертежи
Габаритный чертеж регулятора давления Castel 3350/M12SДополнительная информация
Каталог и технические характеристики регуляторов давления Castel (0.
42Mb)
Вам также может понадобиться
Регулятор давления конденсации KVR 15 D16 (5/8″)
- Артикул: 034L0097
- Страна: Польша
- В наличии: много
Регуляторы давления конденсации KVR Danfoss используются совместно с дифференциальными клапанами NRD для постоянного поддержания достаточно высокого давления в конденсаторе и ресивере холодильных установок и систем кондиционирования с конденсаторами воздушного охлаждения. Вместо клапана NRD вместе с регулятором KVR может применяться регулятор давления в ресивере KVD.Диапазон регулировки 5 – 17,5 бар, заводская настройка 10 бар, макс. рабочее давление 28 бар.Сервисный порт: 1/4 дюйма клапан Шредера для измерения давления.Макс. испытание под давлением 31 бар.
13’794,14 P
200,55 €
Припой серебряный 15%, по пруткам
- Артикул: 33402050
- Страна: Германия
- В наличии: нет
Медно-фосфорные твердые припои Felder специально разработаны для пайки меди, латуни, бронзы, стали и комбинаций этих металлов.
Формула сплава: 15Ag;80,3Cu;4,7P.
Временно не продается
Вам также может понадобиться
Чертеж САПР для онлайн-регулятора давления
по Jim Cahill | 9 февраля 2016 г. | Клапаны, приводы и регуляторы
Главный блогер, руководитель отдела социального маркетинга
Для изготовителей технологических процессов регулирование давления на протяжении всего технологического процесса важно для обеспечения безопасности, эффективности и надежности. Мы подчеркивали важную роль регуляторов давления в многочисленных публикациях.
На начальном этапе инженерного проектирования проекта наличие хороших чертежей CAD (автоматизированное проектирование) важно для определения наилучшего регулятора для применения с учетом конфигурации трубопровода, свойств и характеристик потока жидкости и требований к регулятору давления.

К ним относятся регуляторы, используемые для воздуха, жидкостей, сжиженного нефтяного газа (пропана), природного газа, нефти и газа, технологических газов, сантехники, пара и герметизации и регенерации резервуаров.
Давайте рассмотрим пример. Основной процесс состоит в том, чтобы пройти через критерии в процессе выбора. Для запорного клапана резервуара Тип 1190 я выбрал несколько вариантов, основанных на материалах конструкции, размерах корпуса, диапазонах рабочего давления, материалах внутреннего уплотнения, угле просмотра чертежа САПР и многом другом.
Запорный клапан резервуара Тип 1190
Выбранные параметры сохраняются на веб-странице по мере их выполнения, а чертеж САПР можно загрузить во многих форматах САПР (DWG, DXF, XML и т. д.), а также в графических форматах.
Их можно импортировать в проектную документацию, чтобы убедиться, что механические характеристики соответствуют предполагаемому применению.
Для некоторых регуляторов давления требуется только несколько вариантов выбора, а для других требуется множество вариантов выбора, чтобы предоставить необходимую информацию о чертеже САПР.
Попробуйте, если вы участвуете в планировании и разработке проекта.
Вы также можете общаться и взаимодействовать с другими экспертами по регуляторам давления и проектам в группах Regulators и Plan & Design в сообществе Emerson Exchange 365.
Популярные сообщения
Комментарии
Поделитесь этим:
Похожие сообщения
Следите за нами
Мы приглашаем вас следить за нами на Facebook, LinkedIn, Twitter и YouTube, чтобы быть в курсе всех последних новостей, событий и инноваций, которые помогут вам и решать самые сложные задачи.
- Отслеживать
- Отслеживать
- Отслеживать
- Отслеживать
Хотите изменить назначение, повторно использовать или перевести контент?
Пожалуйста, просто дайте ссылку на пост и отправьте нам небольшую заметку, чтобы мы могли поделиться вашей работой. Спасибо!
Наше глобальное сообщество
Emerson Exchange 365
Высказанные здесь мнения являются личными мнениями авторов.
Публикуемый здесь контент не прочитывается и не утверждается Emerson до его публикации и не обязательно отражает взгляды и мнения Emerson.
- Отслеживать
- Отслеживать
- Отслеживать
- Отслеживать
Политика конфиденциальности | Политика в отношении файлов cookie | Заявление о защите данных
Регуляторы давления – Plast-O-Matic Valves, Inc.
Серия PR/PRH/PRHM Редукционный клапан, расположенный ниже по потоку, оснащен вращающейся мембраной большой площади, сверхплавным ходом и изолированным пружинным управлением. Формованные и обработанные клапаны с размерами от 1/4” до 3” (для 4” обращайтесь на завод) и метрическими размерами труб из популярных термопластичных материалов с широким диапазоном типов соединений. Проверенная конструкция обеспечивает максимальный расход при минимальном падении давления. Хотя некоторые клапаны могут иметь ограничения по размеру или материалу, большинство моделей обеспечивают установленный диапазон 10-125 фунтов на квадратный дюйм.
» Выберите модель продукта
Данные о продукте серии PRHM Данные о продукте серии PRH Инструкции по установке PR/PRH/PRHM (кроме 1/2″ PRHM) Инструкции по установке 1/2″ PRHM
Серия UPR Редукционный клапан на выходе имеет неотсекающую конструкцию, не содержащую эластомеров (давление выравнивается в условиях отсутствия потока) и предельные уровни чистоты, подтвержденные независимыми испытательными лабораториями. Доступны патрубки BCF, раструбные, санитарные и другие типы соединений. размеры 1/4″ – 2″ или 20 – 63 мм; на выбор Kynar 740 или корпус из ПТФЭ. Процедура высокой чистоты CDB-16 (8 часов горячей/8 часов холодной деионизированной промывки) является стандартной; чистая и двойная сумка в чистом помещении класса 100 (ISO 5). Максимальная чистота с отличными характеристиками потока; диапазон заданного давления 5-100 фунтов на квадратный дюйм.
» Выберите модель продукта
Технический паспорт продукта Инструкции по установке и обслуживанию Габаритный чертеж
Серия UPRS Редукционный клапан на выходе имеет полностью запорную конструкцию (давление не выравнивается в условиях отсутствия потока) и предельные уровни чистоты, подтвержденные независимыми испытательными лабораториями.
стандартный патрубок BCF; Доступны факельные, санитарные и другие типы подключения. 20 – размеры 63 мм; Кынар 740 кузов. Процедура высокой чистоты CDB-16 (8 часов горячей/8 часов холодной деионизированной промывки) является стандартной; чистая и двойная сумка в чистом помещении класса 100 (ISO 5). Максимальная чистота с отличными характеристиками потока; диапазон заданного давления 10-100 фунтов на квадратный дюйм. Доступен с изолированным манометром или без него.
» Выберите модель продукта
Технический паспорт продукта Инструкции по установке и обслуживанию
Серия PRD/PRDM представляет собой регулятор перепада давления с портом для линии измерения давления на выходе. Линия датчика подает давление после защищаемого оборудования к верхней части корпуса пружины, что помогает пружине удерживать регулятор в открытом положении против давления непосредственно на выходе регулятора. Когда давление на выходе начинает падать (как это происходит, когда фильтр засоряется все больше и больше), регулятор начинает закрываться и полностью закрывается при достижении уставки перепада.
Это гарантирует отсутствие избыточного давления на оборудовании. Формованные и обработанные клапаны размером от 1/4″ до 3″ и метрические трубы из популярных термопластичных материалов с широким диапазоном типов соединений. Диапазон настройки дифференциала 5-50 фунтов на квадратный дюйм.
» Выберите модель продукта
Технический паспорт продукта Инструкции по установке и обслуживанию Габаритный чертеж
Серия PRA/PRAM имеет две противоположно расположенные катящиеся мембраны большой площади без трения. Технологическое давление подается на одну из диафрагм; на другой действует давление воздуха. Поскольку давление воздуха можно поддерживать с большей точностью, чем усилие, обеспечиваемое пружиной, PRA/PRAM обеспечивает большую чувствительность и меньшее отклонение от установленного давления, чем любой ранее доступный термопластический регулятор давления. PRA/PRAM можно использовать в сочетании с запатентованным стабилизатором Plast-O-Matic, который измеряет давление жидкости на выходе и обеспечивает непрерывный контроль обратной связи для еще большей чувствительности и производительности.


0″