Трехобмоточный трансформатор: описание, схемы, мощность, обмотки
Автор Andrey Ku На чтение 7 мин Опубликовано
Обычный трансформатор преобразовывает первичное напряжение U1 во вторичное U2. Нередко одного выходного напряжения для питания электроприемников бывает недостаточно. Задача создания третьего среднего напряжения СН (U3), наряду с высоким напряжением ВН (U1) и трансформируемым низким (U2), решается установкой трехобмоточного трансформатора с дополнительной третьей обмоткой на магнитопроводе. Этот электрический аппарат заменяет собой два двухобмоточных трансформатора.
Содержание
- Общее описание и назначение
- Конструкция и принцип действия
- Разновидности
- Однофазный
- Трехфазный
- Схемы замещения
- Проведение опытов короткого замыкания
Общее описание и назначение
Если взять двухобмоточный трансформатор и на стержень намотать проводом витки дополнительной катушки индуктивности, наводимое в ней напряжение будет пропорционально числу витков.
В зависимости от исполнения вторичные катушки могут быть одинаковой или разной мощности.
Cхема 3-х обмоточного трансформатора
Существуют 2 вида трансформаторов подобного типа:
- с 1-й первичной и 2-мя вторичными обмотками – самый распространенный вид;
- с 2-мя первичными и 1-ой вторичной обмоткой – этот вид задействован в трансформаторных группах электростанций.
Условное обозначение 3-х обмоточного трансформатора
Номинальной мощностью 3-х обмоточного аппарата считается параметр самой мощной его катушки, которой в данном типе электрических устройств является обмотка ВН. Размещение силового 3-х обмоточного устройства с невысокой мощностью любой из обмоток в электрических цепях экономически не оправдано. Поэтому мощности вторичных катушек ВН, СН и НН аппарата в процентах от P
- 100;100;100%;
- 100;100;66,7%;
- 100;66,7;100%;
- 100;66,7;66,7%.
Конструкция и принцип действия
Конструктивно первичную катушку 3-х обмоточного силового трансформатора обычно располагают в середине между двумя вторичными, чтобы ослабить влияние обмоток между собой.
Если нулевой вывод заземляется, то она называется «глухозаземленной», в ином случае именуют «обмоткой с изолированной нейтралью».
Вторичную катушку с более низким напряжением (НН) размещают ближе к стержню устройства.
При подобном расположении напряжение КЗ между обмотками ВН и СН минимально. Это позволяет снизить потери мощности при передаче в сеть СН. Одновременно значение напряжения КЗ между ВН и НН относительно большое, что ограничивает силу тока короткого замыкания в сети НН низшего напряжения.
3-х обмоточные преобразователи переменного напряжения нашли широкое применение в силовой энергетике. В маркировке изделий они обозначаются третьей буквой «Т» в буквенно-цифровом коде. Очень часто требуется иметь третье более низкое, чем U2 значение для подачи менее мощным электроприемникам или, расположенным вблизи подстанций, потребителям электроэнергии.
Стандартными условиями эксплуатации изделий считается температура не выше 35ºС и влажность воздуха ≤65%, обеспечиваемые в отапливаемом помещении.
Товарные позиции этого типа изготовляются как для нужд народного хозяйства, так и экспортируются в страны с умеренным/ тропическим климатом.
На понижающих подстанциях для раздельного питания электрических сетей в радиусе 10–15 км задействуют электротехнические изделия с выходными параметрами 6–10 кВ, а в радиусе до 50-60 км применяют 35 кВ трансформаторы. 3-х обмоточные преобразователи только с более низким значением параметров используется в измерительной технике и радиотехнике, автоматике и средствах релейной защиты.
Разновидности
Однофазный
Однофазные трехобмоточные трансформаторы для силовых линий обычно изготавливают мощностью 5000–40000 кВт с напряжением обмоток:
- ВН – с значениями 110–121 кВ;
- CН – от 34,5 до 38,5 кВ;
- НН – в диапазоне 3,15–15,7 кВ.
Типовой однофазный 3-х обмоточный преобразователь, например, классов напряжения 15, 20, 24 и 35 кВ предназначен для встраивания в пофазно-экранированные токопроводы сетей 50/60Гц.
- бак с крышкой из немагнитной стали, задвижкой и пробкой, заполненный трансформаторным маслом;
- магнитопровод из электротехнической стали;
- активную часть, состоящую из обмоток, изоляции и крепежных элементов;
- плоского контакта на крышке бака первичного вводного напряжения;
- заземляющего ввода первичной обмотки и вводов вторичной обмотки на боковой стенке бака.
Электрические аппараты большой мощности (≤40000 кВа), рассчитанные на работу в интервале 110–121 кВ дополнительно могут оснащаться:
- выхлопной трубой для защиты бака от разрыва парами масла и газовым реле, отключающим подачу электропитания при внутривитковом замыкании в трансформаторе;
- расширителя с воздухоосушителем и термосифонным фильтром для поддержания требуемого уровня масла и предотвращения попадания влаги из атмосферы;
- системами естественной/принудительной циркуляции воздуха или масла.

Экономическая эффективность применения изделия состоит в том, что при 3-х обмоточном исполнении первичный ток равен не арифметической, а геометрической сумме приведенных вторичных токов. Трехобмоточные (многообмоточные) аппараты целесообразно применять вместо двухобмоточных в том случае, если нагрузки ЛЭП/обслуживаемых электрических сетей соизмеримы, то есть отличаются друг от друга не более чем в 5 раз.
Трехфазный
В трехфазных преобразователях переменного напряжения на каждую трансформируемую фазу приходится 3 обмотки. В таком трансформаторе с общим магнитопроводом обмоток рабочие процессы протекают для каждой фазы аналогично, только со сдвигом во времени. На первичные обмотки поступает переменное фазное напряжение, вторичные обмотки соединены с нагрузкой. Поэтому для описания работы электрического аппарата исследуется только одна рабочая фаза.
Трехфазные 3-х обмоточные преобразователи для силовых линий обычно изготавливают мощностью 5600–31500 кВт и напряжениями катушек аналогичным тем, которые используются в однофазных аппаратах.
Трансформаторы получили наибольшее распространение на электрических подстанциях. По сравнению с группой однофазных трансформаторов при той же мощности они позволяют экономить 12–15% электроэнергии и 20–25% активных материалов в стоимостном выражении. Это конкурентное преимущество изделий подобного типа учитывается при изготовлении аппаратов массовых серий.
Схемы замещения
Схема замещения 3-х обмоточного трансформатора представлена ввиде трехлучевой звезды, состоящей из активных R и реактивных X сопротивлений обмоток. Все сопротивления в схеме приведены к напряжению высшей обмотки. На первичные зажимы подключена ветвь намагничивания (на схеме она соединена с корпусом), состоящая из B – активной и G – реактивной проводимости.
Проводимость В возникает ввиду потерь в стали части мощности на перемагничивание и вихревые токи, G отражает мощность намагничивания. За номинальную Pном катушек трансформатора принимается мощность его первичной обмотки.
Мощность обмоток трансформатора СН и НН и коэффициент трансформации выбирается под потребности конкретного объекта энергопотребления. Электрический аппарат рассчитывается на соответствующую мощность (диаметр и количество витков, электрическую прочность изоляции, размер и материал магнитопровода). С учетом нагрева при работе выбирается соответствующая модель.
Проведение опытов короткого замыкания
Чтобы определить значения параметров этой схемы, необходимо провести 1 опыт холостого хода и 3 опыта с коротким замыканием. Если первый опыт необходим для определения B и G и не отличается от опыта двухобмоточного аналога, то опыты короткого замыкания проводятся с целью определения паспортных данных напряжения короткого замыкания U к и потерь активной мощности ∆Р к на соответствующих катушках трансформатора в режиме короткого замыкания:
- U к вн, ∆Р к вн – закорочивается обмотка НН и подается питание на обмотку ВН;
- U к сн, ∆Р к сн – коротится обмотка НН и питание подается со стороны обмотки СН;
- U к вс, ∆Р к вс – накоротко замыкаются клеммы катушки СН и запитывается обмотка ВН.

В результате решения системы уравнений выводится значение U к каждой из обмоток:
При определении ∆Р к следует учитывать значение активной мощности, содержащееся в справочнике для конкретной модели трансформатора. Обычно приводится параметр для самой мощной обмотки. Очень часто в источниках дается одно значение ∆Р
При соотношениях всех мощностей обмоток 100 %:
∆Рк в = ∆Рк с = ∆Рк н = 0,5 ∆Рк вс,
Если соотношение 100 %, 100 %, 66,7 %, то:
- ∆Рк в = ∆Рк с = 0,5 ∆Рк вс;
- ∆Рк н = 1,5 ∆Рк в.

Применять вычисления придется только для электрических аппаратов, производимых ранее. Они могли иметь мощность обмоток НН и СН в полтора раза меньше, чем мощность катушки ВН.
В последние годы отечественные производители выпускают трехобмоточные трансформаторы с одинаковой мощностью обмоток 100%.
Схема подключения трансформатора, как правильно подсоединить трансформатор к цепи. « ЭлектроХобби
Схема подключения трансформатора, как правильно подсоединить трансформатор к цепи. « ЭлектроХоббиБлог Раздел НОВИЧКА
Применение силовых понижающих (реже повышающих) трансформаторов имеет большое распространение. Они являются достаточно простым и недорогим решением для функции преобразования электрической энергии, а именно напряжения и тока. Для тех, кто не особо знаком с электротехникой уточню — трансформаторы представляют собой электрическую машину, состоящую из магнитопровода определенной формы, на котором содержаться намотки изолированного провода (медного чаще всего).
Самый простой вариант трансформатора содержит на себе две обмотки. Входная обмотка называется первичной, а выходная — вторичной. Изначально каждый трансформатор рассчитывается на свою мощность, напряжение, ток, частоту. Чаще всего можно встретить обычный понижающий трансформатор, у которого входная обмотка рассчитана на напряжение 220 вольт, а вторичная на то напряжение, которое используется тем или иным устройством (наиболее ходовыми являются 3, 5, 9, 12, 24 вольта). От количества витков зависит напряжение, а от диаметра провода обмотки — сила тока.
Схема подключения трансформатора достаточно проста. На вход подается питание (переменное напряжение). Если это обычный понижающий транс, рассчитанный на стандартное сетевое напряжение, то подключаем 220 вольт. Полярность тут не имеет значения. Обычно на самом электротехническом устройстве пишется, где у него, какая обмотка, на сколько вольт она рассчитана.
Если вам попался силовой трансформатор, у которого нет четкого указания, надписи, где у него входные клеммы, выводы, провода, а вы точно знаете, что он на 220 вольт, то можно первичную обмотку просто вызвонить тестером, мультиметром. Итак, сначала зрительно определяем, какие выводы наиболее похожи на вход. Далее начинаем измерять сопротивление обмоток. Так как первичная обмотка рассчитана на большее напряжение (220 вольт), значит она будет иметь наибольшее сопротивление относительно всех остальных. Для примера, у большинства понижающих трансформаторов размерами примерно с кулак взрослого человека сопротивление входной, первичной обмотки будет лежать в пределах 10-1000 ом. Чем больше трансформатор, тем меньше сопротивление на его входной обмотки.
Вторичная обмотка силового понижающего трансформатора в простом варианте имеет два вывода (провода, клеммы).
Она наматывается проводом большего диаметра, в сравнении с первичной обмоткой. На ее выводах будет пониженное переменное напряжение (когда на вход подадим питание). Для большинства устройств нужно постоянное низковольтное напряжение, а поскольку со вторичной обмотки выходит переменное напряжение, то ее в большинстве случаев подключают к диодному, выпрямительному мосту, который и преобразует переменное напряжение в постоянное.
Для некоторых электротехнических устройств нужно несколько различных низковольтных напряжений. В этом случае ставятся силовые понижающие трансформаторы, у которых имеется одна входная обмотка (первичная), рассчитанная на 220 или 380 вольт, и несколько выходных (вторичные). Либо может быть вторичная обмотка со средней точкой. То есть, у выходной обмотки электрической машины (транса) выходит 3 провода (один провод общий для двух одинаковых обмоток, ну и по проводу, идущие от других концов этих обмоток). У таких понижающих трансформаторов относительно общего провода будет два одинаковых низковольтных напряжения, а общее напряжение будет равно сумме этих двух напряжений.
В промышленности широко используются также напряжения величиной в 380 вольт. Следовательно, те трансформаторы, что там используются могут быть рассчитаны как на входное переменное напряжение 220 вольт, так и на 380 вольт. Если на таких трансах есть надпись (входного и выходного напряжения), значит хорошо. Если же непонятно, на какое входное напряжение рассчитан трансформатор, то — если на транс, рассчитанный на 380 вольт подать 220 вольт, на выходе мы всего лишь получим меньшее напряжение, чем он изначально должен выдавать, если же наоборот, транс рассчитан на 220 вольт, а мы на него подадим 380 вольт, то он быстро начнет греться и в скором времени просто выйдет из строя.
P.S. Трансформаторы рассчитаны на работу именно с переменным током, от постоянного они будут просто греться, не выдавая на выходе никакого напряжения. Также стоит учесть, что в большинстве случаев (когда обмотки между собой не связаны, к примеру две первичные, которые подключаются последовательно) полярность подключения к выводам трансформатора не имеет значения.
Главное, чтобы вы были уверены в том, что само устройство рассчитано на то напряжение, которое вы на него собираетесь подавать и получать. Ну, и не забываем — мощность имеет значение! Подбирайте именно такой трансформатор, который без перегрузки может обеспечить ваше устройство нужным напряжением и током.
Поиск по сайту
Меню разделов
Схемы соединений трансформаторов тока: схем, звезда, треугольник, параллель
Пример HTML-страницыСодержание
- Назначение трансформаторов тока
- Схема восьмерки или включение реле на разность токов двух фаз.
- Соединение трансформаторов тока и обмоток реле в неполную звезду
- Соединение трансформаторов тока в фильтр токов нулевой последовательности
- Последовательное соединение трансформаторов тока
- Параллельное соединение трансформаторов тока
Назначение трансформаторов тока
Счётчики для однофазных и трёхфазных сетей рассчитаны на номинальные токи до 100 А.
Использование приборов с большими токами затруднено по причине необходимости использования проводов слишком большого сечения. Таким образом, для измерения характеристик в линиях с большими токами необходимо использовать специальные устройства, понижающие ток до приемлемого значения. Для этой цели используются трансформаторы тока (ТТ).
Первичная обмотка трансформатора тока включается последовательно в линейный провод, по которому проходит высокий ток, а ко вторичной обмотке подключается измерительный прибор. Для удобства выводы маркируются обозначениями. Для начала и, соответственно, конца первичной обмотки применяются обозначения Л1 и Л2. Для вторичной обмотки — И1 и И2. При подключении необходимо строго соблюдать полярность первичной и вторичной обмоток ТТ.
Чаще всего величина вторичного тока равна 5 А, иногда применяются ТТ со вторичным током 1 А. Для измерения же напряжения в высоковольтных сетях используется подключение через трансформатор напряжения, который понижает напряжение до 100 или 57.
7 вольт.
Орлов Анатолий Владимирович
Начальник службы РЗиА Новгородских электрических сетей
Задать вопрос
Измерительные трансформаторы вносят свою погрешность в измерения. Здесь важно соблюдать правильную схему подключения с соблюдением обозначений. Например, если изменить местами выводы вторичных цепей И1 и И2, то за этим последует существенный недоучёт электроэнергии.
Трансформаторы тока подключаются в трёхфазных цепях по схеме неполной звезды (сети с изолированной нейтралью). При наличии нулевого провода подключение осуществляется с помощью полной звезды. В дифференциальных защитах силовых трансформаторов ТТ подключаются по схеме «Треугольник».
Это позволяет скомпенсировать сдвиг фаз вторичных токов, что уменьшит ток небаланса.
В трёхфазных сетях без нулевого провода обычно трансформаторы тока подключаются только на две ведущие линии, поскольку измерив ток в двух фазах, можно легко рассчитать величину тока в третьей фазе.
Если сеть имеет глухозаземлённую нейтраль (как правило, сети 110 кВ и выше), то обязательно подключение ТТ ко всем трём фазам. Соединение обмоток реле и трансформаторов тока в полную звезду. Эта схема соединения трансформаторов представлена в виде векторных диаграмм, которые иллюстрируют работу трансформатора на рис. 2.4.1 и на схемах 2.4.2, 2.4.3, 2.4.4.
Если трансформатор работает в нормальном режиме, или если он симметричный, то будет проходить ток небаланса или небольшой ток, который появляется из–за разных погрешностей трансформаторов тока.
Представленная выше схема применяется против всех видов КЗ (междуфазных и однофазных) во время включения защиты.
Трехфазное КЗ
Двухфазное КЗ
Однофазное КЗ
Отношение Iр/Iф (ток в реле)/ (ток в фазе) называется коэффициентом схемы, его можно определить для всех схем соединения.
Для данной схемы коэффициент схемы kсх будет равен 1.
На рис. 2.4.5 предоставлена схема соединения обмоток реле и трансформаторов тока в неполную звезду, а на рис. 2.4.6, 2.4.7. ее векторные диаграммы, которые иллюстрируют работу этой схемы.
Трехфазное КЗ — когда токи могут идти в обратном проводе по обоим реле.
Двухфазное КЗ — когда токи, могут протекать в одном или в двух реле в соответствии с повреждением тех или иных фаз.
КЗ фазы В одной фазы может происходить тогда, когда токи не появляются в этой схеме защиты.
Схему неполной звезды можно применять только в сетях с нулевыми изолированными точками при kсх=1 с целью защиты от КЗ междуфазных, и может реагировать только на некоторые случаи КЗ однофазного.
На рис. 2.4.8. можно изучить схему соединения в звезду и треугольник обмоток реле и трансформаторов соответственно.
Во время симметричных нагрузок в реле и в период возникновения трехфазного КЗ может проходить линейный ток, сдвинутый на 30* по фазе относительно тока фазы и в разы больше его.
Особенности схемы этого соединения:
- при разных всевозможных видах КЗ проходят токи в реле, при этом защита которая построена по такой схеме, будет реагировать на все виды КЗ;
- ток в реле относится к фазному току в зависимости от вида КЗ;
- ток нулевой последовательности, который не имеет путь через обмотки реле для замыкания, не может выйти за границы треугольника трансформаторов тока.
Выше приведенная схема применяется чаще всего для дистанционной или во время дифференциальной защиты трансформаторов.
Схема восьмерки или включение реле на разность токов двух фаз.
На рис. 2.4.9 представлена сама схема соединения, а на рис. 2.4.10, 2.4.11.векторные диаграммы, которые иллюстрируют работу этой схемы.
Соединение трансформаторов тока и обмоток реле в неполную звезду
Симметричная нагрузка при трехфазном КЗ.
Двухфазное КЗДвухфазно КЗ АВ или ВС
При разных видах КЗ, ток в реле и его чувствительность будут разными.
Ток в реле будет равен нулю во время однофазного КЗ фазы В. Эту схему можно применять, тогда, когда не требуется действий трансформатора для защиты от разных междуфазных КЗ с соединением обмоток Y/* – 11 группа, и когда эта защита обеспечивает необходимую чувствительность.
Соединение трансформаторов тока в фильтр токов нулевой последовательности
На рис. 2.4.12. можно изучить схему соединения трансформаторов тока в фильтр токов нулевой последовательности. Только во время однофазных или двуфазных КЗ на землю появляется ток в реле. Эту схему можно применять во время защиты от КЗ на землю. КЗ IN=0 при двухфазных и трехфазных нагрузках. Но часто ток небаланса Iнб появляется из–за погрешности трансформаторов тока в реле.
Последовательное соединение трансформаторов тока
На рис. 2.4.13. представлена схема последовательного соединения трансформаторов тока. Подключенная к трансформаторам тока, нагрузка, распределяется поровну. Напряжение, которое приходится на любой трансформатор тока и на вторичный ток остается неизменным.
Орлов Анатолий Владимирович
Начальник службы РЗиА Новгородских электрических сетей
Задать вопрос
Во время использования трансформаторов тока малой мощности применяется эта схема.
Параллельное соединение трансформаторов тока
На рис. 2.4.14. представлена схема параллельного соединения трансформаторов тока. Эту схему можно использовать с целью получения разных нестандартных коэффициентов трансформации. Схемы подключения счетчиков электроэнегии, как однофазных, так и 3-х фазных Вы можете найти тут.
Принципиальная схема силового трансформатора
| В этой статье мы поговорим о трансформаторах, устройствах способных повышать или понижать напряжение при переменном токе. Существуют различные по конструкции и предназначению трансформаторы. Например есть как однофазные, так и трехфазные. На фото изображен однофазный трансформатор: Трансформатор напряжения соответственно будет называться повышающим, если на выходе со вторичной обмотки напряжение выше, чем в первичной, и понижающим, если, напряжение во вторичной обмотке ниже, чем в первичной. Принципиальная схема трансформатора Красным (на рисунке ниже) обозначена первичная обмотка, синим вторичная, также изображен сердечник трансформатора, собранный из пластин специальной электротехнической стали. Буквами U1 обозначено напряжение первичной обмотки. Буквами I1 обозначен ток первичной обмотки. U2 обозначено напряжение на вторичной обмотке, I2 ток во вторичной. В трансформаторе две или более обмоток индуктивно связаны. Также трансформаторы могут использоваться для гальванической развязки цепей. Принцип работы трансформатора Принцип действия трансформатораКоэффициент трансформации – формула Если коэффициент трансформации меньше единицы, то трансформатор повышающий, если больше единицы, понижающий. Разберем на небольшом примере: w1 количество витков первичной обмотки равно условно равно 300, w2 количество витков вторичной обмотки равно 20. Трансформаторы на схемахОбозначается на принципиальных схемах трансформатор так: Обозначение трансформатора на схемах На следующем рисунке изображен трансформатор с несколькими вторичными обмотками: Трансформатор с двумя вторичными обмотками Цифрой “1” обозначена первичная обмотка (слева), цифрами 2 и 3 обозначены вторичные обмотки (справа). Сварочные трансформаторыСуществуют специальные сварочные трансформаторы. Сварочный трансформатор предназначен для сварки электрической дугой, он работает как понижающий трансформатор, снижая напряжение на вторичной обмотке, до необходимой величины для сварки. Силовые трансформаторыФото высоковольтный трансформатор Трансформаторы с 6-10 киловольт на 380 вольт расположены вблизи потребителей. Такие трансформаторы стоят на трансформаторных подстанциях расположенных во многих дворах. Они поменьше размерами, но вместе с ВН (выключателями нагрузки) которые ставятся перед трансформатором и вводными автоматами и фидерами могут занимать двух этажное здание. Трансформатор 6 киловольт У трехфазных трансформаторов обмотки соединяются не так, как у однофазных трансформаторов. Они могут соединяться в звезду, треугольник и звезду с выведенной нейтралью. На следующем рисунке приведена как пример одна из схем соединения обмоток высокого напряжении и низкого напряжения трехфазного трансформатора: Пример соединения обмоток силового трансформатора Трансформаторы существуют не только напряжения, но и тока. Изображение на схемах трансформатор тока На фото далее изображены именно такие трансформаторы тока: Трансформатор тока – фото Существуют также, так называемые, автотрансформаторы. В этих трансформаторах обмотки имеют не только магнитную связь, но и электрическую. Так обозначается на схемах лабораторный автотрансформатор (ЛАТР): Лабораторный автотрансформатор – изображение на схеме Используется ЛАТР таким образом, что включая в работу часть обмотки, с помощью регулятора, можно получить различные напряжения на выходе. Фотографию лабораторного автотрансформатора можно видеть ниже: В электротехнике существуют схемы безопасного включения ЛАТРа с гальванической развязкой с помощью трансформатора: Безопасный ЛАТР изображение на схеме Для согласования сопротивления разных частей схемы служит согласующий трансформатор. Тороидальные трансформаторыПромышленность изготавливает и так называемые тороидальные трансформаторы. Один из таких изображен на фото: Фотография – тороидальный трансформатор Преимущества таких трансформаторов по сравнению с трансформаторами обычного исполнения заключаются в более высоком КПД, меньше звуковой дребезг железа при работе, низкие значения полей рассеяния и меньший размер и вес. Сердечники трансформаторов, в зависимости от конструкции могут быть различными, они набираются из пластин магнитомягкого материала, на рисунке ниже приведены примеры сердечников: Сердечники трансформаторов – рисунок Вот в кратце и вся основная информация о трансформаторах в радиоэлектронике, более подробно разные частные случаи можно рассмотреть на форуме. Автор AKV. |
| Раздел: | Электротехника |
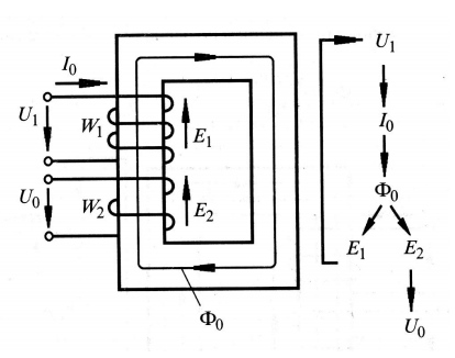
Трансформатором называется статический электромагнитный аппарат, предназначенный для преобразования системы переменного тока одних параметров в систему переменного тока с другими параметрами.
Принцип действия трансформатора
Простейший трансформатор состоит из магнитопровода и двух расположенных на нем обмоток. Обмотки электрически не связаны друг с другом. Одна из обмоток — первичная, подключена к источнику переменного тока. К другой обмотке — вторичной подключают потребитель.
Принципиальная схема трансформатора
Действие трансформатора основано на явлении электромагнитной индукции. При подключении первичной обмотки к источнику переменного тока в витках этой обмотки протекает переменный ток I1, который создает в магнитопроводе переменный магнитопоток Ф. Замыкаясь в магнитопроводе, этот поток пронизывает обе обмотки, индуцируя в них ЭДС:
Из этих формул следует, что вычисленные ЭДС е1 и е2 могут отличаться друг от друга числами витков в обмотках.
Применяя обмотки с различным соотношением витков, можно изготовить трансформатор на любое отношение напряжений.
При подключении ко вторичной обмотке нагрузки zн в цепи потечет ток I2 и на выводах вторичной обмотки установится напряжение U2.
Обмотка трансформатора, подключенная к сети c более высоким напряжением, называется обмоткой высшего напряжения (ВН). А обмотка, присоединенная к сети меньшего напряжения — обмоткой низшего напряжения (НН).
Таким образом, трансформаторы — обратимые аппараты, то есть могут работать как повышающими, так и понижающими.
При транспортировке электроэнергии на большие расстояния для снижения потерь используется принцип трансформации. Для этого электричество, вырабатываемое генераторами, поступает на трансформаторную подстанцию. На ней повышается амплитуда напряжения, поступающего в линию электропередачи.
Второй конец ЛЭП подключен на ввод удаленной подстанции. На ней для распределения электричества между потребителями осуществляется понижение напряжения.
На обеих подстанциях трансформацией электроэнергии больших мощностей занимаются специальные силовые устройства:
Они имеют много общих признаков и характеристик, но отличаются определенными принципами работы. Эта статья описывает только первые конструкции, у которых передача электроэнергии между разделенными обмотками происходит за счет электромагнитной индукции. При этом изменяющиеся по амплитуде гармоники тока и напряжения сохраняют частоту колебаний.
Силовые трансформаторы в энергетике устанавливаются на заранее подготовленные стационарные площадки с прочными фундаментами. Для размещения на грунте могут монтироваться рельсы и катки.
Общий вид одного из многочисленных типов силовых трансформаторов, работающего с системами напряжений 110/10 кВ и обладающего величиной полной мощности 10 МВА, показан на фотографии ниже.
Отдельные ярко выраженные элементы его конструкции снабжены подписями. Более подробно устройство основных частей и их взаимное расположение демонстрирует чертеж.
Электрическое оборудование трансформатора размещается внутри металлического корпуса, изготовленного в форме герметичного бака с крышкой. Он заполнен специальным сортом трансформаторного масла, которое обладает высокими диэлектрическими свойствами и, одновременно, используется для отвода тепла от деталей, подвергаемых большим токовым нагрузкам.
Гидравлическая схема трансформатора
Упрощенно состав и взаимодействие ее основных элементов показано на картинке.
Для залива/слива масла используются специальные задвижки и вкручивающаяся пробка, а запорный вентиль, расположенный внизу бака, предназначен для отбора проб масла и последующего проведения его химического анализа.
В силовом трансформаторе образовано два контура циркуляции масла:
Первый контур представлен радиатором, состоящим из верхнего и нижнего коллекторов, соединенных системой металлических трубок. Через них проходит нагретое масло, которое, находясь в магистралях охладителя, остывает и возвращается в бак.
Внутри бака циркуляция масла может производиться:
принудительно за счет создания давления в системе насосами.
Часто поверхность бака увеличивается за счет создания гофр — специальных металлических пластин, улучшающих теплообмен между маслом и окружающей атмосферой.
Забор тепла от радиатора в атмосферу может выполняться обдувом системой вентиляторов или без них за счет свободной конвекции воздуха. Принудительный обдув эффективно повышает теплосъем с оборудования, но увеличивает затраты энергии на эксплуатацию системы. Они могут снизить нагрузочную характеристику трансформатора до 25%.
Тепловая энергия, выделяемая современными трансформаторами повышенной мощности, достигает огромных величин. Об ее размере может служить тот факт, что сейчас за ее счет стали реализовывать проекты отопления промышленных зданий, расположенных рядом с постоянно работающими трансформаторами. В них поддерживаются оптимальные условия работы оборудования даже в зимнее время.
Контроль уровня масла в трансформаторе
Масло постоянно циркулирует внутри бака.
Его температура зависит от целого комплекса воздействующих факторов. Поэтому объем его все время изменяется, но поддерживается в определенных границах. Для компенсации объемных отклонений масла служит расширительный бачок. В нем удобно наблюдать текущий уровень.
Для этого используется маслоуказатель. Наиболее простые устройства изготавливают по схеме сообщающихся сосудов с прозрачной стенкой, заранее проградуированной в единицах объема.
Подключения такого маслоуказателя параллельно расширительному баку вполне достаточно для контроля эксплуатационных характеристик. На практике встречаются и другие, отличные от этого принципа работы маслоуказатели.
Защита от проникновения влаги
Поскольку верхняя часть расширительного бака контактирует с атмосферой, то в ней устанавливают осушитель воздуха, препятствующий проникновению влаги внутрь масла и снижению его диэлектрических свойств.
Защита от внутренних повреждений
Важным элементом масляной системы является газовое реле.
Его монтируют внутри трубопровода, соединяющего основной бак трансформатора с расширительным. За счет этого все газы, выделяемые при нагреве из масла и органической изоляции, проходят через емкость с чувствительным элементом газового реле.
Этот датчик отстроен от работы на очень маленькое, допустимое газообразование, но срабатывает при его увеличении в два этапа:
1. на выдачу светового/звукового предупредительного сигнала обслуживающему персоналу о возникновении неисправности при достижении уставки первой величины;
2. на отключение силовых автоматических выключателей со всех сторон трансформатора для снятия напряжения при бурном газообразовании, свидетельствующем о начале мощных процессов разложения масла и органической изоляции, начинающихся при коротких замыканиях внутри бака.
Дополнительная функция газового реле — контроль уровня масла в баке трансформатора. При снижении его до критической величины газовая защита может отработать в зависимости от настройки:
только на сигнал;
на отключение с выдачей сигнала.
Защита от аварийного повышения давления внутри бака
На крышке трансформатора так монтируется выхлопная труба, чтобы ее нижний конец сообщался с емкостью бака, а масло поступало внутрь до уровня в расширителе. Верхняя часть трубы возвышается над расширителем и отводится в сторону, немного загибается вниз. Ее конец герметично закрыт стеклянной предохранительной мембраной, которая разрушается при аварийном повышении давления из-за возникновения нерасчетного нагрева.
Другая конструкция подобной защиты основана на монтаже клапанных элементов, которые открываются при повышении давления и закрываются при его сбросе.
Еще один вид — сильфонная защита. Она основана на быстром сжатии сильфона при резком повышении газа. В результате сбивается защелка, удерживающая боек, который в нормальном положении находится под воздействием сжатой пружины. Освобожденный боек разбивает стеклянную мембрану и тем самым осуществляет сброс давления.
Электрическая схема силового трансформатора
Внутри корпуса бака размещаются:
остов с верхней и нижней балкой;
обмотки высокого и низкого напряжения;
регулировочные ответвления обмоток;
низковольтный и высоковольтный отводы
нижняя часть вводов высокого и низкого напряжения.
Остов вместе с балками служит для механического закрепления всех составных деталей.
Конструкция внутренних элементов Магнитопровод служит для снижения потерь магнитному потоку, проходящему через обмотки. Его изготавливают из сортов электротехнической стали шихтованным способом.
По обмоткам фаз трансформатора протекает ток нагрузки. Материалами для их изготовления выбирают металлы: медь или алюминий с круглым либо прямоугольным сечением. Для изоляции витков используют специальные сорта кабельной бумаги или хлопчатобумажную пряжу.
Концентрические намотанные обмотки выполняют в виде цилиндров, расположенных один в другом. Для стороны высокого напряжения (ВН) создается непрерывная или многослойная обмотка, а для низкого (НН) — винтовая и цилиндрическая.
Обмотку НН располагают ближе к стержню: так легче выполнить слой для ее изоляции. Затем на нее устанавливают специальный цилиндр, обеспечивающий изоляцию между сторонами высокого и низкого напряжения, а на него монтируют обмотку ВН.
Описанный способ монтажа показан на левой части нижерасположенной картинки с концентрическим размещением обмоток на стержне трансформатора.
С правой стороны картинки показан способ размещения чередующихся обмоток, разделяемых изоляционным слоем.
Для повышения электрической и механической прочности изоляции обмоток их поверхность пропитывают специальным сортом глифталевого лака.
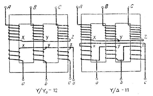
Для подключения обмоток одной стороны напряжения между собой используют схемы:
При этом концы каждой обмотки маркируют буквами латинского алфавита, как показано в таблице.
| Тип трансформатора | Сторона обмотки | ||||||||
| Низкого напряжения | Среднего напряжения | Высокого напряжения | |||||||
| начало | конец | нейтраль | начало | конец | нейтраль | начало | конец | нейтраль | |
| Однофазный | а | X | — | Ат | Хт | — | А | X | — |
| Две обмотки три фазы | a | Х | — | — | — | А | X | ||
| b | Y | B | Y | ||||||
| с | г | C | Z | ||||||
| Три обмотки три фазы | a | X | Ат | Хт | А | X | |||
| b | Y | Y т | B | Y | |||||
| c | Z | Хт | C | Z | |||||
Выводы от обмоток подключают к соответствующим токоотводам, которые монтируются на шпильки проходных изоляторов, расположенных на крышке бака трансформатора.
Для осуществления возможности регулировки величины выходного напряжения на обмотках делают ответвления. Один из вариантов выполнения регулировочных ответвлений показан на схеме.
Систему регулирования напряжения создают с возможностью изменения номинальной величины в пределах ±5%. Для этого выполняют пять ступеней по 2,5% в каждой.
У мощных силовых трансформаторов регулирование обычно создают на обмотке высокого напряжения. Это упрощает конструкцию переключателя ответвлений и позволяет повышать точность выходных характеристик за счет большего числа витков на этой стороне.
Для многослойных цилиндрических обмоток регулировочные ответвления выполняют на внешнем стороне слоя у окончания обмотки и компонуют их симметрично на одинаковой высоте относительно ярма.
У отдельных конструкций трансформаторов ответвления делают в средней части. При использовании оборотной схемы одна половина обмотки выполняется с правой намоткой, а вторая — с левой.
Для коммутации ответвлений используют трехфазный переключатель.
У него есть система неподвижных контактов, которые подключены к ответвлениям обмоток, и подвижных, осуществляющих коммутацию схемы за счет создания различных электрических цепей с неподвижными контактами.
Если ответвления сделаны около нулевой точки, то одним переключателем управляют работой сразу всех трех фаз. Это можно делать потому, что между отдельными частями переключателя напряжение не превышает 10% линейной величины.
Когда ответвления выполнены в средней части обмотки, то для каждой фазы используется свой, индивидуальный переключатель.
Способы регулирования выходного напряжения
Существуют два типа переключателей, позволяющие изменять количество витков на каждой обмотке:
1. с отключением нагрузки;
2. под нагрузкой.
Первый способ требует больше времени на выполнение и не пользуется популярностью.
Переключения под нагрузкой обеспечивают более легкое управление электрическими сетями за счет беспрерывного электроснабжения подключенных потребителей.
Но, для его выполнения необходимо иметь усложненную конструкцию переключателя, который наделяется дополнительными функциями:
осуществление переходов между ответвлениями без разрыва токов нагрузки за счет подключения двух соседних контактов на момент переключения;
ограничение тока короткого замыкания внутри обмотки между подключаемыми ответвлениями во время их одновременного включения.
Техническое решение этих вопросов заключается в создании переключающих устройств, работающих от дистанционного управления с применением токоограничивающих реакторов и резисторов.
На фотографии, показанной в начале статьи, у силового трансформатора используется автоматическое регулирование выходного напряжения под нагрузкой за счет создания конструкции АРН, сочетающей релейную схему управления электродвигателя с приводным механизмом и контакторами.
Принцип и режимы работы
В основу работы силового трансформатора заложены те же законы, что и у обычного:
Проходящий по входной обмотке электрический ток с изменяющейся по времени гармоникой колебаний наводит внутри магнитопровода меняющееся магнитное поле.
Изменяющийся магнитный поток, пронизывая витки второй обмотки, наводит в них ЭДС.
При эксплуатации и проверках силовой трансформатор может оказаться в рабочем или аварийном режиме.
Рабочий режим создается подключением источника напряжения к первичной обмотке, а нагрузки — ко вторичной. При этом величина тока в обмотках не должна превышать расчетных допустимых значений. В этом режиме силовой трансформатор должен длительно и надежно питать все подключенные к нему потребители.
Разновидностями рабочего режима являются опыт холостого хода и короткого замыкания, создаваемые для проверок электрических характеристик.
Холостой ход создается размыканием вторичной цепи для исключения протекания в ней тока. Он используется для определения:
потерь в стали на намагничивание сердечника.
Опыт короткого замыкания , создается шунтированием накоротко выводов вторичной обмотки, но с заниженным напряжением на входе в трансформатор до величины, способной создать вторичный номинальный ток без его превышения.
Этот способ используют для определения потерь в меди.
К аварийным режимам трансформатора относятся любые нарушения его работы, приводящие к отклонению рабочих параметров за границы допустимых для них значений. Особенно опасным считается короткое замыкание внутри обмоток.
Аварийные режимы приводят к пожарам электрооборудования и развитию необратимых последствий. Они способны причинить огромный ущерб энергосистеме.
Поэтому для предотвращения подобных ситуаций все силовые трансформаторы снабжаются устройствами автоматики, защит и сигнализации, которые предназначены для поддержания нормальной работы первичной схемы и быстрого отключения ее со всех сторон при возникновении неисправностей.
Устройство трансформатора | Схема трансформатора
Магнитопровод. Трансформаторы могут быть трех видов: стержневые, броневые и тороидальные, принадлежность к одной из групп определяет конфигурация магнитопровода.
На рис. 1а изображен стержневой трансформатор.
Стержни магнитопровода 1 охватывают обмотки 2. В броневом трансформаторе, который изображен на рис. 1б, наоборот, обмотки 2 частично охвачены магнитопроводом 1, который как бы служит броней обмоткам. Обмотки в трансформаторе тороидального типа (рис. 1в) равномерно распределены по окружности магнитопровода 1.
Рис. 1. Устройство стержневого (а), броневого (б) и тороидального (в) трансформаторов
Трансформаторы, имеющие среднюю и большую мощность, как правило, изготавливают стержневыми. Их конструкция наиболее простая, что облегчает процессы осуществления изоляции и ремонтные работы на обмотках. Их плюсами можно назвать лучшее охлаждение, поэтому обмоточных проводов расходуется меньше. Маломощные однофазные трансформаторы изготавливают броневого или тороидального типа, их вес и стоимость меньше, по сравнению со стержневыми, так как уменьшается число катушек и упрощается их изготовление и сборка. Тяговые трансформаторы, в которых регулировка осуществляется на той стороне, где сопротивление меньше, делают стержневыми, если же регулировка осуществляется на стороне большего напряжения — броневыми.
Для изготовления магнитопроводов трансформаторов используется листовая электротехническая сталь с целью уменьшения потерь, вызываемых вихревыми токами (рис. 2). Берут лист, толщина которого не превышает 0,35-0,5 мм.
Рис. 2. Магнитопроводы однофазного тягового (а) и силового трехфазного (б) трансформаторов: 1 — стержень; 2 — ярмовые балки; 3 — стяжные шпильки; 4 — основание для установки катушек; 5 — ярмо
В основном, используют горячекатаную сталь с большим содержанием кремния, также может использоваться холоднокатаная сталь. Листы изолируются с использованием лака или тонкой бумаги. У среднемощного трансформатора стержни магнитопровода могут иметь сечение в виде квадрата или креста, у самых мощных сечение ступенчатое, почти круглой формы (рис. 3, а). Такое сечение позволяет сделать периметр стержня минимальным при заданной величине площади поперечного сечения, это дает возможность уменьшить длину витков обмоток и, соответственно, минимизировать расход обмоточных проводов.
В наиболее мощных трансформаторах делают каналы между стальными пакетами, из которых состоят стержни.
Ширина таких каналов варьируется в пределах 5—6 мм, в них происходит циркуляция охлаждающего масла. Сечение ярма, соединяющего стержни, обычно имеет прямоугольную форму, а его площадь должна быть на 10—15% больше, чем площадь сечения стержней. Благодаря этому сталь нагревается меньше, минимизируются потери мощности.
Собирается магнитопровод для силовых трансформаторов из листов, имеющих прямоугольную форму. Ярмо и стержни сочленяются так, чтобы их листы перекрывались внахлест. Для этого листы смежных слоев сердечника собирают таким образом (рис. 3, б, г): листами ярма 3, 4 и стержней 1, 3 последующих слоев перекрываются стыки в соответствующих листах слоя предыдущего. Тем самым в местах сочленения магнитное сопротивление значительно снижается. Финишная сборка магнитопровода осуществляется после того, как катушки установлены на стержни (рис.
3 в).
В маломощных устройствах сборочный процесс магнитопроводов производится из штампованных стальных листов, имеющих Ш- и П-образную форму, либо берут штампованные кольца (рис. 4 а—в).
Широко распространены и магнитопроводы (рис. 4, г—ж), навивка которых осуществляется узкой лентой из электротехнической стали (холоднокатаной) либо из сплавов железа и никеля.
Обе обмотки, первичная и вторичная, с целью улучшить магнитную связь, располагают на самом малом допустимом расстоянии друг от друга, при этом на каждый стержень магнитопровода ставят одну или две обмотки 2 и 3.
Рис. 3 Формы поперечного сечения (а) и последовательность сборки магнитопровода (б — г)
Рис. 4. Сердечники однофазных трансформаторов малой мощности, собранные из штампованных листов (о, б), колец (в) и стальной ленты (г—ж)
Обмотки размещаются концентрически одна сверху другой (рис.
5, а). Возможно и выполнение обмоток 2 и 3 как перемежающихся секций из дисков — катушек (рис. 5, б). Для первого случая обмотки именуются концентрическими, во втором варианте — чередующимися (дисковыми). В основном, в силовых трансформаторах применяются концентрические обмотки, ближе к стержням расположена низковольная обмотка, которой требуется меньшая изоляция от магнитопровода трансформатора, высоковольтная обмотка расположена снаружи.
Бывает и так, что в трансформаторах броневого вида применяются дисковые обмотки. Тогда по краям стержня ставят катушки от низковольтной обмотки. Соединяться отдельные катушки могут последовательно или параллельно. В трансформаторах ЭПС у вторичной обмотки имеется несколько выводов, служащих для изменения напряжения, которое подается к тяговым двигателям, тогда на каждый стержень ставятся по три концентрические обмотки (рис. 5, в). Нерегулируемую часть 4 обмотки вторичной размещают ближе к стержню, а в центре размещают первичную обмотку 5 большего напряжения, над ней располагается регулируемая часть 6 вторичной обмотки.
Так как регулируемая часть данной обмотки размещена снаружи, выполнение выводов от ее витков значительно упрощается.
В трансформаторах небольшой мощности применяют многослойные обмотки, провод имеет сечение круглой формы, изоляция может быть эмалевой или хлопчатобумажной. Провод накручивают на каркас, сделанный из электрокартона. Изоляция слоев производится прокладками, сделанными из специальной бумаги, также используется пропитанная лаком ткань.
Рис. 5. Расположение концентрических (а), дисковых (б) и концентрических трехслойных (в) обмоток трансформатора
В мощных трансформаторах, стоящих на ЭПС, тяговых подстанциях и т.п., применяют обмотки спиральные непрерывные (рис. 6, а) и параллельные винтовые (рис. 6, б), характеризующиеся высокой надежностью и большой механической прочностью. Непрерывная обмотка в виде спирали служит первичной (высокого напряжения) и регулируемой частью вторичной обмотки (низкого напряжения).
Составляет такую обмотку ряд плоских катушек, имеющих один и тот же размер и соединенных последовательно между собой. При этом расположены они одна над другой. Разделяют их прокладки и рейки, сделанные из электрокартона. Этими деталями образованы каналы (горизонтальные и вертикальные), по каналам идет масло (охлаждающая жидкость).
Чтобы повысить электрическую прочность при воздействиях атмосферного напряжения, первые и последние пары катушек первичной (высоковольтной) обмотки изготавливают с усиленной изоляцией. Фактор усиленной изоляции ухудшает охлаждение. Чтобы избежать этого, провода этих катушек должны иметь площадь сечения больше, чем у иных катушек высоковольтной обмотки (первичной).
Винтовую параллельную обмотку применяют как нерегулируемую часть вторичной обмотки. Витки этой обмотки наматывают в направлении оси аналогично винтовой резьбе. Обмотка делается из определенного числа параллельных проводов, сечением прямоугольной формы.
Эти провода друг к другу прилегают в радиальном направлении. Разделяют отдельные витки и целые группы проводов каналы с циркулирующей по ним охлаждающей жидкостью.
Рис. 6. Непрерывная спиральная (а) и винтовая (б) обмотки мощных трансформаторов электрического подвижного состава: 1 — выводы; 2,6 — каналы для прохода охлаждающей жидкости; 3 — катушки; 4 — опорные кольца; 5 — рейки; 7 — бакелитовый цилиндр; 8 — проводники обмотки
Рис. 7. Устройство трансформаторов общего назначения (а) и тягового (б) с масляным охлаждением: 1— термометр; 2 — выводы обмотки высшего напряжения; 3—выводы обмотки низшего напряжения; 4, 6 — пробки для заливки масла; 5 — масломерное стекло; 7 — расширитель; 8 — сердечник; 9, 10 — обмотки высшего и низшего напряжений; 11 — пробка для спуска масла; 12 —бак для охлаждения масла; 13 — трубы для охлаждения масла; 14 — теплообменник; 15 — воздуховоды; 16, 18 — стойки для установки переключателя выводов трансформатора; 17 — заводской щиток; 19 — насос для циркуляции масла; 20 — опорные балки
Количество параллельных проводов зависит от величины тока, который будет проходить по обмотке.
Охлаждающая система. Применяемый способ охлаждения трансформатора определяет его номинальная мощность. Чем она больше, тем интенсивнее должно производиться охлаждение трансформатора.
В трансформаторах небольшой мощности обычно применяют естественное охлаждение воздухом, называются такие устройства «сухими». Тепло от нагреваемых поверхностей магнитопровода и обмоток в них отводится прямо в окружающий воздух. Иногда маломощные трансформаторы находятся в корпусе, который заполняют термореактивными компаундами, основа которых – эпоксидные смолы либо подобные материалы.
В трансформаторах, мощность которых средняя или большая, сердечник и обмотки полностью погружены в бак с минеральным маслом (трансформаторным), его подвергают тщательной очистке (рис. 7, а). Такой способ теплоотвода называется естественное масляное охлаждение. Трансформаторному маслу свойственна более высокая теплопроводность, чем воздуху, оно лучше отводит тепло к стенкам бака от сердечника и обмоток.
Площадь охлаждения у бака больше, нежели у трансформатора. А еще погружение трансформатора в бак, заполненный маслом, позволяет повысить электрическую прочность изоляции обмоток и уменьшить ее старение под воздействием атмосферных явлений. Баки для трансформаторов, имеющих мощность 20-30 кВА, изготавливают с гладкими стенками. Для трансформаторов большей мощности (к примеру, стоящих на тяговых подстанциях), с целью повысить теплоотдачу, площадь охлаждения увеличивают, используя трубчатые баки или баки с ребристыми стенками. Масло, нагревающееся в баке, поднимается вверх, а масло, охлаждающееся в трубах, спускается вниз. Создается естественная циркуляция, которая улучшает охлаждение трансформатора.
На ЭПС переменного тока ставят трансформаторы масляного охлаждения, циркуляция масла в них – принудительная, оно идет через теплообменник, который охлаждается воздухом (рис. 7, б). Подобная система охлаждения позволяет увеличить индукцию в сердечнике, в обмотках – плотность тока, таким образом уменьшают массу и размеры трансформатора.
В охлаждающую систему обычно ставят струйное реле, чтобы не дать трансформатору включиться, когда в нем нет циркуляции масла.
При работающем трансформаторе масло нагревается, его объем увеличивается. Когда нагрузка уменьшается, оно остывает, и объем становится прежним. Из-за этого масляные трансформаторы комплектуют дополнительным баком — это расширитель, который соединен с внутренней частью основного бака. Как только трансформатор нагревается, масло переходит в расширитель. Использование расширителя ведет к уменьшению площади соприкосновения масла с воздухом, уменьшается загрязнение и увлажнение масла.
Когда трансформатор работает, нагретое масло разлагается и загрязняется, поэтому оно требует периодической очистки и замены. Чтобы избежать взрыва и пожара, масляные трансформаторы стоят в огражденных помещениях. Максимум допустимой температуры для обмоток – 105°С, сердечника — 110°С, верхнего слоя масла – 95°С.
Чтобы предотвратить аварийные ситуации, устройства большой и средней мощности оснащают газовыми реле, их ставят прямо в трубопроводе, между расширителем и главным баком.
Если взрывоопасные газы, которые образуются при разложении масла, собираются в большом количестве, такое газовое реле выключит трансформатор в автоматическом режиме, предотвращая возможность аварии. На трансформаторы, мощность которых составляет более 1000 кВА, ставят и выхлопную трубу, закрываемую мембраной из стекла. Большое количество газов выдавит мембрану и выйдет в атмосферу, это исключает деформирование бака.
Трансформаторы многообмоточные. Самое большое распространение имеют однофазные двухобмоточные трансформаторы (рис. 8, а). Если нужно получить от одного трансформатора не одно, а несколько разных напряжений u21, u22, u23 (рис. 8, б), применяются многообмоточные трансформаторы. Их магнитопровод имеет несколько вторичных обмоток, причем все они имеют разное число витков. Например, у тяговых трансформаторов, используемых в электровозах, есть четыре обмотки: одна – высоковольтная первичная и три – низковольтные вторичные.
При этом одна (тяговая) должна питать цепи тяговых двигателей через выпрямитель, в то время как вторая обеспечивает питание собственных электропотребителей (цепи вспомогательных машин, освещение, управление и т.д.), третья предназначена для обеспечения питанием электрических отопительных печей вагонов для пассажиров. Если конструкцией электровоза предусмотрено рекуперативное торможение, то применяется особая вторичная обмотка, которая служит для обеспечения электропитанием возбуждающих обмоток тяговых двигателей, работающих в этом режиме. Есть и такие модели электровозов, в которых питание для всех тяговых двигателей предусмотрено от собственного выпрямителя, при этом трансформатор делается с соответствующим числом вторичных обмоток.
Рис. 8. Схемы двухобмоточного (а) и многообмоточного (б) трансформаторов
Схемы подключения трансформаторов напряжения
Общие сведения
Трансформаторами напряжения, как правило, называют разновидность трансформаторов, которые предназначены не для передачи мощности, а для гальванического разделения высоковольтной стороны от низковольтной.
Такие трансформаторы предназначены для питания измерительных и управляющих приборов. На «высокой» стороне различных трансформаторов напряжения, естественно, напряжение может быть разным, это и 6000, и 35000 вольт и даже много более, а вот на «низкой» стороне (на вторичной обмотке) оно не превышает 100 вольт.
Это очень удобно для унификации приборов управления. Если делать измерительные приборы и приборы управления, а это в основном реле, на высокое напряжение, то они, во-первых, будут очень большими, а во-вторых, очень опасными в обслуживании.
Коэффициент трансформации указан на самом трансформаторе и может выглядеть как Кu = 6000/100, либо просто 35000/100. Разделив одно число на другое, получим в первом случае этот коэффициент 60, во втором 350.
Данные трансформаторы бывают как «сухие», в которых в качестве изоляции используется электрокартон. Они применяются, обычно, для напряжений до 1000 вольт. Пример НОС-0,5. Где, Н означает напряжение, имеется ввиду трансформатор напряжения, О – однофазный, С – сухой, 0,5 – 500 вольт (0,5кВ).
А так же масляные: НТМИ, НОМ, 3НОМ, НТМК, в которых масло играет роль, как изолятора, так и охладителя. И литые, если быть точным, то с литой изоляцией (3НОЛ – трехобмоточный трансформатор напряжения однофазный с литой изоляцией), в которых все обмотки и магнитопровод залиты эпоксидной смолой.
Устройство трансформаторов напряжения
Как и все трансформаторы, как это было сказано выше, данный тип трансформаторов имеют как первичные обмотки (высоковольтные), так и вторичные (низковольтные). Различают однофазные и трехфазные трансформаторы напряжения.
В каждом из них имеется магнитопровод, к которому предъявляются довольно высокие требования. Дело в том, что чем больше рассеивание магнитного потока в таком трансформаторе, тем больше погрешность измерения. Кстати. В зависимости от погрешности различают трансформаторы по классу точности различаются (0,2; 0,5; 1; 3). Чем выше число, тем больше погрешность измерений.
К примеру, трансформатор с классом точности 0,2 может допустить погрешность не выше 0,2% от измеряемой величины напряжения, а, соответственно, класса точности 3 – не более 3%.
Обозначения на схемах и натуральное исполнение бывает сильно отличаются друг от друга.
Однофазный двухобмоточный трансформатор представлен на рисунке, так, как он выглядит на самом деле.
На схемах он обозначается как:
Обратите внимание, трансформатор понижающий, во вторичной обмотке меньше витков, чем в первичной, и это отражено визуально на схеме в данном случае, хотя это и не всегда делается. Кроме того, начала и концы обмоток обозначены на схеме и на самом трансформаторе. Первичные обмотки обозначаются большими (прописными) буквами AиX. Вторичные – малыми (строчными) буквами a и x.
Существуют и трехобмоточные однофазные трансформаторы, у которых две вторичных обмотки. Одна из которых является основной, а вторая дополнительной. Дополнительная обмотка служит для контроля изоляции и имеет аббревиатуру КИЗ. Маркировка выводов этой обмотки следующая ад — начало обмотки, хд — конец обмотки.
Трехфазные трансформаторы выпускаются с двумя типами магнитопроводов: трехстержневые и пятистержневые.
Начала и концы здесь обозначаются несколько по-другому. На первичных обмотках начала обозначаются буквами A, B иC согласно фазам к которым они будут подключаться, а концы буквами X,Y и Z. Вторичные обмотки, соответственно, малыми буквами a,b,cи x,y,z.
Магнитные потоки создаваемые катушками AX, BY, CZ компенсируют друг друга при нормальных условиях работы. Но вот в случае пробоя одной из фаз на землю в стержнях магнитопровода создается слишком большой дисбаланс и часть потока будет закольцовываться через воздух, что создает сильный нагрев трансформатора из-за повышения номинального тока в обмотках. Дополнительные стержни, как раз и призваны взять на себя образовавшиеся разбалансированные потоки и не допустить перегрева трансформатора. При этом в нем наматываются дополнительные обмотки, но об этом несколько позже.
Схемы соединений обмоток трансформаторов напряжения
Самым простым способом измерения межфазного напряжения является включение однофазного двухобмоточного трансформатора напряжения по схеме представленной на рисунке слева.
При этом на концах вторичной обмотки имеем напряжение соответствующее межфазному ВС, но уменьшенное с учетом коэффициента трансформации.
Все три межфазных напряжения можно измерять при помощи двух однофазных трансформатора подключенных определенным способом.
В трехфазных трансформаторах первичные обмотки всегда подключается по схеме «звезда».
Вторичные обмотки могут подключаться как по схеме «звезда» так и по схеме «треугольник».
При верхнем подключении на точках вывода вторичной обмотки мы имеем возможность измерения межфазных напряжений. При нижнем подключении, по схеме так называемого разомкнутого треугольника, мы можем выявить факт короткого замыкания или обрыва провода в одной их фаз на высокой стороне. Выводы при этом маркируются 01 и 02, поскольку при нормальных условиях работы между этими точками нет напряжения.
Для подключения реле защиты применяются, как уже было сказано выше дополнительные обмотки в трехобмоточных трансформаторах напряжения.
Пот пример подключения таких трансформаторов в трехфазную сеть. При этом концы обмоток заземляются как в первичной, так и во вторичной обмотке.
Вот еще несколько вариантов подключения однофазных трансформаторов для измерения межфазных и фазных напряжений, а так же для питания аппаратуры управления.
Более сложные варианты подключения трансформаторов напряжения, содержащих большее количество обмоток изучается в специальном курсе электротехники.
Пишите комментарии, дополнения к статье, может я что-то пропустил. Загляните на карту сайта, буду рад если вы найдете на моем сайте еще что-нибудь полезное.
Как работают трансформаторы. Основы цепей
Трансформатор представляет собой электрическое устройство, предназначенное для передачи электрической энергии от одной цепи к другой на той же частоте. Его также называют статическим механизмом, так как он не имеет движущихся частей.
Он используется для контроля уровней напряжения между цепями. Он состоит из трех основных частей, состоящих из двух обмоток и металлического сердечника, на который намотаны обмотки. Эти обмотки выполнены в виде катушек, изготовленных из материалов с хорошими токопроводящими свойствами. Обмотки в трансформаторе играют главную роль в машине, поскольку эти катушки обмотки служат катушками индуктивности.
A transformer consists of the following parts:
- Primary coil
- Secondary coil
- Core
- Insulating materials
- Transformer oil
- Conservator
- Breather
- Tap changer
- Охлаждающие трубки
- Реле Бухгольца
- Взрывоотвод
Как работают трансформаторы
Первичная обмотка, вторичная обмотка и сердечник являются основными частями силового трансформатора. Эти детали очень важны для работы трансформатора.
Первичная обмотка обычно изготавливается из меди из-за ее высокой проводимости и пластичности. Число витков катушки должно быть кратно числу витков вторичной обмотки. Он также отвечает за создание магнитного потока. Магнитный поток создается, когда первичная катушка подключена к электрическому источнику. Медный проводник, используемый в первичной обмотке, должен быть тоньше, чем у вторичной обмотки, чтобы ток вторичной обмотки был выше, чем ток первичной обмотки.
Вторичная катушка, которая также состоит из меди, принимает магнитный поток, создаваемый первичной катушкой. Поток проходит через сердечник и соединяется со вторичной катушкой. Вторичная обмотка отдает энергию в нагрузку при изменении напряжения. В этой катушке будет индуцироваться напряжение, поэтому обмотка должна иметь большее число витков по сравнению с первичной катушкой. Ток, исходящий от первичной катушки, будет генерировать переменный магнитный поток в сердечнике, вызывая электромагнитную связь между первичной и вторичной катушками.
Магнитный поток, проходящий через две катушки, индуцирует электродвижущую силу, величина которой пропорциональна числу витков катушки.
Величина наведенного напряжения, вызванного наведенным током во вторичной катушке, зависит от количества витков вторичной катушки. Соотношение между витками проводов и напряжением в каждой катушке определяется уравнением трансформатора :
Уравнение трансформатора показывает, что отношение входного и выходного напряжений трансформатора равно отношению числа включенных витков. первичная и вторичная катушки.
Расчет входного и выходного напряжения/тока в зависимости от витков первичной и вторичной обмоткиСвязь входного и выходного тока и витков обмотки трансформатора определяется выражением:
Данное уравнение показывает, что отношение входного и выходного тока трансформатора равно отношению числа витков двух катушек.
Оценивая два приведенных выше уравнения, мы можем сделать вывод, что если напряжение увеличивается, ток уменьшается. Точно так же, если напряжение уменьшается, ток увеличивается.
Что такое рейтинг ВА?Номинал ВА или вольт-ампер обычно используется для определения силы тока при заданном напряжении в трансформаторе. Вольт-ампер также используется для обозначения полной мощности в электрической цепи. Этот рейтинг определяет, сколько вольт-ампер способен выдать трансформатор.
Определение ВА и расчет максимального тока для первичной и вторичной обмотокДля расчета тока первичной и вторичной обмотки трансформатора с заданной мощностью ВА мы используем следующее:
Для отношения количества витков, напряжения и тока,
Для максимального тока первичной обмотки,
Для максимального тока вторичной обмотки,
Обозначение выходного напряжения трансформаторов с отводом от средней точки A отводом от средней точки Трансформатор также широко известен как «двухфазный трехпроводной трансформатор».
Это тип трансформатора, который имеет дополнительный провод, подключенный в середине вторичной обмотки трансформатора. Он обеспечивает два вторичных напряжения, В А и В В, с общим подключением. Эти вторичные напряжения равны подаваемому напряжению, таким образом обеспечивая равную мощность каждой обмотке.
12-0-12 Трансформатор
A 12-0-12 Трансформатор представляет собой понижающий трансформатор с отводом от средней точки с входным напряжением 220 В переменного тока при частоте 50 Гц и выходным напряжением 24 В или 12 В (среднеквадратичное значение). Он назван трансформатором 12-0-12 из-за выходных потенциалов трех клемм, как показано на рисунке выше. Вторичная обмотка состоит из трех выводов: двух выводов встык и третьего вывода в качестве центрального ответвления. На рисунке выше напряжение будет составлять 24 В от начала до конца (T 1 и Т 3 ). На Т 1 и Т 2 напряжение будет 12В.
0 в 12-0-12 представляет собой контрольную точку с нулевым напряжением.
Спасибо за внимание! Оставьте комментарий ниже, если у вас есть вопросы о чем-либо…
Цепи трансформаторов
Цепи трансформаторовПрименение закона напряжения к первичной и вторичной цепям трансформатора дает: Трансформатор является наиболее распространенным применением концепции взаимной индуктивности. В трансформаторе эффект взаимной индуктивности заключается в том, что первичная цепь потребляет больше энергии от источника питания в ответ на увеличение нагрузки на вторичную. Например, если сопротивление нагрузки во вторичной обмотке уменьшается, то требуемая мощность увеличивается, заставляя первичную сторону трансформатора потреблять больше тока для обеспечения дополнительной потребности.
| Index Transformer concepts Faraday’s law concepts Inductance concepts | ||
| Назад |
| Индекс Концепции трансформаторов Концепции индуктивности Цепи переменного тока | |||||
| Назад |
| Индекс Концепции трансформаторов Концепции индуктивности Цепи переменного тока | |||||||||||||||||||||||||||||||||||||||||||||
| Назад |
| Индекс Концепции трансформаторов Концепции индуктивности Цепи переменного тока | |||
| Назад |
Имеется практический средний диапазон сопротивлений нагрузки для работы трансформатора.
| Index Transformer concepts Inductance concepts AC Circuits | |||
| Назад |
Применение закона напряжения к первичной и вторичной цепям трансформатора дает: Получение уравнений цепи требует одновременного решения уравнений первичной и вторичной цепи. Из уравнения вторичной цепи можно найти выражение для вторичного тока I S . Это можно подставить в уравнение первичного контура: Последний член можно рационализировать, умножив числитель и знаменатель на дача Это позволяет разделить действительную и мнимую части и оформить выражение в виде стандартного комплексного числа. Это можно записать в виде стандартного импеданса цепи переменного тока Z: где
| Индекс Концепции трансформаторов Концепции закона Фарадея Концепции индуктивности | |||
| Вернуться |
Трансформеры
ТрансформерыДалее: Согласование импеданса Вверху: Индуктивность Предыдущий: Цепь Трансформатор – это устройство для повышения или понижения напряжения переменный электрический сигнал.
Без эффективных трансформаторов передача и
распределение переменного тока
электроэнергия на большие расстояния была бы невозможна. Рисунок 51
показана принципиальная схема типичного трансформатора.
Есть два контура. А именно первичная цепь и вторичная цепь .
Прямого электрического соединения между двумя цепями нет, но
каждая цепь содержит катушку, которая индуктивно соединяет ее с другой цепью.
В настоящих трансформаторах две катушки намотаны на один и тот же железный сердечник.
Железный сердечник предназначен для направления магнитного потока, создаваемого
ток, протекающий по первичной обмотке, так что
насколько это возможно, также связывает
вторичная катушка. Общий магнитный поток, связывающий две катушки, условно
обозначается на принципиальных схемах рядом параллельных прямых линий, проведенных между катушками. Рассмотрим особо простой трансформатор, в котором первичная и вторичная обмотки
катушки представляют собой соленоиды с одним и тем же заполненным воздухом сердечником.
Предположим, что
– длина сердечника, а – площадь его поперечного сечения. Пусть
общее число витков в первичной обмотке, и пусть
общее количество витков
во вторичной катушке. Предположим, что переменное напряжение
| (281) |
подается в первичную цепь от какого-либо внешнего источника переменного тока. Здесь, пиковое напряжение в первичной цепи, частота чередования (в радианах в секунду). Ток, движущийся вокруг первичная цепь написана
| (282) |
где максимальный ток. Этот ток создает изменяющийся магнитный поток, в сердечнике соленоида, который связывает вторичную катушку, и, тем самым, индуктивно генерирует переменную ЭДС
| (283) |
во вторичной цепи, где пиковое напряжение.
Предположим, что это
ЭДС вызывает переменный ток | (284) |
вокруг вторичной цепи, где пиковый ток.
Записано уравнение цепи для первичной цепи
| (285) |
предполагая, что сопротивление в этой цепи пренебрежимо мало. Первый срок в приведенном выше уравнении – ЭДС, генерируемая извне. Второй срок противо-ЭДС из-за собственной индуктивности первичной катушки. окончательный термин – это ЭДС из-за взаимной индуктивности первичной обмотки. и вторичные катушки. При отсутствии какого-либо значительного сопротивления в первичном цепи эти три ЭДС в сумме должны равняться нулю. Уравнения (281), (282), (284) и (285) можно комбинировать, чтобы получить
| (286) |
поскольку
| (287) |
Переменная ЭДС, генерируемая во вторичной цепи, состоит из
ЭДС, создаваемая собственной индуктивностью вторичной обмотки, плюс
ЭДС, создаваемая взаимной индуктивностью первичной и вторичной катушек.
Таким образом,
| (288) |
Уравнения (282), (283), (284), (287) и (288) дают
| (289) |
Теперь мгновенная выходная мощность внешнего источника переменного тока, питающего
первичный контур
| (290) |
Точно так же мгновенная электрическая энергия в единицу времени, индуктивно передаваемая от первичный во вторичный контур
| (291) |
Если резистивные потери в первичной а вторичные цепи пренебрежимо малы, как и предполагается, тогда по энергосбережению, эти две силы должны быть всегда равны друг другу.
Таким образом, | (292) |
который легко сводится к
| (293) |
Уравнения (286), (289), и (293) дают
| (294) |
который дает
| (295) |
и, следовательно,
| (296) |
Уравнения (293) и (296) можно объединить, чтобы получить
| (297) |
Обратите внимание, что хотя взаимная индуктивность двух катушек несет полную ответственность за передачу энергия между первичной и вторичной цепями, это собственная индуктивность двух катушек, которые определяют соотношение пиковых напряжений и пиковые токи в этих цепях.
Теперь из разд. 10.2, собственные индуктивности первичного и
вторичные катушки задаются а также
, соответственно. Следует
что
| (298) |
и, следовательно, что
| (299) |
Другими словами, отношение пиковых напряжений и пиковых токов в первичном и вторичном контурах определяется соотношением количество витков в первичной и вторичной обмотках. Это последнее соотношение обычно называют передаточное число трансформатора. Если вторичная катушка содержит на больше витков, чем первичная катушка. пиковое напряжение во вторичной цепи превышает напряжение в первичной цепи. Этот тип трансформатора называется повышающим трансформатором , , потому что он увеличивает напряжение сигнала переменного тока.
Обратите внимание, что при повышении
трансформатор пиковый ток во вторичной обмотке
цепи на меньше, чем на пикового тока в первичной цепи (как и должно быть, если необходимо сохранить энергию). Таким образом,
повышающий трансформатор фактически понижает ток. Так же,
если вторичная обмотка содержит меньше витков, чем у первичной обмотки
тогда пиковое напряжение во вторичной цепи на меньше, чем на в первичном контуре. Этот тип трансформатора называется понижающим .
трансформатор . Обратите внимание, что понижающий трансформатор фактически увеличивает мощность.
ток ( т.е. , пиковый ток во вторичной цепи
больше, чем в первом контуре). Электроэнергия переменного тока вырабатывается на электростанциях при довольно низком пиковом напряжении.
( т.е. , что-то вроде 440В), и потребляется бытовыми
пользователем при пиковом напряжении 110 В (в США). Однако электричество переменного тока
передается от электростанции к месту, где он потребляется
при очень высоком пиковом напряжении (обычно 50 кВ).
Фактически, как только сигнал переменного тока
выходит из генератора на электростанции он подается на повышающий
трансформатор, повышающий пиковое напряжение с нескольких сотен вольт до многих десятков
киловольт. Выходной сигнал повышающего трансформатора подается на
линия электропередач высокого напряжения, которая обычно транспортирует электричество по
многие десятки километров, и, как только электричество достигло своего
точка потребления, питание подается через серию понижающих трансформаторов
до тех пор, пока он не выйдет из бытовой розетки, его пиковое напряжение не
только 110В. Но если электроэнергия переменного тока вырабатывается и потребляется при
сравнительно низкие пиковые напряжения, зачем утруждать себя
повышение пикового напряжения до очень высокого значения в
электростанции, а затем снова понизить напряжение, как только электричество
достиг точки потребления? Почему бы не генерировать, передавать и
распределять электроэнергию при пиковом напряжении 110В?
Ну думай об электрике
линия электропередач, которая передает пиковую электрическую мощность между электростанцией
и город.
Мы можем думать о том, что
зависит от количества потребителей в городе и характера
электрические устройства, которыми они управляют, по существу, как фиксированное количество.
Предположим, что и пиковое напряжение и пиковый ток
сигнала переменного тока, передаваемого по линии,
соответственно. Мы можем думать об этих числах как о переменных, поскольку мы можем изменить
их с помощью трансформатора. Однако, поскольку произведение пика
напряжение и пиковый ток должны оставаться постоянными. Предположим, что сопротивление
линии есть . Пиковая скорость, при которой электрическая энергия теряется из-за
к омическому нагреву в линии есть , что можно записать
| (300) |
Таким образом, если мощность, передаваемая по линии, является фиксированной величиной, как сопротивление линии, то мощность, теряемая в линии из-за омического нагрева, изменяется подобно обратному квадрату из пиковое напряжение в линии.
Оказывается, даже при очень высоких напряжениях
таких как 50кВ, омические потери мощности в
линии электропередач протяженностью в десятки километров
может составлять до 20% передаваемой мощности. Это легко может быть
оценил, что если была предпринята попытка передать электроэнергию переменного тока
при пиковом напряжении 110 В омические потери были бы настолько велики, что практически ни один из
сила достигла бы своей цели. Таким образом, можно создать только
электроэнергию в центральном месте, передавать ее на большие расстояния,
а затем распределять его по месту потребления, если передача
выполняется при очень высоких пиковых напряжениях (чем выше, тем лучше). Трансформеры
играют жизненно важную роль в этом процессе, потому что они позволяют нам активизировать
и понижать напряжение электрического сигнала переменного тока
очень эффективно (хорошо продуманный
трансформатор обычно имеет потери мощности, которые составляют всего несколько процентов от
общая мощность, протекающая через него).
Конечно, трансформаторы не работают на постоянном токе, т.к. магнитный поток, создаваемый первичной катушкой, не изменяется во времени, и, следовательно, не индуцирует ЭДС во вторичной обмотке. На самом деле не существует эффективного метода активизации или понижение напряжения постоянного электрического сигнала. Таким образом, это невозможно эффективно передавать электроэнергию постоянного тока на большие расстояния. Это главная причина, по которой коммерчески вырабатываемое электричество является переменным, а не постоянным током.
Далее: Согласование импеданса Вверху: Индуктивность Предыдущий: Цепь Ричард Фицпатрик 2007-07-14
Основы трансформаторов – Трансформаторы – Основы электроники
Трансформаторы
Трансформатор — это устройство, передающее электрическую энергию от одного
цепь к другой за счет электромагнитной индукции. Электрическая энергия
всегда передается без изменения частоты, но может включать
изменения амплитуд напряжения и тока.
Потому что работает трансформатор
по принципу электромагнитной индукции, он должен использоваться с
входное напряжение источника, изменяющееся во времени. Есть много видов власти
подходящие под это описание; для простоты объяснения и понимания,
Действие трансформатора будет объяснено с использованием синусоидального переменного напряжения в качестве
источник ввода.
Компоненты трансформатора
В своей основной форме трансформатор состоит из:
- Первичная обмотка (катушка), которая получает энергию от источника переменного тока.
- Вторичная обмотка (катушка), получающая энергию от первичной обмотки и подает ее на нагрузку.
- Сердечник, обеспечивающий путь для линий магнитного потока.
Первичная и вторичная катушки намотаны на материал сердечника определенного типа.
В некоторых случаях витки проволоки наматывают на цилиндрическую или прямоугольную
немагнитная форма. По сути, материал сердечника — воздух, а трансформатор —
называется трансформатор с воздушным сердечником .
Трансформаторы, используемые на низких частотах,
такие как 50 и 60 Гц, требуют сердечника из магнитного материала с низким магнитным сопротивлением,
обычно железо. Этот тип трансформатора называется трансформатором с железным сердечником .
Схематические обозначения трансформаторов
На рисунке ниже показаны типовые схематические обозначения трансформаторов. Символ для трансформатор с воздушным сердечником показан на виде А. Части В и С на рисунке показывают трансформаторы с железным сердечником. Полосы между катушками используются для обозначения железное ядро. Часто к трансформатору делают дополнительные подключения. обмотки в точках, отличных от концов обмоток. Эти дополнительные соединения называются отводит . Когда кран подключен к центру обмотки, он называется центральным отводом . Вид C на рисунке ниже показывает схематическое изображение трансформатора с железным сердечником с центральным отводом.
Схематические обозначения различных типов трансформаторов.
Действие трансформатора без нагрузки
На рисунке ниже показан трансформатор с воздушным сердечником. Первичная обмотка
подключен к источнику синусоидального переменного напряжения. Напряжение источника управляет
ток через первичную обмотку и, будучи синусоидальным, подвергается непрерывному
изменяется по величине и направлению. Магнитное поле
(поток) накапливается (расширяется) и сжимается (сжимается) вокруг первичной обмотки.
Изменяющееся магнитное поле, создаваемое первичной катушкой, режет вторичную.
обмотка. Наведенное напряжение (ЭДС) возникает в
первичная и вторичная обмотки изменяющимся магнитным полем.
Первичное индуцированное напряжение немного меньше
чем напряжение источника, и они противоположны по полярности друг другу.
Небольшая разница между напряжением источника и первичным наведенным
напряжение достаточно велико, чтобы обеспечить протекание небольшого первичного тока,
называется намагниченность , или возбуждение , ток , при
вторичка не подключена к нагрузке.
Трансформатор без нагрузки.
Величина тока возбуждения определяется тремя факторами: (1) величина напряжения источника, (2) сопротивление провода первичной катушки и потери в сердечнике, и (3) реактивное сопротивление первичной обмотки, которое зависит от частоты возбуждающего тока. Эти два последних фактора управляется трансформаторной конструкцией.
Ток возбуждения выполняет две функции:
- Большая часть энергии возбуждения используется для поддержания магнитного поля Главная.
- Небольшое количество энергии используется для преодоления сопротивления провода и потери в сердечнике, которые рассеиваются в виде тепла (потери мощности).
Взаимосвязь первичной и вторичной фаз
Вторичное напряжение трансформатора может быть синфазным или
в противофазе с первичным напряжением. Это зависит от направления
в котором намотаны обмотки и расположение соединений
во внешнюю цепь (нагрузку). Проще говоря, это означает, что два напряжения
могут подниматься и опускаться вместе, или одно может подниматься, пока другое падает.
Трансформаторы, у которых вторичное напряжение совпадает по фазе с первичные называются трансформаторами с одинаковой обмоткой , а те в которых напряжения сдвинуты по фазе на 180 градусов, называются Трансформаторы с разнообмоточной обмоткой .
Точки используются для обозначения точек на условном обозначении трансформатора. которые имеют одинаковую мгновенную полярность (точки, находящиеся в фазе).
Использование точек, указывающих фазу, показано на рисунке ниже. В части (А) на рисунке первичная и вторичная обмотки намотаны сверху вниз по часовой стрелке, если смотреть сверху на обмотки. При построении таким образом верхний вывод первичного и верхнего лидерство вторичного имеют та же полярность, что и . На это указывает точки на символе трансформатора. Отсутствие фазовых точек указывает на изменение полярности.
Мгновенная полярность зависит от направления намотки.
Часть (B) рисунка иллюстрирует трансформатор, в котором первичная
и вторичные намотаны в противоположных направлениях.
Если смотреть сверху
обмотки, первичная обмотка намотана по часовой стрелке сверху вниз.
внизу, а вторичка намотана против часовой стрелки.
Обратите внимание, что верхние лиды первичного и вторичного каналов имеют напротив полярности. На это указывают точки, расположенные на противоположных концах.
символ трансформатора. Таким образом, полярность напряжения на
клеммы вторичной обмотки трансформатора зависит от направления в
вторичка намотана относительно первичной.
Коэффициент сцепления
Коэффициент связи трансформатора зависит от
часть общей линии потока, которая пересекает как первичную, так и вторичную обмотки.
В идеале все линии потока, генерируемые первичной обмоткой, должны пересекать вторичную обмотку.
и все линии потока, генерируемого вторичной обмоткой, должны пересекать
начальный. Тогда коэффициент связи будет равен единице (единице), а максимальный
энергия будет передаваться от первичного к вторичному.
В практичных силовых трансформаторах используются сердечники из кремнистой стали с высокой проницаемостью.
и близкое расстояние между обмотками, чтобы обеспечить высокий коэффициент
муфты.
Линии потока, создаваемые одной обмоткой, которые не связаны с другой обмотки называются поток рассеяния . Поскольку поток рассеяния, создаваемый первичка не режет вторичку, она не может индуцировать напряжение в вторичное. Следовательно, индуцированное во вторичной обмотке напряжение меньше чем это было бы, если бы потока рассеяния не существовало. Поскольку эффект потока рассеяния, чтобы снизить напряжение, наведенное во вторичной обмотке, эффект можно воспроизвести, предположив, что индуктор подключен последовательно с первичкой. Эта серия индуктивность рассеяния составляет Предполагается, что часть приложенного напряжения падает, оставляя меньшее напряжение по первичке.
Обороты и коэффициенты напряжения
Суммарное напряжение, индуцируемое во вторичной обмотке
трансформатор определяется в основном коэффициентом числа
витков в первичной к числу витков во вторичной, а по
величина напряжения, подаваемого на первичку.
См. рисунок ниже. Часть (А)
на рисунке изображен трансформатор, первичная обмотка которого состоит из десяти витков
провода, вторичная обмотка которого состоит из одного витка провода. Тебе известно
что по мере того, как линии потока, создаваемые первичным устройством, расширяются и сжимаются,
они вырезали оба десять витков первичной обмотки и один виток
вторичное. Так как длина провода во вторичной обмотке
примерно такой же, как длина провода в каждом
Включите первичную обмотку, напряжение 90 154 (ЭДС), индуцированное во вторичной обмотке, будет
такое же, как напряжение (ЭДС), индуцированное в каждом витке первичной обмотки .
Это означает, что при подаче напряжения на первичную обмотку 10 вольт,
встречная ЭДС в первичке почти 10 вольт. Таким образом, каждый ход в
первичная обмотка будет иметь наведенную встречную ЭДС, равную примерно одной десятой
общее приложенное напряжение, или один вольт. Поскольку одни и те же линии потока пересекают
витков как во вторичном, так и в первичном, каждый виток будет иметь
в нем индуцируется ЭДС в один вольт.
Трансформатор в части (А)
рисунок ниже имеет только один виток во вторичной обмотке, таким образом, ЭДС на
вторичка – один вольт.
Обороты трансформатора и коэффициенты напряжения.
Трансформатор, представленный в части (B) рисунка выше, имеет десятивитковую первичный и двухвитковый вторичный. Поскольку поток индуцирует один вольт на очередь, общее напряжение на вторичной обмотке равно двум вольтам. Уведомление что вольты на виток одинаковы как для первичной, так и для вторичной обмотки. обмотки. Поскольку встречная ЭДС в первичке равна (или почти) приложенного напряжения, пропорция может быть установлена, чтобы выразить значение напряжение, индуцированное с точки зрения напряжения, приложенного к первичной и количество витков в каждой обмотке. Эта пропорция также показывает соотношение между числом витков в каждой обмотке и напряжение на каждой обмотке. Эта пропорция выражается уравнение
куда
N p – число витков в первичной обмотке
В p – напряжение, приложенное к первичной обмотке
В с – напряжение, наведенное во вторичной обмотке 4 с 90 90 витков 90 во вторичном
Обратите внимание, что уравнение показывает, что отношение вторичного напряжения
к первичному напряжению равно отношению вторичных витков к первичному
повороты.
Уравнение можно записать как
Следующие формулы выводятся из приведенного выше уравнения:
Если известны любые три из величин в приведенных выше формулах, четвертая величина может быть вычислена.
Пример
Трансформатор имеет 200 витков в первичной обмотке, 50 витков во вторичной обмотке и 120 витков во вторичной обмотке.
вольт, приложенных к первичной обмотке ( В р ). Какое напряжение
через вторичный ( V s )?
Решение:
Трансформатор в приведенной выше задаче имеет меньше витков во вторичной обмотке, чем
в первичке. В результате напряжение на вторичной обмотке меньше.
чем на первичке. Трансформатор, в котором напряжение на
на вторичной обмотке меньше, чем напряжение на первичной
называется понижающим трансформатором . Соотношение шага вниз четыре к одному
трансформатор пишется как 4:1. Трансформатор с меньшим количеством витков
первичном, чем во вторичном, будет создавать большее напряжение на
вторичного, чем напряжение, приложенное к первичному.
трансформатор
в котором напряжение на вторичной обмотке больше, чем напряжение
применяется к первичной называется повышающий трансформатор . Соотношение
повышающего трансформатора «один на четыре» следует записать как 1:4. Уведомление
в двух соотношениях номинал первичной обмотки всегда указывается первым.
Влияние нагрузки
Когда сопротивление нагрузки подключено к вторичной обмотке (рисунок ниже),
напряжение, индуцированное во вторичной обмотке, вызывает протекание тока
во вторичной обмотке. Этот ток создает поле потока вокруг
вторичный (показан пунктирными линиями), который противостоит потоку
поле о первичном (закон Ленца). Таким образом, поток о вторичном
отменяет часть потока относительно первичного. Суммарный поток в ядре
трансформатор является общим как для первичной, так и для вторичной обмотки.
При меньшем потоке, окружающем обмотки, первичная и вторичная индукция
напряжения снижаются.
Снижение первичного индуцированного напряжения увеличивает разницу
между напряжением источника и первичным наведенным напряжением, тем самым
позволяя протекать большему первичному току.
Дополнительный ток в первичной обмотке генерирует больше
линий потока, почти восстанавливая исходное количество общих линий потока.
Простой трансформатор, показывающий соотношение потоков первичной и вторичной обмотки.
Обороты и коэффициенты тока
Количество силовых линий, развитых в ядре, пропорционально сила намагничивания (в ампер-витках) первичной и вторичной обмоток. Ампер ( I × N ) является мерой магнитодвижущей силы. сила; определяется как магнитодвижущая сила, развиваемая одним ампер тока, протекающего по катушке с одним витком. Поток, существующий в сердечник трансформатора окружает как первичную, так и вторичную обмотки. Поскольку поток одинаков для обеих обмоток, ампер-витки в обеих первичная и вторичная обмотки должны быть одинаковыми.
Следовательно:
куда
I p N p – ампер-витки в первичной обмотке
I s N s – ампер-витки во вторичной обмотке
Разделив обе части уравнения на I p N s , вы получаете:
С
тогда
куда
V p – voltage applied to the primary
V s – voltage across the secondary
I p – current in the primary
I s – current in the secondary
Обратите внимание, что уравнения показывают, что коэффициент текущей ликвидности является обратным
отношение витков и отношение напряжения.
Это означает, что трансформатор, имеющий
меньше витков во вторичной обмотке, чем в первичной, приведет к понижению
напряжение, но увеличит ток.
Пример:
Трансформатор имеет отношение напряжения 6:1. Найдите ток в
вторичный, если ток в первичном 200 мА.
Решение:
Транспонирование для I s :
Замена:
В приведенном выше примере показано, что хотя напряжение на вторичной обмотке составляет одну шестую напряжения на первичной обмотке, ток во вторичной в шесть раз больше тока в первичной обмотке.
На приведенные выше уравнения можно посмотреть с другой точки зрения. Выражение
называется коэффициентом трансформации витков и может быть выражен
как единый фактор. Помните, соотношение оборотов указывает сумму на
трансформатор увеличивает или уменьшает приложенное напряжение
к первичке. Например, если вторичная обмотка трансформатора имеет
в два раза больше витков, чем в первичной обмотке, индуцированное напряжение
во вторичке будет в два раза больше напряжения на первичке.
Если во вторичной обмотке вдвое меньше витков, чем в первичной, то напряжение
на вторичной обмотке будет половина напряжения на первичной.
Однако коэффициент витков и коэффициент тока трансформатора имеют
обратное отношение. Таким образом, повышающий трансформатор 1:2 будет иметь половину
ток во вторичке как в первичке. Понижающий трансформатор 2:1.
ток во вторичной обмотке будет в два раза больше, чем в первичной.
Соотношение мощностей между первичной и вторичной обмотками
Как только что было объяснено, коэффициент трансформации трансформатора влияет на ток.
а также напряжение. Если напряжение во вторичной обмотке удвоится, ток
на вторичке вдвое меньше. И наоборот, если напряжение уменьшается вдвое в
во вторичной обмотке ток удваивается. Таким образом,
вся мощность, подводимая к первичной обмотке источником, также передается
к нагрузке вторичным (минус мощность, потребляемая вторичным
трансформатора в виде потерь). Обратитесь снова к трансформатору
проиллюстрировано на рисунке выше.
Соотношение оборотов 10:1. Если вход
на первичку 0,1 А при 300 В, мощность в
первичный P = В × I = 30 Вт. Если
Трансформатор потерь не имеет, на вторичку подается 30 Вт.
Вторичная обмотка понижает напряжение до 30 В и увеличивает ток.
до 1 А. Таким образом, мощность, отдаваемая в нагрузку вторичной обмоткой, равна P = В × I = 30 В × 1 А = 30 Вт.
Важно помнить, что за исключением мощности потребляется внутри трансформатора, вся мощность передается на первичную источником будет доставлено в нагрузку.
Как формула:
куда
P s – мощность, отдаваемая в нагрузку от вторичной обмотки
P p – мощность, отдаваемая в первичную от источника
P L – потери мощности в трансформаторе
Что такое эквивалентная схема электрического трансформатора?
Эквивалентная схема трансформатора представляет собой графическое представление цепи трансформатора, в которой сопротивление и реактивное сопротивление рассеяния считаются внешними по отношению к обмотке.
Точную эквивалентную схему трансформатора можно назвать первичной или вторичной стороной.
Похожие сообщения:
- Трансформатор – конструкция, работа, типы и применение
- Различные типы трансформаторов и их применение
- Использование и применение трансформатора
Сначала мы получаем эквивалентное сопротивление и реактивное сопротивление рассеяния.
Содержание
Эквивалентное сопротивлениеПри практическом применении трансформатора необходимо учитывать сопротивление обмотки. Сопротивление двух обмоток можно перенести на любую из двух обмоток. Он может быть перенесен либо на первичную, либо на вторичную сторону, чтобы сделать расчет простым и легким. Сопротивление обмотки трансформатора можно представить путем последовательного добавления сопротивления, как показано на рисунке ниже.
Где,
- R 1 = Сопротивление первичной обмотки
- R 2 = сопротивление вторичной обмотки
Теперь переносим сопротивление первичной обмотки на вторичную сторону, вводя в первичную обмотку дополнительное сопротивление R 2 ’.
Это новое сопротивление добавляется таким образом, что мощность, поглощаемая сопротивлением R 2 ’ при протекании первичного тока I 1 , равна мощности, поглощаемой вторичным сопротивлением R 2 при наличии вторичного тока I 2 .
Таким образом,
Где K = коэффициент трансформации = I 1 / I 2
R 2 ’ эквивалентно вторичному сопротивлению, относящемуся к первичной стороне, и это показано на рисунке ниже.
Как показано на рисунке выше, эффективное сопротивление трансформатора относительно первичной обмотки равно R e1 ;
Аналогичным образом мы можем перенести первичное сопротивление, относящееся к вторичной стороне.
Эквивалентная схема, называемая вторичной, показана на рисунке ниже.
Общее сопротивление трансформатора относительно вторичной обмотки R e2 .
R e 2 = R 2 + R 1 ‘
R e 2 =R 2 + K 2 Р 1
Похожие сообщения:
- Параллельная работа однофазных и трехфазных трансформаторов
- Разница между трансформатором тока и трансформатором напряжения
- Уравнение ЭДС трансформатора
Реактивное сопротивление рассеяния обеих обмоток можно перенести на любую из обмоток аналогично сопротивлению.
Воображаемое реактивное сопротивление обеих обмоток суммируется, как показано на рисунке ниже.
Где,
- X 1 = реактивное сопротивление утечки первичной обмотки
- X 2 = реактивное сопротивление утечки вторичной обмотки
Эквивалентное реактивное сопротивление вторичной утечки относительно первичной обмотки равно X 2 ‘ ;
Суммарное эквивалентное реактивное сопротивление трансформатора относительно первичной обмотки X e1 ;
Аналогично, эквивалентное реактивное сопротивление утечки первичной обмотки относительно вторичной обмотки равно X 1 ’;
x 1 ‘ = K 2 x 1
Общее эквивалентное реагирование трансформатора, направленного на второй сторону, составляет X E2 .
X e 2 = X 2 +X 1 ‘
X e 2 = X 2 +K 2 X 1
Теперь давайте найдем эквивалентное сопротивление трансформатора, добавив эквивалентное сопротивление и реактивное сопротивление.
Эквивалентное сопротивление первичной обмотки Z e1 ;
Z E 1 = R E 1 + x E 1
Equivel Equivent.0094 .
Z E 2 = R E 2 + x E 2
В точной эквивалентной схеме трансформатора на основе идеального трансформатора необходимо учитывать ток холостого хода. Ток холостого хода представляет собой векторную сумму рабочей составляющей I Вт и намагничивающей составляющей I мк . Рабочая составляющая тока холостого хода проходит через чистое сопротивление R 0 , а намагничивающая составляющая – через чистую индуктивность X 0 .
Мы можем найти точную эквивалентную схему трансформатора, добавив компонент без нагрузки с сопротивлением и реактивным сопротивлением, как показано на рисунке ниже.
Где,
- В 1 = Напряжение питания первичной обмотки
- В 2 = Напряжение нагрузки
V 1 = E 1 + I 1 Z 1
E 2 = V 2 + I 2 Z 2
Сопротивление холостого хода R 0 представляет потери в стали и сердечнике, а рабочий компонент IW обеспечивает потери в сердечнике. Индуктивность холостого хода X 0 представляет собой катушку без потерь, а намагничивающий компонент I μ проходит через X 0 .
Теперь, чтобы упростить приведенную выше эквивалентную схему, перенесите сопротивление, реактивное сопротивление, напряжение и ток либо на первичную, либо на вторичную сторону.
Related Posts:
- Трансформаторы тока (ТТ) – типы, характеристики и области применения
- Что такое трансформатор напряжения (PT)? Типы и работа трансформаторов напряжения Автотрансформатор
- – его типы, работа, преимущества и применение
В эквивалентной схеме, относящейся к первичной стороне, мы перенесем все элементы вторичной стороны на первичную сторону.
ЭДС вторичной индукции E 2 относится к первичной стороне;
Напряжение вторичной обмотки (напряжение нагрузки) В 2 относительно первичной стороны;
Вторичное сопротивление R 2 относительно первичной стороны;
Вторичное реактивное сопротивление X 2 относится к первичной стороне;
Упрощенная точная эквивалентная схема трансформатора, относящаяся к первичной стороне, показана на рисунке ниже.
В приведенной выше схеме компонент холостого хода (сопротивление R 0 и реактивное сопротивление X 0 ) может быть передан перед первичным сопротивлением и реактивным сопротивлением. При этом будет введена очень небольшая ошибка. Но этим можно пренебречь. Итак, эквивалентная схема выглядит как на рисунке ниже. Эта схема также известна как приблизительная эквивалентная схема трансформатора, относящаяся к первичной стороне.
Теперь для упрощения мы можем добавить первичное и вторичное сопротивление и реактивное сопротивление.
R 01 = R 1 + R’ 2
X 01 = X 1 + X’ 2
Точно так же мы можем найти приблизительную эквивалентную схему, относящуюся к вторичной стороне, и эта схема показана на рисунке ниже.
Где,
Первичное сопротивление относится к вторичной стороне;
R‘ 1 = K 2 R 1
Первичное реактивное сопротивление относительно вторичной стороны;
X’ 1 = K 2 X 1
Следовательно, полное сопротивление равно;
Ч 0 2 = Ч ‘ 1 + R 2
Общее реактивное сопротивление равно;
x 0 2 = x ‘ 1 + x 2
Связанные посты:
- .

- Защита силового трансформатора и неисправности
- Изоляционные материалы трансформаторов масляного и сухого типа T/F Система противопожарной защиты трансформаторов
- – причины, типы и требования
- Преимущества и недостатки трехфазного трансформатора по сравнению с однофазным трансформатором.
- Фазирование трансформатора: точечное обозначение и точечное обозначение
- Можем ли мы заменить трансформатор на 110/220 витков на 10/20 витков?
- Символы электрических трансформаторов – Символы однолинейных трансформаторов
- Можно ли использовать трансформатор 60 Гц с источником питания 50 Гц и наоборот?
- Какой трансформатор более эффективен при работе на частоте 50 Гц или 60 Гц?
Показать полную статью
Связанные статьи
Кнопка «Вернуться к началу»
Расчет параметров эквивалентной цепи трансформатора
Трансформаторы повсеместно используются в электротехнической промышленности.
Будь то передача и распределение электроэнергии, тяжелая промышленность, контрольно-измерительные приборы, электромобили или бытовая электроника, трансформаторы всех форм и размеров являются неотъемлемой частью систем. Существуют различные типы трансформаторов: силовые трансформаторы передают мощность от одной электрической системы к другой при разных уровнях напряжения, измерительные трансформаторы используются для измерения напряжения и тока, разделительные трансформаторы соединяют сигналы между двумя цепями с гальванической развязкой, высоковольтные трансформаторы используются для генерирующие напряжения порядка кВ и выше и так далее. Параметры эквивалентной схемы трансформатора определяют его характеристики и, следовательно, имеют решающее значение для его проектирования и разработки.
В нашем недавнем сообщении в блоге «Извлечение электрических цепей из электромагнитного моделирования» мы объясняем, как можно извлечь эквивалентные RLC-цепи из любой электромагнитной модели, которая также применима к любому трансформатору с сосредоточенными обмотками.
В этом сообщении блога мы покажем пример высокочастотного трансформатора с ферритовым сердечником с первичной и вторичной обмотками, состоящими из нескольких секций, а также предоставим обзор параметров цепи и результаты анализа.
Введение
Существуют различные факторы, которые играют важную роль в определении производительности трансформаторов. Эквивалентный импеданс силового трансформатора влияет на уровни короткого замыкания или отказа. Индуктивность намагничивания определяет пусковые токи в больших трансформаторах, тогда как индуктивность рассеяния играет решающую роль в выборе частот коммутации силовых электронных схем. Паразитные емкости становятся значительными в работе высокочастотных трансформаторов. Поведение трансформаторов во многом характеризуется их эквивалентными сосредоточенными параметрами электрической цепи. Таким образом, использование моделирования для извлечения параметров эквивалентной схемы трансформатора имеет неоценимое значение для процесса проектирования.
Слева: Геометрическая модель трансформера. Справа: вид трансформатора в разрезе (с использованием функции Clipping ).
Программное обеспечение COMSOL Multiphysics ® предлагает различные интерфейсы для простого вычисления параметров сосредоточенной схемы трансформатора на основе его физической модели. Индуктивность трансформатора можно оценить с помощью интерфейса Magnetic fields (mf) или интерфейса Magnetic and Electric fields (mef). Паразитные емкости можно найти с помощью 9Интерфейс 0051 Electrostatics (es) или интерфейс Electric Currents (ec). Интерфейс Electrical Circuit (cir) можно использовать для подключения катушек трансформатора к внешним схемам с сосредоточенными параметрами.
В следующих разделах мы покажем пример высокочастотного трансформатора с ферритовым сердечником, чтобы проиллюстрировать, как рассчитать эквивалентные значения индуктивности и паразитной емкости.
Он имеет первичную катушку с 2 витками и вторичную катушку с 600 витками. Вторичная состоит из 2-х секций с изоляционной перегородкой между ними. Первичное напряжение 10 В с частотой порядка десятков кГц.
Расчет индуктивности намагничивания и индуктивности рассеяния
Индуктивность намагничивания трансформатора определяется экспериментально с помощью испытания на разомкнутую цепь, а индуктивность рассеяния рассчитывается с помощью испытания на короткое замыкание. Эти тесты могут быть выполнены при моделировании модели трансформатора для получения значений индуктивности.
Испытание на разомкнутую цепь
В этом испытании вторичная обмотка трансформатора размыкается, а первичная обмотка возбуждается номинальным входным напряжением. В отсутствие какого-либо вторичного тока нагрузки ток, потребляемый первичной катушкой, используется в основном для создания магнитного потока в сердечнике. Если импеданс первичной обмотки рассчитывается с использованием первичного напряжения и тока, он в значительной степени состоит из индуктивности намагничивания, помимо относительно небольшого значения сопротивления первичной обмотки.
Плотность магнитного потока, сосредоточенного в сердечнике трансформатора для испытания на разомкнутую цепь.
Первичное сопротивление равно 76,5 мОм как действительная часть импеданса первичной обмотки. Индуктивность намагничивания получена с использованием мнимой части импеданса первичной катушки и имеет значение 44,8 мкГн на частоте 50 кГц.
Испытание на короткое замыкание
Обычно первичная обмотка замыкается накоротко, а вторичная возбуждается при пониженном напряжении, достаточном для прохождения номинального тока через первичную обмотку. В этом случае большая часть потока сосредоточена в области воздушного зазора между первичной и вторичной обмотками. Если импеданс вторичной обмотки вычисляется из значений напряжения и тока на клеммах, он в основном состоит из индуктивности рассеяния. Индуктивность рассеяния можно отнести к первичной обмотке с помощью преобразования коэффициента трансформации. В контексте моделирования мы можем возбудить первичную обмотку и замкнуть накоротко вторичную обмотку, чтобы напрямую получить первичную индуктивность рассеяния.
Плотность магнитного потока, сосредоточенного между первичной и вторичной катушками для испытания на короткое замыкание.
Значение индуктивности рассеяния 0,25 мкГн получается из мнимой части импеданса первичной обмотки на частоте 50 кГц. Сопротивление катушки 19,2 мОм.
Расчет паразитных емкостей
Предполагается, что трансформатор является чисто индуктивным устройством. Но, поскольку первичная и вторичная катушки сделаны из проводящих материалов с изолирующим слоем между ними, это можно уподобить случаю двух проводников, разделенных диэлектрической средой. Это приводит к емкостным эффектам. Поскольку эти емкости не предусмотрены конструкцией, они обозначаются как 9.0051 паразитные емкости . Для низкочастотных трансформаторов паразитные емкости не играют большой роли. Однако по мере увеличения частоты емкостные эффекты становятся значительными; а при высоком коэффициенте поворота они начинают доминировать.
В предыдущем сообщении в блоге «Как рассчитать матрицу емкостей» объясняется, как получить собственные емкости и взаимные емкости с помощью шага исследования Стационарная развертка источника .
В случае, когда трансформаторы имеют сосредоточенные обмотки, можно использовать этот подход для извлечения матрицы емкости.
В данном примере первичная и вторичная обмотки распределены по секциям, что характерно для большинства высоковольтных трансформаторов с ферритовым сердечником. Распределение напряжения в катушках имеет ступенчатое изменение по сечениям. Следовательно, ранее описанный подход неприменим для извлечения матрицы емкости. Чтобы вычислить первичную собственную емкость в этом примере, мы прикладываем половину потенциала (т. е. 5 В) к нижней секции и полное напряжение (т. е. 10 В) к верхней секции. На вторичную обмотку подается потенциал земли, а на всю поверхность сердечника подается плавающий потенциал. Вторичная собственная емкость получается аналогичным образом путем приложения половины вторичного индуцированного напряжения к нижней секции и полного напряжения к верхней секции.
Распределение потенциала первичной собственной емкости (слева) по сравнению с распределением потенциала вторичной собственной емкости (справа).
Расчетная собственная емкость первичной обмотки составляет 14 пФ, а собственная емкость вторичной обмотки — 30,5 пФ.
Анализ эквивалентной сосредоточенной цепи
Теперь, когда у нас есть первичное сопротивление, индуктивность намагничивания и рассеяния, первичная собственная емкость и вторичная собственная емкость, мы можем построить эквивалентную модель схемы трансформатора.
Эквивалентная схема трансформатора с сосредоточенными параметрами.
Полное сопротивление утечки представлено последовательной комбинацией R_l и L_l. Импеданс намагничивания преобразуется в эквивалентную параллельную комбинацию R_m = 2587,6 ом и L_m = 44,7 мкГн. Первичная и вторичная собственные емкости представлены C_p и C_s соответственно. R_e — внешнее сопротивление 1 МОм, добавляемое для моделирования состояния разомкнутой цепи вторичной обмотки. Моделирование модели схемы с сосредоточенными параметрами предсказывает, что первичный ток имеет опережающий угол 82,2°, а вторичное индуцированное напряжение равно 319°.
2 В. Важно отметить, что вторичное наведенное напряжение выше, чем значение, ожидаемое при использовании коэффициента трансформации трансформатора, который составляет 3000 В. Это наблюдается из-за влияния вторичной емкости в сочетании с высоким коэффициентом трансформации 1 :300. Сам первичный ток имеет опережающий коэффициент мощности, что означает, что трансформатор потребляет емкостной ток!
Совместный анализ с индуктивными и емкостными эффектами
Двухмерная осесимметричная модель трансформатора создается из трехмерной модели с использованием Элемент поперечного сечения . 300 отдельных витков вторичной обмотки дополнительно нарисованы в геометрии для применения функции RLC Coil Group , которая доступна в интерфейсе Magnetic and Electric Fields . Вторичная цепь должна быть разомкнута, чтобы можно было наблюдать влияние вторичной паразитной емкости. Но если ток катушки задан равным нулю, чтобы сделать ее разомкнутой, никакой ток не может протекать через вторичную собственную емкость.
Чтобы преодолеть это, сопротивление 1 МОм подключается к вторичной обмотке с помощью Интерфейс электрической цепи . Это эффективно действует как разомкнутая цепь, но позволяет току течь через вторичную собственную емкость.
Плотность магнитного потока и распределение потенциала.
Распределение потенциала в области обмотки трансформатора показывает, как индуцированное напряжение увеличивается по мере того, как мы движемся радиально наружу. Из этой модели рассчитанный первичный ток имеет опережающий угол 75° и вторичное наведенное напряжение 3055,6 В. Это согласуется с моделью эквивалентной схемы, рассмотренной в предыдущем разделе.
Чтобы установить эквивалентность схемы с сосредоточенными параметрами (полученной с использованием параметров, полученных из 3D-модели) и 2D-аксиально-симметричной модели, частотная характеристика импеданса первичной катушки, полученная из двух подходов, нанесена на один и тот же график. На рисунке ниже показано, как величина и угол импеданса первичной катушки изменяются в зависимости от частоты возбуждения.
Мы можем заметить, что двумерные осесимметричные результаты подтверждают результаты, полученные при анализе цепей с сосредоточенными параметрами. Сосредоточенные параметры электрической цепи извлекаются из фактической трехмерной геометрии трансформатора. Двухмерная осесимметричная модель трансформатора является приблизительным представлением фактической геометрии трансформатора. Эти различия приводят к небольшому расхождению между частотными характеристиками импеданса первичной катушки, полученными из двух подходов.
Частотная характеристика первичной обмотки трансформатора, полученная из модели электрической цепи и двумерной осесимметричной модели.
Использование группы катушек RLC
Эта функция моделирования катушек используется, когда необходимо проанализировать влияние токов смещения в плоскости. Другими словами, наряду с индуктивными эффектами необходимо моделировать емкостные эффекты. Связность витков можно указать с помощью параметров заказа домена .
В случае трансформатора слои витков накапливаются радиально, и, следовательно, выбирается столбцовый порядок.
Домен , заказывающий варианты вторичной обмотки трансформатора.
В этом примере используются встроенные параметры для упорядочения доменов. Вы также можете указать его вручную, как показано в модели: Осесимметричная аппроксимация 3D-индуктора.
Заключительные замечания
Основная цель данного упражнения заключалась в извлечении параметров эквивалентной схемы трансформатора. Индуктивности намагничивания и рассеяния были извлечены с использованием Интерфейс магнитных и электрических полей . Паразитные первичные и вторичные емкости были извлечены с использованием интерфейса Electrostatics .
Функция группы катушек RLC позволила провести анализ двухмерной осесимметричной модели трансформатора, включающей как индуктивные, так и емкостные эффекты. Моделирование эквивалентной схемы с сосредоточенными параметрами, а также двумерной осесимметричной модели показало некоторые специфические результаты.
Вычисленное вторичное напряжение было больше ожидаемого, исходя из соотношения витков. Это похоже на эффект Ферранти, обнаруживаемый в слабонагруженных линиях передачи, где напряжение на приемном конце превышает напряжение на передающем конце из-за преобладающих емкостных эффектов. Было замечено, что первичный ток трансформатора также имеет емкостную природу. Это произошло из-за преобладания вторичной паразитной емкости по отношению к первичной с очень высоким коэффициентом витков 1:300.
Индуктивность и емкость оказывают взаимно противоположное влияние на ток в цепи. Индуктивная цепь имеет отстающий коэффициент мощности, тогда как емкостная цепь имеет опережающий коэффициент мощности. Если мы попытаемся извлечь эквивалентный импеданс такого трансформатора из напряжения и тока на клеммах, связанные эффекты приведут к вводящим в заблуждение и ошибочным результатам. Как видно из двумерной осесимметричной модели трансформатора, вторичная паразитная емкость по отношению к первичной обмотке преобладает над индуктивными эффектами в результирующем импедансе первичной обмотки.

7 вольт.
В трёхфазных сетях без нулевого провода обычно трансформаторы тока подключаются только на две ведущие линии, поскольку измерив ток в двух фазах, можно легко рассчитать величину тока в третьей фазе.
На рисунке ниже изображена схема работы трансформатора:
Делим 300 на 20, получаем 15. Число больше единицы, значит трансформатор понижающий. Допустим, мы мотали трансформатор с 220 вольт, на более низкое напряжение, и нам теперь нужно посчитать, какое будет напряжение на вторичной обмотке. Подставляем цифры: U2=U1кт = 22015 = 14.66 вольт. Напряжение на выходе с вторичной обмотки будет равно 14.66 вольт.
Напряжение вторичной обмотки бывает не более 80 Вольт. Сварочные трансформаторы рассчитаны на кратковременные замыкания выхода вторичной обмотки, при этом образуется электрическая дуга, и трансформатор при этом не выходит из строя, в отличие от силового трансформатора.
Такие трансформаторы применяют для безопасного измерения тока при высоком напряжении. Обозначаются на схемах трансформаторы тока следующим образом:
Также находят применение измерительные трансформаторы для измерения очень больших или очень маленьких величин напряжения и тока.
Когда R меньше (большая нагрузка), Z P становится меньше и резистивнее, берет больше энергии от основного источника.
2
7
В приведенном выше примере вы можете видеть, что максимальная выходная мощность достигается при сопротивлении нагрузки от 15 до 20 Ом. Когда вторичная обмотка потребляет слишком большую нагрузку, первичная обмотка нагревается, и громкость слышимого «гула» трансформатора увеличивается. Мой брат, Эдгар Нэйв, работал в сфере коммерческого электротехнического строительства и монтировал много больших трансформаторов. Он сообщает об инцидентах, когда вторичная обмотка трансформатора была закорочена, и говорит, что трансформатор «завизжал», как раненый зверь, прежде чем сжечь первичную обмотку.
Этому решению способствует использование метода комплексного импеданса, предполагающего синусоидальное напряжение питания с угловой частотой ω. В стандартной практике переменного тока используются среднеквадратичные значения токов и напряжений, а в методе комплексного импеданса производная тока dI/dt = jωI. Уравнения первичного и вторичного контура тогда принимают вид: