ΠΈΠ½ΠΆΠ΅Π½Π΅ΡΠ½Π°Ρ Π³ΡΠ°ΡΠΈΠΊΠ° Π΄Π»Ρ ΠΠΠ‘, Π’ΠΠ, ΠΠΈΠΠ₯ (5 Π»Π΅Ρ) / ΠΠ°ΡΠΈΠ°Π½Ρ β7
ΠΠ½Π΄ΠΈΠ²ΠΈΠ΄ΡΠ°Π»ΡΠ½ΡΠ΅ Π·Π°Π΄Π°Π½ΠΈΡ ΠΏΠΎ ΠΈΠ½ΠΆΠ΅Π½Π΅ΡΠ½ΠΎΠΉ Π³ΡΠ°ΡΠΈΠΊΠ΅
ΠΠ°ΡΠΈΠ°Π½Ρ 7.
Π§ΠΠ Π’ΠΠΠΠ«Π Π¨Π ΠΠ€Π’Π«
ΠΠ±ΡΠ°Π·Π΅Ρ ΡΠΈΡΡΠ»ΡΠ½ΠΎΠ³ΠΎ Π»ΠΈΡΡΠ°
ΠΠ΅Π½Π΄Π΅ΡΡΠΊΠΈΠΉ ΠΏΠΎΠ»ΠΈΡΠ΅Ρ Π½ΠΈΡΠ΅ΡΠΊΠΈΠΉ ΡΠΈΠ»ΠΈΠ°Π»
ΠΠΠ£ ΠΈΠΌ. Π’. Π. Π¨Π΅Π²ΡΠ΅Π½ΠΊΠΎ
(ΡΡΡΠΎΡΠ½ΡΠ΅ Π±ΡΠΊΠ²Ρ ΡΡΠΈΡΡΠΎΠΌ β7)
ΠΡΠ°ΡΠΈΡΠ΅ΡΠΊΠΈΠ΅ ΡΠ°Π±ΠΎΡΡ
ΠΏΠΎ ΠΈΠ½ΠΆΠ΅Π½Π΅ΡΠ½ΠΎΠΉ Π³ΡΠ°ΡΠΈΠΊΠ΅
(ΠΏΡΠΎΠΏΠΈΡΠ½ΡΠ΅ Π±ΡΠΊΠ²Ρ ΡΡΠΈΡΡΠΎΠΌ β7)
ΠΠ° 20..-20.. ΡΡΠ΅Π±Π½ΡΠΉ Π³ΠΎΠ΄
ΠΠ°ΡΠ΅Π΄ΡΠ° Β«ΠΠ±ΡΠ΅ΠΏΡΠΎΡΠ΅ΡΡΠΈΠΎΠ½Π°Π»ΡΠ½ΡΠ΅ Π΄ΠΈΡΡΠΈΠΏΠ»ΠΈΠ½ΡΒ»
ΠΡΡΡΠ΅Π΅ ΠΏΡΠΎΡΠ΅ΡΡΠΈΠΎΠ½Π°Π»ΡΠ½ΠΎΠ΅ ΠΎΠ±ΡΠ°Π·ΠΎΠ²Π°Π½ΠΈΠ΅
Π‘ΡΡΠ΄Π΅Π½Ρ __________(Ρ.ΠΈ.ΠΎ.) Π³ΡΡΠΏΠΏΠ°_________ Π²Π°ΡΠΈΠ°Π½Ρ__ ΠΏΠΎΠ΄ΠΏΠΈΡΡ____
ΠΡΠΎΠ²Π΅ΡΠΈΠ» ΠΏΡΠ΅ΠΏΠΎΠ΄Π°Π²Π°ΡΠ΅Π»Ρ ___________(Ρ.ΠΈ.ΠΎ.) ΠΏΠΎΠ΄ΠΏΠΈΡΡ____
(ΡΡΡΠΎΡΠ½ΡΠ΅ Π±ΡΠΊΠ²Ρ ΡΡΠΈΡΡ β7)
ΠΠ΅Π½Π΄Π΅ΡΡ 2011 Π³ΠΎΠ΄.
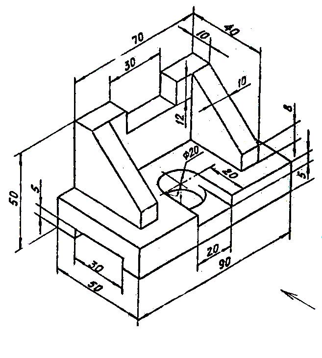
ΠΠ°Π΄Π°Π½ΠΈΠ΅ β 1. ΠΠ ΠΠΠ¦ΠΠ ΠΠΠΠΠΠ ΠΠΠΠΠΠΠ
ΠΠ°ΡΠ΅ΡΡΠΈΡΡ ΡΡΠΈ Π²ΠΈΠ΄Π° ΠΌΠΎΠ΄Π΅Π»ΠΈ. ΠΠΎΡΡΡΠΎΠΈΡΡ Π»ΠΈΠ½ΠΈΠΈ ΠΏΠ΅ΡΠ΅Ρ ΠΎΠ΄Π°. ΠΡΠΎΡΡΠ°Π²ΠΈΡΡ ΡΠ°Π·ΠΌΠ΅ΡΡ. ΠΠ»Π°Π²Π½ΡΠΉ Π²ΠΈΠ΄ Π²Π·ΡΡΡ ΠΏΠΎ ΡΡΡΠ΅Π»ΠΊΠ΅ Π.
ΠΠ°Π΄Π°Π½ΠΈΠ΅ β 2. Π‘ΠΠ§ΠΠΠΠ―
ΠΠ°Π΄Π°Π½ΠΈΠ΅ β 3. ΠΠ ΠΠ‘Π’Π«Π Π ΠΠΠ ΠΠΠ«
ΠΠΎ Π΄Π²ΡΠΌ Π΄Π°Π½Π½ΡΠΌ ΠΏΡΠΎΠ΅ΠΊΡΠΈΡΠΌ ΠΏΠΎΡΡΡΠΎΠΈΡΡ ΡΡΠ΅ΡΡΡ ΠΏΡΠΎΒΠ΅ΠΊΡΠΈΡ Ρ ΠΏΡΠΈΠΌΠ΅Π½Π΅Π½ΠΈΠ΅ΠΌ ΡΠ°Π·ΡΠ΅Π·ΠΎΠ², ΡΠΊΠ°Π·Π°Π½Π½ΡΡ Π² ΡΡ Π΅ΠΌΠ΅. ΠΠ°Π½Π΅ΡΡΠΈ ΡΠ°Π·ΠΌΠ΅ΡΡ.
ΠΠ°Π΄Π°Π½ΠΈΠ΅ β 4. Π‘ΠΠΠΠΠ«Π Π ΠΠΠ ΠΠΠ«
ΠΠ΅ΡΠ΅ΡΠ΅ΡΡΠΈΡΡ Π΄Π²Π° Π²ΠΈΠ΄Π° Π΄Π΅ΡΠ°Π»Π΅ΠΉ. ΠΡΠΏΠΎΠ»Π½ΠΈΡΡ ΡΠΊΠ°Π·Π°Π½Π½ΡΠΉ ΡΠ°Π·ΡΠ΅Π·. ΠΡΠΎΡΡΠ°Π²ΠΈΡΡ ΡΠ°Π·ΠΌΠ΅ΡΡ.
ΠΠΠ ΠΠΠΠ¦ Π ΠΠΠ¬ΠΠΠΠ«Π₯ Π‘ΠΠΠΠΠΠΠΠΠ
ΠΠ°Π΄Π°Π½ΠΈΠ΅ β 5. Π ΠΠΠ¬ΠΠΠΠ«Π Π‘ΠΠΠΠΠΠΠΠΠ―
ΠΡΡΠ΅ΡΡΠΈΡΡ: Π±ΠΎΠ»ΡΠΎΠ²ΡΠ΅, ΡΠΏΠΈΠ»Π΅ΡΠ½ΡΠ΅ ΡΠΎΠ΅Π΄ΠΈΠ½Π΅Π½ΠΈΡ; ΡΠΎΠ΅Π΄ΠΈΠ½Π΅Π½ΠΈΠ΅ Π΄Π΅ΡΠ°Π»Π΅ΠΉ ΡΠ΅Π·ΡΠ±ΠΎΠΉ, ΡΡΡΠ±Π½ΠΎΠ΅ ΡΠΎΠ΅Π΄ΠΈΠ½Π΅Π½ΠΈΠ΅.
ΠΠ ΠΠΠΠ ΠΠ«ΠΠΠΠΠΠΠΠ― ΠΠΠΠΠΠΠ― ΠΠ Π‘ΠΠΠ ΠΠ«Π Π‘ΠΠΠΠΠΠΠΠΠ―Π
ΠΠ°Π΄Π°Π½ΠΈΠ΅ β 6. Π‘ΠΠΠ ΠΠ«Π Π‘ΠΠΠΠΠΠΠΠΠ―
ΠΡΠΏΠΎΠ»Π½ΠΈΡΡ ΡΠ΅ΡΡΠ΅ΠΆ
ΠΌΠΎΠ΄Π΅Π»ΠΈ Π² ΡΡΠ΅Ρ
ΠΏΡΠΎΠ΅ΠΊΡΠΈΡΡ
Ρ ΡΠΊΠ°Π·Π°Π½ΠΈΠ΅ΠΌ
ΠΠΠ‘Π’Π° ΡΠ²Π°ΡΠ½ΡΡ
ΡΠΎΠ΅Π΄ΠΈΠ½Π΅Π½ΠΈΠΉ.
ΠΠ ΠΠΠΠ ΠΠ«ΠΠΠΠΠΠΠΠ― Π¦ΠΠΠΠΠΠ ΠΠ§ΠΠ‘ΠΠΠ ΠΠΠ ΠΠΠΠ§Π.
Π¦ΠΈΠ»ΠΈΠ½Π΄ΡΠΈΡΠ΅ΒΡΠΊΠ°Ρ Π·ΡΠ±ΡΠ°ΡΠ°Ρ ΠΏΠ΅ΡΠ΅Π΄Π°ΡΠ° ΡΠΎΡΡΠΎΠΈΡ ΠΈΠ· ΡΠ΅ΡΡΠ΅ΡΠ½ΠΈ 1, ΠΊΠΎΠ»Π΅ΒΡΠ° 4, Π΄Π²ΡΡ Π²Π°Π»ΠΎΠ² 3 ΠΈ Π± ΠΈ Π΄Π²ΡΡ ΡΠΏΠΎΒΠ½ΠΎΠΊ 2 ΠΈ 5. ΠΠ° ΠΏΠΎΠ»ΡΡ Π»ΠΈΠ½ΠΈΠΉ-Π²ΡΠ½ΠΎΡΠΎΠΊ ΡΠΊΠ°Π·Π°ΒΠ½Ρ Π½ΠΎΠΌΠ΅ΡΠ° (ΠΏΠΎΠ·ΠΈΡΠΈΠΈ) ΡΡΠΈΡ Π΄Π΅ΡΠ°Π»Π΅ΠΉ. ΠΠ»Π°Π²ΒΠ½ΠΎΠ΅ ΠΈΠ·ΠΎΠ±ΡΠ°ΠΆΠ΅Π½ΠΈΠ΅ ΠΏΡΠ΅Π΄ΡΡΠ°Π²Π»ΡΠ΅Ρ ΡΠΎΠ±ΠΎΠΉ ΡΡΠΎΠ½ΡΠ°Π»ΡΠ½ΡΠΉ ΡΠ°Π·ΡΠ΅Π·. ΠΠ°Π»Ρ ΠΈ ΡΠΏΠΎΠ½ΠΊΠ° 5 Π½Π° Π½Π΅ΠΌ Π½Π΅ ΡΠ°Π·ΡΠ΅Π·Π°Π½Ρ, ΡΠ°ΠΊ ΠΊΠ°ΠΊ ΡΠ΅ΠΊΡΡΠ°Ρ ΠΏΠ»ΠΎΡΒΠΊΠΎΡΡΡ ΠΏΡΠΎΡ ΠΎΠ΄ΠΈΡ Π²Π΄ΠΎΠ»Ρ Π½ΠΈΡ . Π§ΡΠΎΠ±Ρ ΠΏΠΎΠΊΠ°Π·Π°ΡΡ ΡΠΎΠ΅Π΄ΠΈΠ½Π΅Π½ΠΈΠ΅ ΡΠΏΠΎΠ½ΠΊΠΈ
ΠΠ° ΠΈΠ·ΠΎΠ±ΡΠ°ΠΆΠ΅Π½ΠΈΠΈ
ΠΏΠ΅ΡΠ΅Π΄Π°ΡΠΈ Π΄Π΅Π»ΠΈΡΠ΅Π»ΡΠ½ΡΠ΅ ΠΎΠΊΡΡΠΆΠ½ΠΎΡΡΠΈ, ΠΊΠΎΡΠΎΡΡΠ΅
ΠΈΠ·ΠΎΠ±ΡΠ°ΠΆΠ°ΡΡΡΡ ΡΡΡΠΈΡ
ΠΏΡΠ½ΠΊΡΠΈΡΠ½ΡΠΌΠΈ Π»ΠΈΠ½ΠΈΡΠΌΠΈ,
ΠΊΠ°ΡΠ°ΡΡΡΡ ΠΎΠ΄ΒΠ½Π° Π΄ΡΡΠ³ΠΎΠΉ.
ΠΡΠΈ ΠΈΠ·ΠΎΠ±ΡΠ°ΠΆΠ΅Π½ΠΈΠΈ
Π·ΡΠ±ΡΠ°ΡΡΡ
ΠΊΠΎΠ»Π΅Ρ Π±Π°Π·ΠΎΠ²ΡΠΌΠΈ ΡΠ²Π»ΡΡΡΡΡ
Π΄Π΅Π»ΠΈΡΠ΅Π»ΡΠ½ΡΠ΅ ΠΏΠΎΒΠ²Π΅ΡΡ
Π½ΠΎΡΡΠΈ, Π΄Π΅Π»ΠΈΡΠ΅Π»ΡΠ½ΡΠ΅
ΠΎΠΊΡΡΠΆΠ½ΠΎΡΡΠΈ, Π° ΠΏΡΠΈ Π²ΡΡΠ΅ΡΡΠΈΠ²Π°Π½ΠΈΠΈ ΠΏΠ΅ΡΠ΅Π΄Π°Ρ
Π½Π°ΡΠ°Π»ΡΠ½ΡΠ΅ ΠΏΠΎΒΠ²Π΅ΡΡ
Π½ΠΎΡΡΠΈ, Π½Π°ΡΠ°Π»ΡΠ½ΡΠ΅
ΠΎΠΊΡΡΠΆΠ½ΠΎΡΡΠΈ. ΠΠΎ ΠΌΠ½ΠΎΠ³ΠΈΡ
ΠΏΠ΅ΡΠ΅Π΄Π°ΡΠ°Ρ
ΡΠ°Π·ΠΌΠ΅ΡΡ
Π΄ΠΈΠ°ΠΌΠ΅ΡΡΠΎΠ² Π½Π°ΒΡΠ°Π»ΡΠ½ΡΡ
ΠΈ Π΄Π΅Π»ΠΈΡΠ΅Π»ΡΠ½ΡΡ
ΠΎΠΊΡΡΠΆΠ½ΠΎΡΡΠ΅ΠΉ ΡΠΎΒΠ²ΠΏΠ°Π΄Π°ΡΡ; ΠΌΡ ΡΠ°ΡΡΠΌΠ°ΡΡΠΈΠ²Π°Π΅ΠΌ
ΠΏΠ΅ΡΠ΅Π΄Π°ΡΠΈ, Ρ ΠΊΠΎΡΠΎΡΡΡ
ΡΡΠΈ ΠΎΠΊΡΡΠΆΠ½ΠΎΡΡΠΈ
ΡΠΎΠ²ΠΏΠ°Π΄Π°ΡΡ.
Π¦ΠΈΠ»ΠΈΠ½Π΄ΡΠΈΡΠ΅ΡΠΊΠ°Ρ ΠΏΠ΅ΡΠ΅Π΄Π°ΡΠ°: Π°– Π½Π°Π³Π»ΡΠ΄Π½ΠΎΠ΅ ΠΈΠ·ΠΎΠ±ΡΠ°ΠΆΠ΅Π½ΠΈΠ΅, Π±- ΡΠ΅ΡΡΠ΅ΠΆ
ΠΠ ΠΠΠΠ ΠΠ«ΠΠΠΠΠΠΠΠ― ΠΠΠΠΠ§ΠΠ‘ΠΠΠ ΠΠΠ ΠΠΠΠ§Π
ΠΠΎΠ½ΠΈΡΠ΅ΡΠΊΠ°Ρ Π·ΡΠ±ΒΡΠ°ΡΠ°Ρ ΠΏΠ΅ΡΠ΅Π΄Π°ΡΠ° ΠΏΡΠ΅Π΄ΡΡΠ°Π²Π»Π΅Π½Π° Π½Π° Π΄Π°Π½Π½ΠΎΠΌ ΡΠΈΡΡΠ½ΠΊΠ΅. ΠΠ½Π° ΡΠΎΡΡΠΎΠΈΡ ΠΈΠ· ΡΠ΅ΡΡΠ΅ΡΠ½ΠΈ 1 ΠΊΠΎΠ»Π΅ΡΠ° 4, Π΄Π²ΡΡ Π²Π°Π»ΠΎΠ² 3 ΠΈ 6 ΠΈ Π΄Π²ΡΡ ΡΠΏΠΎΠ½ΠΎΠΊ 2 ΠΈ 5. ΠΠ° ΠΏΠΎΠ»ΠΊΠ°Ρ Π»ΠΈΠ½ΠΈΠΉ-Π²ΡΠ½ΠΎΡΠΎΠΊ ΡΠΊΠ°Π·Π°Π½Ρ Π½ΠΎΠΌΠ΅ΡΠ° (ΠΏΠΎΠ·ΠΈΡΠΈΠΈ) ΡΡΠΈΡ Π΄Π΅ΡΠ°Π»Π΅ΠΉ. ΠΠ»Π°Π²Π½ΠΎΠ΅ ΠΈΠ·ΠΎΠ±ΡΠ°ΒΠΆΠ΅Π½ΠΈΠ΅ ΠΏΡΠ΅Π΄ΡΡΠ°Π²Π»ΡΠ΅ΠΌ ΡΠΎΠ±ΠΎΠΉ ΡΡΠΎΠ½ΡΠ°Π»ΡΠ½ΡΠΉ ΡΠ°Π·ΡΠ΅Π·.
ΠΠΎΠ½ΠΈΡΠ΅ΡΠΊΠ°Ρ ΠΏΠ΅ΡΠ΅Π΄Π°ΡΠ°: Π° β Π½Π°Π³Π»ΡΠ΄Π½ΠΎΠ΅ ΠΈΠ·ΠΎΠ±ΡΠ°ΠΆΠ΅Π½ΠΈΠ΅, Π± β ΡΠ΅ΡΡΠ΅ΠΆ
Π§Π΅ΡΡΠ΅ΠΆ ΠΊΠΎΠ½ΠΈΡΠ΅ΡΠΊΠΎΠΉ
ΠΏΠ΅ΡΠ΅Π΄Π°ΡΠΈ Π²ΡΠΏΠΎΠ»Π½ΡΡΡ Π² ΡΠ°ΠΊΠΎΠΉ ΠΏΠΎΡΠ»Π΅Π΄ΠΎΠ²Π°ΡΠ΅Π»ΡΠ½ΠΎΡΡΠΈ.
Π¨ΡΡΠΈΡ
ΠΏΡΠ½ΠΊΡΠΈΡΠ½ΠΎΠΉ ΡΠΎΠ½ΠΊΠΎΠΉ Π»ΠΈΠ½ΠΈΠ΅ΠΉ ΠΈΠ·ΠΎΠ±ΡΠ°ΠΆΠ°ΡΡ
Π³Π΅ΠΎΒΠΌΠ΅ΡΡΠΈΡΠ΅ΡΠΊΠΈΠ΅ ΠΎΡΠΈ ΠΏΠ΅ΡΠ΅Π΄Π°ΡΠΈ:
Π³ΠΎΡΠΈΠ·ΠΎΠ½ΡΠ°Π»ΡΒΠ½ΡΡ ΠΈ Π²Π΅ΡΡΠΈΠΊΠ°Π»ΡΠ½ΡΡ. ΠΠΎ
Π³ΠΎΡΠΈΠ·ΠΎΠ½ΡΠ°Π»ΡΠ½ΠΎΠΉ ΠΎΡΠΈ ΠΎΡΠΊΠ»Π°Π΄ΡΠ²Π°ΡΡ Π²ΠΏΡΠ°Π²ΠΎ
ΠΎΡ ΡΠΎΡΠΊΠΈ ΠΏΠ΅ΡΠ΅ΡΠ΅ΒΡΠ΅Π½ΠΈΡ ΡΠ°Π·ΠΌΠ΅Ρ ΡΠ°Π΄ΠΈΡΡΠ°
Π΄Π΅Π»ΠΈΡΠ΅Π»ΡΠ½ΠΎΠΉ ΠΎΠΊΡΡΠΆΒΠ½ΠΎΡΡΠΈ ΡΠ΅ΡΡΠ΅ΡΠ½ΠΈ, Π°
ΠΏΠΎ Π²Π΅ΡΡΠΈΠΊΠ°Π»ΡΠ½ΠΎΠΉ ΠΎΡΠΈ Π²Π½ΠΈΠ· β ΡΠ°Π·ΠΌΠ΅Ρ
ΡΠ°Π΄ΠΈΡΡΠ° Π΄Π΅Π»ΠΈΡΠ΅Π»ΡΠ½ΠΎΠΉ ΠΎΠΊΒΡΡΠΆΠ½ΠΎΡΡΠΈ
ΠΊΠΎΠ»Π΅ΡΠ°. Π‘ΡΡΠΎΡΡ Π½Π°ΡΠ°Π»ΡΠ½ΡΠ΅ ΠΊΠΎΠ½ΡΒΡΡ
ΡΠ΅ΡΡΠ΅ΡΠ½ΠΈ ΠΈ ΠΊΠΎΠ»Π΅ΡΠ°.
ΠΡ ΠΎΡΠ½ΠΎΠ²Π°Π½ΠΈΡ Π΄Π΅Π»ΠΈΡΠ΅Π»ΡΠ½ΠΎΠ³ΠΎ ΠΊΠΎΠ½ΡΡΠ° ΠΊΠΎΠ»Π΅ΒΡΠ° ΠΏΡΠΎΠ²ΠΎΠ΄ΡΡ Π»ΠΈΠ½ΠΈΠΈ ΠΎΠ±ΡΠ°Π·ΡΡΡΠΈΡ Π΄ΠΎΠΏΠΎΠ»Π½ΠΈΒΡΠ΅Π»ΡΠ½ΠΎΠ³ΠΎ ΠΊΠΎΠ½ΡΡΠ° ΠΈ Π½Π° Π½ΠΈΡ ΠΎΡΠΊΠ»Π°Π΄ΡΠ²Π°ΡΡ ΡΠ°Π·ΠΌΠ΅ΡΡ Π³ΠΎΠ»ΠΎΠ²ΠΊΠΈ ΠΈ Π½ΠΎΠΆΠΊΠΈ Π·ΡΠ±Π°, Π²ΡΡΠ΅ΡΡΠΈΒΠ²Π°ΡΡ Π»ΠΈΠ½ΠΈΠΈ ΠΎΠ±ΡΠ°Π·ΡΡΡΠΈΡ ΠΊΠΎΠ½ΡΡΠ° Π²Π΅ΡΡΠΈΠ½ ΠΈ ΠΊΠΎΠ½ΡΡΠ° Π²ΠΏΠ°Π΄ΠΈΠ½. ΠΠΎΠ»ΡΠ·ΡΡΡΡ ΠΏΡΠ΅Π΄Π²Π°ΡΠΈΡΠ΅Π»ΡΒΠ½ΠΎ ΠΏΠΎΠ΄ΡΡΠΈΡΠ°Π½Π½ΡΠΌΠΈ Π²Π΅Π»ΠΈΡΠΈΠ½Π°ΠΌΠΈ ΡΠ°Π·ΠΌΠ΅ΡΠΎΠ² ΠΊΠΎΠ½ΡΡΡΡΠΊΡΠΈΠ²Π½ΡΡ ΡΠ»Π΅ΠΌΠ΅Π½ΡΠΎΠ² ΠΊΠΎΠ»Π΅ΡΠ°, ΡΡΡΠΎΡΡ Π΅Π³ΠΎ ΠΈΠ·ΠΎΠ±ΡΠ°ΠΆΠ΅Π½ΠΈΠ΅.
ΠΠ° ΠΎΡΠ½ΠΎΠ²Π΅ Π΄Π΅Π»ΠΈΡΠ΅Π»ΡΠ½ΠΎΠ³ΠΎ ΠΊΠΎΠ½ΡΡΠ° ΡΠ΅ΡΡΠ΅ΡΒΠ½ΠΈ ΡΡΡΠΎΡΡ Π΅Π΅ ΠΈΠ·ΠΎΠ±ΡΠ°ΠΆΠ΅Π½ΠΈΠ΅. ΠΠ°ΡΠ΅ΠΏΠ»Π΅Π½ΠΈΠ΅ Π·ΡΠ±ΡΠ΅Π² Π²ΡΡΠ΅ΡΡΠΈΠ²Π°ΡΡ Π²

ΠΠ ΠΠΠΠ ΠΠ«ΠΠΠΠΠΠΠΠ― Π§ΠΠ ΠΠ―Π§ΠΠΠ ΠΠΠ ΠΠΠΠ§Π
ΠΠ° ΡΠ΅ΡΡΠ΅ΠΆΠ΅ ΡΠ΅ΡΒΠ²ΡΡΠ½ΠΎΠΉ ΠΏΠ΅ΡΠ΅Π΄Π°ΡΠΈ ΠΎΠ±ΡΠ°Π·ΡΡΡΠ°Ρ Π΄Π΅Π»ΠΈΡΠ΅Π»ΡΠ½ΠΎΠΉ ΠΎΠΊΡΡΠΆΠ½ΠΎΡΡΠΈ ΡΠ΅ΡΠ²ΡΠΊΠ° Π΄ΠΎΠ»ΠΆΠ½Π° Π±ΡΡΡ ΠΊΠ°ΡΠ°ΡΠ΅Π»ΡΠ½Π° ΠΊ Π΄Π΅Π»ΠΈΡΠ΅Π»ΡΠ½ΠΎΠΉ ΠΎΠΊΡΡΠΆΠ½ΠΎΡΡΠΈ ΠΊΠΎΠ»Π΅ΡΠ°.
ΠΠ°ΡΠΈΠ½Π°ΡΡ Π²ΡΡΠ΅ΡΡΠΈΠ²Π°Π½ΠΈΠ΅ ΡΠ»Π΅Π΄ΡΠ΅Ρ Ρ ΠΏΡΠΎΒΠ²Π΅Π΄Π΅Π½ΠΈΡ ΡΠ΅Π½ΡΡΠΎΠ²ΡΡ Π»ΠΈΠ½ΠΈΠΉ ΠΊΠΎΠ»Π΅ΡΠ° ΠΈ ΠΎΡΠ΅Π²ΠΎΠΉ Π»ΠΈΠ½ΠΈΠΈ ΡΠ΅ΡΠ²ΡΠΊΠ°. ΠΡΠ΅Π²Π°Ρ Π»ΠΈΒΠ½ΠΈΡ ΡΠ΅ΡΠ²ΡΠΊΠ° ΠΏΡΠΎΠ²ΠΎΠ΄ΠΈΡΡΡ Π½Π° ΠΌΠ΅ΠΆΠΎΡΠ΅Π²ΠΎΠΌ ΡΠ°ΡΡΡΠΎΡΠ½ΠΈΠΈ ΠΎΡ Π³ΠΎΡΠΈΠ·ΠΎΠ½ΡΠ°Π»ΡΠ½ΠΎΠΉ ΡΠ΅Π½ΡΡΠΎΠ²ΠΎΠΉ ΠΊΠΎΠ»Π΅ΡΠ°.
ΠΠ°ΠΈΠ±ΠΎΠ»Π΅Π΅ ΡΠ°ΡΡΠΎ Π²ΡΡΡΠ΅ΡΠ°ΡΡΡΡ ΡΠΈΠ»ΠΈΠ½Π΄ΡΠΈΒΡΠ΅ΡΠΊΠ°Ρ ΡΠ΅ΡΠ²ΡΡΠ½Π°Ρ ΠΏΠ΅ΡΠ΅Π΄Π°ΡΠ° Ρ ΡΠ³Π»ΠΎΠΌ ΡΠΊΡΠ΅ΒΡΠΈΠ²Π°Π½ΠΈΡ ΠΎΡΠ΅ΠΉ ΡΠ΅ΡΠ²ΡΠΊΠ° ΠΈ ΠΊΠΎΠ»Π΅ΡΠ°, ΡΠ°Π²Π½ΡΠΌ 90Β°. ΠΠ»Ρ ΡΠ°ΠΊΠΈΡ ΠΏΠ΅ΡΠ΅Π΄Π°Ρ ΠΌΠ΅ΠΆΠΎΡΠ΅Π²ΡΠΌ ΡΠ°ΡΡΡΠΎΡΠ½ΠΈΠ΅ΠΌ ΡΠ²Π»ΡΠ΅ΡΡΡ ΡΠ°Π·ΠΌΠ΅Ρ ΠΌΠ΅ΠΆΠ΄Ρ ΠΎΡΡΠΌΠΈ ΡΠ΅ΡΠ²ΡΠΊΠ° ΠΈ ΠΊΠΎΠ»Π΅ΡΠ°. ΠΠ·ΠΌΠ΅ΡΠ΅Π½Π½ΡΠΉ ΠΏΠΎ Π»ΠΈΠ½ΠΈΠΈ ΠΏΠ΅ΡΠ΅ΡΠ΅ΠΊΠ°ΡΡΠ΅ΠΉ ΠΎΡΠΈ ΠΏΠΎΠ΄ ΠΏΡΡΠΌΡΠΌ ΡΠ³Π»ΠΎΠΌ. ΠΠ»Ρ ΡΠ°ΠΊΠΈΡ ΠΏΠ΅ΡΠ΅Π΄Π°Ρ Π΄ΠΈΠ°ΠΌΠ΅ΡΡΡ Π½Π°ΡΠ°Π»ΡΠ½ΡΡ ΠΈ Π΄Π΅Π»ΠΈΡΠ΅Π»ΡΠ½ΡΡ ΡΠΈΠ»ΠΈΠ½Π΄ΡΠΎΠ² ΡΠΎΠ²ΠΏΠ°Π΄Π°ΡΡ.
ΠΡΠΈ Π²ΡΡΠ΅ΡΡΠΈΠ²Π°Π½ΠΈΠΈ Ρ ΡΠ°ΠΏΠΎΠ²ΠΎΠ³ΠΎ ΠΌΠ΅Ρ Π°ΒΠ½ΠΈΠ·ΠΌΠ°:
ΠΎΠΊΡΡΠΆΠ½ΠΎΡΡΡ Π²ΡΡΡΡΠΏΠΎΠ² ΠΎΠ±Π²ΠΎΠ΄ΠΈΡΡΡ ΡΠΏΠ»ΠΎΡΒΠ½ΠΎΠΉ ΠΎΡΠ½ΠΎΠ²Π½ΠΎΠΉ Π»ΠΈΠ½ΠΈΠ΅ΠΉ;
ΠΎΠΊΡΡΠΆΠ½ΠΎΡΡΡ Π²ΠΏΠ°Π΄ΠΈΠ½ Π½Π° Π²ΠΈΠ΄Π°Ρ , ΠΏΠΎΠ»ΡΡΠ΅Π½ΒΠ½ΡΡ ΠΏΡΠΎΠ΅ΡΠΈΡΠΎΠ²Π°Π½ΠΈΠ΅ΠΌ Π½Π° ΠΏΠ»ΠΎΡΠΊΠΎΡΡΡ, ΠΏΠ΅ΡΠΏΠ΅Π½Π΄ΠΈΠΊΡΠ»ΡΡΠ½ΡΡ ΠΎΡΠΈ ΠΊΠΎΠ»Π΅ΡΠ°, ΠΏΡΠΎΠ²ΠΎΠ΄ΡΡ ΡΠΏΠ»ΠΎΡΠ½ΠΎΠΉ ΡΠΎΠ½ΠΊΠΎΠΉ Π»ΠΈΠ½ΠΈΠ΅ΠΉ, Π° Π² ΡΠ°Π·ΡΠ΅Π·Π°Ρ β ΡΠΏΠ»ΠΎΡΠ½ΠΎΠΉ ΠΎΡΠ½ΠΎΠ²Π½ΠΎΠΉ Π»ΠΈΠ½ΠΈΠ΅ΠΉ;
Π² Π·ΠΎΠ½Π΅ Π·Π°ΡΠ΅ΠΏΠ»Π΅Π½ΠΈΡ, Π² ΡΠ°Π·ΡΠ΅Π·Π΅, Π·ΡΠ± ΡΠΎΠ±Π°ΡΠΊΠΈ ΠΏΠΎΠΊΠ°Π·ΡΠ²Π°ΡΡ ΠΏΠ΅ΡΠ΅Π΄ Π·ΡΠ±ΠΎΠΌ Ρ ΡΠ°ΠΏΠΎΠ²ΠΎΠ³ΠΎ ΠΊΠΎΠ»Π΅ΡΠ°;
Π½Π° ΡΠ±ΠΎΡΠΎΡΠ½ΠΎΠΌ ΡΠ΅ΡΡΠ΅ΠΆΠ΅ ΠΏΠΎΠΊΠ°Π·ΡΠ²Π°ΡΡ ΠΏΡΠΎΒΡΠΈΠ»Ρ ΠΎΠ΄Π½ΠΎΠ³ΠΎ-Π΄Π²ΡΡ Π·ΡΠ±ΡΠ΅Π² Π½Π° ΡΠ°Π±ΠΎΡΠ΅ΠΌ ΡΠ΅ΡΡΠ΅ΠΆΠ΅ ΠΊΠΎΠ»Π΅ΡΠ° β ΠΏΡΠΎΡΠΈΠ»Ρ Ρ ΡΠ°Π·ΒΠΌΠ΅ΡΠ°ΠΌΠΈ.

Π§Π΅ΡΠ²ΡΡΠ½ΡΠ΅ ΠΏΠ΅ΡΠ΅Π΄Π°ΡΠΈ ΡΠ»ΡΠΆΠ°Ρ Π΄Π»Ρ ΠΏΠ΅ΡΠ΅ΒΠ΄Π°ΡΠΈ Π²ΡΠ°ΡΠ΅Π½ΠΈΡ ΠΌΠ΅ΠΆΠ΄Ρ ΡΠΊΡΠ΅ΡΠΈΠ²Π°ΡΡΠΈΠΌΠΈΡΡ Π²Π°Π»Π°ΠΌΠΈ (ΠΎΠ±ΡΡΠ½ΠΎ ΠΏΠΎΠ΄ ΠΏΡΡΠΌΡΠΌ ΡΠ³Π»ΠΎΠΌ) ΠΈ ΡΠΎΒΡΡΠΎΡΡ ΠΈΠ· ΡΠ΅ΡΠ²ΡΠΊΠ° ΠΈ ΡΠ΅ΡΠ²ΡΡΠ½ΠΎΠ³ΠΎ ΠΊΠΎΠ»Π΅ΡΠ°. ΠΠ½ΠΈ ΠΏΠΎΠ·Π²ΠΎΠ»ΡΡΡ ΠΏΠΎΠ»ΡΡΠ°ΡΡ Π±ΠΎΠ»ΡΡΠΈΠ΅ ΠΏΠ΅ΡΠ΅Π΄Π°ΡΠΎΡΠ½ΡΠ΅ ΡΠΈΡΠ»Π°, ΠΏΠ»Π°Π²Π½ΠΎΡΡΡ Π·Π°ΡΠ΅ΠΏΠ»Π΅Π½ΠΈΡ, Π±Π΅ΡΡΡΠΌΠ½Ρ Π² ΡΠ°Π±ΠΎΡΠ΅. ‘ΠΠ΅Π΄ΡΡΠΈΠΌ ΠΎΠ±ΡΡΠ½ΠΎ ΡΠ²Π»ΡΠ΅ΡΡΡ ΡΠ΅ΡΠ²ΡΠΊ.
Π§Π΅ΡΠ²ΡΡΠ½ΡΠ΅ ΠΏΠ΅ΡΠ΅Π΄Π°ΡΠΈ: ΠΎ β Ρ ΡΠΈΠ»ΠΈΠ½Π΄ΡΠΈΡΠ΅ΡΠΊΠΈΠΌ ΡΠ΅ΡΠ²ΡΠΊΠΎΠΌ, Π± β Ρ Π³Π»ΠΎΠ±ΠΎΠΈΠ΄Π½ΡΠΌ ΡΠ΅ΡΠ²ΡΠΊΠΎΠΌ
ΠΡΡΠ΅ΡΡΠΈΠ²Π°Π½ΠΈΠ΅ ΡΠ΅ΡΠ²ΡΡΠ½ΠΎΠ³ΠΎ ΠΊΠΎΠ»Π΅ΡΠ° Π·Π°Ρ ΠΎΠ΄ΠΎΠ² 2, ΡΠΈΠΏ ΡΠ΅ΡΠ²ΡΠΊΠ° Π°ΡΡ ΠΈΠΌΠ΅Π΄ΠΎΠ²,
Π½Π°ΠΏΡΠ°Π²ΒΠ»Π΅Π½ΠΈΠ΅ Π²ΠΈΡΠΊΠ° ΠΏΡΠ°Π²ΠΎΠ΅.
ΠΠ°Π΄Π°Π½ΠΈΠ΅ β 7. Π§ΠΠ Π’ΠΠ ΠΠ Π£ΠΠΠΠ«
ΠΡΠΏΠΎΠ»Π½ΠΈΡΡ ΡΠ΅ΡΡΠ΅ΠΆ ΠΏΡΡΠΆΠΈΠ½Ρ ΠΏΠΎ Π·Π°Π΄Π°Π½Π½ΠΎΠΌΡ ΠΎΠ±ΡΠ°Π·ΡΡ.
ΠΠ°Π΄Π°Π½ΠΈΡ β 8. Π‘ΠΠΠ ΠΠ§ΠΠ«Π Π§ΠΠ Π’ΠΠ
ΠΠΠΠ’ΠΠΠ¬ ΠΠΠΠΠ ΠΠ«Π Π¦ΠΠΠΠΠΠ«Π.
ΠΠ΅ΡΠ΅ΡΠ΅Π½Ρ ΠΈ ΠΊΡΠ°ΡΠΊΠ°Ρ Ρ Π°ΡΠ°ΠΊΡΠ΅ΡΠΈΡΡΠΈΠΊΠ° Π΄Π΅ΒΡΠ°Π»Π΅ΠΉ.
ΠΠ°Ρ
ΠΎΠ²ΠΈΠΊ 1 ΡΠ²Π»ΡΠ΅ΡΡΡ Π°ΡΠΌΠΈΡΠΎΠ²Π°Π½Π½ΠΎΠΉ Π΄Π΅ΒΡΠ°Π»ΡΡ. Π
ΠΏΠ»Π°ΡΡΠΌΠ°ΡΡΠΎΠ²ΠΎΠ΅ ΡΠ΅Π»ΠΎ ΠΌΠ°Ρ
ΠΎΠ²ΠΈΠΊΠ° Π²ΠΏΡΠ΅ΡΡΠΎΠ²Π°Π½Π°
ΡΠΊΠΎΠ±Π° ΠΈΠ· ΠΊΠΎΠ²ΠΊΠΎΠ³ΠΎ ΡΡΠ³ΡΠ½Π° Ρ ΠΊΠ²Π°Π΄ΒΡΠ°ΡΠ½ΡΠΌ
ΠΎΡΠ²Π΅ΡΡΡΠΈΠ΅ΠΌ.
ΠΠΎΡΠΏΡΡ 2 Π²Π΅Π½ΡΠΈΠ»Ρ ΡΡΠ°Π»ΡΠ½ΠΎΠΉ (ΡΡΠ°ΠΌΠΏΠΎΒΠ²Π°Π½Π½ΡΠΉ). Π¦ΠΈΠ»ΠΈΠ½Π΄ΡΠΈΡΠ΅ΡΠΊΠΈΠ΅ ΠΏΠ°ΡΡΡΠ±ΠΊΠΈ ΠΊΠΎΡΠΏΡΒΡΠ° (Π»Π΅Π²ΡΠΉ ΠΈ ΠΏΡΠ°Π²ΡΠΉ) ΠΈΠΌΠ΅ΡΡ ΡΠ΅Π·ΡΠ±Ρ β 1” Π΄Π»Ρ ΠΏΡΠΈΡΠΎΠ΅Π΄ΠΈΠ½Π΅Π½ΠΈΡ ΠΊ ΡΡΡΠ±ΠΎΠΏΡΠΎΠ²ΠΎΠ΄Ρ.
Π¨ΠΏΠΈΠ½Π΄Π΅Π»Ρ 3 Π²ΡΠΏΠΎΠ»Π½Π΅Π½ ΠΈΠ· Π½Π΅ΡΠΆΠ°Π²Π΅ΡΡΠ΅ΠΉ ΡΡΠ°Π»ΠΈ. ΠΡΠΈ Π·Π°Π²Π°Π»ΡΡΠΎΠ²ΠΊΠ΅ Π·ΠΎΠ»ΠΎΡΠ½ΠΈΠΊΠ° 4 Π² ΠΎΡΒΠ²Π΅ΡΡΡΠΈΠ΅ ΡΠΏΠΈΠ½Π΄Π΅Π»Ρ ΠΎΠ±Π΅ΡΠΏΠ΅ΡΠ΅Π½ΠΎ ΠΏΠΎΠ΄Π²ΠΈΠΆΠ½ΠΎΠ΅ ΡΠΎΠ΅Π΄ΠΈΠ½Π΅Π½ΠΈΠ΅, ΠΏΠΎΠ·Π²ΠΎΠ»ΡΡΡΠ΅Π΅ Π·ΠΎΠ»ΠΎΡΠ½ΠΈΠΊΡ ΡΠ°ΠΌΠΎΒΡΡΡΠ°Π½ΠΎΠ²ΠΊΡ Π² ΠΎΡΠ²Π΅ΡΡΡΠΈΠΈ ΠΊΠΎΡΠΏΡΡΠ° 2.
ΠΡΠΏΠΎΠ»Π½ΠΈΡΡ ΡΠ΅ΡΡΠ΅ΠΆ ΡΠ±ΠΎΡΠΎΡΠ½ΠΎΠΉ Π΅Π΄ΠΈΠ½ΠΈΡΡ, Π΄Π΅ΡΠ°Π»ΠΈΡΠΎΠ²Π°Π½ΠΈΠ΅ ΡΡΠ΅Ρ Π΄Π΅ΡΠ°Π»Π΅ΠΉ ΠΈ ΡΠΏΠ΅ΡΠΈΡΠΈΠΊΠ°ΡΠΈΡ.
.
ΠΠ°Π΄Π°Π½ΠΈΠ΅ β 9. Π‘Π’Π ΠΠΠ’ΠΠΠ¬ΠΠ«Π Π§ΠΠ Π’ΠΠΠ
ΠΠ°ΠΏΠΈΡΠ°Π»ΡΠ½ΡΠ΅ ΡΡΠ΅Π½Ρ
ΠΈΠ· ΠΊΠΈΡΠΏΠΈΡΠ°. Π’ΠΎΠ»ΡΠΈΠ½Π° Π½Π°ΡΡΠΆΠ½ΡΡ
ΡΡΠ΅Π½
510 ΠΌΠΌ, ΠΏΡΠΈΠ²ΡΠ·ΠΊΠ° 310β200 ΠΌΠΌ.
ΠΠ½ΡΡΡΠ΅Π½Π½ΠΈΠ΅
ΠΊΠ°ΠΏΠΈΡΠ°Π»ΡΠ½ΡΠ΅ ΡΡΠ΅Π½Ρ ΡΠΎΠ»ΡΠΈΠ½ΠΎΠΉ
380 ΠΌΠΌ Ρ ΡΠ΅Π½ΡΡΠ°Π»ΡΠ½ΠΎΠΉ ΠΏΡΠΈΠ²ΡΠ·ΠΊΠΎΠΉ.
ΠΠΊΠΎΠ½Π½ΡΠ΅
ΠΈ Π΄Π²Π΅ΡΠ½ΡΠ΅ ΠΏΡΠΎΠ΅ΠΌΡ Π² Π½Π°ΡΡΠΆΠ½ΡΡ
ΠΊΠ°ΠΏΠΈΡΠ°Π»ΡΠ½ΡΡ
ΡΡΠ΅Π½Π°Ρ
Ρ ΡΠ΅ΡΠ²Π΅ΡΡΡΠΌΠΈ.
Π¨ΠΈΡΠΈΠ½Π°
Π»Π΅ΡΡΠ½ΠΈΡΠ½ΠΎΠ³ΠΎ ΠΌΠ°ΡΡΠ° 1350 ΠΌΠΌ.
ΠΡΡΠΎΡΠ°
ΠΎΠ³ΡΠ°ΠΆΠ΄Π΅Π½ΠΈΠΉ Π»Π΅ΡΡΠ½ΠΈΡ 900 ΠΌΠΌ.
ΠΡΠΏΠΎΠ»Π½ΠΈΡΡ ΡΠ΅ΡΡΠ΅ΠΆ ΠΏΠ»Π°Π½Π° ,ΡΠ°ΡΠ°Π΄Π° ΠΈ ΡΠ°Π·ΡΠ΅Π·Π° ΠΏΠΎ ΡΠΊΠ°Π·Π°Π½Π½ΡΠΌ ΡΠ°Π·ΠΌΠ΅ΡΠ°ΠΌ.
Π§Π΅ΡΡΠ΅ΠΆ Π±ΠΎΠ³ΠΎΠ»ΡΠ±ΠΎΠ² Π½ΠΎΠ²ΡΠΉ π Π·Π°Π΄Π°Π½ΠΈΠ΅ 59 Π²Π°ΡΠΈΠ°Π½Ρ 7 ΠΈΠ½ΠΆΠ΅Π½Π΅ΡΠ½Π°Ρ Π³ΡΠ°ΡΠΈΠΊΠ° Π² ΠΡΠΈΡΠ΅Π²Π΅
ΠΠ½Π»Π°ΠΉΠ½-ΡΠ΅ΡΠ²ΠΈΡ
ΠΠΈΠ΄Π΅ΠΎ ΠΎ ΡΠ΅ΡΠ²ΠΈΡΠ΅
ΠΠΊΡΠΏΠ΅ΡΡΡ ΡΠ°ΠΉΡΠ° vsesdal.com ΠΏΡΠΎΠ²ΠΎΠ΄ΡΡ ΡΠ°Π±ΠΎΡΡ ΠΏΠΎ ΠΏΠΎΠ΄Π±ΠΎΡΡ, ΠΎΠ±ΡΠ°Π±ΠΎΡΠΊΠ΅ ΠΈ ΡΡΡΡΠΊΡΡΡΠΈΡΠΎΠ²Π°Π½ΠΈΡ ΠΌΠ°ΡΠ΅ΡΠΈΠ°Π»Π° ΠΏΠΎ ΠΏΡΠ΅Π΄Π»ΠΎΠΆΠ΅Π½Π½ΠΎΠΉ Π·Π°ΠΊΠ°Π·ΡΠΈΠΊΠΎΠΌ ΡΠ΅ΠΌΠ΅. Π Π΅Π·ΡΠ»ΡΡΠ°Ρ Π΄Π°Π½Π½ΠΎΠΉ ΡΠ°Π±ΠΎΡΡ Π½Π΅ ΡΠ²Π»ΡΠ΅ΡΡΡ Π³ΠΎΡΠΎΠ²ΡΠΌ Π½Π°ΡΡΠ½ΡΠΌ ΡΡΡΠ΄ΠΎΠΌ, Π½ΠΎ ΠΌΠΎΠΆΠ΅Ρ ΡΠ»ΡΠΆΠΈΡΡ ΠΈΡΡΠΎΡΠ½ΠΈΠΊΠΎΠΌ Π΄Π»Ρ Π΅Π³ΠΎ Π½Π°ΠΏΠΈΡΠ°Π½ΠΈΡ.
ΠΈΠ½ΠΆΠ΅Π½Π΅ΡΠ½Π°Ρ Π³ΡΠ°ΡΠΈΠΊΠ°
Π±ΠΎΠ³ΠΎΠ»ΡΠ±ΠΎΠ² Π½ΠΎΠ²ΡΠΉ Π·Π°Π΄Π°Π½ΠΈΠ΅ 59 Π²Π°ΡΠΈΠ°Π½Ρ 7
- ΠΠ°Π΄Π°Π½ΠΈΠ΅
- ΠΠ±ΡΡΠΆΠ΄Π΅Π½ΠΈΠ΅
2573819
Π§Π΅ΡΡΠ΅ΠΆ
ΠΈΠ½ΠΆΠ΅Π½Π΅ΡΠ½Π°Ρ Π³ΡΠ°ΡΠΈΠΊΠ°
ΠΠ°ΠΊΠ°Π· Π²ΡΠΏΠΎΠ»Π½Π΅Π½
Π±ΠΎΠ³ΠΎΠ»ΡΠ±ΠΎΠ² Π½ΠΎΠ²ΡΠΉ Π·Π°Π΄Π°Π½ΠΈΠ΅ 59 Π²Π°ΡΠΈΠ°Π½Ρ 7
ΠΡΠΎ ΠΌΠ΅ΡΡΠΎ Π΄Π»Ρ ΠΏΠ΅ΡΠ΅ΠΏΠΈΡΠΊΠΈ ΡΠ΅Ρ-Π°-ΡΠ΅Ρ ΠΌΠ΅ΠΆΠ΄Ρ Π·Π°ΠΊΠ°Π·ΡΠΈΠΊΠΎΠΌ ΠΈ ΠΈΡΠΏΠΎΠ»Π½ΠΈΡΠ΅Π»Π΅ΠΌ.
ΠΠΎΠΉΠ΄ΠΈΡΠ΅ Π² Π»ΠΈΡΠ½ΡΠΉ ΠΊΠ°Π±ΠΈΠ½Π΅Ρ (Π°Π²ΡΠΎΡΠΈΠ·ΡΠΉΡΠ΅ΡΡ Π½Π° ΡΠ°ΠΉΡΠ΅) ΠΈΠ»ΠΈ
Π·Π°ΡΠ΅Π³ΠΈΡΡΡΠΈΡΡΠΉΡΠ΅ΡΡ, ΡΡΠΎΠ±Ρ
ΠΏΠΎΠ»ΡΡΠΈΡΡ Π΄ΠΎΡΡΡΠΏ ΠΊΠΎ Π²ΡΠ΅ΠΌ Π²ΠΎΠ·ΠΌΠΎΠΆΠ½ΠΎΡΡΡΠΌ ΡΠ°ΠΉΡΠ°.
ΠΠ°ΠΊΠ°ΠΆΠΈΡΠ΅ ΠΏΠΎΠ΄ΠΎΠ±Π½ΡΡ ΠΈΠ»ΠΈ Π»ΡΠ±ΡΡ Π΄ΡΡΠ³ΡΡ ΡΠ°Π±ΠΎΡΡ Π½Π΅Π΄ΠΎΡΠΎΠ³ΠΎ
ΠΈΠ»ΠΈ
ΠΠΎΡΠ»Π΅Π΄Π½ΠΈΠ΅ ΡΠ°Π·ΠΌΠ΅ΡΠ΅Π½Π½ΡΠ΅ Π·Π°Π΄Π°Π½ΠΈΡ
ΡΠΎΠ»ΡΠΊΠΎ ΡΡΠΎ
ΡΠΎΠ»ΡΠΊΠΎ ΡΡΠΎ
1 ΠΌΠΈΠ½ΡΡΡ Π½Π°Π·Π°Π΄
1 ΠΌΠΈΠ½ΡΡΡ Π½Π°Π·Π°Π΄
2 ΠΌΠΈΠ½ΡΡΡ Π½Π°Π·Π°Π΄
2 ΠΌΠΈΠ½ΡΡΡ Π½Π°Π·Π°Π΄
3 ΠΌΠΈΠ½ΡΡΡ Π½Π°Π·Π°Π΄
4 ΠΌΠΈΠ½ΡΡΡ Π½Π°Π·Π°Π΄
4 ΠΌΠΈΠ½ΡΡΡ Π½Π°Π·Π°Π΄
4 ΠΌΠΈΠ½ΡΡΡ Π½Π°Π·Π°Π΄
4 ΠΌΠΈΠ½ΡΡΡ Π½Π°Π·Π°Π΄
4 ΠΌΠΈΠ½ΡΡΡ Π½Π°Π·Π°Π΄
5 ΠΌΠΈΠ½ΡΡ Π½Π°Π·Π°Π΄
5 ΠΌΠΈΠ½ΡΡ Π½Π°Π·Π°Π΄
5 ΠΌΠΈΠ½ΡΡ Π½Π°Π·Π°Π΄
5 ΠΌΠΈΠ½ΡΡ Π½Π°Π·Π°Π΄
5 ΠΌΠΈΠ½ΡΡ Π½Π°Π·Π°Π΄
6 ΠΌΠΈΠ½ΡΡ Π½Π°Π·Π°Π΄
Π Π°Π·ΠΌΠ΅ΡΡΠΈΡΠ΅ Π·Π°ΠΊΠ°Π· ΠΈ ΠΏΠΎΠ»ΡΡΠΈΡΠ΅
ΠΏΡΠ΅Π΄Π»ΠΎΠΆΠ΅Π½ΠΈΡ Ρ ΡΠ΅Π½Π°ΠΌΠΈ
ΡΠΊΡΠΏΠ΅ΡΡΠΎΠ²
ΠΡΠ±Π΅ΡΠΈΡΠ΅ ΡΠΊΡΠΏΠ΅ΡΡΠ°
ΠΏΠΎ ΡΠ΅Π½Π΅ ΠΈ ΠΎΡΠ·ΡΠ²Π°ΠΌ
Π‘Π΄Π°ΠΉΡΠ΅ ΡΠ°Π±ΠΎΡΡ Π½Π° ΠΏΡΠΎΠ²Π΅ΡΠΊΡ
ΠΏΡΠ΅ΠΏΠΎΠ΄Π°Π²Π°ΡΠ΅Π»Ρ
ΠΠΎΠ»ΡΡΠΈΡΠ΅ ΠΏΠΎΠ»ΠΎΠΆΠΈΡΠ΅Π»ΡΠ½ΡΡ ΠΎΡΠ΅Π½ΠΊΡ,
ΠΎΠΏΠ»Π°ΡΠΈΡΠ΅ ΡΠ°Π±ΠΎΡΡ ΠΈ ΠΎΡΡΠ°Π²ΡΡΠ΅
ΠΎΡΠ·ΡΠ² ΡΠΊΡΠΏΠ΅ΡΡΡ
Π£Π·Π½Π°ΡΡ ΡΡΠΎΠΈΠΌΠΎΡΡΡ
Π£Π·Π½Π°ΡΡ ΡΡΠΎΠΈΠΌΠΎΡΡΡ
ΠΠ°Π±ΠΎΡΠΈΠΌΡΡ ΠΎ Π²Π°Ρ
ΠΈ Π²Π°ΡΠ΅ΠΌ Π²ΡΠ΅ΠΌΠ΅Π½ΠΈ
ΠΠΊΠΎΠ½ΠΎΠΌΠΈΡ Π²ΡΠ΅ΠΌΠ΅Π½ΠΈ
Π’Π΅ΠΏΠ΅ΡΡ Ρ Π²Π°Ρ Π΅ΡΡΡ Π²ΡΠ΅ΠΌΡ Π½Π° Π΄ΡΡΠ·Π΅ΠΉ, Π»ΡΠ±ΠΈΠΌΡΠ΅ Π·Π°Π½ΡΡΠΈΡ,
ΡΠ°Π±ΠΎΡΡ ΠΈ ΡΠ΅ΠΌΡΡ
Π£Π΄ΠΎΠ±Π½ΡΠΉ ΠΈΠ½ΡΠ΅ΡΡΠ΅ΠΉΡ
Π‘ΠΎΠ²ΡΠ΅ΠΌΠ΅Π½Π½ΡΠΉ Π΄ΠΈΠ·Π°ΠΉΠ½, ΡΠΎΠ·Π΄Π°Π½Π½ΡΠΉ Π΄Π»Ρ ΡΠ΄ΠΎΠ±ΡΡΠ²Π°
ΠΏΠΎΠ»ΡΠ·ΠΎΠ²Π°ΡΠ΅Π»Π΅ΠΉ ΡΠ°ΠΉΡΠ°
1.
Π‘ΠΊΠΎΠ»ΡΠΊΠΎ ΡΡΠΎΠΈΡ ΠΏΠΎΠΌΠΎΡΡ?
Π¦Π΅Π½Π°, ΠΊΠ°ΠΊ ΠΈΠ·Π²Π΅ΡΡΠ½ΠΎ, Π·Π°Π²ΠΈΡΠΈΡ ΠΎΡ ΠΎΠ±ΡΡΠΌΠ°, ΡΠ»ΠΎΠΆΠ½ΠΎΡΡΠΈ ΠΈ ΡΡΠΎΡΠ½ΠΎΡΡΠΈ. ΠΡΠΎΠ±Π΅Π½Π½ΠΎΡΡΡΡ Β«ΠΡΡ ΡΠ΄Π°Π»!Β» ΡΠ²Π»ΡΠ΅ΡΡΡ ΡΠΎ, ΡΡΠΎ Π²ΡΠ΅ Π·Π°ΠΊΠ°Π·ΡΠΈΠΊΠΈ ΡΠ°Π±ΠΎΡΠ°ΡΡ ΡΠΎ ΡΠΊΡΠΏΠ΅ΡΡΠ°ΠΌΠΈ Π½Π°ΠΏΡΡΠΌΡΡ (Π±Π΅Π· ΠΏΠΎΡΡΠ΅Π΄Π½ΠΈΠΊΠΎΠ²). ΠΠΎΡΡΠΎΠΌΡ ΡΠ΅Π½Ρ Π² 2-3 ΡΠ°Π·Π° Π½ΠΈΠΆΠ΅.
2. ΠΠ°ΠΊΠΎΠ²Ρ ΡΡΠΎΠΊΠΈ?
Π‘ΠΏΠ΅ΡΠΈΠ°Π»ΠΈΡΡΠ°ΠΌ ΠΏΠΎΠ΄ ΡΠΈΠ»Ρ Π²ΡΠΏΠΎΠ»Π½ΠΈΡΡ ΠΊΠ°ΠΊ ΡΡΠΎΡΠ½ΡΠΉ Π·Π°ΠΊΠ°Π·, ΡΠ°ΠΊ ΠΈ ΡΠ»ΠΎΠΆΠ½ΡΠΉ, ΡΡΠ΅Π±ΡΡΡΠΈΠΉ ΡΡΡΠ΅ΡΡΠ²Π΅Π½Π½ΡΡ Π²ΡΠ΅ΠΌΠ΅Π½Π½ΡΡ Π·Π°ΡΡΠ°Ρ. ΠΠ»Ρ ΠΊΠ°ΠΆΠ΄ΠΎΠΉ ΡΠ°Π±ΠΎΡΡ ΠΎΠΏΡΠ΅Π΄Π΅Π»ΡΡΡΡΡ ΠΎΠΏΡΠΈΠΌΠ°Π»ΡΠ½ΡΠ΅ ΡΡΠΎΠΊΠΈ. ΠΠ°ΠΏΡΠΈΠΌΠ΅Ρ, ΠΏΠΎΠΌΠΎΡΡ Ρ ΠΊΡΡΡΠΎΠ²ΠΎΠΉ ΡΠ°Π±ΠΎΡΠΎΠΉ β 5-7 Π΄Π½Π΅ΠΉ. Π‘ΠΎΠΎΠ±ΡΠΈΡΠ΅ Π½Π°ΠΌ Π²Π°ΡΠΈ ΡΡΠΎΠΊΠΈ, ΠΈ ΠΌΡ Π²ΡΠΏΠΎΠ»Π½ΠΈΠΌ ΡΠ°Π±ΠΎΡΡ Π½Π΅ ΠΏΠΎΠ·Π΄Π½Π΅Π΅ ΡΠΊΠ°Π·Π°Π½Π½ΠΎΠΉ Π΄Π°ΡΡ. P.S.: Π½Π°ΡΠΈ ΡΠΊΡΠΏΠ΅ΡΡΡ Π²ΡΠ΅Π³Π΄Π° ΡΡΠ°ΡΠ°ΡΡΡΡ Π²ΡΠΏΠΎΠ»Π½ΠΈΡΡ ΡΠ°Π±ΠΎΡΡ ΡΠ°Π½ΡΡΠ΅ ΡΡΠΎΠΊΠ°.
3. ΠΡΠΏΠΎΠ»Π½ΡΠ΅ΡΠ΅ Π»ΠΈ Π²Ρ ΡΡΠΎΡΠ½ΡΠ΅ Π·Π°ΠΊΠ°Π·Ρ?
ΠΠ°, Ρ Π½Π°Ρ Π±ΠΎΠ»ΡΡΠΎΠΉ ΠΎΠΏΡΡ Π²ΡΠΏΠΎΠ»Π½Π΅Π½ΠΈΡ ΡΡΠΎΡΠ½ΡΡ Π·Π°ΠΊΠ°Π·ΠΎΠ².
4. ΠΡΠ»ΠΈ ΠΏΠΎΡΡΠ΅Π±ΡΠ΅ΡΡΡ Π΄ΠΎΡΠ°Π±ΠΎΡΠΊΠ° ΠΈΠ»ΠΈ Π΄ΠΎΠΏΠΎΠ»Π½ΠΈΡΠ΅Π»ΡΠ½Π°Ρ ΠΊΠΎΠ½ΡΡΠ»ΡΡΠ°ΡΠΈΡ, ΡΡΠΎ Π±Π΅ΡΠΏΠ»Π°ΡΠ½ΠΎ?
ΠΠ°, Π΄ΠΎΡΠ°Π±ΠΎΡΠΊΠΈ ΠΈ ΠΊΠΎΠ½ΡΡΠ»ΡΡΠ°ΡΠΈΠΈ Π² ΡΠ°ΠΌΠΊΠ°Ρ
Π·Π°ΠΊΠ°Π·Π° Π±Π΅ΡΠΏΠ»Π°ΡΠ½Ρ, ΠΈ Π²ΡΠΏΠΎΠ»Π½ΡΡΡΡΡ Π² ΠΌΠ°ΠΊΡΠΈΠΌΠ°Π»ΡΠ½ΠΎ ΠΊΠΎΡΠΎΡΠΊΠΈΠ΅ ΡΡΠΎΠΊΠΈ.
5. Π― ΡΠ°Π·ΠΌΠ΅ΡΡΠΈΠ» Π·Π°ΠΊΠ°Π·. ΠΠΎΠ³Ρ Π»ΠΈ Ρ Π½Π΅ ΠΏΠ»Π°ΡΠΈΡΡ, Π΅ΡΠ»ΠΈ ΠΌΠ΅Π½Ρ Π½Π΅ ΡΡΡΡΠΎΠΈΡ ΡΡΠΎΠΈΠΌΠΎΡΡΡ?
ΠΠ°, ΠΊΠΎΠ½Π΅ΡΠ½ΠΎ – ΠΎΡΠ΅Π½ΠΊΠ° ΡΡΠΎΠΈΠΌΠΎΡΡΠΈ Π±Π΅ΡΠΏΠ»Π°ΡΠ½Π° ΠΈ Π½ΠΈ ΠΊ ΡΠ΅ΠΌΡ Π²Π°Ρ Π½Π΅ ΠΎΠ±ΡΠ·ΡΠ²Π°Π΅Ρ.
6. ΠΠ°ΠΊΠΈΠΌ ΡΠΏΠΎΡΠΎΠ±ΠΎΠΌ ΠΌΠΎΠΆΠ½ΠΎ ΠΏΡΠΎΠΈΠ·Π²Π΅ΡΡΠΈ ΠΎΠΏΠ»Π°ΡΡ?
Π Π°Π±ΠΎΡΡ ΠΌΠΎΠΆΠ½ΠΎ ΠΎΠΏΠ»Π°ΡΠΈΡΡ ΠΌΠ½ΠΎΠΆΠ΅ΡΡΠ²ΠΎΠΌ ΡΠΏΠΎΡΠΎΠ±ΠΎΠΌ: ΠΊΠ°ΡΡΠΎΠΉ Visa / MasterCard, Ρ Π±Π°Π»Π°Π½ΡΠ° ΠΌΠΎΠ±ΠΈΠ»ΡΠ½ΠΎΠ³ΠΎ, Π² ΡΠ΅ΡΠΌΠΈΠ½Π°Π»Π΅, Π² ΡΠ°Π»ΠΎΠ½Π°Ρ ΠΠ²ΡΠΎΡΠ΅ΡΡ / Π‘Π²ΡΠ·Π½ΠΎΠΉ, ΡΠ΅ΡΠ΅Π· Π‘Π±Π΅ΡΠ±Π°Π½ΠΊ ΠΈ Ρ.Π΄.
7. ΠΡΠ΅Π΄ΠΎΡΡΠ°Π²Π»ΡΠ΅ΡΠ΅ Π»ΠΈ Π²Ρ Π³Π°ΡΠ°Π½ΡΠΈΠΈ Π½Π° ΡΡΠ»ΡΠ³ΠΈ?
ΠΠ° Π²ΡΠ΅ Π²ΠΈΠ΄Ρ ΡΡΠ»ΡΠ³ ΠΌΡ Π΄Π°Π΅ΠΌ Π³Π°ΡΠ°Π½ΡΠΈΡ. ΠΡΠ»ΠΈ ΡΠΊΡΠΏΠ΅ΡΡ Π½Π΅ ΡΠΏΡΠ°Π²ΠΈΡΡΡ β ΠΌΡ Π²Π΅ΡΠ½ΡΠΌ 100% ΡΡΠΌΠΌΡ.
8. ΠΠ°ΠΊΠΎΠΉ Ρ Π²Π°Ρ ΡΠ΅ΠΆΠΈΠΌ ΡΠ°Π±ΠΎΡΡ?
ΠΡ ΠΏΡΠΈΠ½ΠΈΠΌΠ°Π΅ΠΌ Π·Π°ΡΠ²ΠΊΠΈ 7 Π΄Π½Π΅ΠΉ Π² Π½Π΅Π΄Π΅Π»Ρ, 24 ΡΠ°ΡΠ° Π² ΡΡΡΠΊΠΈ.
ΠΈΠ»ΠΈ
ΠΠ°Π΄Π°ΡΡ Π²ΠΎΠΏΡΠΎΡ
Π’ΠΈΠΏ ΡΠ°Π±ΠΎΡΡΠΡΠ±Π΅ΡΠΈΡΠ΅ ΡΠΈΠΏ ΡΠ°Π±ΠΎΡΡΠΠΎΠ½ΡΡΠΎΠ»ΡΠ½Π°ΡΠ Π΅ΡΠ΅Π½ΠΈΠ΅ Π·Π°Π΄Π°ΡΠΡΡΡΠΎΠ²Π°ΡΠ Π΅ΡΠ΅ΡΠ°ΡΠΠ½Π»Π°ΠΉΠ½-ΠΏΠΎΠΌΠΎΡΡΠ’Π΅ΡΡ Π΄ΠΈΡΡΠ°Π½ΡΠΈΠΎΠ½Π½ΠΎΠΠΈΠΏΠ»ΠΎΠΌΠΠ°Π±ΠΎΡΠ°ΡΠΎΡΠ½Π°ΡΠ§Π΅ΡΡΠ΅ΠΆΠΡΡΠ΅Ρ ΠΏΠΎ ΠΏΡΠ°ΠΊΡΠΈΠΊΠ΅ΠΡΡΠ΅ΠΡΠ²Π΅ΡΡ Π½Π° Π±ΠΈΠ»Π΅ΡΡΠΡΠ΅Π·Π΅Π½ΡΠ°ΡΠΈΡΠΠ΅ΡΠ΅Π²ΠΎΠ΄ Ρ ΠΈΠ½.
ΡΠ·ΡΠΊΠ°ΠΠΎΠΊΠ»Π°Π΄Π‘ΡΠ°ΡΡΡΠ‘ΠΎΡΠΈΠ½Π΅Π½ΠΈΠ΅ΠΠ°Π³ΠΈΡΡΠ΅ΡΡΠΊΠ°Ρ Π΄ΠΈΡΡΠ΅ΡΡΠ°ΡΠΈΡΠΠ°Π½Π΄ΠΈΠ΄Π°ΡΡΠΊΠ°Ρ Π΄ΠΈΡΡΠ΅ΡΡΠ°ΡΠΈΡΠΠΈΠ·Π½Π΅Ρ-ΠΏΠ»Π°Π½ΠΠΎΠ΄Π±ΠΎΡ Π»ΠΈΡΠ΅ΡΠ°ΡΡΡΡΠ¨ΠΏΠ°ΡΠ³Π°Π»ΠΊΠ°ΠΠΎΠΈΡΠΊ ΠΈΠ½ΡΠΎΡΠΌΠ°ΡΠΈΠΈΠ Π΅ΡΠ΅Π½Π·ΠΈΡΠΡΡΠ³ΠΎΠ΅
Π‘ΠΎΠ΄Π΅ΡΠΆΠ°Π½ΠΈΠ΅
Π‘ΠΎΠ΄Π΅ΡΠΆΠ°Π½ΠΈΠ΅Π‘ΠΠΠΠ ΠΠΠΠΠ
1. ΠΠ²Π΅Π΄Π΅Π½ΠΈΠ΅ Π² ΠΏΠ°ΡΠ°ΠΌΠ΅ΡΡΠΈΡΠ΅ΡΠΊΠΎΠ΅ ΠΏΡΠΎΠ΅ΠΊΡΠΈΡΠΎΠ²Π°Π½ΠΈΠ΅
– ΠΠ²Π΅Π΄Π΅Π½ΠΈΠ΅ Π² Π°Π²ΡΠΎΠΌΠ°ΡΠΈΠ·ΠΈΡΠΎΠ²Π°Π½Π½ΠΎΠ΅ ΠΏΡΠΎΠ΅ΠΊΡΠΈΡΠΎΠ²Π°Π½ΠΈΠ΅ 1-1
-ΠΠ½ΠΆΠ΅Π½Π΅ΡΠ½Π°Ρ Π³ΡΠ°ΡΠΈΠΊΠ° 1-2
-ΠΠΎΠ½ΡΠ΅ΠΏΡΠΈΠΈ ΠΏΠ°ΡΠ°ΠΌΠ΅ΡΡΠΈΡΠ΅ΡΠΊΠΎΠ³ΠΎ ΠΌΠΎΠ΄Π΅Π»ΠΈΡΠΎΠ²Π°Π½ΠΈΡ 1-3
– ΠΠ°ΡΠ°Π»Π»Π΅Π»ΡΠ½ΠΎΠ΅ ΠΏΡΠΎΠ΅ΠΊΡΠΈΡΠΎΠ²Π°Π½ΠΈΠ΅ 1-11
-ΠΠΎΠ½ΡΡΡΡΠΊΡΠΈΠ²Π½ΡΠΉ Π·Π°ΠΌΡΡΠ΅Π» 1-13
-ΠΡΠΎΡΠ΅ΡΡΠΈΠΎΠ½Π°Π»ΡΠ½ΡΠ΅/ΠΈΠ½ΠΆΠ΅Π½Π΅ΡΠ½ΡΠ΅ ΡΠ΅ΠΆΠΈΠΌΡ 1-15
-Π‘Π²ΠΎΠ΄ΠΊΠ° 1-18
-ΠΠΎΠΏΡΠΎΡΡ ΠΈ ΠΎΠ±ΡΡΠΆΠ΄Π΅Π½ΠΈΡ 1-19
2. ΠΠΎΠ»ΡΠ·ΠΎΠ²Π°ΡΠ΅Π»ΡΡΠΊΠΈΠΉ ΠΈΠ½ΡΠ΅ΡΡΠ΅ΠΉΡ Pro/ENGINEER
-Π‘ΡΡΠΎΠΊΠ° ΠΌΠ΅Π½Ρ 2-2
ΠΠ°Π½Π΅Π»Ρ ΠΈΠ½ΡΡΡΡΠΌΠ΅Π½ΡΠΎΠ² Pro/ENGINEERS 2-4
-Π£ΠΏΡΠ°Π²Π»Π΅Π½ΠΈΠ΅ ΡΠ°ΠΉΠ»Π°ΠΌΠΈ 2-6-ΠΠΌΠ΅Π½Π° ΡΠ°ΠΉΠ»ΠΎΠ² 2-6
-ΠΠ°ΠΌΡΡΡ 2-7
-Π Π°Π±ΠΎΡΠΈΠΉ ΠΊΠ°ΡΠ°Π»ΠΎΠ³ 2-7
-ΠΡΠΊΡΡΡΠΈΠ΅ ΠΠ±ΡΠ΅ΠΊΡΠ° 2-7
-Π‘ΠΎΠ·Π΄Π°Π½ΠΈΠ΅ Π½ΠΎΠ²ΠΎΠ³ΠΎ ΠΎΠ±ΡΠ΅ΠΊΡΠ° 2-9
-Π‘ΠΎΡ ΡΠ°Π½Π΅Π½ΠΈΠ΅ ΡΠ°ΠΉΠ»Π° 2-10
-ΠΠΊΡΠΈΠ²Π°ΡΠΈΡ ΠΎΠ±ΡΠ΅ΠΊΡΠ° 2-11– ΠΡΠΎΡΠΌΠΎΡΡ ΠΌΠΎΠ΄Π΅Π»Π΅ΠΉ 2-11
– ΠΠΈΡΠΏΠ»Π΅ΠΉ ΠΌΠΎΠ΄Π΅Π»ΠΈ 2-12
-ΠΡΠΎΡΠΌΠΎΡΡ ΠΎΡΠΈΠ΅Π½ΡΠ°ΡΠΈΠΈ 2-13
-ΠΠ°ΡΡΡΠΎΠΉΠΊΠ° ΠΌΠΎΠ΄Π΅Π»ΠΈ 2-15– ΠΠ»ΠΎΠΊΠΈ 2-15
-ΠΠ°ΡΠ΅ΡΠΈΠ°Π»Ρ 2-17
-ΠΠ°ΡΡΡΠΎΠΉΠΊΠ° Π΄ΠΎΠΏΡΡΠΊΠΎΠ² ΡΠ°Π·ΠΌΠ΅ΡΠΎΠ² 2-19
-ΠΠ΅ΠΎΠΌΠ΅ΡΡΠΈΡΠ΅ΡΠΊΠΈΠ΅ ΡΠ°Π·ΠΌΠ΅ΡΡ ΠΈ Π΄ΠΎΠΏΡΡΠΊΠΈ 2-22
-ΠΠΌΠ΅Π½ΠΎΠ²Π°Π½ΠΈΠ΅ ΡΡΠ½ΠΊΡΠΈΠΉ 2-27– ΠΠΎΠ»ΡΡΠ΅Π½ΠΈΠ΅ ΡΠ²ΠΎΠΉΡΡΠ² ΠΌΠΎΠ΄Π΅Π»ΠΈ 2-27
-ΠΠ΅ΡΠ°ΡΡ Π² Pro/ENGINEER 2-29
-Pro/ENGINEERS ΠΠΊΡΡΠΆΠ°ΡΡΠ°Ρ ΡΡΠ΅Π΄Π° 2-31
-Π€Π°ΠΉΠ»Ρ ΠΊΠΎΠ½ΡΠΈΠ³ΡΡΠ°ΡΠΈΠΈ 2-33
-ΠΠ»ΡΡΠΈ 2-35
-Π‘Π»ΠΎΠΈ 2-36
-ΠΡΠ±ΠΎΡ ΡΡΠ½ΠΊΡΠΈΠΉ ΠΈ ΠΎΠ±ΡΠ΅ΠΊΡΠΎΠ² 2-39
-Π‘Π²ΠΎΠ΄ΠΊΠ° 2-40
Π£ΡΠ΅Π±Π½ΠΎΠ΅ ΠΏΠΎΡΠΎΠ±ΠΈΠ΅ ΠΏΠΎ ΠΈΠ½ΡΠ΅ΡΡΠ΅ΠΉΡΡ -Pro/ENGINEERs 2-41
-ΠΠ°Π΄Π°ΡΠΈ 2-48
-ΠΠΎΠΏΡΠΎΡΡ ΠΈ ΠΎΠ±ΡΡΠΆΠ΄Π΅Π½ΠΈΠ΅ 2-49
3.
Π‘ΠΎΠ·Π΄Π°Π½ΠΈΠ΅ ΡΡΠΊΠΈΠ·Π°
-ΠΡΠ½ΠΎΠ²Ρ ΡΠΈΡΠΎΠ²Π°Π½ΠΈΡ 3-2
– Π£ΡΠ΅Ρ Π·Π°ΠΌΡΡΠ»Π° ΠΏΡΠΎΠ΅ΠΊΡΠ° 3-2
– ΠΠ»Π΅ΠΌΠ΅Π½ΡΡ ΡΡΠΊΠΈΠ·Π° 3-3– Π Π°Π·Π΄Π΅Π» ΠΠ½ΡΡΡΡΠΌΠ΅Π½ΡΡ 3-4
-ΠΠ³ΡΠ°Π½ΠΈΡΠ΅Π½ΠΈΡ 3-7– ΠΠ³ΡΠ°Π½ΠΈΡΠ΅Π½ΠΈΡ Ρ Π΄ΠΈΡΠΏΠ΅ΡΡΠ΅ΡΠΎΠΌ Π½Π°ΠΌΠ΅ΡΠ΅Π½ΠΈΠΉ 3-8
-ΠΠ³ΡΠ°Π½ΠΈΡΠ΅Π½ΠΈΡ Π±Π΅Π· Intent Manager 3-8
-ΠΠ°ΡΠ°ΠΌΠ΅ΡΡΡ ΠΎΠ³ΡΠ°Π½ΠΈΡΠ΅Π½ΠΈΡ 3-9-ΠΠ°ΡΠ°ΠΌΠ΅ΡΡΡ ΠΎΡΠΎΠ±ΡΠ°ΠΆΠ΅Π½ΠΈΡ ΡΡΠΊΠΈΠ·Π° 3-9
-ΠΡΠΏΠΎΠ»ΡΠ·ΠΎΠ²Π°Π½ΠΈΠ΅ ΠΌΡΡΠΈ Π΄Π»Ρ ΡΠΈΡΠΎΠ²Π°Π½ΠΈΡ 3-10
-Π‘ΠΊΠ΅ΡΡΠΈΠ½Π³ Ρ Intent Manager 3-11-ΠΠΎΡΡΠ΄ΠΎΠΊ ΠΎΠΏΠ΅ΡΠ°ΡΠΈΠΉ 3-12
-ΠΡΠΊΠΈΠ·Ρ ΠΎΠ±ΡΠ΅ΠΊΡΠΎΠ² 3-13– ΠΠΈΠ½ΠΈΠΈ ΡΡΠΊΠΈΠ·Π° 3-13
-ΠΡΠΊΠΈΠ·Ρ Π΄ΡΠ³ 3-14
-ΠΡΡΠΆΠΊΠΈ Π΄Π»Ρ ΡΠΈΡΠΎΠ²Π°Π½ΠΈΡ 3-15
-ΠΠ°Π±ΡΠΎΡΠΎΠΊ ΠΏΡΡΠΌΠΎΡΠ³ΠΎΠ»ΡΠ½ΠΈΠΊΠ° 3-16
-Π¨Π»ΠΈΡΡ 3-16
-Π‘ΠΊΠ΅ΡΡΠΈΠ½Π³ ΡΠ΅ΠΊΡΡΠ° 3-17
-ΠΡΡ Π’ΠΎΡΠΊΠ° 3-17
– ΠΠ»Π»ΠΈΠΏΡΠΈΡΠ΅ΡΠΊΠΎΠ΅ ΡΠΊΡΡΠ³Π»Π΅Π½ΠΈΠ΅ 3-17– Π‘ΠΎΠ·Π΄Π°Π½ΠΈΠ΅ ΡΡΠΊΠΈΠ·Π° Π±Π΅Π· Intent Manager 3-18
– Π‘Ρ ΠΎΠΆΠ΄Π΅Π½ΠΈΠ΅ 3-18
-ΠΠΎΡΡΠ΄ΠΎΠΊ ΠΎΠΏΠ΅ΡΠ°ΡΠΈΠΉ 3-19-Π Π°Π·ΠΌΠ΅ΡΡ 3-20
– ΠΠΈΠ½Π΅ΠΉΠ½ΡΠ΅ ΡΠ°Π·ΠΌΠ΅ΡΡ 3-20
– Π Π°Π΄ΠΈΠ°Π»ΡΠ½ΡΠ΅ ΡΠ°Π·ΠΌΠ΅ΡΡ 3-21
-Π£Π³Π»ΠΎΠ²ΡΠ΅ ΡΠ°Π·ΠΌΠ΅ΡΡ 3-22
-Π Π°Π·ΠΌΠ΅ΡΡ ΠΏΠΎ ΠΏΠ΅ΡΠΈΠΌΠ΅ΡΡΡ 3-23
-ΠΡΠ΄ΠΈΠ½Π°ΡΠ½ΡΠ΅ ΡΠ°Π·ΠΌΠ΅ΡΡ 3-23
-Π‘ΠΏΡΠ°Π²ΠΎΡΠ½ΡΠ΅ ΡΠ°Π·ΠΌΠ΅ΡΡ 3-24
-ΠΠ·ΠΌΠ΅Π½Π΅Π½ΠΈΠ΅ ΡΠ°Π·ΠΌΠ΅ΡΠΎΠ² 3-24– Π‘ΠΊΠ΅ΡΡΠ΅Ρ ΠΡΠ½ΠΎΡΠ΅Π½ΠΈΡ 3-25
-ΠΠ΅ΠΎΠΌΠ΅ΡΡΠΈΡΠ΅ΡΠΊΠΈΠ΅ ΠΈΠ½ΡΡΡΡΠΌΠ΅Π½ΡΡ 3-27
-Π‘Π²ΠΎΠ΄ΠΊΠ° 3-29
– Π£ΡΠ΅Π±Π½ΠΈΠΊ ΠΏΠΎ Sketcher 1 (Π±Π΅Π· Intent Manager) 3-30
-Sketcher Tutorial 2 (Ρ Intent Manager) 3-37
-Π‘ΠΊΠ΅ΡΡΠ΅Ρ Π£ΡΠ΅Π±Π½ΠΈΠΊ 3 3-43
-ΠΠ°Π΄Π°ΡΠΈ 3-50
-ΠΠΎΠΏΡΠΎΡΡ ΠΈ ΠΎΠ±ΡΡΠΆΠ΄Π΅Π½ΠΈΠ΅ 3-51
4.
ΠΡΠ΄Π°Π²Π»ΠΈΠ²Π°Π½ΠΈΠ΅, ΠΈΠ·ΠΌΠ΅Π½Π΅Π½ΠΈΠ΅ ΠΈ ΠΏΠ΅ΡΠ΅ΠΎΠΏΡΠ΅Π΄Π΅Π»Π΅Π½ΠΈΠ΅ ΡΠ»Π΅ΠΌΠ΅Π½ΡΠΎΠ²
– ΠΠΎΠ΄Π΅Π»ΠΈΡΠΎΠ²Π°Π½ΠΈΠ΅ Π½Π° ΠΎΡΠ½ΠΎΠ²Π΅ ΠΏΡΠΈΠ·Π½Π°ΠΊΠΎΠ² 4-2
– ΠΡΠ½ΠΎΡΠ΅Π½ΠΈΡ ΠΌΠ΅ΠΆΠ΄Ρ ΡΠΎΠ΄ΠΈΡΠ΅Π»ΡΠΌΠΈ ΠΈ Π΄Π΅ΡΡΠΌΠΈ 4-2
-ΠΠ΅ΡΠ²Π°Ρ ΠΎΡΠΎΠ±Π΅Π½Π½ΠΎΡΡΡ 4-3
-ΠΡΠ°ΠΏΡ ΡΠΎΠ·Π΄Π°Π½ΠΈΡ Π½ΠΎΠ²ΠΎΠΉ Π΄Π΅ΡΠ°Π»ΠΈ 4-4
-ΠΡΡΡΡΠΏΡ, Π²ΡΡΠ΅Π·Ρ ΠΈ ΠΏΡΠΎΡΠ΅Π·ΠΈ 4-6
-Π’Π²Π΅ΡΠ΄ΡΠ΅ ΠΈ ΡΠΎΠ½ΠΊΠΈΠ΅ ΡΠ»Π΅ΠΌΠ΅Π½ΡΡ 4-7
-ΠΡΠ΄Π°Π²Π»Π΅Π½Π½ΡΠ΅ ΡΠ»Π΅ΠΌΠ΅Π½ΡΡ 4-9– ΠΠ°ΠΏΡΠ°Π²Π»Π΅Π½ΠΈΠ΅ Π²ΡΠ΄Π°Π²Π»ΠΈΠ²Π°Π½ΠΈΡ 4-9
-ΠΠ°ΡΠ°ΠΌΠ΅ΡΡΡ Π³Π»ΡΠ±ΠΈΠ½Ρ 4-10
-ΠΡΠΊΡΡΡΡΠ΅ ΠΈ Π·Π°ΠΊΡΡΡΡΠ΅ ΡΠ΅ΠΊΡΠΈΠΈ Π² ΠΏΡΠΎΡΠΈΠ»ΡΡ 4-12
-ΠΠ°ΡΠ΅ΡΠΈΠ°Π»ΡΠ½Π°Ρ ΡΡΠΎΡΠΎΠ½Π° 4-13– Π‘ΠΎΠ·Π΄Π°Π½ΠΈΠ΅ Π²ΡΡΡΠ½ΡΡΡΡ ΡΠ»Π΅ΠΌΠ΅Π½ΡΠΎΠ² 4-13
– ΠΠ°Π·ΠΎΠ²ΡΠ΅ ΠΏΠ»ΠΎΡΠΊΠΎΡΡΠΈ 4-16-Π‘ΠΎΠ·Π΄Π°Π½ΠΈΠ΅ ΠΎΠΏΠΎΡΠ½ΡΡ ΠΏΠ»ΠΎΡΠΊΠΎΡΡΠ΅ΠΉ Pro/ENGINEER ΠΏΠΎ ΡΠΌΠΎΠ»ΡΠ°Π½ΠΈΡ 4-17
-Π‘ΠΎΠ·Π΄Π°Π½ΠΈΠ΅ Π±Π°Π·ΠΎΠ²ΡΡ ΠΏΠ»ΠΎΡΠΊΠΎΡΡΠ΅ΠΉ 4-18
-ΠΡΠ°ΠΏΡ ΡΠΎΠ·Π΄Π°Π½ΠΈΡ Π±Π°Π·ΠΎΠ²ΠΎΠΉ ΠΏΠ»ΠΎΡΠΊΠΎΡΡΠΈ 4-20
– ΠΠΏΠΎΡΠ½ΡΠ΅ ΠΏΠ»ΠΎΡΠΊΠΎΡΡΠΈ “Π½Π° Π»Π΅ΡΡ” 4-21– ΠΠ·ΠΌΠ΅Π½Π΅Π½ΠΈΠ΅ ΡΡΠ½ΠΊΡΠΈΠΉ 4-21
– ΠΠ·ΠΌΠ΅Π½Π΅Π½ΠΈΠ΅ ΡΠ°Π·ΠΌΠ΅ΡΠ° 4-22
– ΠΠΎΠ΄ΠΈΡΠΈΠΊΠ°ΡΠΈΡ Cosmetic Dimension 4-23– ΠΠ΅ΡΠ΅ΠΎΠΏΡΠ΅Π΄Π΅Π»Π΅Π½ΠΈΠ΅ ΡΡΠ½ΠΊΡΠΈΠΉ 4-24
-Π‘Π²ΠΎΠ΄ΠΊΠ° 4-25
Π£ΡΠ΅Π±Π½ΠΎΠ΅ ΡΠΏΡΠ°ΠΆΠ½Π΅Π½ΠΈΠ΅ ΠΏΠΎ Π²ΡΠ΄Π°Π²Π»ΠΈΠ²Π°Π½ΠΈΡ 4-26
– ΠΠ°Π·ΠΎΠ²Π°Ρ ΠΏΠ»ΠΎΡΠΊΠΎΡΡΡ Π£ΡΠ΅Π±Π½ΠΈΠΊ 4-57
-ΠΠ°Π΄Π°ΡΠΈ 4-65
-ΠΠΎΠΏΡΠΎΡΡ ΠΈ ΠΎΠ±ΡΡΠΆΠ΄Π΅Π½ΠΈΡ 4-67
5.
ΠΠ½ΡΡΡΡΠΌΠ΅Π½ΡΡ Π΄Π»Ρ ΡΠΎΠ·Π΄Π°Π½ΠΈΡ ΡΠ»Π΅ΠΌΠ΅Π½ΡΠΎΠ²
– ΠΠ°ΡΠΈΠ°Π½Ρ ΠΎΡΠ²Π΅ΡΡΡΠΈΡ 5-1
– ΠΠ°ΡΠΈΠ°Π½ΡΡ Π³Π»ΡΠ±ΠΈΠ½Ρ ΠΎΡΠ²Π΅ΡΡΡΠΈΡ 5-3
-Π‘ΠΎΠ·Π΄Π°Π½ΠΈΠ΅ Π»ΠΈΠ½Π΅ΠΉΠ½ΠΎΠ³ΠΎ ΠΎΡΠ²Π΅ΡΡΡΠΈΡ 5-4
-Π‘ΠΎΠ·Π΄Π°Π½ΠΈΠ΅ Π»ΠΈΠ½Π΅ΠΉΠ½ΠΎΠ³ΠΎ ΠΎΡΠ²Π΅ΡΡΡΠΈΡ 5-5– Π Π°ΡΠ½Π΄Ρ 5-6
-Π€Π°ΡΠΊΠ° 5-8
-Π§Π΅ΡΠ½ΠΎΠ²ΠΈΠΊ 5-9– ΠΡΠ°Π΄ΠΊΠΈ Π½Π΅ΠΉΡΡΠ°Π»ΡΠ½ΠΎΠΉ ΠΏΠ»ΠΎΡΠΊΠΎΡΡΠΈ 5-10
-Π‘ΠΎΠ·Π΄Π°Π½ΠΈΠ΅ Π½Π΅ΠΉΡΡΠ°Π»ΡΠ½ΠΎΠΉ ΠΏΠ»ΠΎΡΠΊΠΎΡΡΠΈ ΠΠ΅Π· ΡΠ°Π·Π΄Π΅Π»Π΅Π½ΠΈΡ ΡΠΊΠ»ΠΎΠ½Π° 5-11
-Π‘ΠΎΠ·Π΄Π°Π½ΠΈΠ΅ ΡΠ°Π·Π΄Π΅Π»Π΅Π½Π½ΠΎΠ³ΠΎ ΡΠΊΠ»ΠΎΠ½Π° Π½Π΅ΠΉΡΡΠ°Π»ΡΠ½ΠΎΠΉ ΠΏΠ»ΠΎΡΠΊΠΎΡΡΠΈ 5-13
– ΠΠ΅ΠΉΡΡΠ°Π»ΡΠ½ΡΠ΅ ΠΊΡΠΈΠ²ΡΠ΅ ΡΠ΅ΡΠ½ΠΎΠ²ΠΈΠΊΠΈ 5-14
-Π‘ΠΎΠ·Π΄Π°Π½ΠΈΠ΅ ΡΠΊΠ»ΠΎΠ½Π° Π½Π΅ΠΉΡΡΠ°Π»ΡΠ½ΠΎΠΉ ΠΊΡΠΈΠ²ΠΎΠΉ 5-15– ΠΠ΅ΡΠ°Π»ΠΈ ΠΊΠΎΡΠΏΡΡΠ° 5-17
-Π Π΅Π±ΡΠ° 5-18
-ΠΠΎΡΠΌΠ΅ΡΠΈΡΠ΅ΡΠΊΠΈΠ΅ ΡΡΠ½ΠΊΡΠΈΠΈ 5-21
– Π£Π·ΠΎΡΡΠ°ΡΡΠ΅ ΡΠ»Π΅ΠΌΠ΅Π½ΡΡ 5-24– ΠΠ°ΡΠ΅Π³ΠΎΡΠΈΠΈ ΡΠ°Π±Π»ΠΎΠ½ΠΎΠ² 5-24
-Π Π°Π·Π»ΠΈΡΠ½ΡΠ΅ ΡΠ°Π·ΠΌΠ΅ΡΡ 5-25
-Π‘ΠΎΠ·Π΄Π°Π½ΠΈΠ΅ Π»ΠΈΠ½Π΅ΠΉΠ½ΠΎΠ³ΠΎ ΠΌΠ°ΡΡΠΈΠ²Π° 5-25-Π‘Π²ΠΎΠ΄ΠΊΠ° 5-28
– Π£ΡΠ΅Π±Π½ΠΎΠ΅ ΡΠΏΡΠ°ΠΆΠ½Π΅Π½ΠΈΠ΅ ΠΏΠΎ ΡΡΠ½ΠΊΡΠΈΡΠΌ 1 5-29
– Π£ΡΠ΅Π±Π½ΠΎΠ΅ ΡΠΏΡΠ°ΠΆΠ½Π΅Π½ΠΈΠ΅ ΠΏΠΎ ΡΡΠ½ΠΊΡΠΈΡΠΌ 2 5-46
-ΠΠ°Π΄Π°ΡΠΈ 5-65
-ΠΠΎΠΏΡΠΎΡΡ ΠΈ ΠΎΠ±ΡΡΠΆΠ΄Π΅Π½ΠΈΠ΅ 5-66
6.
ΠΡΠ°ΡΠ°ΡΡΠΈΠ΅ΡΡ ΡΠ»Π΅ΠΌΠ΅Π½ΡΡ
– ΠΡΠ½ΠΎΠ²Ρ Π²ΡΠ°ΡΠ°ΡΡΠΈΡ ΡΡ ΡΠ»Π΅ΠΌΠ΅Π½ΡΠΎΠ² 6-1
-ΠΡΠ°ΡΠ΅Π½Π½ΡΠ΅ Π²ΡΡΡΡΠΏΡ, Π²ΡΡΠ΅Π·Ρ ΠΈ ΠΏΠ°Π·Ρ 6-3– ΠΠ°ΡΠ°ΠΌΠ΅ΡΡΡ Π²ΡΠ°ΡΠ°ΡΡΠΈΡ ΡΡ ΡΠ»Π΅ΠΌΠ΅Π½ΡΠΎΠ² 6-3
-Π‘ΠΎΠ·Π΄Π°Π½ΠΈΠ΅ ΠΊΡΡΠ³ΠΎΠ²ΠΎΠ³ΠΎ Π²ΡΡΡΡΠΏΠ° 6-4– ΠΠ°ΡΠΈΠ°Π½ΡΡ Π²ΡΠ°ΡΠ°ΡΡΠΈΡ ΡΡ ΠΎΡΠ²Π΅ΡΡΡΠΈΠΉ 6-6
– ΠΡΠΊΠΈΠ· ΠΎΡΠ²Π΅ΡΡΡΠΈΠΉ 6-6
-Π Π°Π·ΠΌΠ΅ΡΠ΅Π½ΠΈΠ΅ ΡΠ°Π΄ΠΈΠ°Π»ΡΠ½ΡΡ ΠΎΡΠ²Π΅ΡΡΡΠΈΠΉ 6-8– ΠΠΏΡΠΈΡ Π²Π°Π»Π° 6-11
– ΠΠ°ΡΠΈΠ°Π½ΡΡ ΡΠ»Π°Π½ΡΠ° ΠΈ Π³ΠΎΡΠ»ΠΎΠ²ΠΈΠ½Ρ 6-11
– Π¨Π°Π±Π»ΠΎΠ½Ρ Π²ΡΠ°ΡΠ΅Π½ΠΈΡ 6-13
-Π‘ΠΎΠ·Π΄Π°Π½ΠΈΠ΅ ΡΠ°Π±Π»ΠΎΠ½Π° 6-14
– ΠΠ°Π·ΠΎΠ²ΡΠ΅ ΠΎΡΠΈ 6-15
-Π‘Π²ΠΎΠ΄ΠΊΠ° 6-17
-Revolved Π£ΡΠ΅Π±Π½ΠΈΠΊ 6-18
– ΠΠ°Π» Π£ΡΠ΅Π±Π½ΠΈΠΊ 6-31
-ΠΠ°Π΄Π°ΡΠΈ 6-40
-ΠΠΎΠΏΡΠΎΡΡ ΠΈ ΠΎΠ±ΡΡΠΆΠ΄Π΅Π½ΠΈΡ 6-41
7. ΠΠ½ΡΡΡΡΠΌΠ΅Π½ΡΡ Π΄Π»Ρ ΡΠ°Π±ΠΎΡΡ Ρ ΡΠ»Π΅ΠΌΠ΅Π½ΡΠ°ΠΌΠΈ
– Π€ΡΠ½ΠΊΡΠΈΠΈ Π³ΡΡΠΏΠΏΠΈΡΠΎΠ²ΠΊΠΈ 7-2
-ΠΡΡΠΏΠΏΠΎΠ²ΠΎΠ΅ ΠΌΠ΅Π½Ρ 7-2
-ΠΡΡΠΏΠΏΠΎΠ²ΡΠ΅ ΡΠΈΠΏΡ 7-3
-ΠΡΠΊΡΠΎΠΉΠΊΠ° Π³ΡΡΠΏΠΏΡ 7-4-Π€ΡΠ½ΠΊΡΠΈΠΈ ΠΊΠΎΠΏΠΈΡΠΎΠ²Π°Π½ΠΈΡ 7-6
– ΠΠΏΡΠΈΠΈ ΠΊΠΎΠΏΠΈΡΠΎΠ²Π°Π½ΠΈΡ 7-6
-ΠΠ΅Π·Π°Π²ΠΈΡΠΈΠΌΡΠΉ ΠΏΡΠΎΡΠΈΠ² Π·Π°Π²ΠΈΡΠΈΠΌΠΎΠ³ΠΎ 7-7
-ΠΡΠ±ΠΎΡ ΠΌΠΎΠ΄Π΅Π»ΠΈ 7-7
-Π€ΡΠ½ΠΊΡΠΈΠΈ Π·Π΅ΡΠΊΠ°Π»ΡΠ½ΠΎΠ³ΠΎ ΠΎΡΠΎΠ±ΡΠ°ΠΆΠ΅Π½ΠΈΡ 7-8
-ΠΡΠ°ΡΠ°ΡΡΠΈΠ΅ΡΡ ΡΠ»Π΅ΠΌΠ΅Π½ΡΡ 7-9
-ΠΠ΅ΡΠ΅Π²Π΅Π΄Π΅Π½Π½ΡΠ΅ ΡΡΠ½ΠΊΡΠΈΠΈ 7-10
-ΠΠΎΠΏΠΈΡΠΎΠ²Π°Π½ΠΈΠ΅ Ρ Π½ΠΎΠ²ΡΠΌΠΈ ΡΡΡΠ»ΠΊΠ°ΠΌΠΈ 7-11– ΠΠΏΡΠΈΡ Π·Π΅ΡΠΊΠ°Π»ΡΠ½ΠΎΠΉ Π³Π΅ΠΎΠΌΠ΅ΡΡΠΈΠΈ 7-13
-ΠΠΏΡΠ΅Π΄Π΅Π»ΡΠ΅ΠΌΡΠ΅ ΠΏΠΎΠ»ΡΠ·ΠΎΠ²Π°ΡΠ΅Π»Π΅ΠΌ ΡΡΠ½ΠΊΡΠΈΠΈ 7-13-ΠΠ΅Π½Ρ UDF 7-13
-Π‘ΠΎΠ·Π΄Π°Π½ΠΈΠ΅ ΠΎΠΏΡΠ΅Π΄Π΅Π»ΡΠ΅ΠΌΠΎΠΉ ΠΏΠΎΠ»ΡΠ·ΠΎΠ²Π°ΡΠ΅Π»Π΅ΠΌ ΡΡΠ½ΠΊΡΠΈΠΈ 7-14
– Π Π°Π·ΠΌΠ΅ΡΠ΅Π½ΠΈΠ΅ ΠΏΠΎΠ»ΡΠ·ΠΎΠ²Π°ΡΠ΅Π»ΡΡΠΊΠΎΠ³ΠΎ ΡΠ»Π΅ΠΌΠ΅Π½ΡΠ° 7-16– ΠΡΠ½ΠΎΡΠ΅Π½ΠΈΡ 7-18
– Π£ΡΠ»ΠΎΠ²Π½ΡΠ΅ ΠΎΠΏΠ΅ΡΠ°ΡΠΎΡΡ 7-20
-ΠΠΎΠ±Π°Π²Π»Π΅Π½ΠΈΠ΅ ΠΈ ΡΠ΅Π΄Π°ΠΊΡΠΈΡΠΎΠ²Π°Π½ΠΈΠ΅ Π²Π·Π°ΠΈΠΌΠΎΡΠ²ΡΠ·Π΅ΠΉ 7-21– Π‘Π΅ΠΌΠ΅ΠΉΠ½ΡΠ΅ ΡΡΠΎΠ»Ρ 7-21
– ΠΠΎΠ±Π°Π²Π»Π΅Π½ΠΈΠ΅ ΡΠ»Π΅ΠΌΠ΅Π½ΡΠΎΠ² Π² ΡΠ΅ΠΌΠ΅ΠΉΠ½ΡΡ ΡΠ°Π±Π»ΠΈΡΡ 7-22
-Π‘ΠΎΠ·Π΄Π°Π½ΠΈΠ΅ ΡΠ΅ΠΌΠ΅ΠΉΠ½ΠΎΠΉ ΡΠ°Π±Π»ΠΈΡΡ 7-23– ΠΠΎΠΏΠ΅ΡΠ΅ΡΠ½ΡΠ΅ ΡΠ΅ΡΠ΅Π½ΠΈΡ 7-27
– ΠΠ·ΠΌΠ΅Π½Π΅Π½ΠΈΠ΅ ΠΏΠΎΠΏΠ΅ΡΠ΅ΡΠ½ΡΡ ΡΠ΅ΡΠ΅Π½ΠΈΠΉ 7-27
-Π‘ΠΎΠ·Π΄Π°Π½ΠΈΠ΅ ΠΏΠ»ΠΎΡΠΊΠΎΠ³ΠΎ ΠΏΠΎΠΏΠ΅ΡΠ΅ΡΠ½ΠΎΠ³ΠΎ ΡΠ΅ΡΠ΅Π½ΠΈΡ 7-28
-Π‘ΠΎΠ·Π΄Π°Π½ΠΈΠ΅ ΠΏΠΎΠΏΠ΅ΡΠ΅ΡΠ½ΡΡ ΡΠ΅ΡΠ΅Π½ΠΈΠΉ ΡΠΎ ΡΠΌΠ΅ΡΠ΅Π½ΠΈΠ΅ΠΌ 7-28ΠΠΎΠ΄Π΅Π»Ρ Π΄Π΅ΡΠ΅Π²Π° 7-30
– Π€ΡΠ½ΠΊΡΠΈΠΈ ΠΏΠΎΠ΄Π°Π²Π»Π΅Π½ΠΈΡ 7-30
– ΠΡΡΠ°Π²ΠΊΠ° ΡΡΠ½ΠΊΡΠΈΠΉ 7-30
-ΠΠ΅ΡΠ΅ΡΠΏΠΎΡΡΠ΄ΠΎΡΠΈΠ²Π°Π½ΠΈΠ΅ ΡΡΠ½ΠΊΡΠΈΠΉ 7-31
– Π€ΡΠ½ΠΊΡΠΈΠΈ ΠΏΠ΅ΡΠ΅ΠΌΠ°ΡΡΡΡΡΠΈΠ·Π°ΡΠΈΠΈ 7-32– Π€ΡΠ½ΠΊΡΠΈΠΈ ΡΠ΅Π³Π΅Π½Π΅ΡΠ°ΡΠΈΠΈ 7-34
– ΠΡΠΈΠ±ΠΊΠΈ ΡΠ΅Π³Π΅Π½Π΅ΡΠ°ΡΠΈΠΈ 7-34
– Π£ΠΏΡΠΎΡΠ΅Π½Π½ΡΠ΅ ΠΏΡΠ΅Π΄ΡΡΠ°Π²Π»Π΅Π½ΠΈΡ ΡΠ»Π΅ΠΌΠ΅Π½ΡΠΎΠ² 7-35
-Π‘Π²ΠΎΠ΄ΠΊΠ° 7-37
-Π£ΡΠ΅Π±Π½ΠΈΠΊ ΠΏΠΎ ΠΌΠ°Π½ΠΈΠΏΡΠ»ΠΈΡΠΎΠ²Π°Π½ΠΈΡ 1 7-38
-Π£ΡΠ΅Π±Π½ΠΈΠΊ ΠΏΠΎ ΠΌΠ°Π½ΠΈΠΏΡΠ»ΠΈΡΠΎΠ²Π°Π½ΠΈΡ 2 7-47
-ΠΠ°Π΄Π°ΡΠΈ 7-58
-ΠΠΎΠΏΡΠΎΡΡ ΠΈ ΠΎΠ±ΡΡΠΆΠ΄Π΅Π½ΠΈΠ΅ 7-61
8.
Π‘ΠΎΠ·Π΄Π°Π½ΠΈΠ΅ ΡΠ΅ΡΡΠ΅ΠΆΠ° Pro/Engineer
-ΠΡΠ½ΠΎΠ²Ρ ΡΠΈΡΠΎΠ²Π°Π½ΠΈΡ 8-2
-Π€Π°ΠΉΠ» Π½Π°ΡΡΡΠΎΠΉΠΊΠΈ ΡΠ΅ΡΡΠ΅ΠΆΠ° 8-3
-Π€ΠΎΡΠΌΠ°ΡΡ Π»ΠΈΡΡΠΎΠ² 8-4– ΠΠ·ΠΌΠ΅Π½Π΅Π½ΠΈΠ΅ ΡΠΎΡΠΌΠ°ΡΠΎΠ² 8-5
-Π‘ΠΎΠ·Π΄Π°Π½ΠΈΠ΅ ΡΠΎΡΠΌΠ°ΡΠΎΠ² 8-6-Π‘ΠΎΠ·Π΄Π°Π½ΠΈΠ΅ Π½ΠΎΠ²ΠΎΠ³ΠΎ ΡΠ΅ΡΡΠ΅ΠΆΠ° 8-7
-ΠΠΈΠ΄Ρ ΡΠ΅ΡΡΠ΅ΠΆΠ° 8-8– ΠΠ΅Π½Ρ ΠΏΡΠΎΡΠΌΠΎΡΡΠ° 8-8
-ΠΠΈΠ΄ ΡΠΈΠΏΠΎΠ² 8-10
-ΠΡΠΎΡΠΌΠΎΡΡ Π²ΠΈΠ΄ΠΈΠΌΠΎΡΡΠΈ 8-12ΠΠ΅ΡΠΊΠΎΠ»ΡΠΊΠΎ ΠΌΠΎΠ΄Π΅Π»Π΅ΠΉ 8-13
-Π‘ΠΎΠ·Π΄Π°Π½ΠΈΠ΅ ΡΠ΅ΡΡΠ΅ΠΆΠ½ΡΡ Π²ΠΈΠ΄ΠΎΠ² 8-13
-ΠΠ°ΡΡΡΠΎΠΉΠΊΠ° ΡΠ΅ΠΆΠΈΠΌΠ° ΠΎΡΠΎΠ±ΡΠ°ΠΆΠ΅Π½ΠΈΡ 8-14
-ΠΠΎΠ΄ΡΠΎΠ±Π½ΡΠ΅ ΠΏΡΠΎΡΠΌΠΎΡΡΡ 8-15
-ΠΡΠΎΠ±ΡΠ°ΠΆΠ΅Π½ΠΈΠ΅ ΠΈ ΡΡΠΈΡΠ°Π½ΠΈΠ΅ ΡΠ»Π΅ΠΌΠ΅Π½ΡΠΎΠ² 8-17
-Π Π°Π·ΠΌΠ΅ΡΡ ΠΈ Π΄ΠΎΠΏΡΡΠΊΠΈ 8-20
-Π‘ΠΎΠ·Π΄Π°Π½ΠΈΠ΅ Π·Π°ΠΌΠ΅ΡΠΎΠΊ 8-25
-Π‘ΠΎΠ·Π΄Π°Π½ΠΈΠ΅ ΡΠ°Π±Π»ΠΈΡ ΡΠ΅ΡΡΠ΅ΠΆΠ΅ΠΉ 8-28
-ΠΠ²ΡΠΌΠ΅ΡΠ½ΠΎΠ΅ ΡΠ΅ΡΡΠ΅Π½ΠΈΠ΅ 8-29
-Π‘ΡΠΈΠ»ΠΈ Π»ΠΈΠ½ΠΈΠΉ ΠΈ ΡΡΠΈΡΡΡ 8-32
-Π§Π΅ΡΡΠ΅ΠΆΠ½ΡΠ΅ ΡΠ°Π·ΠΌΠ΅ΡΡ 8-34
-Π§Π΅ΡΡΠ΅ΠΆ ΠΏΠΎΠΏΠ΅ΡΠ΅ΡΠ½ΠΎΠ³ΠΎ ΡΠ΅ΡΠ΅Π½ΠΈΡ 8-34
-Π£ΠΏΡΠ°Π²Π»Π΅Π½ΠΈΠ΅ Π³Π΅ΠΎΠΌΠ΅ΡΡΠΈΠ΅ΠΉ ΡΠΊΠ»ΠΎΠ½Π° 8-35
-ΠΡΠΏΠ»ΡΠ²Π°ΡΡΠ΅Π΅ ΠΌΠ΅Π½Ρ 8-37
-Π‘Π²ΠΎΠ΄ΠΊΠ° 8-38
– Π£ΡΠ΅Π±Π½ΠΈΠΊ ΠΏΠΎ ΡΠΈΡΠΎΠ²Π°Π½ΠΈΡ.Π£ΠΏΡΠ°ΠΆΠ½Π΅Π½ΠΈΠ΅ 1 8-39
– Π£ΡΠ΅Π±Π½ΠΈΠΊ ΠΏΠΎ ΡΠΈΡΠΎΠ²Π°Π½ΠΈΡ. Π£ΠΏΡΠ°ΠΆΠ½Π΅Π½ΠΈΠ΅ 2 8-61
-ΠΠ°Π΄Π°ΡΠΈ 8-86
-ΠΠΎΠΏΡΠΎΡΡ 8-88
9. Π Π°Π·Π΄Π΅Π»Ρ ΠΈ ΡΠ°ΡΡΠΈΡΠ΅Π½Π½ΡΠ΅ Π²ΠΈΠ΄Ρ
– ΠΡΠ½ΠΎΠ²Ρ Π²ΠΈΠ΄Π° Π² ΡΠ°Π·ΡΠ΅Π·Π΅ 9-1
-Π’ΠΈΠΏΡ Π²ΠΈΠ΄Π° ΡΠ΅ΡΠ΅Π½ΠΈΡ 9-2
-ΠΠΎΠ»Π½ΡΠ΅ ΡΠ°Π·Π΄Π΅Π»Ρ 9-4
-ΠΠΎΠ»ΠΎΠ²ΠΈΠ½Π° Π‘Π΅ΠΊΡΠΈΠΈ 9-7
– Π‘ΠΌΠ΅ΡΠ΅Π½Π½ΡΠ΅ ΡΠ΅ΠΊΡΠΈΠΈ 9-9
-Π Π°Π·Π±ΠΈΡΡΠ΅ ΡΠ΅ΠΊΡΠΈΠΈ 9-12
– ΠΡΡΠΎΠ²Π½Π΅Π½Π½ΡΠ΅ Π²ΠΈΠ΄Ρ ΡΠ΅ΡΠ΅Π½ΠΈΡ 9-14
-ΠΠΎΠ²ΠΎΡΠΎΡΠ½ΡΠ΅ ΡΠ΅ΠΊΡΠΈΠΈ 9-17
-ΠΡΠΏΠΎΠΌΠΎΠ³Π°ΡΠ΅Π»ΡΠ½ΡΠ΅ Π²ΠΈΠ΄Ρ 9-18
-Π‘Π²ΠΎΠ΄ΠΊΠ° 9-20
-Π Π°ΡΡΠΈΡΠ΅Π½Π½ΠΎΠ΅ ΡΡΠΊΠΎΠ²ΠΎΠ΄ΡΡΠ²ΠΎ ΠΏΠΎ ΡΠΈΡΠΎΠ²Π°Π½ΠΈΡ 1 9-21
-Π Π°ΡΡΠΈΡΠ΅Π½Π½ΠΎΠ΅ ΡΡΠΊΠΎΠ²ΠΎΠ΄ΡΡΠ²ΠΎ ΠΏΠΎ ΡΠΈΡΠΎΠ²Π°Π½ΠΈΡ 2 9-37
-ΠΠ°Π΄Π°ΡΠΈ 9-48
-ΠΠΎΠΏΡΠΎΡΡ ΠΈ ΠΎΠ±ΡΡΠΆΠ΄Π΅Π½ΠΈΡ 9-50
10. ΠΠ»Π΅ΠΌΠ΅Π½ΡΡ ΡΠ΄Π²ΠΈΠ³Π° ΠΈ ΡΠ³Π»Π°ΠΆΠΈΠ²Π°Π½ΠΈΡ
– ΠΡΠ½ΠΎΠ²Ρ ΡΠ°Π·Π²Π΅ΡΡΠΊΠΈ ΠΈ ΡΠΌΠ΅ΡΠΈΠ²Π°Π½ΠΈΡ 10-1
-Π Π°Π·Π²Π΅ΡΡΠΊΠ° 10-2-Π‘ΠΎΠ·Π΄Π°Π½ΠΈΠ΅ ΡΡΠ°Π΅ΠΊΡΠΎΡΠΈΠΈ Ρ ΡΡΠΊΠΈΠ·Π½ΡΠΌ ΡΠ΅ΡΠ΅Π½ΠΈΠ΅ΠΌ 10-4
– Π‘ΠΌΠ΅ΡΠ°Π½Π½ΡΠ΅ ΡΡΠ½ΠΊΡΠΈΠΈ 10-6
-Π‘ΠΎΠ·Π΄Π°Π½ΠΈΠ΅ ΠΏΠ°ΡΠ°Π»Π»Π΅Π»ΡΠ½ΠΎΠ³ΠΎ ΠΏΠ΅ΡΠ΅Ρ ΠΎΠ΄Π° 10-8
– ΠΠ°Π·ΠΎΠ²ΡΠ΅ ΠΊΡΠΈΠ²ΡΠ΅ 10-10
– Π‘ΠΏΡΠΎΠ΅ΠΊΡΠΈΡΠΎΠ²Π°Π½Π½ΡΠ΅ ΠΈ ΡΡΠΎΡΠΌΠΈΡΠΎΠ²Π°Π½Π½ΡΠ΅ ΠΎΠΏΠΎΡΠ½ΡΠ΅ ΠΊΡΠΈΠ²ΡΠ΅ 10-11
-Π‘ΠΎΠ·Π΄Π°Π½ΠΈΠ΅ ΠΎΠΏΠΎΡΠ½ΡΡ ΡΠΎΡΠ΅ΠΊ 10-12– Π‘ΠΈΡΡΠ΅ΠΌΡ ΠΊΠΎΠΎΡΠ΄ΠΈΠ½Π°Ρ 10-14
-Π‘Π²ΠΎΠ΄ΠΊΠ° 10-17
-Π£ΡΠ΅Π±Π½ΠΈΠΊ ΠΏΠΎ ΡΠΌΠ΅ΡΠΈΠ²Π°Π½ΠΈΡ 10-18
-Sweep Tutorial 10-26
-Sweep Tutorial Two 10-32
-ΠΠ°Π΄Π°ΡΠΈ 10-40
-ΠΠΎΠΏΡΠΎΡΡ ΠΈ ΠΎΠ±ΡΡΠΆΠ΄Π΅Π½ΠΈΡ 10-42
11.
ΠΠ΅ΡΠ΅Π΄ΠΎΠ²ΡΠ΅ ΠΌΠ΅ΡΠΎΠ΄Ρ ΠΌΠΎΠ΄Π΅Π»ΠΈΡΠΎΠ²Π°Π½ΠΈΡ
– ΠΠΏΡΠΈΡ ΡΠΌΠ΅ΡΠΈΠ²Π°Π½ΠΈΡ ΡΠΎ ΡΠΊΠΎΠ»ΡΠ·ΡΡΠΈΠΌ Π΄Π²ΠΈΠΆΠ΅Π½ΠΈΠ΅ΠΌ 11-2
– ΠΠ΅ΡΠ΅ΠΌΠ΅Π½Π½Π°Ρ ΡΠ°Π·Π²Π΅ΡΡΠΊΠ° ΡΠ΅ΠΊΡΠΈΠΉ 11-6
-Π‘ΠΏΠΈΡΠ°Π»ΡΠ½ΡΠ΅ ΡΠ°Π·Π²Π΅ΡΡΠΊΠΈ 11-12-Π‘ΠΎΠ·Π΄Π°Π½ΠΈΠ΅ ΡΠΏΠΈΡΠ°Π»ΡΠ½ΠΎΠ³ΠΎ ΡΠ»Π΅ΠΌΠ΅Π½ΡΠ° ΠΏΡΠΎΡΡΠ³ΠΈΠ²Π°Π½ΠΈΡ Ρ ΠΏΠΎΡΡΠΎΡΠ½Π½ΡΠΌ ΡΠ°Π³ΠΎΠΌ 11-13
-Π‘Π²ΠΎΠ΄ΠΊΠ° 11-15
-Swept Blend Tutorial 11-16
– ΠΠ΅ΡΠ΅Π½Π½ΠΈΠΉ ΡΡΠ΅Π±Π½ΠΈΠΊ 11-22
-Π£ΡΠ΅Π±Π½ΠΈΠΊ ΠΏΠΎ Π±ΠΎΠ»ΡΠ°ΠΌ 11-26
-ΠΠ°Π΄Π°ΡΠΈ 11-39
-ΠΠΎΠΏΡΠΎΡΡ ΠΈ ΠΎΠ±ΡΡΠΆΠ΄Π΅Π½ΠΈΡ 11-41
12. Π‘Π±ΠΎΡΠΎΡΠ½ΡΠ΅ ΠΎΠΏΠ΅ΡΠ°ΡΠΈΠΈ
– ΠΠ½Π°ΠΊΠΎΠΌΡΡΠ²ΠΎ Ρ ΡΠ΅ΠΆΠΈΠΌΠΎΠΌ ΡΠ±ΠΎΡΠΊΠΈ 12-2
– ΠΠ΅Π½Ρ ΡΠ΅ΠΆΠΈΠΌΠΎΠ² ΡΠ±ΠΎΡΠΊΠΈ 12-2
– Π Π°Π·ΠΌΠ΅ΡΠ΅Π½ΠΈΠ΅ ΠΊΠΎΠΌΠΏΠΎΠ½Π΅Π½ΡΠΎΠ² 12-3
– ΠΠ³ΡΠ°Π½ΠΈΡΠ΅Π½ΠΈΡ ΡΠ±ΠΎΡΠΊΠΈ 12-4
-ΠΠ²ΠΈΠΆΡΡΠΈΠ΅ΡΡ ΠΊΠΎΠΌΠΏΠΎΠ½Π΅Π½ΡΡ 12-7
-Π£ΠΏΠ°ΠΊΠΎΠ²Π°Π½Π½ΡΠ΅ ΠΊΠΎΠΌΠΏΠΎΠ½Π΅Π½ΡΡ 12-8
-Π Π°Π·ΠΌΠ΅ΡΠ΅Π½ΠΈΠ΅ ΠΏΠ°ΡΠ°ΠΌΠ΅ΡΡΠΈΡΠ΅ΡΠΊΠΎΠ³ΠΎ ΠΊΠΎΠΌΠΏΠΎΠ½Π΅Π½ΡΠ° 12-8– ΠΠΎΠ΄ΠΈΡΠΈΠΊΠ°ΡΠΈΡ ΡΠ·Π»ΠΎΠ² ΠΈ Π΄Π΅ΡΠ°Π»Π΅ΠΉ 12-9
– ΠΠ·ΠΌΠ΅Π½Π΅Π½ΠΈΠ΅ ΡΠ°Π·ΠΌΠ΅ΡΠΎΠ² 12-9
-Π‘ΠΎΠ·Π΄Π°Π½ΠΈΠ΅ Π½ΠΎΠ²ΡΡ ΡΠ»Π΅ΠΌΠ΅Π½ΡΠΎΠ² Π΄Π΅ΡΠ°Π»Π΅ΠΉ 12-10
-ΠΠ΅ΡΠ΅ΠΎΠΏΡΠ΅Π΄Π΅Π»Π΅Π½ΠΈΠ΅ ΡΠ»Π΅ΠΌΠ΅Π½ΡΠ° ΠΊΠΎΠΌΠΏΠΎΠ½Π΅Π½ΡΠ° 12-11– Π‘ΠΎΠ·Π΄Π°Π½ΠΈΠ΅ ΡΠ»Π΅ΠΌΠ΅Π½ΡΠΎΠ² ΡΠ±ΠΎΡΠΊΠΈ 12-11
– ΠΠΎΠ½ΡΡΡΡΠΊΡΠΈΡ ΡΠ±ΠΎΡΠΊΠΈ ΡΠ²Π΅ΡΡ Ρ Π²Π½ΠΈΠ· 12-12-Π‘ΠΎΠ·Π΄Π°Π½ΠΈΠ΅ Π΄Π΅ΡΠ°Π»Π΅ΠΉ Π² ΡΠ΅ΠΆΠΈΠΌΠ΅ ΡΠ±ΠΎΡΠΊΠΈ 12-13
-ΠΠΎΠ΄Π΅Π»ΠΈ ΡΠΊΠ΅Π»Π΅ΡΠ° 12-16– Π‘Π±ΠΎΡΠΎΡΠ½ΡΠ΅ ΠΎΡΠ½ΠΎΡΠ΅Π½ΠΈΡ 12-18
– Π Π΅ΠΆΠΈΠΌ ΠΌΠ°ΠΊΠ΅ΡΠ° 12-18
-Π£ΠΏΡΠΎΡΠ΅Π½Π½ΡΠ΅ ΠΏΡΠ΅Π΄ΡΡΠ°Π²Π»Π΅Π½ΠΈΡ 12-19
– Π Π°Π·ΠΎΠ±ΡΠ°Π½Π½ΡΠ΅ ΡΠ±ΠΎΡΠΊΠΈ 12-21
-Π‘Π²ΠΎΠ΄ΠΊΠ° 12-23
-Π£ΡΠ΅Π±Π½ΠΎΠ΅ ΡΠΏΡΠ°ΠΆΠ½Π΅Π½ΠΈΠ΅ ΠΏΠΎ ΡΠ±ΠΎΡΠΊΠ΅ 1 12-24
-Π£ΡΠ΅Π±Π½ΠΎΠ΅ ΡΠΏΡΠ°ΠΆΠ½Π΅Π½ΠΈΠ΅ ΠΏΠΎ ΡΠ±ΠΎΡΠΊΠ΅ 2 12-39
-ΠΠ°Π΄Π°ΡΠ° 12-55
-ΠΠΎΠΏΡΠΎΡΡ ΠΈ ΠΎΠ±ΡΡΠΆΠ΄Π΅Π½ΠΈΡ 12-57
Π’Π΅Ρ Π½ΠΈΠΊ ΠΈΠ½ΠΆΠ΅Π½Π΅ΡΠ½ΠΎΠΉ Π³ΡΠ°ΡΠΈΠΊΠΈ, Π‘Π΅ΡΡΠΈΡΠΈΠΊΠ°Ρ | Camosun College
ΠΡΠ°ΡΠΊΠΈΠΉ ΠΎΠ±Π·ΠΎΡ ΠΏΡΠΎΠ³ΡΠ°ΠΌΠΌΡ
ΠΠΎΠ΄Π°ΠΉΡΠ΅ Π·Π°ΡΠ²ΠΊΡ ΡΠ΅Π³ΠΎΠ΄Π½Ρ
ΠΡΠ°ΡΠΊΠΈΠΉ ΠΎΠ±Π·ΠΎΡ image
ΠΠΈΠ·ΡΠ°Π»ΠΈΠ·ΠΈΡΡΠΉΡΠ΅ ΠΊΠ°ΡΡΠ΅ΡΡ Π² ΠΈΠ½ΠΆΠ΅Π½Π΅ΡΠ½ΠΎΠΉ Π³ΡΠ°ΡΠΈΠΊΠ΅
ΠΠ°ΡΠ°Π»ΠΎ Π² ΡΠ½Π²Π°ΡΠ΅ 2023 Π³.
ΠΡΠΎΠ³ΡΠ°ΠΌΠΌΠ° Engineering Graphics Technician (EGT) ΠΈΠ΄Π΅Π°Π»ΡΠ½ΠΎ ΠΏΠΎΠ΄Ρ ΠΎΠ΄ΠΈΡ Π΄Π»Ρ ΡΠ΅Ρ , ΠΊΡΠΎ ΠΈΠ½ΡΠ΅ΡΠ΅ΡΡΠ΅ΡΡΡ ΠΈΠ½ΠΆΠ΅Π½Π΅ΡΠ½ΠΎΠΉ/Π°ΡΡ ΠΈΡΠ΅ΠΊΡΡΡΠ½ΠΎΠΉ Π²ΠΈΠ·ΡΠ°Π»ΠΈΠ·Π°ΡΠΈΠ΅ΠΉ, ΡΠΊΠ»ΠΎΠ½Π΅Π½ ΠΊ Π°Π²ΡΠΎΠΌΠ°ΡΠΈΠ·ΠΈΡΠΎΠ²Π°Π½Π½ΠΎΠΌΡ ΠΏΡΠΎΠ΅ΠΊΡΠΈΡΠΎΠ²Π°Π½ΠΈΡ ΠΈΠ»ΠΈ ΠΈΠΌΠ΅Π΅Ρ ΠΈΠ½ΠΎΡΡΡΠ°Π½Π½ΡΠΉ Π΄ΠΈΠΏΠ»ΠΎΠΌ Π² ΠΎΠ±Π»Π°ΡΡΠΈ ΠΈΠ½ΠΆΠ΅Π½Π΅ΡΠΈΠΈ/Π°ΡΡ ΠΈΡΠ΅ΠΊΡΡΡΡ ΠΈ Ρ ΠΎΡΠ΅Ρ Π²ΡΠΉΡΠΈ Π½Π° ΠΊΠ°Π½Π°Π΄ΡΠΊΠΈΠΉ ΡΡΠ½ΠΎΠΊ ΡΡΡΠ΄Π°.
Π₯ΠΎΡΠΈΡΠ΅ Π±ΠΎΠ»ΡΡΠ΅ ΠΈΠ½ΡΠΎΡΠΌΠ°ΡΠΈΠΈ?
Π‘Π²ΡΠ·Π°ΡΡΡΡ Π ΠΎΡΡ ΠΠ°ΠΉΠ», ΠΊΠ°ΡΠ΅Π΄ΡΠ° ΠΌΠ°ΡΠΈΠ½ΠΎΡΡΡΠΎΠ΅Π½ΠΈΡ
[email protected]
250-370-4511
ΠΠ±Π·ΠΎΡ
ΠΠΎΡΡΠΌΠΈΠΌΠ΅ΡΡΡΠ½Π°Ρ ΠΏΡΠΎΠ³ΡΠ°ΠΌΠΌΠ° ΠΈΠ½ΠΆΠ΅Π½Π΅ΡΠ½ΠΎΠΉ Π³ΡΠ°ΡΠΈΠΊΠΈ Π½Π°ΡΠΈΠ½Π°Π΅ΡΡΡ Π² ΡΠ½Π²Π°ΡΠ΅ 2023 Π³ΠΎΠ΄Π° Π² ΠΊΠ°ΠΌΠΏΡΡΠ΅ Interurban.
Π ΡΡΠΎΠΉ ΠΏΡΠΎΠ³ΡΠ°ΠΌΠΌΠ΅ ΠΎΡΠΎΠ±ΠΎΠ΅ Π²Π½ΠΈΠΌΠ°Π½ΠΈΠ΅ ΡΠ΄Π΅Π»ΡΠ΅ΡΡΡ Π΄Π²ΡΡ ΠΌΠ΅ΡΠ½ΠΎΠΌΡ ΠΈ ΡΡΠ΅Ρ ΠΌΠ΅ΡΠ½ΠΎΠΌΡ Π°Π²ΡΠΎΠΌΠ°ΡΠΈΠ·ΠΈΡΠΎΠ²Π°Π½Π½ΠΎΠΌΡ ΠΏΡΠΎΠ΅ΠΊΡΠΈΡΠΎΠ²Π°Π½ΠΈΡ (Π‘ΠΠΠ ) ΠΈ ΡΠ΅ΡΡΠ΅Π½ΠΈΡ . ΠΡ Π½Π°ΡΠ½Π΅ΡΠ΅ Ρ Π΄Π²ΡΡ ΡΠ΅ΠΌΠ΅ΡΡΡΠΎΠ² Π² ΠΊΠ°ΠΌΠΏΡΡΠ΅ (14 Π½Π΅Π΄Π΅Π»Ρ ΠΈ 7 Π½Π΅Π΄Π΅Π»Ρ), ΠΏΠΎΡΠ»Π΅ ΡΠ΅Π³ΠΎ ΠΏΠΎΡΠ»Π΅Π΄ΡΠ΅Ρ Π·Π°ΠΊΠ»ΡΡΠΈΡΠ΅Π»ΡΠ½Π°Ρ Π΄Π²ΡΡ ΠΌΠ΅ΡΡΡΠ½Π°Ρ ΡΡΠ°ΠΆΠΈΡΠΎΠ²ΠΊΠ°.
ΠΡΠ°ΠΊΡΠΈΡΠ΅ΡΠΊΠΎΠ΅ ΠΎΠ±ΡΡΠ΅Π½ΠΈΠ΅
ΠΡ ΡΠ°Π·ΠΎΠ²ΡΠ΅ΡΠ΅ ΡΠ²ΠΎΠΈ Π½Π°Π²ΡΠΊΠΈ Π²ΠΈΠ·ΡΠ°Π»ΠΈΠ·Π°ΡΠΈΠΈ Π΄ΠΈΠ·Π°ΠΉΠ½Π°, Π² ΡΠΎΠΌ ΡΠΈΡΠ»Π΅ Π Π΅Π½Π΄Π΅ΡΠΈΠ½Π³ Π½Π΅ΠΏΠΎΠ΄Π²ΠΈΠΆΠ½ΡΡ
ΠΈΠ·ΠΎΠ±ΡΠ°ΠΆΠ΅Π½ΠΈΠΉ ΠΈ ΠΈΠ½ΠΆΠ΅Π½Π΅ΡΠ½Π°Ρ Π°Π½ΠΈΠΌΠ°ΡΠΈΡ Ρ ΠΏΠΎΠΌΠΎΡΡΡ Π½Π°ΡΠ΅ΠΉ ΠΏΡΠ°ΠΊΡΠΈΡΠ΅ΡΠΊΠΎΠΉ ΠΏΡΠΎΠ³ΡΠ°ΠΌΠΌΡ.
ΠΠ°ΠΌ Π±ΡΠ΄Π΅Ρ ΠΏΡΠ΅Π΄ΠΎΡΡΠ°Π²Π»Π΅Π½ΠΎ Π²Π²Π΅Π΄Π΅Π½ΠΈΠ΅ Π² ΡΡΠ°Π½Π΄Π°ΡΡΡ ΠΏΡΠΎΠ΅ΠΊΡΠΈΡΠΎΠ²Π°Π½ΠΈΡ ΠΈ Π΄ΠΎΠΊΡΠΌΠ΅Π½ΡΠ°ΡΠΈΠΈ, ΠΈΡΠΏΠΎΠ»ΡΠ·ΡΠ΅ΠΌΡΠ΅ Π² Π½Π΅ΡΠΊΠΎΠ»ΡΠΊΠΈΡ ΠΎΡΡΠ°ΡΠ»ΡΡ ΠΏΡΠΎΠΌΡΡΠ»Π΅Π½Π½ΠΎΡΡΠΈ, Π° ΡΠ°ΠΊΠΆΠ΅ Π²Π²Π΅Π΄Π΅Π½ΠΈΠ΅ Π² ΡΠΈΠΏΠΈΡΠ½ΠΎΠ΅ ΠΈΠ½ΠΆΠ΅Π½Π΅ΡΠ½ΠΎΠ΅ ΠΎΡΠΈΡΠ½ΠΎΠ΅ ΠΏΡΠΎΠ³ΡΠ°ΠΌΠΌΠ½ΠΎΠ΅ ΠΎΠ±Π΅ΡΠΏΠ΅ΡΠ΅Π½ΠΈΠ΅.
ΠΠΎΡΠ»Π΅ ΠΎΠΊΠΎΠ½ΡΠ°Π½ΠΈΡ ΡΡΠ΅Π±Ρ
Π€ΠΈΡΠΌΡ ΠΈ ΠΎΡΠ³Π°Π½ΠΈΠ·Π°ΡΠΈΠΈ, ΠΎΡΠ½ΠΎΠ²Π°Π½Π½ΡΠ΅ Π½Π° ΡΠ΅Ρ Π½ΠΎΠ»ΠΎΠ³ΠΈΡΡ , Π½ΡΠΆΠ΄Π°ΡΡΡΡ Π² ΡΠΎΡΡΡΠ΄Π½ΠΈΠΊΠ°Ρ Ρ ΠΎΠΏΡΡΠΎΠΌ Π² ΡΠ΅Ρ Π½ΠΈΡΠ΅ΡΠΊΠΈΡ Π·Π½Π°Π½ΠΈΡΡ ΠΈΠ½ΠΆΠ΅Π½Π΅ΡΠ½ΠΎΠΉ Π³ΡΠ°ΡΠΈΠΊΠΈ .
ΠΠΎΡΠ»Π΅ ΠΏΠΎΠ»ΡΡΠ΅Π½ΠΈΡ Π΄ΠΈΠΏΠ»ΠΎΠΌΠ° ΠΈΠ½ΠΆΠ΅Π½Π΅ΡΠ°-Π³ΡΠ°ΡΠΈΠΊΠ° Π²Π°ΠΌ Π±ΡΠ΄Π΅Ρ 9 Π»Π΅Ρ.0518 ΠΊΠ²Π°Π»ΠΈΡΠΈΡΠΈΡΠΎΠ²Π°Π½ Π΄Π»Ρ ΠΏΠΎΠΈΡΠΊΠ° ΡΠ°Π±ΠΎΡΡ Π² ΡΠ°ΠΌΡΡ ΡΠ°Π·Π½ΡΡ ΠΎΡΡΠ°ΡΠ»ΡΡ , Π²ΠΊΠ»ΡΡΠ°Ρ, ΠΏΠΎΠΌΠΈΠΌΠΎ ΠΏΡΠΎΡΠ΅Π³ΠΎ: ΠΈΠ½ΠΆΠ΅Π½Π΅ΡΠ½ΡΠ΅ Π±ΡΡΠΎ, Π°ΡΡ ΠΈΡΠ΅ΠΊΡΡΡΠ½ΡΠ΅ Π±ΡΡΠΎ ΠΈ Π²ΡΡΠΎΠΊΠΎΡΠ΅Ρ Π½ΠΎΠ»ΠΎΠ³ΠΈΡΠ½ΡΠ΅ ΠΊΠΎΠΌΠΏΠ°Π½ΠΈΠΈ, ΠΊΠΎΡΠΎΡΡΠ΅ ΡΡΠ΅Π±ΡΡΡ ΠΈΡΠΏΠΎΠ»ΡΠ·ΠΎΠ²Π°Π½ΠΈΡ ΡΠ΅Ρ Π½ΠΈΡΠ΅ΡΠΊΠΈΡ ΠΏΡΠ±Π»ΠΈΠΊΠ°ΡΠΈΠΉ, 2D- ΠΈ 3D-ΡΠ΅ΡΡΠ΅ΠΆΠ΅ΠΉ ΠΈ Π½Π°Π²ΡΠΊΠΎΠ² 3D-Π²ΠΈΠ·ΡΠ°Π»ΠΈΠ·Π°ΡΠΈΠΈ.
ΠΠΎΠΏΠΎΠ»Π½ΠΈΡΠ΅Π»ΡΠ½ΡΠ΅ Π²ΠΎΠ·ΠΌΠΎΠΆΠ½ΠΎΡΡΠΈ
ΠΠΎΡΠ»Π΅ ΠΎΠΊΠΎΠ½ΡΠ°Π½ΠΈΡ ΠΏΡΠΎΠ³ΡΠ°ΠΌΠΌΡ Β«Π’Π΅Ρ
Π½ΠΈΠΊ ΠΈΠ½ΠΆΠ΅Π½Π΅ΡΠ½ΠΎΠΉ Π³ΡΠ°ΡΠΈΠΊΠΈΒ» Ρ Π²Π°Ρ Π±ΡΠ΄Π΅Ρ Π²ΠΎΠ·ΠΌΠΎΠΆΠ½ΠΎΡΡΡ ΠΏΡΠΎΠ΄ΠΎΠ»ΠΆΠΈΡΡ ΡΠ²ΠΎΠ΅ ΠΎΠ±ΡΠ°Π·ΠΎΠ²Π°Π½ΠΈΠ΅ ΠΏΠΎ ΠΏΡΠΎΠ³ΡΠ°ΠΌΠΌΠ°ΠΌ Β«Π’Π΅Ρ
Π½ΠΎΠ»ΠΎΠ³ΠΈΠΈ ΠΌΠ°ΡΠΈΠ½ΠΎΡΡΡΠΎΠ΅Π½ΠΈΡΒ», Β«Π’Π΅Ρ
Π½ΠΎΠ»ΠΎΠ³ΠΈΠΈ Π³ΡΠ°ΠΆΠ΄Π°Π½ΡΠΊΠΎΠ³ΠΎ ΡΡΡΠΎΠΈΡΠ΅Π»ΡΡΡΠ²Π°Β» ΠΈΠ»ΠΈ Β«Π’Π΅Ρ
Π½ΠΎΠ»ΠΎΠ³ΠΈΠΈ ΠΊΠΎΠΌΠΏΡΡΡΠ΅ΡΠ½ΡΡ
ΡΠΈΡΡΠ΅ΠΌΒ» Ρ Π½Π΅ΠΊΠΎΡΠΎΡΡΠΌΠΈ ΠΈΠ· ΠΊΡΡΡΠΎΠ², ΠΊΠΎΡΠΎΡΡΠ΅ Π²Ρ ΡΠΆΠ΅ Π·Π°Π²Π΅ΡΡΠΈΠ»ΠΈ ΠΏΠΎΠ΄ΡΡΠ΅Ρ ΠΊΡΠ΅Π΄ΠΈΡΠΎΠ².
Π§ΡΠΎ Π²Ρ ΡΠ·Π½Π°Π΅ΡΠ΅
Π’Π΅ΠΊΡΡΠΈΠΌ ΡΡΠ°ΡΠΈΠΌΡΡ Π½ΡΠΆΠ½Π° ΠΈΠ½ΡΠΎΡΠΌΠ°ΡΠΈΡ ΠΎ Π²Π°ΡΠ΅ΠΉ ΠΏΡΠΎΠ³ΡΠ°ΠΌΠΌΠ΅, ΠΏΠ΅ΡΠ΅ΠΉΠ΄ΠΈΡΠ΅ Π½Π° ΡΡΡΠ°Π½ΠΈΡΡ ΠΏΠ»Π°Π½ΠΈΡΠΎΠ²Π°Π½ΠΈΡ Π΄Π»Ρ ΡΡΠ°ΡΠΈΡ ΡΡ Π² myCamosun.
Π‘Ρ Π΅ΠΌΠ° ΠΏΡΠΎΠ³ΡΠ°ΠΌΠΌΡ
ΠΠ»Ρ ΠΏΠΎΠ»ΡΡΠ΅Π½ΠΈΡ Π±ΠΎΠ»Π΅Π΅ ΠΏΠΎΠ΄ΡΠΎΠ±Π½ΠΎΠΉ ΠΈΠ½ΡΠΎΡΠΌΠ°ΡΠΈΠΈ, Π²ΠΊΠ»ΡΡΠ°Ρ ΠΊΡΡΡΡ, ΡΠΌ. ΡΡ Π΅ΠΌΡ ΠΏΡΠΎΠ³ΡΠ°ΠΌΠΌΡ Π² ΠΠΊΠ°Π΄Π΅ΠΌΠΈΡΠ΅ΡΠΊΠΎΠΌ ΠΊΠ°Π»Π΅Π½Π΄Π°ΡΠ΅.
ΠΠ»Π°Π½ ΠΏΡΠΎΠ³ΡΠ°ΠΌΠΌΡ
2D- ΠΈ 3D-ΠΌΠΎΠ΄Π΅Π»ΠΈΡΠΎΠ²Π°Π½ΠΈΠ΅, ΡΠ΅ΡΡΠ΅ΠΆΠΈ ΠΈ Π΄ΠΎΠΊΡΠΌΠ΅Π½ΡΠ°ΡΠΈΡ
ΠΡ ΡΠ°Π·ΡΠ°Π±ΠΎΡΠ°Π΅ΡΠ΅ ΠΎΡΠ½ΠΎΠ²Ρ Π΄Π»Ρ ΡΠ΅ΡΡΠ΅ΠΆΠ΅ΠΉ ΠΆΠΈΠ»ΡΡ ΠΈ ΠΊΠΎΠΌΠΌΠ΅ΡΡΠ΅ΡΠΊΠΈΡ Π·Π΄Π°Π½ΠΈΠΉ, Π° ΡΠ°ΠΊΠΆΠ΅ Π΄Π»Ρ ΠΌΠ΅Ρ Π°Π½ΠΈΡΠ΅ΡΠΊΠΎΠ³ΠΎ ΡΠ΅ΡΡΠ΅Π½ΠΈΡ. ΠΡ ΠΏΠΎΠ»ΡΡΠΈΡΠ΅ ΠΏΡΠ°ΠΊΡΠΈΡΠ΅ΡΠΊΠΈΠ΅ Π·Π½Π°Π½ΠΈΡ ΠΎ Π‘ΠΠΠ ΠΈ Π΄ΡΡΠ³ΠΈΡ Π³ΡΠ°ΡΠΈΡΠ΅ΡΠΊΠΈΡ ΠΏΡΠΎΠ³ΡΠ°ΠΌΠΌΠ½ΡΡ ΠΏΡΠΈΠ»ΠΎΠΆΠ΅Π½ΠΈΡΡ , ΠΈΡΠΏΠΎΠ»ΡΠ·ΡΠ΅ΠΌΡΡ Π² ΠΈΠ½ΠΆΠ΅Π½Π΅ΡΠΈΠΈ, Π°ΡΡ ΠΈΡΠ΅ΠΊΡΡΡΠ΅ ΠΈ ΡΠ΅ΠΊΡΠΎΡΠ΅ Π²ΡΡΠΎΠΊΠΈΡ ΡΠ΅Ρ Π½ΠΎΠ»ΠΎΠ³ΠΈΠΉ.
Π§Π΅Π³ΠΎ ΠΎΠΆΠΈΠ΄Π°ΡΡ
Π ΡΠ°ΠΌΠΊΠ°Ρ
ΡΡΠΎΠΉ ΡΡΡΠΎΠ³ΠΎΠΉ ΠΏΡΠΎΠ³ΡΠ°ΠΌΠΌΡ Π²Ρ Π±ΡΠ΄Π΅ΡΠ΅ ΠΏΡΠΎΠ²ΠΎΠ΄ΠΈΡΡ ΠΎΡ 26 Π΄ΠΎ 29 ΡΠ°ΡΠΎΠ² Π² Π½Π΅Π΄Π΅Π»Ρ Π² ΠΊΠ»Π°ΡΡΠ΅, ΠΈ ΠΊΠ°ΠΆΠ΄ΡΠΉ Π΄Π΅Π½Ρ Π²Ρ ΠΌΠΎΠΆΠ΅ΡΠ΅ ΠΎΠΆΠΈΠ΄Π°ΡΡ ΠΎΡ ΡΡΠ΅Ρ
Π΄ΠΎ ΡΠ΅ΡΡΡΠ΅Ρ
ΡΠ°ΡΠΎΠ² Π΄ΠΎΠΌΠ°ΡΠ½ΠΈΡ
Π·Π°Π΄Π°Π½ΠΈΠΉ. Π ΡΠ²ΠΎΡ ΠΎΡΠ΅ΡΠ΅Π΄Ρ, Π²Ρ ΠΏΠΎΠ»ΡΡΠΈΡΠ΅ ΠΏΡΠ°ΠΊΡΠΈΡΠ΅ΡΠΊΠΈΠ΅ Π·Π½Π°Π½ΠΈΡ ΠΎ Π³ΡΠ°ΡΠΈΡΠ΅ΡΠΊΠΈΡ
ΠΏΡΠΎΠ³ΡΠ°ΠΌΠΌΠ½ΡΡ
ΠΏΡΠΈΠ»ΠΎΠΆΠ΅Π½ΠΈΡΡ
, ΠΈΡΠΏΠΎΠ»ΡΠ·ΡΠ΅ΠΌΡΡ
Π² ΠΈΠ½ΠΆΠ΅Π½Π΅ΡΠΈΠΈ ΠΈ Π°ΡΡ
ΠΈΡΠ΅ΠΊΡΡΡΠ΅.
Π‘Π΅ΠΌΠ΅ΡΡΡ 1 (14 Π½Π΅Π΄Π΅Π»Ρ)
Π ΡΠ΅ΡΠ΅Π½ΠΈΠ΅ ΠΏΠ΅ΡΠ²ΠΎΠ³ΠΎ ΡΠ΅ΠΌΠ΅ΡΡΡΠ° Π²Ρ ΠΎΠ±Π½ΠΎΠ²ΠΈΡΠ΅ ΡΠ²ΠΎΠΈ Π½Π°Π²ΡΠΊΠΈ ΡΠ°Π±ΠΎΡΡ Ρ ΠΊΠΎΠΌΠΏΡΡΡΠ΅ΡΠΎΠΌ, ΠΎΡΡΠΎΡΠΈΡΠ΅ ΡΠ²ΠΎΠΈ ΡΠ΅Ρ Π½ΠΈΡΠ΅ΡΠΊΠΈΠ΅ Π½Π°Π²ΡΠΊΠΈ ΠΏΠΈΡΡΠΌΠ° ΠΈ ΠΏΡΠ±Π»ΠΈΠΊΠ°ΡΠΈΠΈ, ΠΏΠΎΠ·Π½Π°ΠΊΠΎΠΌΠΈΡΠ΅ΡΡ Ρ ΠΌΠ΅ΡΠΎΠ΄Π°ΠΌΠΈ ΠΆΠΈΠ»ΠΎΠ³ΠΎ ΡΡΡΠΎΠΈΡΠ΅Π»ΡΡΡΠ²Π° Ρ ΠΈΡΠΏΠΎΠ»ΡΠ·ΠΎΠ²Π°Π½ΠΈΠ΅ΠΌ ΠΏΡΠΎΠ³ΡΠ°ΠΌΠΌΠ½ΠΎΠ³ΠΎ ΠΎΠ±Π΅ΡΠΏΠ΅ΡΠ΅Π½ΠΈΡ Π΄Π»Ρ 3D-ΠΌΠΎΠ΄Π΅Π»ΠΈΡΠΎΠ²Π°Π½ΠΈΡ ΠΈ ΠΈΠ·ΡΡΠΈΡΠ΅ ΠΎΡΠ½ΠΎΠ²Ρ ΡΠΈΡΠΎΠ²Π°Π½ΠΈΡ Π΄Π»Ρ ΠΌΠ°ΡΠΈΠ½, Ρ ΠΏΠΎΠΌΠΎΡΡΡ ΠΈΠ½ΡΡΡΡΠΌΠ΅Π½ΡΠΎΠ² 3D-ΠΌΠΎΠ΄Π΅Π»ΠΈΡΠΎΠ²Π°Π½ΠΈΡ. ΠΡ ΡΠ°ΠΊΠΆΠ΅ Π±ΡΠ΄Π΅ΡΠ΅ Π²ΡΠ±ΠΈΡΠ°ΡΡ ΠΌΠ΅ΠΆΠ΄Ρ ΠΌΠ΅Ρ Π°Π½ΠΈΡΠ΅ΡΠΊΠΈΠΌ ΠΏΡΠΎΠΈΠ·Π²ΠΎΠ΄ΡΡΠ²ΠΎΠΌ ΠΈΠ»ΠΈ ΡΡΡΠΎΠΈΡΠ΅Π»ΡΠ½ΡΠΌΠΈ ΡΠΈΡΡΠ΅ΠΌΠ°ΠΌΠΈ Π² ΠΈΠ½ΡΠ΅ΡΠ΅ΡΡΡΡΠ΅ΠΉ Π²Π°Ρ ΠΎΠ±Π»Π°ΡΡΠΈ.
Π‘Π΅ΠΌΠ΅ΡΡΡ 2 (7 Π½Π΅Π΄Π΅Π»Ρ)
Π ΡΡΠΎΠΌ ΠΊΠΎΡΠΎΡΠΊΠΎΠΌ ΠΏΠΎΠ»ΡΡΠ΅ΠΌΠ΅ΡΡΡΠΎΠ²ΠΎΠΌ ΡΠ΅ΠΌΠ΅ΡΡΡΠ΅ Π²Ρ ΡΠ·Π½Π°Π΅ΡΠ΅ ΠΎ Π²ΠΈΠ·ΡΠ°Π»ΠΈΠ·Π°ΡΠΈΠΈ Π΄ΠΈΠ·Π°ΠΉΠ½Π° Ρ ΠΈΡΠΏΠΎΠ»ΡΠ·ΠΎΠ²Π°Π½ΠΈΠ΅ΠΌ Π½ΠΎΠ²Π΅ΠΉΡΠΈΡ 3D-ΠΈΠ½ΡΡΡΡΠΌΠ΅Π½ΡΠΎΠ², Π²ΠΊΠ»ΡΡΠ°Ρ Π΄ΠΎΠΏΠΎΠ»Π½Π΅Π½Π½ΡΡ/Π²ΠΈΡΡΡΠ°Π»ΡΠ½ΡΡ ΡΠ΅Π°Π»ΡΠ½ΠΎΡΡΡ (AR/VR). ΠΡ ΡΠ·Π½Π°Π΅ΡΠ΅ ΠΎ ΠΊΠΎΠΌΠΌΠ΅ΡΡΠ΅ΡΠΊΠΈΡ ΠΌΠ΅ΡΠΎΠ΄Π°Ρ ΡΡΡΠΎΠΈΡΠ΅Π»ΡΡΡΠ²Π°, ΠΏΠΎΡΠ°Π±ΠΎΡΠ°Π΅ΡΠ΅ Π½Π°Π΄ ΠΈΠ½Π΄ΠΈΠ²ΠΈΠ΄ΡΠ°Π»ΡΠ½ΡΠΌΠΈ ΠΈ Π³ΡΡΠΏΠΏΠΎΠ²ΡΠΌΠΈ ΠΏΡΠΎΠ΅ΠΊΡΠ°ΠΌΠΈ, ΡΡΠΎΠ±Ρ ΡΠ°Π·Π²ΠΈΡΡ ΡΠ²ΠΎΠΈ Π½Π°Π²ΡΠΊΠΈ Π‘ΠΠΠ ΠΈ ΡΠ³Π»ΡΠ±ΠΈΡΡ ΡΠ²ΠΎΠ΅ ΠΏΠΎΠ½ΠΈΠΌΠ°Π½ΠΈΠ΅ ΡΠ΅Ρ Π½ΠΈΡΠ΅ΡΠΊΠΈΡ ΡΠΏΠ΅ΡΠΈΡΠΈΠΊΠ°ΡΠΈΠΉ.
Π€Π°ΠΊΡΠ»ΡΡΠ°ΡΠΈΠ²Π½Π°Ρ ΡΡΠ°ΠΆΠΈΡΠΎΠ²ΠΊΠ° (7 Π½Π΅Π΄Π΅Π»Ρ)
Π ΡΠ΅ΡΠ΅Π½ΠΈΠ΅ ΠΎΡΡΠ°Π²ΡΠΈΡ
ΡΡ 7 Π½Π΅Π΄Π΅Π»Ρ Ρ Π²Π°Ρ Π±ΡΠ΄Π΅Ρ Π²ΠΎΠ·ΠΌΠΎΠΆΠ½ΠΎΡΡΡ ΠΏΡΠΎΠΉΡΠΈ 7-Π½Π΅Π΄Π΅Π»ΡΠ½ΡΡ ΡΡΠ°ΠΆΠΈΡΠΎΠ²ΠΊΡ.
Camosun Π±ΡΠ΄Π΅Ρ ΡΠ°Π±ΠΎΡΠ°ΡΡ Ρ Π²Π°ΠΌΠΈ, ΡΡΠΎΠ±Ρ Π½Π°ΠΉΡΠΈ ΠΌΠ΅ΡΡΠΎ Π΄Π»Ρ ΡΠ°Π±ΠΎΡΡ. ΠΠΎ Π²ΡΠ΅ΠΌΡ ΡΡΠΎΠΉ ΠΎΠΏΠ»Π°ΡΠΈΠ²Π°Π΅ΠΌΠΎΠΉ ΠΈΠ»ΠΈ Π½Π΅ΠΎΠΏΠ»Π°ΡΠΈΠ²Π°Π΅ΠΌΠΎΠΉ ΡΠ°Π±ΠΎΡΡ Π²Ρ Π±ΡΠ΄Π΅ΡΠ΅ ΠΏΡΠΈΠΌΠ΅Π½ΡΡΡ Π½Π°Π²ΡΠΊΠΈ, ΠΏΠΎΠ»ΡΡΠ΅Π½Π½ΡΠ΅ Π² Ρ
ΠΎΠ΄Π΅ ΠΏΡΠΎΠ³ΡΠ°ΠΌΠΌΡ.
Π‘ΡΠΎΠΈΠΌΠΎΡΡΡ ΠΎΠ±ΡΡΠ΅Π½ΠΈΡ ΠΈ ΡΠ±ΠΎΡΡ
ΠΠ΅ΠΉΡΡΠ²ΡΠ΅Ρ Ρ 1 ΡΠ΅Π½ΡΡΠ±ΡΡ 2022 Π³. ΠΏΠΎ 31 Π°Π²Π³ΡΡΡΠ° 2023 Π³.
ΠΡΠΈΠ΅Π½ΡΠΈΡΠΎΠ²ΠΎΡΠ½Π°Ρ ΡΡΠΎΠΈΠΌΠΎΡΡΡ ΠΎΠ±ΡΡΠ΅Π½ΠΈΡ
Π Π°ΡΡΠ΅ΡΠ½Π°Ρ ΡΡΠΎΠΈΠΌΠΎΡΡΡ ΠΎΠ±ΡΡΠ΅Π½ΠΈΡ ΡΠΊΠ°Π·Π°Π½Π° Π΄Π»Ρ Π²ΡΠ΅ΠΉ ΠΏΡΠΎΠ³ΡΠ°ΠΌΠΌΡ.
Π’Π΅Ρ Π½ΠΈΠΊ ΠΏΠΎ ΠΈΠ½ΠΆΠ΅Π½Π΅ΡΠ½ΠΎΠΉ Π³ΡΠ°ΡΠΈΠΊΠ΅, ΡΠ΅ΡΡΠΈΡΠΈΠΊΠ°Ρ
3 544 Π΄ΠΎΠ»Π». Π‘Π¨Π (Π²Π½ΡΡΡΠ΅Π½Π½ΠΈΠΉ)
14 430 Π΄ΠΎΠ»Π». Π‘Π¨Π (ΠΌΠ΅ΠΆΠ΄ΡΠ½Π°ΡΠΎΠ΄Π½ΡΠΉ)
Π’Π΅Ρ Π½ΠΈΠΊ ΠΏΠΎ ΠΈΠ½ΠΆΠ΅Π½Π΅ΡΠ½ΠΎΠΉ Π³ΡΠ°ΡΠΈΠΊΠ΅, ΡΠ΅ΡΡΠΈΡΠΈΠΊΠ°Ρ , Π‘ΡΠ°ΠΆΠΈΡΠΎΠ²ΠΊΠ°
0017 16 030 Π΄ΠΎΠ»Π»Π°ΡΠΎΠ² Π‘Π¨Π (ΠΌΠ΅ΠΆΠ΄ΡΠ½Π°ΡΠΎΠ΄Π½ΡΠΉ)
Π‘ΡΠΎΠΈΠΌΠΎΡΡΡ ΠΎΠ±ΡΡΠ΅Π½ΠΈΡ Π²Π½ΡΡΡΠΈ ΡΡΡΠ°Π½Ρ Π²Π°ΡΡΠΈΡΡΠ΅ΡΡΡ Π² Π·Π°Π²ΠΈΡΠΈΠΌΠΎΡΡΠΈ ΠΎΡ ΡΡΠΎΠΈΠΌΠΎΡΡΠΈ ΠΎΡΠ΄Π΅Π»ΡΠ½ΡΡ ΠΊΡΡΡΠΎΠ² Π΄Π»Ρ Π²ΡΠ±ΡΠ°Π½Π½ΡΡ Π²Π°ΠΌΠΈ ΠΊΠ»Π°ΡΡΠΎΠ².
ΠΠ»Ρ ΠΈΠ½ΠΎΡΡΡΠ°Π½Π½ΡΡ ΡΡΡΠ΄Π΅Π½ΡΠΎΠ² ΠΏΠΎΡΠ΅ΡΠΈΡΠ΅: International Tuition & Fees.
ΠΠ»Π°ΡΠ° Π·Π° ΠΎΠ±ΡΡΠ΅Π½ΠΈΠ΅
ΠΠΎΠΌΠΈΠΌΠΎ ΠΎΡΠ΅Π½ΠΊΠΈ ΡΡΠΎΠΈΠΌΠΎΡΡΠΈ ΠΎΠ±ΡΡΠ΅Π½ΠΈΡ, ΠΏΠ»Π°ΡΠ° Π·Π° ΠΎΠ±ΡΡΠ΅Π½ΠΈΠ΅ ΡΠ°ΡΡΡΠΈΡΡΠ²Π°Π΅ΡΡΡ Π½Π° ΠΎΡΠ½ΠΎΠ²Π΅ Π²Π°ΡΠ΅Π³ΠΎ Π·Π°ΡΠΈΡΠ»Π΅Π½ΠΈΡ.
Π‘ΠΌ.: Π‘ΡΡΠ΄Π΅Π½ΡΠ΅ΡΠΊΠΈΠ΅ ΡΠ±ΠΎΡΡ.
Π€ΠΈΠ½Π°Π½ΡΠΎΠ²Π°Ρ ΠΏΠΎΠΌΠΎΡΡ
ΠΠΎΠ·ΠΌΠΎΠΆΠ½ΠΎ, Π²Π°ΠΌ ΠΏΠΎΡΡΠ΅Π±ΡΠ΅ΡΡΡ Π½Π°ΠΉΡΠΈ Π±ΠΎΠ»Π΅Π΅ ΠΎΠ΄Π½ΠΎΠ³ΠΎ ΠΈΡΡΠΎΡΠ½ΠΈΠΊΠ° ΡΠΈΠ½Π°Π½ΡΠΈΡΠΎΠ²Π°Π½ΠΈΡ, ΡΡΠΎΠ±Ρ ΠΎΠΏΠ»Π°ΡΠΈΠ²Π°ΡΡ ΡΠ°ΡΡ ΠΎΠ΄Ρ Π½Π° ΠΎΠ±ΡΠ°Π·ΠΎΠ²Π°Π½ΠΈΠ΅ ΠΈ ΠΏΡΠΎΠΆΠΈΠ²Π°Π½ΠΈΠ΅ Π²ΠΎ Π²ΡΠ΅ΠΌΡ ΡΡΠ΅Π±Ρ Π² ΠΊΠΎΠ»Π»Π΅Π΄ΠΆΠ΅. ΠΡΠΎΠ²Π΅ΡΡΡΠ΅ ΠΈΡΡΠΎΡΠ½ΠΈΠΊΠΈ Π΄Π΅Π½Π΅Π³, ΠΊΠΎΡΠΎΡΡΠ΅ Π²Π°ΠΌ Π½Π΅ Π½ΡΠΆΠ½ΠΎ Π²ΠΎΠ·Π²ΡΠ°ΡΠ°ΡΡ, Π° ΡΠ°ΠΊΠΆΠ΅ ΡΠ΅, ΠΊΠΎΡΠΎΡΡΠ΅ Π½Π΅ΠΎΠ±Ρ ΠΎΠ΄ΠΈΠΌΠΎ Π²Π΅ΡΠ½ΡΡΡ.
Π€ΠΈΠ½Π°Π½ΡΠΎΠ²Π°Ρ ΠΏΠΎΠΌΠΎΡΡ ΠΈ Π½Π°Π³ΡΠ°Π΄Ρ
Π£ΡΠ΅Π±Π½Π°Ρ ΠΏΡΠΎΠ³ΡΠ°ΠΌΠΌΠ° ΠΈ ΠΊΡΡΡΡ
Π’ΡΠ΅Π±ΠΎΠ²Π°Π½ΠΈΡ ΠΊ ΠΊΠ°Π½Π΄ΠΈΠ΄Π°ΡΠ°ΠΌ
ΠΠΎΡΠΎΠ²Ρ Π½Π°ΡΠ°ΡΡ? ΠΠΎΠ΄Π°ΠΉΡΠ΅ Π·Π°ΡΠ²ΠΊΡ Π½Π° ΠΏΡΠΈΠ΅ΠΌ Π² ΡΠ½Π²Π°ΡΠ΅ 2022Β Π³ΠΎΠ΄Π°.
ΠΡΠΈ ΠΏΠΎΠ΄Π°ΡΠ΅ Π·Π°ΡΠ²Π»Π΅Π½ΠΈΡ Π²Π°ΠΌ Π½Π΅ΠΎΠ±Ρ ΠΎΠ΄ΠΈΠΌΠΎΒ ΠΏΡΠ΅Π΄ΡΡΠ°Π²ΠΈΡΡ ΠΏΠΎΠ΄ΡΠ²Π΅ΡΠΆΠ΄Π΅Π½ΠΈΠ΅Β ΡΠΎΠΎΡΠ²Π΅ΡΡΡΠ²ΠΈΡ ΡΠ»Π΅Π΄ΡΡΡΠΈΠΌ ΡΡΠ΅Π±ΠΎΠ²Π°Π½ΠΈΡΠΌ Π΄Π»Ρ ΠΏΠΎΡΡΡΠΏΠ»Π΅Π½ΠΈΡ.
Π‘ΠΎΠ²Π΅Ρ: Β ΠΡΠ»ΠΈ ΡΠΊΠ°Π·Π°Π½Π° Π±ΡΠΊΠ²Π΅Π½Π½Π°Ρ ΠΎΡΠ΅Π½ΠΊΠ°, Ρ Π²Π°Ρ Π΄ΠΎΠ»ΠΆΠ½ΠΎ Π±ΡΡΡ ΠΏΠΎΠ΄ΡΠ²Π΅ΡΠΆΠ΄Π΅Π½ΠΈΠ΅ ΡΡΠΎΠΉ ΠΈΠ»ΠΈ Π±ΠΎΠ»Π΅Π΅ Π²ΡΡΠΎΠΊΠΎΠΉ ΠΎΡΠ΅Π½ΠΊΠΈ.
ΠΠ΄ΠΈΠ½ ΠΈΠ·:
- C Π½Π° Π°Π½Π³Π»ΠΈΠΉΡΠΊΠΎΠΌ ΡΠ·ΡΠΊΠ΅ 12
- C Π½Π° Π°Π½Π³Π»ΠΈΠΉΡΠΊΠΎΠΌ ΡΠ·ΡΠΊΠ΅ 12 Camosun Alternative
ΠΈ ΠΎΠ΄ΠΈΠ½ ΠΈΠ·:
- C Π² Pre-Calculus 11 ΠΈΠ»ΠΈ ΠΏΡΠΈΠ½ΡΠΈΠΏΠ°Ρ ΠΌΠ°ΡΠ΅ΠΌΠ°ΡΠΈΠΊΠΈ
- C Π² ΠΌΠ°ΡΠ΅.
