Выключатель быстродействующий ВБ-8
Выключатель предназначен для защиты цепей тяговых двигателей электровоза от токов короткого замыкания и перегрузок.
В электрической схеме эл-воза условно обозначены как QF11, QF12, QF13
Технические характеристики
Номинальное напряжение главной цепи, В………………….. 1250
Номинальный ток главной цепи, А………………………………. 1000
Ток уставки, А………………………………………………………. 2000+ -200100
Пределы регулирования тока уставки, А………………. 1500…2500
Собственное время отключения при начальной скорости нарастания тока
150 А/мс, мс, не более…………………………………………………… 3
Номинальное напряжение цепи управления постоянного тока, В 50
Номинальный ток удерживающей катушки, А……………
……. 0,5
Номинальное сопротивление катушек при 20 °С, Ом:
удерживающей……………………………………………………………. 90
включающей (электромагнитного вентиля)……………………. 286
Параметры контактов в цепи управления:
Номинальное напряжение, В…………………………………………. 50
Номинальный отключаемый ток
(при постоянной времени 0,05 с), А………………………………… 5
Количество вспомогательных контактов:
замыкающих………………………………………………………………… 2
размыкающих………………………………………………………………. 2
Номинальное давление сжатого воздуха привода, кгс/см2 5
Масса, кг………………………………………………………………….. 79,5
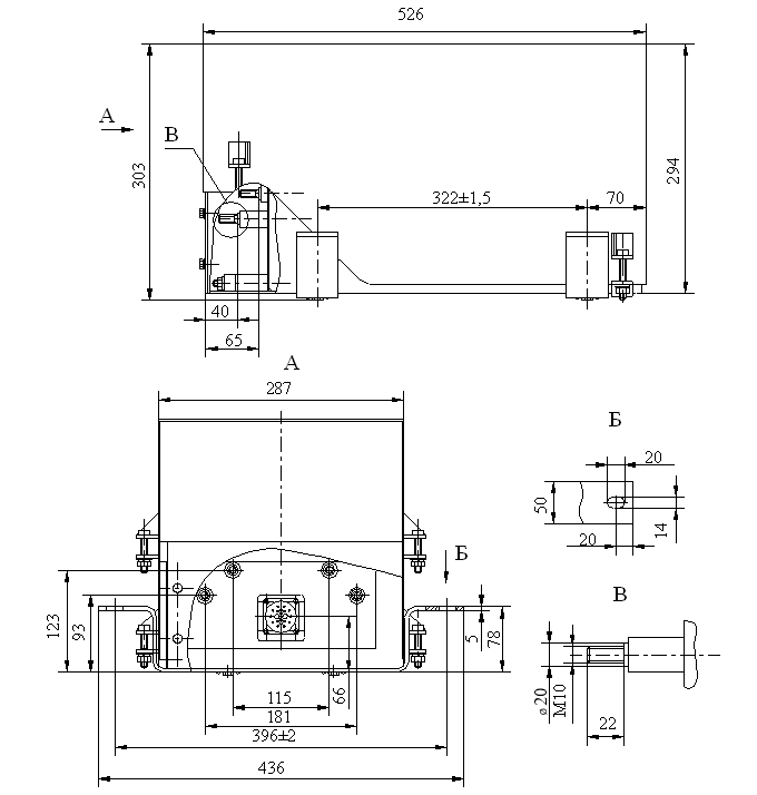
Устройство
Все основные узлы выключателя ВБ-8 крепятся на раме, которая состоит из двух изоляционных боковин 28 (см.
приложение 3), склепанных по концам распорками 6. В них имеются отверстия, с помощью которых производится крепление выключателя на электровозе.
Между изоляционными боковинами расположены два силуминовых кронштейна 7 и 26 и пневматический привод 3. К кронштейнам крепится изоляционная панель 20 с расположенными на ней неподвижным контактом 18, магнитной дугогасительной системой и низковольтными блокировками 23.
Контактный рычаг 8 (см. приложение 2), рычаг якоря 9 и электромагнит 2 с удерживающей катушкой 27 и размагничивающей катушкой 4 размещены на оси 5, установленной на раме выключателя.
Две отключающие пружины 10 зацеплены одним концом за тягу 12, а другим концом – за якорь. Усилие обеих пружин через стержень 13 передается на ось 14, установленную на электромагните.
Между контактным рычагом и якорем установлены две группы контактных пружин сжатия 11. Каждая группа состоит из трех концентрически расположенных пружин.
Регулировочные винты 20 служат для регулировки тока уставки.
Дугогасительная система выключателя состоит из магнитопровода 21, двух дугогасительных катушек 19, полюсов 17 и лабиринтно-щелевой дугогасительной камеры 16 с резисторными элементами и деионной решеткой.
Верхний рог 15 дугогасительной камеры электрически соединен с подвижным контактом через гибкий шунт и стойку, с которой он шарнирно связан. Нижний рог камеры опирается на неподвижный контакт. Нажатие на неподвижный контакт рогом осуществляется при помощи пружины замка. Для управления доступом воздуха в цилиндр привода установлены электромагнитный вентиль 22 (см. приложение 2) и воздухопроводы 1 и 25. На выключателе применены две универсальные блокировки 23 с сочетанием контактов: один размыкающий и один замыкающий.
Регулировка зазора и провала контактов блокировок осуществляется винтом, переключение – пружиной 24.
Принцип работы
Оперативное включение выключателя осуществляется путем подачи напряжения на удерживающую катушку электромагнита и включающую катушку (электромагнитного вентиля) (см.
Электромагнитный вентиль включается кратковременно для подачи сжатого воздуха в пневматический привод.
Шток пневматического привода поворачивает электромагнит до соприкосновения с якорем. В этом положении якорь притягивается к полюсам электромагнита – выключатель готов к включению, главные контакты разомкнуты.
После снятия напряжения с катушки вентиля шток пневматического привода возвращается в исходное положение. В исходное положение также, под действием отключающих пружин, возвращается электромагнит, увлекая за собой якорь и контактный рычаг, главные контакты замыкаются. При этом, после соприкосновения главных контактов, якорь с электромагнитом за счет избыточного вращающего момента поворачивается до упора на дополнительный угол, обеспечивающий провал главных контактов.
Выключатель поляризованного действия. Ток в размагничивающей катушке создает поток в якоре, направленный встречно потоку в якоре от удерживающей катушки.
При достижении тока уставки результирующий магнитный поток в якоре уменьшается. Якорь под действием сил отключающих и контактных пружин отрывается от полюсов электромагнита и ударяет по контактному рычагу. Выключатель отключается. Электрическая дуга, возникающая при расхождении главных контактов, гасится в дугогасительной камере.
Принудительное отключение выключателя осуществляется снятием напряжения с удерживающей катушки электромагнита.
Реле
Под реле подразумевается электрический аппарат, который срабатывает, т.е. замыкает одни и размыкает другие контакты под воздействием различных факторов:
1. При подаче напряжения на катушку (промежуточные реле).
2. При увеличении тока сверх заданного (токовое реле).
3. При повышении или понижении температуры (термо реле).
4. При повышении частоты сверх заданного вращения (реле оборотов).
5. При истечении заданного времени (реле времени).
6. При определённом давлении (реле давления).
В каждой группе, реле различаются между собой числом замыкающих и размыкающих силовых контактов и сочетанием блокировочных контактов, а так же напряжением, током и мощностью, на которую рассчитан.
Дата добавления: 2017-06-13; просмотров: 9242; ЗАКАЗАТЬ НАПИСАНИЕ РАБОТЫ
Быстродействующий выключатель ВБ-8 электровоз 3ЭС5К, Автоматизация технологических процессов
Пример готовой курсовой работы по предмету: Автоматизация технологических процессов
Содержание
Содержание
Введение 3
1 Общие сведения о быстродействующем выключателе ВБ– 8 4
1.1 Назначение, устройство и принцип действия быстродейстующего выключателя ВБ– 8 4
1.2 Неисправности ВБ– 8 в эксплуатации 9
1.3 Техническое обслуживание и ремонт 11
1.4 Охрана труда 13
2 Схема цепей управления тяговыми электродвигателями QF11;QF12 14
2.
1 Управление тяговыми двигателями в режиме тяги 14
2.2 Управление тяговыми двигателями в режиме рекуперативного торможения 19
Заключение 24
Литература 25
ПРИЛОЖЕНИЕ 1 26
ПРИЛОЖЕНИЕ 2 27
Выдержка из текста
Быстродействующий выключатель – коммутационный аппарат, применяющийся в системах тягового электроснабжения и на электроподвижном составе для защиты электрических цепей постоянного тока при коротких замыканиях и перегрузках, а также для оперативных отключений. БВ характеризуется отключающей способностью, выражающейся наибольшим значением тока короткого замыкания, который они надёжно отключают при наиболее неблагоприятных условиях.
Объектом данной работы является быстродействующий выключатель ВБ– 8 электровоза
3 ЭС 5К. Быстродействующий выключатель предназначен для защиты электрооборудования электропоезда от токов короткого замыкания и перегрузок. Собственное время срабатывания выключателя составляет несколько миллисекунд, поэтому при его отключении ток короткого замыкания не успевает достигнуть максимума и ограничивается значением, не опасным для электрооборудования.
Целью данной работы является рассмотрение быстродействующего выключателя ВБ– 8 электровоза
3 ЭС 5К.
Для достижения поставленной цели необходимо решить ряд задач, а именно:
рассмотреть назначение, технические данные, устройство и принцип работы ВБ– 8;
разобрать основные неисправности ВБ– 8 в эксплуатации и пути их решения;
рассмотреть вопросы техническог обслуживания и ремонт, охраны труда ВБ– 8;
ознакомиться со схемой цепей управления тяговыми электродвигателями QF11;QF12.
Список использованной литературы
Литература
1 Кабанцев А. А. Электрическая схема электровоза переменного тока
2 ЭС 5К (3ЭС 5К) и его обслуживание / А. А. Кабанцев. – М.: РЖД, 2007. – 240 с.
2 Ровкин А. А. Электровоз 2(3)ЭС 5К, Э 5К. Руководство по техническому обслуживанию, текущему и деповскому ремонту / А. А. Ровкин. – М.: РЖД, 2011. – 148 с.
3 Дядичко Н.
В. Электровоз магистральный
2 ЭС 5К (3ЭС 5К).
Руководство по эксплуатации. Книга 1 Описание и работа. Электрические схемы / Н. В. Дядичко. – М.: НЭВЗ, 2006. – 254 с.
4 Неисправности электровоза 2(3)ЭС 5К [Электронный ресурс].
– Режим доступа: http://igorsaharok.blogspot.ru/2015/10/25.html
5 Выключатель быстродействующий ВБ– 8 электровоза 2(3)ЭС 5К [Электронный ресурс].
– Режим доступа: http://oplib.ru/random/view/454491
VB Многопозиционный концевой выключатель/Технические характеристики | OMRON Industrial Automation
Последнее обновление: 21 января 2022 г.
Утвержденные стандарты
| Агентство | Стандарты | Файл № | Одобренные модели |
|---|---|---|---|
| ТЮФ Рейнланд | ЭН60947-5-1 (МЭК947-5-1) | Дж50062491 | Только модели с клеммами заземления |
| ССС (ККК) | ГБ/T14048,5 | Свяжитесь с вашим OMRON представителя для получения подробной информации. ![]() | Обратитесь к представителю OMRON за информация о проверенных моделях. |
Характеристики
Стандартная модель
| Номинальное напряжение | Резистивная нагрузка | |
|---|---|---|
| НЗ | НЕТ | |
| 125 В переменного тока 250 В переменного тока | 10 А 10 А | |
| 125 В пост. тока 250 В пост. тока | 0,6 А 0,3 А | |
Примечание.
Вышеупомянутые токи являются установившимися токами.
| Пусковой ток | НЗ | 24 А макс. |
|---|---|---|
| НЕТ | 24 А макс. |
Номинальные микронагрузки
| Номинальное напряжение | Резистивная нагрузка |
|---|---|
| 125 В переменного тока | 0,1 А |
| 8 В пост. тока 30 В пост. тока |
Утвержденные стандартные характеристики
TÜV (EN60947-5-1) (только для моделей Grand Terminal)
Стандартная модель
| Применимая категория | АС-15 | DC-15 |
|---|---|---|
| Номинальный рабочий ток (Ie) | 2 А | 2 А |
| Номинальное рабочее напряжение (Ue) | 250 В | 48 В |
Модель с микронагрузкой
| Применимая категория | АС-14 | DC-15 |
|---|---|---|
| Номинальный рабочий ток (Ie) | 0,1 А | 0,1 А |
| Номинальное рабочее напряжение (Ue) | 125 В | 30 В |
ККЦ (ГБ/T14048.
5)| Применимые категории и рейтинги |
|---|
| AC-15 2 А/250 В перем. тока |
Характеристики
| Степень защиты | IP67 | |
|---|---|---|
| Прочность * | Механический | 5 000 000 операций мин. |
| Электрика | 300 000 операций мин. (10 А при 250 В переменного тока, резистивная нагрузка) | |
| Рабочая скорость | от 0,1 мм до 0,5 м/с | |
| Рабочая частота | Механический | 120 операций мин.![]() |
| Электрика | 30 операций мин. | |
| Номинальная частота | 50/60 Гц (перем. ток) | |
| Сопротивление изоляции | 100 МОм мин. (при 500 В постоянного тока) | |
| Контактное сопротивление | 15 мОм макс. (начальное значение) | |
| Диэлектрик Прочность | Между клеммами одной полярности | 1000 В перем. тока/ед. имп. 4000 В перем. тока |
| Между токоведущими металлическими частями и земля | 1500 В перем. тока/ед. имп. 4000 В перем. тока | |
| Между каждой клеммой и непроводящей ток металлической частью | 1500 В перем. тока/ед. имп. 4000 В перем. тока | |
| Между клеммами разной полярности | U имп 4 кВ (EN60947-5-1) | |
| Номинальное напряжение изоляции (Ui) | 300 В переменного тока (EN60947-5-1) | |
| Переключение по перенапряжению | 1000 В макс. (EN60947-5-1) | |
| Степень загрязнения (рабочая среда) | 3 (EN60947-5-1) | |
| Устройство защиты от короткого замыкания (УЗКЗ) | Предохранитель 10 А типа gG или gI (IEC269) | |
| Условный ток короткого замыкания | 100 А (EN60947-5-1) | |
| Условный тепловой ток в закрытом корпусе (Ithe) | 5 А, 0,5 А (EN60947-5-1) | |
| Защита от поражения электрическим током | Класс изоляции I (Используйте клемму заземления или заземление на стороне машины. ) | |
| Вибрация Сопротивление | Неисправность | от 10 до 55 Гц, двойная амплитуда 1,5 мм |
| Ударопрочность Устойчивость | Разрушение | 1000 м/с 2 мин. |
| Неисправность | 200 м/с 2 мин. | |
| Рабочая температура окружающей среды | от -10°C до 80°C (без обледенения) | |
| Рабочая влажность окружающей среды | от 35% до 95% | |
| Вес | Прибл. 580 г (в случае VB-4211) | |
Примечание. Приведенные выше значения являются исходными.
* Значения рассчитаны для рабочей температуры от 5°C до 35°C и рабочей влажности от 40% до 70%.
Для получения более подробной информации о других операционных средах обратитесь к торговому представителю OMRON.
Последнее обновление: 21 января 2022 г.
RocketLinx ES7110-VB – Pepperl+Fuchs Comtrol
Неуправляемый промышленный коммутатор Power over Ethernet с повышенным напряжением, восемью портами IEEE 802.3af PoE и двумя портами Gigabit.
Номер детали: 32049-4
| Международные спецификацииDeutsch – SpezifikationenCahier des Charges FrançaisEspecificaciones EspañolSpecifiche ItalianoEspecificações Português |
- основные моменты
- Обзор
- Технические характеристики
- Где купить
- Опора
- Загрузки
- Неуправляемый коммутатор Industrial PoE Plus с восемью портами инжектора 10/100BASE-TX PoE и двумя портами Gigabit uplink
- Прочный коммутатор PoE с поддержкой технологии plug-and-play
- Технология повышения напряжения, поддерживающая источники входного питания 8–32 В постоянного тока для транспортных, охранных и промышленных приложений
- PoE, совместимый со стандартом IEEE 802.
3af, с общим бюджетом выходной мощности 65 Вт (максимум 15,4 Вт на каждый порт) - Поддержка QoS для оптимизации видео и потока VoIP
- Расширенный диапазон рабочих температур (от -25°C до +60°C)
- Сигнальное реле для оповещения об отказах и событиях
- Корпус из промышленного алюминия IP30
- DIN-рейка/установка на стену
Загрузить трафареты VISIO
- основные моменты
- Обзор
- Технические характеристики
- Где купить
- Опора
- загрузок
RocketLinx ES7110-VB — это PoE-коммутатор, совместимый со стандартом IEEE 802.3af, предназначенный для подключения широкого спектра промышленного PoE-оборудования, такого как IP-камеры наблюдения, беспроводные точки доступа, торговые точки и другие устройства, использующие автомобильное напряжение 12/24 В. источники питания или стандартная промышленная мощность 24 В.
RocketLinx ES7110-VB оснащен восемью портами коммутатора 10/100BASE-TX PoE, каждый из которых обеспечивает мощность до 15,4 Вт, и двумя восходящими портами Ethernet 10/100/1000BASE-TX (Gigabit) для передачи данных на сеть.
ES7110-VB поддерживает QoS, что обеспечивает высокое качество передачи видеотрафика за счет настройки приоритета передачи данных.
ES7110-VB имеет удобную проводку со стандартной 4-контактной клеммной колодкой промышленного назначения для ввода питания и выходным контактом реле неисправности. Кроме того, для каждого порта Ethernet предусмотрена функция Port Link Alarm, которая может быть настроена на автоматическое срабатывание при проблемах с подключением, предупреждение администраторов о ненормальных условиях работы и обеспечение быстрого решения проблем с сетью.
В дополнение к расширенным возможностям PoE и сети, ES7110-VB предназначен для промышленных приложений и развертывания в суровых условиях. Благодаря жесткому алюминиевому корпусу со степенью защиты IP30 и расширенному диапазону рабочих температур обеспечивается стабильная работа в таких условиях, как общественный транспорт, заводы и наружные установки.
Включает:
- PoE-коммутатор RocketLinx ES7110-VB
- Руководство по быстрой установке
- основные моменты
- Обзор
- Технические характеристики
- Где купить
- Опора
- загрузок
Загрузить спецификации A&E
Аппаратное обеспечение
- Сетевой интерфейс 10/100BASE-TX IEEE 802.
3af-совместимый PoE
Гигабитный восходящий канал 10/100/1000BASE-TX - Установка Установка на DIN-рейку или настенное крепление
- Корпус Металлический корпус класса IP30
- Светодиодные индикаторы Питание, состояние PoE
Ethernet-соединение/активность и скорость соединения, сигнализация - Сигнализация реле Сухой релейный выход
Уведомление о сбое для каждого порта (включение/выключение с помощью DIP-переключателя)
1A Макс. @24 В постоянного тока - Размеры 4,75” x 2,6” x 5,9”
12,07 x 6,6 x 14,99 см - Вес изделия 2,2 фунта
1 кг
Спецификация Ethernet
- Типы кабелей CAT5, CAT5e, CAT6 (UTP или STP)
- Тип разъема RJ45
- Расстояние соединения 100 метров
- Количество портов 10
- Порты Тип (8) 10/100BASE-TX IEEE 802.
3af Жалоба PoE
(2) 10/100/1000BASE-TX Uplink Auto MDI/MDIX, Auto Negotiation - Стандарты IEEE 802.1p Класс обслуживания
IEEE 802.3af Power over Ethernet
IEEE 802.3 10BASE-T
IEEE 802.3u 100BASE-TX
IEEE 802.3ab 1000BASE-TX
IEEE 802.3x Управление потоком и противодавление - Размер пакета передачи От 64 байт до 1522 байт (с тегированными и немаркированными кадрами)
Технические характеристики Power over Ethernet
- Максимальная выходная мощность/порт PoE (макс.) 15,4 Вт
- Количество портов инжектора PoE 8
- Назначение контактов PoE RX (1, 2)
TX (3, 6)
V+ (4, 5)
V- (7, 8) - Режим PoE Альтернатива B
- Стандартный IEEE 802.3af Power Over Ethernet (PoE)
- Выход стандартного напряжения PoE Да.
Совместимость с IEEE 802.3af
48 В постоянного тока - Общий бюджет мощности PoE 65 Вт
Электрические характеристики
- Устройство
- Входное напряжение постоянного тока 8–32 В постоянного тока
- Потребляемая мощность без нагрузки частичного разряда 11 Вт при 24 В пост. тока
- Потребляемая мощность (с нагрузкой частичного разряда) 9,8 Вт при 12 В постоянного тока
- Количество разъемов питания 1
- Тип разъема питания 4-контактная винтовая клеммная колодка
- Защита от обратной полярности Да
- Релейный выход 1 А Макс. при 24 В постоянного тока
Производительность сети
- Противодавление IEEE 802.3x 1000 Мбит/с, только полудуплекс
- Класс обслуживания (CoS) IEEE 802.
1p 4/Port Priority Queues - Кадр паузы управления потоком IEEE 802.3x 10/100/1000 Мбит/с, полный дуплекс
- Память буфера пакетов 1 Мбит
- Switch Technology 32 Гбит/с, неблокирующая коммутационная матрица
Store and Forward Switch Technology
8K MAC-адрес
Условия окружающей среды
- Температура воздуха
- Система включена от -25° до 60° C
- Система выключена от -40° до 80° C
- Рабочая влажность (без конденсации) от 0 до 95 %
- Влажность при хранении (без конденсации) от 0% до 95%
- MTBF (среднее время наработки на отказ) 22,83 года
Экспортная информация
- Масса в упаковке 3,1 фунта
1,41 кг - Размеры упаковки 11,3” x 90,1 x 5,5 дюйма
28,7 x 23,11 x 13,97 см - Код UPC 7-56727-32049-4
- ECCN 5A991
- Приложение B Номер 8517.
62.0050
Разрешения регулирующих органов
- Выбросы Канадские требования по электромагнитной совместимости
ICES-003
Европейский стандарт EN55022
CISPR 22
FCC, часть 15, подраздел B
Ограничение класса A - Иммунитет Европейский стандарт EN55024:
IEC 1000-4-2/EN61000-4-2: ESD
IEC 1000-4-3/EN61000-4-3: RF
IEC 1000-4-4/EN61000-4-4: быстрые переходные процессы/импульсы
IEC 1000-4-5/EN61000-4-5: скачки напряжения
IEC 1000-4-6/EN61000-4-6: Кондуктивные помехи
IEC 1000-4-6/EN61000-4-8: Магнитное поле - Безопасность IEC 60950/EN60950 (В ПЕРЕЧИСЛЕНИИ)
CSA C22.2 № 60950/UL60950 - Разрешения регулирующих органов
- основные моменты
- Обзор
- Технические характеристики
- Где купить
- Опора
- загрузок
Найти дистрибьютора
» Промышленные дистрибьюторы
» Североамериканские дистрибьюторы
» Международные дистрибьюторы
Предпродажные вопросы
Отдел предпродажной подготовки Pepperl+Fuchs Comtrol
По вопросам продаж обращайтесь к торговому посреднику или с вопросами.
+1 330 486 0001
Факс: +1 330 405 4710
[email защищен]
Pepperl+Fuchs Comtrol, отдел продаж промышленной автоматизации
По вопросам продаж или для поиска ближайшего к вам промышленного дистрибьютора.
+1 330 486 0001
Факс: +1 330 405 4710
[адрес электронной почты защищен]
- основные моменты
- Обзор
- Технические характеристики
- Где купить
- Опора
- загрузок
Документация
Информация о поддержке и обслуживании продукта
Служба поддержки продаж
Звоните по телефону +1 330 486 0001 или пишите по электронной почте [email protected]
Служба технической поддержки
Чтобы получить техническую помощь, наша служба технической поддержки в США находится на расстоянии одного телефонного звонка.
Звоните по телефону +1.330.486.0001 или посетите наш форум.


тока
тока/ед. имп. 4000 В перем. тока
(EN60947-5-1)
)
580 г (в случае VB-4211)
3af, с общим бюджетом выходной мощности 65 Вт (максимум 15,4 Вт на каждый порт)
3af-совместимый PoE
3af Жалоба PoE
Совместимость с IEEE 802.3af
1p 4/Port Priority Queues
62.0050