Преобразование переменного тока в постоянный
Электрический ток протекает в различных средах: металлах, полупроводниках, жидкостях и газах. При этом он может быть постоянным или переменным. В статье рассмотрим отдельно постоянный и переменный ток, а также преобразование переменного тока в постоянный.
Постоянный ток и его источники
У постоянного тока величина и направление не изменяются с течением времени. На современных приборах он обозначается буквами DC — сокращением от английского Direct Current (в дословном переводе – прямой ток). Его графическое обозначение:
Источниками постоянного тока являются батарейки и аккумуляторы. На нем работают все полупроводниковые электронные устройства: мобильные телефоны, компьютеры, телевизоры, спутниковые системы. Для питания этих устройств от сети переменного тока в их входят блоки питания. Они понижают напряжение сети до нужной величины и преобразуют переменный ток в постоянный. Зарядные устройства для аккумуляторов тоже питаются от сети переменного тока и выполняют те же функции, что и блоки питания.
Переменный ток и его параметры
У переменного тока направление и величина циклически изменяются во времени. Цикл одного полного изменения (колебания) называется периодом (T), а обратная ему величина – частотой (f). Буквенное обозначение переменного тока – АС, сокращение от Alternating Current (знакопеременный ток), а графически он обозначается отрезком синусоиды:
̴
После этого знака указывается напряжение, иногда – частота и количество фаз.
Переменный ток характеризуется параметрами:
| Характеристика | Единица измерения | Описание | |
| Число фаз | Однофазный | ||
| Трехфазный | |||
| Напряжение | U | вольт | Мгновенное значение |
| Амплитудное значение | |||
| Действующее значение | |||
| Фазное | |||
| Линейное | |||
| Период | Т | секунда | Время одного полного колебания |
| Частота | f | герц | Число колебаний за 1 секунду |
Однофазный ток в чистом виде получается при помощи бензиновых и дизельных генераторов. В остальных случаях он – часть трехфазного, представляющего собой три изменяющихся по синусоидальному закону напряжения, равномерно сдвинутых друг относительно друга. Этот сдвиг по времени называется углом сдвига фаз и составляет 1/3Т.
Для передачи трехфазных напряжений используют четыре провода. Один является их общей точкой и называется нулевым (N), а три остальные называются фазами
Графики напряжений трехфазного переменного токаНапряжение между фазами называется линейным, а между фазой и нулем – фазным, оно меньше линейного в √3 раз. В нашей сети фазное напряжение равно 220 В, а линейное – 380 В.
Под мгновенным значением напряжения переменного тока понимают его величину в определенный момент времени t. Она изменяется с частотой f. Мгновенное значение напряжения в точке максимума называется амплитудным значением. Но не его измеряют вольтметры и мультиметры. Они показывают величину, в √2 раз меньшую, называемую
Характеристики трехфазного токаДостоинства и недостатки переменного напряжения
Так почему же для энергоснабжения выбрали переменный ток, а не постоянный?
При передаче электроэнергии ток проходит по проводам, длиной сотни километров, нагревая их и рассеивая в воздухе энергию. Это неизбежно как для постоянного, так и для переменного токов. Но мощность потерь зависит только от сопротивления проводов и тока в них:
Мощность, которую передается по линии, равна:
Отсюда следует, что при увеличении напряжения для передачи той же мощности нужен меньший ток, и мощность потерь при этом уменьшается. Вот поэтому протяженных ЛЭП напряжение повышают. Есть линии на 6кВ, 10кВ, 35кВ, 110кВ, 220кВ, 330кВ, 500кВ, 750кВ и даже 1150кВ.
Но в процессе передачи электроэнергии от источника к потребителю напряжение нужно неоднократно изменять. Проще это сделать на переменном токе, используя трансформаторы.
Недостатки переменного тока проявляются при передаче энергии по кабельным линиям. Кабели имеют емкостное сопротивление между фазами и относительно земли, а емкость проводит переменный ток. Появляется утечка, нагревающая изоляцию и выводящая со временем ее из строя.
Преобразование переменного тока в постоянный и наоборот
Процесс получения из переменного тока постоянного называется выпрямлением, а устройства – выпрямителями. Основная деталь выпрямителя – полупроводниковый диод, проводящий ток только в одном направлении. В результате выпрямления получается пульсирующий ток, меняющий со временем свою величину, но не изменяющий знак.
Затем пульсации устраняют при помощи фильтров, простейшим из них является конденсатор. Полностью пульсации устранить невозможно, а их конечный уровень зависит от схемы выпрямителя и качества фильтра. Сложность и стоимость выпрямителей зависит от величины пульсаций на выходе и от максимальной мощности на выходе.
Схема простейшего выпрямителя
Графики работы выпрямителяДля преобразования в переменный ток используются инверторы. Принцип их работы состоит в генерации переменного напряжения с формой, максимально приближенной к синусоидальной. Пример такого устройства – автомобильный инвертор для подключения к бортовой сети бытовых приборов или инструмента.
Чем качественнее и дороже инвертор, тем больше его мощность или точнее выдаваемое им напряжение приближается к синусоиде.
Оцените качество статьи. Нам важно ваше мнение:
electric-tolk.ru
Постоянный переменный ток – Всё о электрике в доме
В 21-веке электроника стала очень популярной. Многие люди хотят узнать больше о радиотехнике и начинают читать специальные книги, хотя многое в книгах не понятно. И поэтому начинают путаться, задавать много вопросов. Не могут найти подходящие и понятные сайты о электронике, где можно вкратце и просто понять что к чему. Но что-то мы далеко ушли, ладно давайте приступим к делу. Задача — рассказать всё подробнее и понятнее о постоянном и переменном токе.
Постоянный ток
До того времени, когда не было радиоприёмников и радиосвязи, был ток который тёк в одну сторону — его назвали постоянным, на графике он изображается прямой линией, как показано на рисунке ниже.
Давайте разберёмся, каков принцип работы этого тока, а он очень прост. Потому что постоянный ток течёт только в одну сторону. На мощных электростанциях вырабатывается переменный ток, его нужно сделать в постоянный. Постоянный ток может создать только гальванический элемент. Гальванический элемент — это элемент вырабатывающим постоянный ток, то есть обычная батарейка. Принцип работы батарейки разбирать не будем, нам сейчас главное, чтобы в вашей памяти уложился только постоянный и переменный ток. Допустим, мы выработали постоянный ток, он начнёт двигаться от плюса к минусу, это обязательно запомнить.

Переменный ток
Теперь переходим к переменному току, всё радиосвязь появилась, переменный ток стал изюминкой. Рассмотрим график переменного тока. Вы сразу обратили внимание на эти странные буквы, они нам не нужны, кроме одной – Т. У переменного тока есть особенность, он может менять своё направление, например: он, движется то в одну сторону, потом в другую. Этот процесс называется колебанием или периодом. На рисунке период обозначен этой самой буквой Т. Видно, что выше оси t волна, и ниже её, тоже волна. Это значит, что выше оси это движение к плюсу, а ниже, движение к минусу, проще говоря, это положительный полупериод, почему полупериод, потому что два полупериода равны T, то есть равны периоду, значит они всё таки полупериоды. Период — то же самое, что и колебание. Несколько колебаний совершённые в 1 секунду называют частотой. Итак, разобрались, что такое постоянный и переменный ток, думаю что разобрались.
Запомните: В розетке всегда 220 В переменного тока — он очень опасный. Один удар может даже убить человека, поэтому соблюдайте осторожность!
В памяти у вас должно отложиться: движение постоянного и переменного тока; графики постоянного и переменного тока; что такое частота, полупериод, период.

Кстати забыл сказать, в чём измеряется частота. Запомните: частота измеряется в
Чем постоянный ток отличается от переменного и как преобразовывается?
Постоянный электрический ток — это движение частиц с зарядом в определенном направлении. То есть его напряжение или сила (характеризующие величины) имеют одно и то же значение и направление. Это то, чем постоянный ток отличается от переменного. Но рассмотрим все по порядку.

История появления и «войны токов»
Постоянный ток раньше называли гальваническим из-за того, что его открыли в результате гальванической реакции. Томас Эдисон пробовал передавать его по линиям электрических передач. В то время велись нешуточные споры между учеными по этому вопросу. Они даже получили название «войны токов». Решался вопрос о выборе в качестве основного, переменного или постоянного. «Борьба» была выиграна переменным видом, так как постоянный несет существенные потери, передаваясь на расстоянии. Зато трансформировать переменный вид не составляет никакого труда, это то, чем постоянный ток отличается от переменного. Поэтому последний легко передавать даже на огромные расстояния.

Источники постоянного электрического тока
В качестве источников могут служить аккумуляторы или другие приборы, где он возникает посредством химической реакции.
Это и генераторы, где он получается в результате электромагнитной индукции, а после этого выпрямляется за счет коллектора.
Применение
В различных устройствах постоянный ток применяется довольно часто. С ним работают, например, многие бытовые приборы, зарядные устройства и генераторы автомобиля. Любой портативный аппарат запитывается от источника, вырабатавающего постоянный вид.
В промышленных масштабах его применяют в двигателях и аккумуляторах. А в некоторых странах им оснащают высоковольтные линии электропередач.
В медицине с помощью постоянного электрического тока проводят оздоровительные процедуры.
На железной дороге (для транспорта) используют и переменный, и постоянный виды.
Переменный ток
Чаще всего, впрочем, применяют именно его. Здесь среднее значение силы и напряжения за определенный период равны нулю. По величине и направлению он постоянно изменяется, причем с равными промежутками времени.

Чтобы вызвать переменный ток, используют генераторы, в которых во время электромагнитной индукции возникает электродвижущая сила. Это осуществляется при помощи магнита, вращаемого в цилиндре (роторе), и статора, выполненного в виде неподвижного сердечника с обмоткой.
Переменный ток используют в радио, телевидении, телефонии и многих других системах ввиду того, что его напряжение и силу возможно преобразовывать, почти не теряя энергию.
Широко применяют его и в промышленности, а также в целях освещения.
Он может быть однофазным и многофазным.
Переменный ток, который изменяется согласно синусоидальному закону, является однофазным. Он изменяется в течение определенного промежутка времени (периода) по величине и направлению. Частота переменного тока является числом периодов за секунду.

Во втором случае самое большое распространение получил трехфазный вариант. Это система из трех электроцепей, которые имеют одинаковую частоту и ЭДС, сдвинуты по фазе на 120 градусов. Ее используют для питания электрических двигателей, печей, осветительных приборов.
Многими разработками в сфере электричества и практическим их применением, а также воздействием на переменный ток высокой частоты человечество обязано великому ученому Николе Тесла. До сих пор не все его труды, оставшиеся потомкам, являются познанными.
Чем постоянный ток отличается от переменного и каков его путь от источника до потребителя?
Итак, переменным называют ток, способный меняться по направлению и величине в течение определенного времени. Параметры, на которые при этом обращают внимание, это частота и напряжение. В России в бытовых электрических сетях подают переменный ток, имеющий напряжение 220 В и частоту 50 Гц. Частота переменного тока — это количество изменений направления частиц определенного заряда за секунду. Получается, что при 50 Гц он меняет свое направление пятьдесят раз, в чем постоянный ток отличается от переменного.
Его источником являются розетки, к которым подключают бытовые приборы под различным напряжением.
Переменный ток начинает свое движение от электрических станций, где имеются мощные генераторы, откуда он выходит с напряжением от 220 до 330 кВ. Далее переходит в трансформаторные подстанции, которые находятся вблизи домов, предприятий и остальных конструкций.
В подстанции ток попадает под напряжением 10 кВ. Там он преобразовывается в трехфазное напряжение 380 В. Иногда с таким показателем ток переходит непосредственно на объекты (где организовано мощное производство). Но в основном его снижают до привычных во всех домах 220 В.

Преобразование
Понятно, что в розетках мы получаем переменный ток. Но часто для электрических приборов необходим постоянный вид. Для этой цели служат специальные выпрямители. Процесс состоит из следующих действий:
- подключение моста с четырьмя диодами, имеющих необходимую мощность;
- подключение фильтра или конденсатора на выход с моста;
- подключение стабилизаторов напряжения для уменьшения пульсаций.
Преобразование может происходить как из переменного в постоянный ток, так и наоборот. Но последний случай будет реализовать значительно труднее. Потребуются инверторы, которые, помимо прочего, стоят совсем недешево.
11 странных признаков, указывающих, что вы хороши в постели Вам тоже хочется верить в то, что вы доставляете своему романтическому партнеру удовольствие в постели? По крайней мере, вы не хотите краснеть и извин.
Эти 10 мелочей мужчина всегда замечает в женщине Думаете, ваш мужчина ничего не смыслит в женской психологии? Это не так. От взгляда любящего вас партнера не укроется ни единая мелочь. И вот 10 вещей.
Непростительные ошибки в фильмах, которых вы, вероятно, никогда не замечали Наверное, найдется очень мало людей, которые бы не любили смотреть фильмы. Однако даже в лучшем кино встречаются ошибки, которые могут заметить зрител.
7 частей тела, которые не следует трогать руками Думайте о своем теле, как о храме: вы можете его использовать, но есть некоторые священные места, которые нельзя трогать руками. Исследования показыва.
15 симптомов рака, которые женщины чаще всего игнорируют Многие признаки рака похожи на симптомы других заболеваний или состояний, поэтому их часто игнорируют. Обращайте внимание на свое тело. Если вы замети.
Никогда не делайте этого в церкви! Если вы не уверены относительно того, правильно ведете себя в церкви или нет, то, вероятно, поступаете все же не так, как положено. Вот список ужасных.
Что такое переменный ток?
Автор Евгений Зарецкий July 5, 2014
Сейчас невозможно представить себе человеческую цивилизацию без электричества. Телевизоры, компьютеры, холодильники, фены, стиральные машины – вся бытовая техника работает на нем. Не говоря уже о промышленности и больших корпорациях. Основным источником энергии для электроприемников является переменный ток. А что это такое? Каковы его параметры и характеристики? Чем отличаются постоянный и переменный ток? Мало кто из людей знает ответы на эти вопросы.

Переменный против постоянного
В конце девятнадцатого века, благодаря открытиям в области электромагнетизма, возник спор по поводу того, какой же ток лучше применять, чтобы удовлетворить человеческие потребности. Как же все начиналось? Томас Эдисон в 1878 году основал свою компанию, которая в будущем стала знаменитой General Electric. Компания быстро разбогатела и завоевала доверие инвесторов и простых граждан Соединенных Штатов Америки, так как было построено по всей стране несколько сотен электростанций, работающих на постоянном токе. Заслуга Эдисона – в изобретении трехпроводной системы. Постоянный ток замечательно работал с первыми электрическими двигателями и лампами накаливания. Это были фактически единственные приемники энергии на то время. Счетчик, который также был изобретен Эдисоном, работал исключительно на постоянном токе. Однако в противовес развивающейся компании Эдисона выступили конкурентные корпорации и изобретатели, которые хотели противопоставить постоянному току переменный.
Недостатки изобретения Эдисона
Джордж Вестингауз, инженер и бизнесмен, заметил в патенте Эдисона слабое звено – огромные потери в проводниках. Однако ему не удалось разработать конструкцию, которая могла бы конкурировать с этим изобретением. В чем же недостаток Эдисоновского постоянного тока? Основная проблема – передача электроэнергии на расстояния. А так как при его увеличении растет и сопротивление проводников, то это значит, что будут увеличиваться и потери мощности. Для понижения этого уровня необходимо либо повышать напряжение, а это приведет к понижению силы самого тока, либо утолщать провод (то есть снижать сопротивление проводника). Способов эффективного повышения напряжения постоянного тока в то время не было, поэтому электростанции Эдисона держали напряжение, близкое к двум сотням вольт. К сожалению, передаваемые таким образом потоки мощности не могли обеспечить нужды промышленных предприятий. Постоянный ток не мог гарантировать генерацию электроэнергии мощным потребителям, которые находились на значительном расстоянии от электростанции. А повышать толщину проводов или строить больше станций было слишком дорого.

Переменный ток против постоянного
Благодаря разработанному в 1876 году инженером Павлом Яблочковым трансформатору, изменять напряжение у переменного тока было очень просто, что давало потрясающую возможность передавать его на сотни и тысячи километров. Однако на тот момент не существовало двигателей, которые работали бы на переменном токе. Соответственно, не было и генерирующих станций, и сетей для передачи.

Изобретения Николы Теслы
Несомненное преимущество постоянного длилось недолго. Никола Тесла, работая инженером в фирме Эдисона, понял, что постоянный ток не может обеспечить человечество электроэнергией. Уже в 1887 году Тесла получил сразу несколько патентов на аппараты переменного тока. Началась целая борьба за более эффективные системы. Основными конкурентами Теслы были Томсон и Стенли. А 1888 году однозначную победу получил сербский инженер, который предоставил систему, способную транспортировать электрическую энергию на расстояния в сотни миль. Молодого изобретателя быстро взял к себе Вестингауз. Однако сразу же началось противостояние между компаниями Эдисона и Вестингауза. Уже в 1891 году была разработана Теслой система трехфазного переменного тока, что позволило выиграть тендер по строительству огромной электрической станции. С тех пор однозначно позицию лидера занял переменный ток. Постоянный же сдавал свои позиции по всем фронтам. Особенно когда появились выпрямители, способные преобразовывать переменный ток в постоянный, что стало удобно для всех приемников.
Определение переменного тока
В отличие от постоянного тока, переменный непрерывно меняется по направлению и по величине, причем эти колебания происходят в соответствии с периодическими законами, то есть повторяются через абсолютно равные интервалы времени. Чтобы создать такой ток в цепи, используют источники генерации переменного тока, которые создает ЭДС. Такого рода источник называют генератором переменного тока.

Пример простейшего генератора
В качестве самого простого источника используют прямоугольную рамку, изготовленную из меди, которая закреплена на оси и вращается в магнитном поле при помощи ременной передачи. Концы этой рамки припаяны контактными кольцами к медным, которые скользят по щеткам. Магнит создает равномерно распределенное в пространстве магнитное поле. Плотность силовых магнитных линий здесь одинакова в любой части. Вращающаяся рамка пересекает эти линии, и на ее сторонах индуцируется переменная электродвижущая сила (ЭДС). С каждым поворотом направление суммарной ЭДС меняется на обратное, так как рабочие стороны рамки за оборот проходят через разные полюса магнита. Так как меняется скорость пересечения силовых линий, то становится другой и величина электродвижущей силы. Поэтому если равномерно вращать рамку, то индуктированная электродвижущая сила периодически будет меняться как по направлению, так и по величине, ее можно измерить при помощи внешних приборов и, как следствие, использовать для того, чтобы создавать переменный ток во внешних цепях.

Синусоидальность
Что это такое? Переменный ток графически характеризуется волнообразной кривой — синусоидой. Соответственно, ЭДС, ток и напряжение, которые изменяются по этому закону, называются параметрами синусоидальными. Кривая так названа потому, что является изображением тригонометрической переменной величины — синуса. Именно синусоидальный характер переменного тока — наиболее распространенный во всей электротехнике.
Параметры и характеристики
Переменный ток – это явление, которое характеризуется определенными параметрами. К ним относят амплитуду, частоту и период. Последний (обозначается буквой Т) – это промежуток времени, в течение которого напряжение, ток или ЭДС совершает цикл полного изменения. Чем быстрее будет вращение ротора у генератора, тем период будет меньше. Частотой (f) называют количество полных периодов тока, напряжения или ЭДС. Она измеряется в Гц (герцах) и обозначает количество периодов за одну секунду. Соответственно, чем больше период, тем меньше частоты. Амплитудой такого явления, как переменный ток, называют наибольшее его значение. Записывается амплитуда напряжения, тока или электродвижущей силы буквами с индексом «т» — Uт Iт. Ет соответственно. Часто к параметрам и характеристикам переменного тока относят действующее значение. Напряжение, ток или ЭДС, которая действует в цепи в каждый момент времени — мгновенное значение (помечают строчными буквами — і, u, e). Однако оценивать переменный ток, совершенную им работу, создаваемое тепло сложно по мгновенному значению, так как оно постоянно меняется. Поэтому применяют действующее, которое характеризует силу постоянного тока, выделяющего за время прохождения по проводнику столько же тепла, сколько это делает переменный.
Похожие статьи
Источники: http://elwo.ru/publ/spravochniki/postojannyj_i_peremennyj_tok/2-1-0-903, http://fb.ru/article/241111/chem-postoyannyiy-tok-otlichaetsya-ot-peremennogo-i-kak-preobrazovyivaetsya, http://www.syl.ru/article/145655/mod_chto-takoe-peremennyiy-tok
electricremont.ru
Постоянный и переменный электрический ток
Главная | О нас | Обратная связь
Постоянный и переменный электрический ток
До сих пор при изучении законов электрического тока имелось в виду, что напряжение, приложенное к цепи, остается постоянным по величине и направлению. Такой ток называют постоянным. График постоянного тока показан на рис а. графика тока, где по вертикали отложено напряжение, а по горизонтали – время.

Рис. 9 График тока: а – постоянного, в – переменного
Время Т, в течение которого переменный ток совершит полное колебание, называется периодом. Число периодов в секунду называется частотой. В России принята частота тока 50 периодов в секунду. Ценным качеством переменного тока является возможность трансформации его, т. е. изменения напряжения при помощи простого аппарата — трансформатора. Это дает возможность экономично передавать электрическую энергию на большие расстояния и расширяет область ее применения.
При протекании переменного тока в цепи, где самоиндуктируется ток, ЭДС самоиндукции, по правилу Ленца, противодействует внешнему напряжению. Таким образом, цепь, где происходит самоиндукция, оказывает протеканию переменного тока большое сопротивление, чем протеканию постоянного тока, за счет дополнительного сопротивления, появляющегося только при переменном токе. Сопротивление электрической цепи протеканию постоянного тока называют активным сопротивлением. Дополнительное по сравнению с сопротивлением постоянному току сопротивление протеканию переменного тока, вызванное наличием ЭДС самоиндукции, называют индуктивным, или реактивным сопротивлением. Полное сопротивление цепи протеканию переменного тока (активное и реактивное вместе) называют, полным сопротивлением.
Аналогично названию сопротивлений, ток и мощность, идущие на создание электромагнитного поля в электрических цепях, где происходит самоиндукция, называют, активным током и реактивной мощностью; ток и мощность, производящие полезную работу, называют активным током и активной мощностью. Общая мощность (сумма активной и реактивной мощностей), действующая в цепи переменного тока, называется полной мощностью.
В отличие от активной мощности, измеряемой в киловаттах, полную и реактивную мощность измеряют в вольтамперах и в киловольтметрах.
Активная и полная мощность связаны между собой соотношением:
где Ра – активная мощность;
Р – полная мощность;
сosφ – коэффициент мощности, учитывающий реактивность данной электрической цепи
(произносится – косинус фи) он измеряется в пределах от 0 до 1.Так как: . то
Таким образом, активная мощность переменного тока равна произведению напряжения на силу протекающего тока и на коэффициент мощности.
Пример: Определить активную мощность цепи, если при напряжении 220в по ней протекает ток силой 5А, cosφ=0,8.
В самом начале, давайте дадим короткое определение электрическому току. Электрическим током называют упорядоченное (направленное) движение заряженных частиц. Ток — это движение электронов в проводнике, напряжение — это то, что приводит их (электроны) в движение.
Теперь рассмотрим такие понятия, как постоянный и переменный ток и выявим их принципиальные отличия.
Отличие постоянного тока от переменного
Основная особенность постоянного напряжения в том, что оно постоянно как по своей величине, так и по знаку. Постоянный ток, “течет” в все время одну сторону. Например, по металлическим проводам от плюсового зажима источника напряжения к минусовому (в электролитах его создают положительные и отрицательные ионы). Сами же электроны движутся от минуса к плюсу, но ещё до открытия электрона договорились считать, что ток течет от плюса к минусу и до сих пор при расчетах придерживаются этого правила.
Чем же от постоянного отличается переменный ток (напряжение)? Из самого названия следует, что он меняется. Но — как именно? Переменный ток меняет за период как свою величину, так и направление движения электронов. В наших бытовых розетках — это ток с синусоидальными (гармоническими) колебаниями частотой 50 герц (50 колебаний в секунду).
Если рассмотреть замкнутую цепь на примере лампочки, то мы получим следующее:
- при постоянном токе электроны будут течь через лампочку всегда в одном направлении от (-) минуса к (+) плюсу
- при переменном направление движения электронов будет меняться в зависимости от частоты генератора. т. е. если в нашей сети частота переменного тока 50 герц (Hz), то направление движения электронов за 1 секунду поменяется 100 раз. Таким образом + и — в нашей розетке меняются местами сто раз в секунду (именно поэтому мы можем воткнуть электрическую вилку в розетку “вверх ногами” и все будет работать).
Переменное напряжение в нашей бытовой розетке изменяется по синусоидальному закону. Что это значит? Напряжение от нуля увеличивается до положительного амплитудного значения (положительный максимум), потом уменьшается до нуля и продолжает уменьшаться дальше — до отрицательного амплитудного значения (отрицательный максимум), затем снова увеличивается, переходя через ноль и возвращается к положительному амплитудному значению.
Говоря другими словами, при переменном токе постоянно меняется его заряд. Это значит, что напряжение составляет то 100%, то 0%, то снова 100%. Получается, что за секунду электроны 100 раз меняют направление своего движения и свою полярность, с положительной на отрицательную (помните, что их частота составляет 50 герц — 50 периодов или колебаний в секунду?).
Первые электрические сети были постоянного тока. С этим было связано несколько проблем, одна из них — сложность конструкции самого генератора. А генератор переменного тока обладает более простой конструкцией, а потому прост и дешев в эксплуатации.
Дело в том, что одинаковую мощность можно передать высоким напряжением и маленьким током или наоборот: низким напряжением и большим током. Чем больше ток, тем больше нужно сечение провода, т.е. провод должен быть толще. Для напряжения толщина провода не важна, были бы изоляторы хорошие. Переменный ток (в отличие от постоянного) просто легче преобразовывать.
И это — удобно. Так по проводу относительно небольшого сечения электростанция может отправить пятьсот тысяч (а иногда и до полутора миллионов) вольт энергии при токе в 100 ампер практически без потерь. Потом, например, трансформатор городской подстанции “заберет” 500 000 вольт при токе в 10 ампер и “отдаст” в городскую сеть 10 000 вольт при 500 амперах. А районные подстанции уже преобразуют это напряжение в 220/380 вольт при токе порядка 10 000 ампер, для нужд жилых и промышленных кварталов города.
Разумеется схема упрощена и имеется в виду вся совокупность районных подстанций в городе, а не какая-то конкретно.
Персональный компьютер (ПК) работает по схожему принципу, но — в обратную сторону. Он преобразует переменный ток в постоянный а затем, при помощи блока питания. понижает его напряжение до значений, необходимых для работы всех компонентов внутри корпуса компьютера .
В конце 19-го века всемирная электрификация вполне могла пойти и другим путем. Томас Эдисон (считается, что именно он изобрел одну из первых коммерчески успешных ламп накаливания) активно продвигал свою идею постоянного тока. И если бы не исследования другого выдающегося человека, доказавшего эффективность тока переменного, то все могло бы быть по другому.
Гениальный серб Никола Тесла (некоторое время работавший у Эдисона), первым спроектировал и построил генератор многофазного переменного тока, доказав его эффективность и преимущество по сравнению с аналогичными разработками, работавшими с постоянным источником энергии.
Сейчас давайте рассмотрим “места обитания” постоянного и переменного тока. Постоянный, например, находится в нашем телефонном аккумуляторе или батарейках. Зарядные устройства трансформируют переменный ток из сети в постоянный, и уже в таком виде он оказывается в местах его хранения (аккумуляторах).
Источники постоянного напряжения это:
- обычные батарейки применяемые в различных приборах (фонарики, плееры, часы, тестеры и т.д.)
- различные аккумуляторы (щелочные, кислотные и т. п.)
- генераторы постоянного тока
- другие специальные устройства, например: выпрямители, преобразователи
- аварийные источники энергии (освещение)
Например, городской электротранспорт работает на постоянном токе напряжением в 600 Вольт (трамваи, троллейбусы). Для метрополитена оно выше — 750-825 Вольт.
Источники переменного напряжения:
- генераторы
- различные преобразователи (трансформаторы)
- бытовые электросети (домашние розетки)
О том, как и чем измерять постоянное и переменное напряжение мы с Вами говорили вот в этой статье. а напоследок (всем тем кто дочитал статью до конца) хочу рассказать небольшую историю. Озвучил ее мне мой шеф, а я перескажу с его слов. Уж больно она к нашей сегодняшней теме подходит!
Поехал он как-то в служебную командировку с нашими директорами в соседний город. Налаживать дружественные отношения с тамошними IT-шниками 🙂 А сразу возле трассы там такое замечательное местечко есть: родник с чистой водой. Возле все обязательно останавливаются и воду набирают. Это, своего рода, уже традиция.
Местные власти, решив облагородить данное место, сделали все по последнему слову техники: вырыли сразу под родничком большую прямоугольную яму, обложили ее ярким кафелем, перелив сделали, подсветку светодиодную, бассейн получился. Дальше — больше! Сам родник “упаковали” в крапленую гранитную крошку, придали ему благородную форму, иконку над жерлом под стекло вмуровали — святое место, значится!
И последний штрих — поставили систему подачи воды на фотоэлементе. Получается, что бассейн всегда наполнен и в нем “булькает”, а чтобы набрать воду непосредственно из родничка, нужно поднести руки с сосудом к фотоэлементу и оттуда — “проистекает” 🙂
Надо сказать, что по дороге к источнику наш шеф рассказывал одному из директоров, как это круто: новые технологии, вайфай, фотоэлементы, сканирование по сетчатке глаза и т.д. Директор был классическим технофобом, поэтому придерживался противоположного мнения. И вот, подъезжают они к родничку, подносят руки куда следует, а вода не течет!
Они и так, и сяк, а результата — ноль! Оказалось, что тупо не было напряжения в электрической сети, которая питала эту шайтан-систему 🙂 Директор был “на коне”! Отпустил несколько “контрольных” фраз по поводу всех этих п. х технологий, таких же п. х элементов, всех машин вообще и данной конкретной в частности. Зачерпнул канистрой прямо из бассейна и пошел в машину!
Вот и получается, мы можем настроить все что угодно, “поднять” навороченный сервер, предоставить лучший и востребованный сервис, но, все равно, самый главный человек — это дядя Вася-электрик в ватнике, который одним движением руки может организовать полный skipped всей этой технической мощи и изяществу 🙂
Так что помните: главное — качественное электропитание. Хороший серверный UPS (источник бесперебойного питания) и стабильное напряжение в розетках, а все остальное — приложится 🙂
На сегодня у нас — все и до следующих статей. Берегите себя! Ниже — небольшое видео по теме статьи.
Чем постоянный ток отличается от переменного и как преобразовывается?
Постоянный электрический ток — это движение частиц с зарядом в определенном направлении. То есть его напряжение или сила (характеризующие величины) имеют одно и то же значение и направление. Это то, чем постоянный ток отличается от переменного. Но рассмотрим все по порядку.

История появления и «войны токов»
Постоянный ток раньше называли гальваническим из-за того, что его открыли в результате гальванической реакции. Томас Эдисон пробовал передавать его по линиям электрических передач. В то время велись нешуточные споры между учеными по этому вопросу. Они даже получили название «войны токов». Решался вопрос о выборе в качестве основного, переменного или постоянного. «Борьба» была выиграна переменным видом, так как постоянный несет существенные потери, передаваясь на расстоянии. Зато трансформировать переменный вид не составляет никакого труда, это то, чем постоянный ток отличается от переменного. Поэтому последний легко передавать даже на огромные расстояния.

Источники постоянного электрического тока
В качестве источников могут служить аккумуляторы или другие приборы, где он возникает посредством химической реакции.
Это и генераторы, где он получается в результате электромагнитной индукции, а после этого выпрямляется за счет коллектора.
Применение
В различных устройствах постоянный ток применяется довольно часто. С ним работают, например, многие бытовые приборы, зарядные устройства и генераторы автомобиля. Любой портативный аппарат запитывается от источника, вырабатавающего постоянный вид.
В промышленных масштабах его применяют в двигателях и аккумуляторах. А в некоторых странах им оснащают высоковольтные линии электропередач.
В медицине с помощью постоянного электрического тока проводят оздоровительные процедуры.
На железной дороге (для транспорта) используют и переменный, и постоянный виды.
Переменный ток
Чаще всего, впрочем, применяют именно его. Здесь среднее значение силы и напряжения за определенный период равны нулю. По величине и направлению он постоянно изменяется, причем с равными промежутками времени.

Чтобы вызвать переменный ток, используют генераторы, в которых во время электромагнитной индукции возникает электродвижущая сила. Это осуществляется при помощи магнита, вращаемого в цилиндре (роторе), и статора, выполненного в виде неподвижного сердечника с обмоткой.
Переменный ток используют в радио, телевидении, телефонии и многих других системах ввиду того, что его напряжение и силу возможно преобразовывать, почти не теряя энергию.
Широко применяют его и в промышленности, а также в целях освещения.
Он может быть однофазным и многофазным.
Переменный ток, который изменяется согласно синусоидальному закону, является однофазным. Он изменяется в течение определенного промежутка времени (периода) по величине и направлению. Частота переменного тока является числом периодов за секунду.

Во втором случае самое большое распространение получил трехфазный вариант. Это система из трех электроцепей, которые имеют одинаковую частоту и ЭДС, сдвинуты по фазе на 120 градусов. Ее используют для питания электрических двигателей, печей, осветительных приборов.
Многими разработками в сфере электричества и практическим их применением, а также воздействием на переменный ток высокой частоты человечество обязано великому ученому Николе Тесла. До сих пор не все его труды, оставшиеся потомкам, являются познанными.
Чем постоянный ток отличается от переменного и каков его путь от источника до потребителя?
Итак, переменным называют ток, способный меняться по направлению и величине в течение определенного времени. Параметры, на которые при этом обращают внимание, это частота и напряжение. В России в бытовых электрических сетях подают переменный ток, имеющий напряжение 220 В и частоту 50 Гц. Частота переменного тока — это количество изменений направления частиц определенного заряда за секунду. Получается, что при 50 Гц он меняет свое направление пятьдесят раз, в чем постоянный ток отличается от переменного.
Его источником являются розетки, к которым подключают бытовые приборы под различным напряжением.
Переменный ток начинает свое движение от электрических станций, где имеются мощные генераторы, откуда он выходит с напряжением от 220 до 330 кВ. Далее переходит в трансформаторные подстанции, которые находятся вблизи домов, предприятий и остальных конструкций.
В подстанции ток попадает под напряжением 10 кВ. Там он преобразовывается в трехфазное напряжение 380 В. Иногда с таким показателем ток переходит непосредственно на объекты (где организовано мощное производство). Но в основном его снижают до привычных во всех домах 220 В.

Преобразование
Понятно, что в розетках мы получаем переменный ток. Но часто для электрических приборов необходим постоянный вид. Для этой цели служат специальные выпрямители. Процесс состоит из следующих действий:
- подключение моста с четырьмя диодами, имеющих необходимую мощность;
- подключение фильтра или конденсатора на выход с моста;
- подключение стабилизаторов напряжения для уменьшения пульсаций.
Преобразование может происходить как из переменного в постоянный ток, так и наоборот. Но последний случай будет реализовать значительно труднее. Потребуются инверторы, которые, помимо прочего, стоят совсем недешево.
Топ-10 разорившихся звезд Оказывается, иногда даже самая громкая слава заканчивается провалом, как в случае с этими знаменитостями.
Каково быть девственницей в 30 лет? Каково, интересно, женщинам, которые не занимались сексом практически до достижения среднего возраста.
15 симптомов рака, которые женщины чаще всего игнорируют Многие признаки рака похожи на симптомы других заболеваний или состояний, поэтому их часто игнорируют. Обращайте внимание на свое тело. Если вы замети.
Непростительные ошибки в фильмах, которых вы, вероятно, никогда не замечали Наверное, найдется очень мало людей, которые бы не любили смотреть фильмы. Однако даже в лучшем кино встречаются ошибки, которые могут заметить зрител.
10 загадочных фотографий, которые шокируют Задолго до появления Интернета и мастеров «Фотошопа» подавляющее большинство сделанных фото были подлинными. Иногда на снимки попадали поистине неверо.
Наши предки спали не так, как мы. Что мы делаем неправильно? В это трудно поверить, но ученые и многие историки склоняются к мнению, что современный человек спит совсем не так, как его древние предки. Изначально.
Источники: http://megaobuchalka.ru/8/38608.html, http://sebeadmin.ru/questions/elektricheskiy_tok_postoyanniy_i_peremenniy.html, http://fb.ru/article/241111/chem-postoyannyiy-tok-otlichaetsya-ot-peremennogo-i-kak-preobrazovyivaetsya
electricremont.ru
Постоянный и переменный ток
Уважаемые посетители сайта!!!
Все изложенное в рубрике «электротехника», — дается для Вас в более простой, доступной форме обучения. Если вникать в теоретические основы электротехники, то переходить на такое обучение нужно не спонтанно, а постепенно.
Допустим, читаем формулировку правила: «Магнитный поток сквозь поверхность S равен линейному интегралу векторного потенциала по замкнутому контуру, ограничивающему эту поверхность». Данное правило дает понятие об углубленном познании магнитного поля постоянных токов, такой курс обучения проходят в высших технических учебных заведениях. Конечно-же, нужно стремиться к высшему познанию таких вещей, но для человека, которому допустим нужно починить электроплиту либо какой нибудь электроприбор, такие познания в общем-то просто ни к чему.
Полагаю, что если человек зашел на сайт, — ему нужно получить конечный результат такого продукта — полезной информации. В частности, для данной темы речь пойдет о способах получения электрического тока.
Получение переменного тока
Переменный ток вырабатывают генераторы, электрические машины, — как их принято называть в электротехнике. Следует не забывать и о том, что в зависимости от их применения генераторы бывают как переменного так и постоянного тока. В зависимости от их устройства, генераторы вырабатывают:
- трехфазный ток с выходным напряжением 380 Вольт;
- однофазный ток с выходным напряжением 220 Вольт.
Где именно могут применяться трехфазные генераторы? Да допустим для питания трехфазной тепловой пушки на 6 кВт 380 В для обогрева складского помещения.
Тогда где-же могут применяться однофазные генераторы? Однофазные генераторы как и трехфазные, применяются допустим в больнице — при аварийном отключении электроэнергии.
Генератору, как нам известно, необходимо придать механическое вращение якоря. Каким образом можно придать якорю генератора механическое вращение? Такими источниками служат двигатели внутреннего сгорания:
- газовые;
- бензиновые;
- дизельные
и другие источники, чтобы привести якорь генератора в движение. Другими источниками получения электрической энергии являются:
- ветряные электростанции;
- водяные электростанции;
- турбинные электростанции.
На рисунке показано схематическое изображение устройства генератора переменного тока \рис.1\. Рамку в этом примере можно представить как якорь, состоящий из одного витка провода. Рамка обозначена сторонами А, Б, В, Г. Два проводника \А и Б\ при вращении рамки, пересекают магнитные силовые линии постоянного магнита С, Ю. При пересечении проводниками силовых линий, в проводниках наводится электродвижущая сила — ЭДС. ЭДС двух проводников по своему значению противоположны друг другу в тот момент, когда они пересекают эти силовые линии.
рис.1
Величина ЭДС \ри.3\, протекающего тока в рамке, будет зависить:
от векличины магнитной индукции постоянного магнита \ N, S\;
длины проводника;
скорости пересечения проводником магнитных силовых линий
и угла наклона проводника \рис.4\ по отношению к силовым линиям постоянного магнита \sin угла альфа между направлением движения проводника и направлением магнитных силовых линий поля\.
рис.3

рис4
При вращении рамки в магнитном поле, в ней наводится ЭДС двух противоположных значений и ток, как мы можем заметить на графике \рис.5\ получается пульсирующим. Один период Т состоит из двух противоположных пульсаций тока, верхний полупериод — положительный и нижний полупериод — отрицательный. Полупериод обозначен на графике как 1/2 Т.
рис.5
Поэтому, ток в этом примере рассматривается как:
либо как еще его называют — переменный ток.
Получение постоянного тока
Постоянный ток мы получаем от следующих источников, это:
- первичные источники \обыкновенные, простые батарейки\;
- электрохимические аккумуляторы;
- генераторы постоянного тока.

рис.6
Принцип устройства электрохимических аккумуляторов изображен на рисунке 6. Электрохимические аккумуляторы могут быть возвращены в первоначальное свое состояние под воздействием электрического тока — в процессе их зарядки либо подзарядки.

рис.7
Первичные источники \элементы\, разнообразные типы батареек \рис.7\, — не могут быть возвращены в свое первоначальное состояние в процессе их зарядки электрическим током, то-есть, такие источники по истечению своего срока эксплуатации подлежат только утилизации.
Различие между генератором переменного тока и генератором постоянного тока состоит в том, что в генераторе постоянного тока размещено большее количество витков в пазах якоря \по сравнению с генератором переменного тока\, а так-же, укреплено четное количество главных и добавочных полюсов на внутренней станине генератора.
Следующий рисунок из себя представляет схему подключения нагрузки к генератору постоянного тока \рис.8\, ток в данной цепи замыкается через нагрузку.

рис.8
На графике \рис.9\ показаны пульсации тока, выдаваемые генератором постоянного тока. По сравнению с генератором переменного тока, данные пульсации выглядят более сглаженно.
рис.9
Применение постоянного тока

автомобильный генератор
устройство автомобильного генератора
электростанция для сварки постоянным током
Преобразование переменного тока в постоянный
Для выпрямления, преобразования переменного тока в постоянный \для однофазной цепи\, применяются следующие выпрямители тока:
- однополупериодная схема выпрямления;
- двухполупериодная схема выпрямления
и мостовая схема.
Мостовая схема выпрямления тока изображена на рисунке 10. Схема состоит из:
- первичной обмотки трансформатора;
- вторичной обмотки трансформатора;
- магнитопровода трансформатора;
- диодного моста
и нагрузки, подключенной к диагонали моста. Одна диагональ моста подключена ко вторичной обмотке трансформатора, другая диагональ моста соединена с нагрузкой. Электрическая цепь замыкается на нагрузке.
рис.10
Мостовая схема выпрямления тока будет выглядеть менее пульсирующей \рис.11\, по сравнению с такими схемами выпрямления как:
рис.11
Реактивным элементом в следующей мостовой схеме \рис.12\ служит сглаживающий фильтр \конденсатор\, позволяющий получить ток на выходе — с наименшей величиной пульсаций.
рис.12
На этом пока все. Следите за рубрикой.
zapiski-elektrika.ru
Принцип работы, отличия постоянного от переменного электрического тока
Электрический ток— это направленное или упорядоченное движение заряженных частиц: электронов в металлах, в электролитах — ионов, а в газах — электронов и ионов.
Электрический ток может быть как постоянным, так и переменным.Определение постоянного электрического тока, его источники
Постоянный ток используется в автомобилях и в домах, в многочисленных электронных приборах: ноутбуки, компьютеры, телевизоры и т. д. Перемеренный электрический ток из розетки преобразуется в постоянный при помощи блока питания или трансформатора напряжения с выпрямителем.
Любой электроинструмент, устройство или прибор, работающие от батареек так же являются потребителями постоянного тока , потому что батарея или аккумулятор- это исключительно источники постоянного тока, который при необходимости преобразуется в переменный с использованием специальных преобразователей (инверторов).
Принцип работы переменного тока
Переменный ток (AC по-английски Alternating Current)- это электрический ток, который изменяется по величине и направлению с течением времени. На электроприборах условно обозначается отрезком синусоиды « ~ ».
Иногда после синусоиды могут указываться характеристики переменного тока — частота, напряжение, число фаз.
Переменный ток может быть как одно- , так и трёхфазным, для которого мгновенные значения тока и напряжения меняются по гармоническому закону.
Основные характеристики переменного тока — действующее значение напряжения и частота.
Обратите внимание, как на левом графике для однофазного тока меняется направление и величина напряжения с переходом в ноль за период времени Т, а на втором графике для трехфазного тока существует смещение трех синусоид на одну третью периода. На правом графике 1 фаза обозначена буквой «а», а вторая буквой «б». Хорошо известно, что в домашней розетке 220 Вольт. Но мало кто знает, что это действующие значение переменного напряжения, но амплитудное или максимальное значение будет больше на корень из двух, т.е будет равно 311 Вольт.
Таким образом, если у постоянного тока величина напряжения и направление не изменяются в течении времени, то у переменного тока- напряжение постоянно меняется по величине и направлению (график ниже нуля это обратное направление).
И так мы подошли к понятию частота— это отношение числа полных циклов (периодов) к единице времени периодически меняющегося электрического тока. Измеряется в Герцах. У нас и в Европе частота равна 50 Герцам, в США- 60 Гц.
Что означает частота 50 Герц? Она означает, что у нас переменный ток меняет свое направление на противоположное и обратно (отрезок Т- на графике) 50 раз за секунду!
Источниками переменного тока являются все розетки в доме и все то, что подключено напрямую проводами или кабелями к электрощиту. У многих возникает вопрос: а почему в розетке не постоянный ток? Ответ прост. В сетях переменного тока легко и с минимальными потерями преобразовывается величина напряжения до необходимого уровня при помощи трансформатора в любых объемах. Напряжение необходимо увеличивать для возможности передачи электроэнергии на большие расстояния с наименьшими потерями в промышленных масштабах. С электростанции, где стоят мощные электрогенераторы, выходит напряжение величиной 330 000-220 000 Вольт, далее возле нашего дома на трансформаторной подстанции оно преобразуется с величины 10 000 Вольт в трехфазное напряжение 380 Вольт, которое и приходит в многоквартирный дом, а к нам в квартиру приходит однофазное напряжение, т. к. между фазой и нулем или землей напряжение равняется 220 В, а между разноименными фазами в электрощите 380 Вольт.
И еще одним из важных достоинств переменного напряжения является то, что асинхронные электродвигатели переменного тока конструктивно проще и работают значительно надежнее, чем двигатели постоянного тока.
Как переменный ток сделать постоянным
Для потребителей, работающих на постоянном токе- переменный преобразуется при помощи выпрямителей.
- Первоначальный этап преобразования— это подключение диодного моста, состоящего из 4 диодов достаточной мощности (на рисунке ниже), который срезает верхние границы переменных синусоид или делает ток однонаправленным.
- Второй этап— это подключение параллельно на выход с диодного мостика конденсатора или сглаживающего фильтра, который исправляет провалы между пиками синусоид. Обратите внимание, как выглядит синусоида после прохождения через диодный мост (на рисунке выделена зеленным цветом).

И как уменьшаются пульсации (изменения напряжения) после подключения конденсатора- на рисунке выделено синим цветом.
- Далее при необходимости для уменьшения уровня пульсаций, дополнительно могут применяются стабилизаторы тока или напряжения.
Преобразователь постоянного тока в переменный
Если с преобразованием переменного тока в постоянный не возникает сложностей, то со обратным преобразованием все гораздо сложнее. В домашних условиях для этого используется инвертор — это генератор периодического напряжения из постоянного, по форме приближённого к синусоиде.
Инвертор технически сложное устройство, поэтому и цены на него не маленькие. Стоимость зависит напрямую от выходной максимальной мощности переменного тока.
Как правило, преобразование постоянного тока требуется в редких случаях. Например, для подключения от бортовой электросети автомобиля домашних электроприборов, инструмента и т. п. в походе, на даче и т. д.
Что такое фаза, ноль, заземление читайте в следующей нашей статье.
olimp23.com
Преобразование переменного тока в постоянный
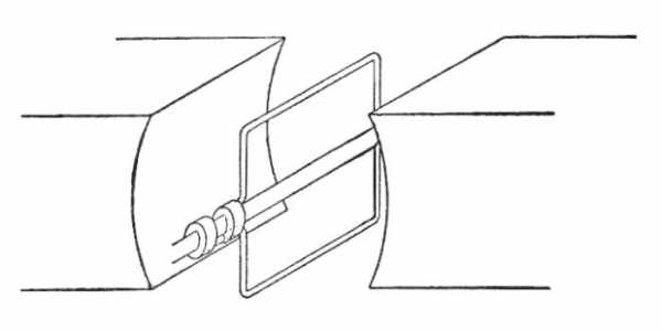
Для того чтобы генератор переменного тока был способен заряжать батарею и обеспечивать питание других компонентов транспортного средства, требуется преобразовать переменный тик (alternating current — АС) в постоянный (direct current — DC). Самый подходящий электронный компонент для этой задачи — кремниевый диод. Если переменный ток одной фазы пропустить через диод, на выходе диода появится полуволна, как показано на рисунке. В этом примере диод позволяет проходить к положительному полюсу батареи только половине полупериодов волны. Отрицательные полупериоды блокируются.
Рис. Однополупериодное выпрямление
На рисунке ниже показано, что мостовой выпрямитель с четырьмя диодами выпрямляет обе полуволны однофазного напряжения. Диод часто рассматривается как односторонний клапан для электрического тока. И хотя это хорошая аналогия, важно помнить, что диод хорошего качества блокирует обратный ток с напряжением приблизительно 400 В, а для того, чтобы диод начал проводить в прямом направлении, требуется небольшое напряжение — около 0,6 В.
Рис. Мостовой двухполупериодный выпрямитель (одна фаза)
Чтобы выпрямлять напряжение трехфазной машины, потребуется шесть диодов. Они тоже связаны в виде моста, как показало на рисунке. Мост состоит из трех «пропускающих» и трех «запирающих» диодов. Форма выходного напряжения, создаваемого этой цепью, приведена на рисунке совместно с сигналами трех фаз.
Рис. Трехфазный мостовой выпрямитель
В блок выпрямителя часто вводятся еще три диода, выпрямляющих положительную полуволну напряжения. Они обычно меньше главных диодов и используются только для того, чтобы питать малым током обмотку возбуждения магнитного поля в роторе. Дополнительные диоды известим как экстра-диоды, диоды магнитного поля или диоды возбуждения. На рисунке показан выпрямитель с девятью диодами.
Рис. Девятидиодиый выпрямитель
Вследствие значительных токов, текущих через главные диоды, им требуется радиатор для отвода тепла, чтобы предохранить их от термического повреждения. В некоторых случаях вместо одного диода ставят нескольких соединенных параллельно, чтобы они без повреждения выдерживали большие токи. Диоды в блоке выпрямителя служат для предотвращения обратного тока от батареи к генератору. Они также позволяют нескольким генераторам переменного тока работать параллельно без синхронизации, так как ток не может течь от одного генератора к другому.
Когда используется статор с соединением обмоток «звезда», сумма напряжений в нейтральной точке звезды теоретически равна 0 В. Однако на практике из-за небольших погрешностей в конструкции статора и ротора и в этой точке возникает потенциал. Этот потенциал (напряжение) известен как третья гармоника и показан на рисунке. Его частота — утроенная основная частота фазной обмотки. Подключив к центру звезды два дополнительных диода, один в прямом и один в обратном включении, можно извлечь дополнительную мощность. Прирост мощности достигает 15%.
Рис. Третья гармоника
На последнем рисунке показана полная схема электрогенератора при использовании главного выпрямителя с восемью диодами и тремя диодами возбуждения поля. На схеме показан также регулятор напряжения. Индикаторная лампочка, помимо основной функции предупреждения о неисправности генератора, служит для подачи начального тока возбуждения в обмотку ротора. Генератор не всегда может самовозбуждаться, поскольку остаточный магнетизм обычно недостаточен для создания такого напряжения, которое преодолеет прямое смешение диодов выпрямителя (0,6 или 0,7 В). Типичная мощность лампочки индикатора — 2 Вт. Многие изготовители также подключают параллельно лампочке резистор, чтобы усилить возбуждение генератора и гарантировать его работу, если лампочка сгорит. Лампочка, предупреждающая об отсутствии заряда, погаснет, когда в обмотку ротора пойдет ток от диодов возбуждения, поскольку в этом случае на обоих выводах лампочки возникнет одно и то же напряжение (разница потенциалов на лампочке станет равной 0 В).
Рис. Полная внутренняя схема генератора переменного тока
ustroistvo-avtomobilya.ru
|
В начале XIX века появился гальванический элемент, а с ним и электрический ток. В цепи с этим элементом течет постоянный электрический ток. Но со временем появился генератор переменного тока, так он стал основой современной электроэнергетики. Переменный токБез него не было бы радиосвязи, телевидения и т. д. Переменный ток – это электрический ток, который периодически изменяется по модулю и направлению. Он то возрастает, достигая максимума – амплитудного значения, то спадает, на какой-то момент становится равным нулю, потом вновь возрастает, но уже в другом направлении и также достигает максимального значения, спадает, чтобы затем вновь пройти через ноль, после чего цикл всех изменений возобновляется. Время, за которое проходит цикл, называется периодом переменного тока. Количество периодов за определенное время – частота, которая измеряется в герцах. Переменный ток получается за счет вращения рамки в магнитном поле, а с обмоток статора снимается переменное напряжение. Постоянный токПри постоянном токе его сила, свойства и направление не меняется даже со временем. Постоянный ток используют в технике: подавляющее большинство электронных схем в качестве питания используют постоянный ток. Источниками постоянного тока служат: гальванический элемент, аккумулятор, электромашинный генератор, выпрямитель, сглаживающий фильтр, стабилизатор напряжения. К основным законам постоянного тока относят:
Переменный или постоянный ток?Преимущества переменного тока:
Но при этом провода, по которым протекает ток, должны соответствовать его максимальному значению, к тому же в проводах он распределяется неравномерно, вблизи поверхности. Вокруг находится переменное магнитное поле, которое способно вызвать в соседних проводах и в других проводящих материалах электрические токи, а это приводит к бесполезной трате энергии. Несмотря на эти недостатки, переменный ток используют чаще. А связано это с тем, что электрическая энергия проходит длинное расстояние от станции к дому потребителя, при этом часть ее теряется, но, чтобы уменьшить потери, следует использовать высокое напряжение. Поднять напряжение у станции (а при передаче к потребителю уменьшить) возможно лишь при переменном токе и с помощью трансформаторов. Но можно ли использовать постоянный ток для передачи электрической энергии? Достаточно сложно – сначала переменное напряжение преобразовать в постоянное, а потом на другом конце линии электропередач превратить переданное постоянное напряжение в переменное.Так или иначе, нельзя утверждать, что постоянный или переменный ток лучше или хуже, ведь в нашей жизни мы используем и тот и другой. |
www.phisiki.com




