9.4 Сложные разрезы.
Кроме простых разрезов с одной секущей плоскостью, используются сложные разрезы двумя и более секущими плоскостями.
Сложные разрезы бывают ступенчатыми и ломаными.
Сложные разрезы обозначаются как и простые, но линия сечения имеет перегибы – места перехода от одной секущей плоскости к другой
Ступенчатый разрез
Сложный разрез, образованный двумя и более секущими параллельными плоскостями, называются ступенчатыми.
При выполнении ступенчатого разреза секущие плоскости совмещают в одну плоскость, и ступенчатый разрез оформляется как простой. Линии, разделяющие два сечения друг от друга в местах перегибов на ступенчатом разрезе, не указываются (рисунок 9.7).

Ломаный разрез.
Это разрез, полученный при сечении предмета пересекающимися плоскостями. В этом случае одна секущая плоскость условно поворачивается вокруг линии пересечения секущих плоскостей до совмещения с другой секущей плоскостью, параллельной какой-либо из основных плоскостей проекций, т.е. ломаный разрез размещается на месте соответствующего вида (рисунок 9.8).

Рисунок 9.8
9.5. Условности и упрощения при выполнении разрезов
При выполнении продольных разрезов тонкие стенки (~ 5 мм), рёбра жесткости (рисунок 9.9), ушки, винты, болты, заклёпки, шпонки, шарики, спицы, непустотелые валы и оси изображают нерассеченными.
При нанесении размеров на соединении части вида с частью разреза размеры внутренние наносятся со стороны разреза, а наружные – со стороны вида
Плоские поверхности на чертеже выделяют тонкими диагоналями.
Рисунок 9.9
Симметричные изображения допускается показывать до оси симметрии или больше половины с проведением линии обрыва. Если предмет имеет несколько равномерно расположенных одинаковых элементов (например, отверстий), то допускается показывать один элемент с указанием их числа, а остальные показывают упрощенно или условно. На изображениях допускается показывать упрощенно линии пересечения поверхностей. Так, например, на рисунок 9.10 проекция кривой четвертого порядка пересечения двух цилиндров упрощенно показана дугой окружности, а на рисунке 9.11 – прямой. Плавный переход от одной поверхности к другой условно показывают сплошной тонкой линией, которая не касается контурных линий.

Рисунок 9.10 Рисунок 9.11
Вопросы для самоконтроля.
Чем отличается разрез от сечения?
Какие бывают вертикальные разрезы?
В каком случае можно соединить половину вида с половиной разреза?
Какие бывают простые разрезы и сложные?
Какой простой разрез можно не обозначать?
При соединении половины вида и половины разреза как следует выявлять внешнее и внутреннее ребро, совпадающее с осью симметрии?
Какие сечения называют ступенчатыми, ломаными?
Условности и упрощения при выполнении разрезов.
Что такое местный разрез?
10.Сечения (гост 2306-68)
Сечением
В отличие от разреза на сечении показывается только то, что расположено непосредственно в секущей плоскости, все, что лежит за ней, не изображается.
Сечения в зависимости от расположения их на чертеже делятся на вынесенные и наложенные. Вынесенные сечения располагают на свободном месте поля чертежа или в разрыве изображения предмета. Наложенные сечения располагают на соответствующем изображении предмета.
Симметричные наложенные сечения (рисунок 10.1) и в разрыве (рисунок 10.2) буквами и стрелками не обозначаются и линию сечения не показывают.
Если ось симметрии симметричного вынесенного сечения совпадает со следом секущей плоскости, то такое сечение также не обозначается и не подписывается (рисунок 10.3).
Предпочтительны вынесенные сечения. Их контур вычерчивают сплошными толстыми линиями. Контуры наложенных сечений вычерчивают сплошными тонкими линиями.
Для несимметричных сечений, расположенных в разрыве или наложенных, положение секущей плоскости указывается линией сечения со стрелками, но буквами не обозначается (рисунок 10.4).
Во всех остальных случаях выполнения сечений положение секущей плоскости должно быть показано линией сечения с указанием стрелками направления взгляда, а над самими сечениями выполняется надпись.
Рисунок 10.5
При совпадении секущей плоскости с осью поверхности вращения, ограничивающей отверстие или углубление, контур отверстия или углубления в сечении показывается полностью, хотя этот контур и не расположен в секущей плоскости, т.е. сечение оформляется как разрез (смотри рисунок 10.5).
Если секущая плоскость проходит через некруглые отверстия и сечение получается состоящим из отдельных частей, то сечение должно быть заменено разрезом.
Сечение при необходимости можно повернуть. В этом случае после буквенного обозначения ставится значок – кружок со стрелкой (рисунок 10.6).
Рисунок 10.6
Рисунок 10.7
Рисунок 10.8
Вопросы для самоконтроля.
1. Что такое сечение?
2. Как обводят линии контура наложенного и вынесенного сечений?
3. Как обозначают сечения?
studfiles.net
Обратная связь ПОЗНАВАТЕЛЬНОЕ Сила воли ведет к действию, а позитивные действия формируют позитивное отношение Как определить диапазон голоса – ваш вокал Как цель узнает о ваших желаниях прежде, чем вы начнете действовать. Как компании прогнозируют привычки и манипулируют ими Целительная привычка Как самому избавиться от обидчивости Противоречивые взгляды на качества, присущие мужчинам Тренинг уверенности в себе Вкуснейший “Салат из свеклы с чесноком” Натюрморт и его изобразительные возможности Применение, как принимать мумие? Мумие для волос, лица, при переломах, при кровотечении и т.д. Как научиться брать на себя ответственность Зачем нужны границы в отношениях с детьми? Световозвращающие элементы на детской одежде Как победить свой возраст? Восемь уникальных способов, которые помогут достичь долголетия Как слышать голос Бога Классификация ожирения по ИМТ (ВОЗ) Глава 3. Завет мужчины с женщиной Оси и плоскости тела человека – Тело человека состоит из определенных топографических частей и участков, в которых расположены органы, мышцы, сосуды, нервы и т.д. Отёска стен и прирубка косяков – Когда на доме не достаёт окон и дверей, красивое высокое крыльцо ещё только в воображении, приходится подниматься с улицы в дом по трапу. Дифференциальные уравнения второго порядка (модель рынка с прогнозируемыми ценами) – В простых моделях рынка спрос и предложение обычно полагают зависящими только от текущей цены на товар. | Кроме простых разрезов, когда применяется одна плоскость, употребляются разрезы сложные при двух и более секущих плоскостях. Сложные разрезы разделяются на ступенчатые и ломанные. Сложный разрез, образованный двумя и более секущими параллельными плоскостями, называется ступенчатым. Ступенчатые разрезы могут быть горизонтальными, фронтальными и профильными (Рисунок 4).
Рисунок 4
Ломаные разрезы – это разрезы, полученные при сечении предмета не параллельными, а пересекающимися плоскостями. В этом случае одна секущая плоскость условно повертывается около линии пере сечения секущих плоскостей до совмещения с другой секущей плоскостью, параллельной какой-либо из основных плоскостей проекции, т. е. ломаный разрез размещается на месте соответствующего вида (Рисунок 5).
Условности и упрощения. Для того чтобы чертежи сделать более простыми и понятными, а также с целью экономии времени при выполнении чертежа, ГОСТ 2.305-68 устанавливает следующие условности и упрощения. Например, допускается совмещать два разреза, если каждый из них представляет собой симметричную фигуру. На рисунке 6 совмещены половина профильного ступенчатого разреза А-А и половина простого профильного разреза Б-Б.
Рисунок 6
При выполнении продольных разрезов таких элементов, как тонкие стенки, рёбра жёсткости, ушки и т.п., они показываются на разрезе нерассечёнными (рисунок 7). Графические обозначения материалов в сечениях. В машиностроении используются детали, изготовленные из различного материала. Для придания наглядности и выразительности чертежей введены условные графические обозначения материалов. ГОСТ 2.306-68 устанавливает условные графические обозначения материалов в сечениях и на фасадах, а так же правила нанесения их на чертежи всех отраслей промышленности и строительства. Графические обозначения материалов в сечениях должны соответствовать указанным в табл. 1.
Таблица 1
Общие графическое обозначение материалов в сечениях независимо от вида материалов – сплошные тонкие параллельные прямые линии, наклонные под углом 45° к линиям рамки чертежа.
Если линии штриховки, проведённые к линиям рамки под углом 45°, совпадают по направлению с линиями контура или осевыми линиями, то вместо угла 45° следует брать угол 30° или 60° (Рисунок 8). Рекомендации к выполнению графической работы №6. Формат А3, наименование «Разрезы». – Выполнить 3 проекции модели с необходимыми простыми разрезами и её аксонометрию с вырезом ¼ передней части. – Выполнить заданные проекции модели с применением сложного ломанного разреза. – Выполнить заданные проекции модели с применением сложного ступенчатого разреза. – Нанести размеры.
Пример графической работы №6 приведен ниже.
Рисунок 9
|
megapredmet.ru
Бровкин Н.И. Виды: основные, дополнительные, местные. Разрезы: ступенчатые, ломаные. Соединение на чертеже части вида с частью разреза
Бровкин Н.И. Виды: основные, дополнительные, местные. Разрезы: ступенчатые, ломаные. Соединение на чертеже части вида с частью разрезаДоступные файлы (1):
n1.doc
Министерство транспорта Российской Федерации
Федеральное агентство железнодорожного транспорта
Государственное образовательное учреждение
высшего профессионального образования
Омский государственный университет путей сообщения
ОмГУПС (ОмИИТ)
Тайгинский институт железнодорожного транспорта –
филиал государственного образовательного учреждения
высшего профессионального образования
«Омский государственный университет путей сообщения»
Факультет среднего профессионального образования
«Тайгинский техникум железнодорожного транспорта»
Методическая разработка
по дисциплине
«Инженерная графика»
на тему
«Виды: основные, дополнительные, местные.
Разрезы: ступенчатые, ломаные.
Соединение на чертеже части вида с частью разреза»
Тайга 2011 г.
| ОДОБРЕНА Цикловой комиссией общетехнических дисциплин «_____» ___________________ 20___ г. | УтверждаюЗав. учебно-методическим отделом «_____» ___________________ 20___ г. |
Методическое пособие предназначено для преподавателей и студентов при изучении темы «виды, разрезы». Содержит основные требования к выполнению на чертежах основных, дополнительных, местных видов, простых и сложных разрезов, сечений, а также материал для преподавателя при изучении данной темы с использованием интерактивной доски.
Автор: Бровкин Н.И. – преподаватель Тайгинского института
железнодорожного транспорта
СОДЕРЖАНИЕ
1. Введение……………………………………………………………………….4
2. Лекционный материал для изучения темы………………………………….5
2.2. Изображения…………………………………………………………………5
2.2.1. Основные положения……………………………………………………..5
2.2.2. Виды: основные, дополнительные, местные……………………………5
2.2.3. Разрезы: простые, сложные………………………………………………7
2.2.4. Обозначение разрезов…………………………………………………….9
2.2.5. Соединение на чертеже части вида с частью разреза………………….10
3. Методика изучения материала с использованием интерактивной доски..12
4. Библиографический список………………………………………………….13
Приложение 1……………………………………………………………………14
Приложение 2 …………………………………………………………………..15
Приложение 3……………………………………………………………………16
Приложение 4……………………………………………………………………17
ВВЕДЕНИЕ
Основным способом передачи технической информации в технике является чертёж – документ содержащий изображения детали (изделия) и другие данные для их изготовления (сборки) и контроля. При выполнении чертежей используются различные изображения: виды, разрезы, сечения и т.п., которые помогают нам представить как внешнюю, так и внутреннюю форму изделия.
Тема « изображения: виды, разрезы» является основополагающей при изучении машиностроительного черчения. Данное методическое пособие предназначено в помощь преподавателю при проведении занятий по этой теме.
В работе приведены требования стандартов ЕСКД по выполнению на чертежах видов, разрезов, правила соединения на чертежах части вида с частью разреза, а также некоторые методы изучения материала с использованием технических средств обучения (интерактивной доски).
2. лекционный материал для изучения темы
2.2. изображения
2.2.1. основные положения
Правила изображения предметов установлены в ГОСТ 2.109 – 73 и ГОСТ 2.305 – 68 . изображения выполняются по методу прямоугольного проецирования. При этом предмет располагается между наблюдателем и соответствующей плоскостью проекций (рис.1). За основные плоскости проекций принимают шесть граней куба. Грани совмещают с плоскостью, как показано на рис.2.
Рис.1 Рис.2
Изображения на чертеже в зависимости от их содержания разделяют на виды, разрезы, сечения.
Вид – изображение на чертеже обращённой к наблюдателю видимой части поверхности предмета.
Разрез – изображение на чертеже предмета мысленно рассечённого одной или несколькими секущими плоскостями. На разрезе показывают то, что находится в секущей плоскости и за ней.
Сечение – изображение фигуры, получающейся при мысленном рассечении предмета одной или несколькими секущими плоскостями.
За главный вид принимают изображение на фронтальной плоскости. Он должен давать наиболее полное представление о форме и размерах предмета.
2.2.2. ВИДЫ: ОСНОВНЫЕ, ДОПОЛНИТЕЛЬНЫЕ, МЕСТНЫЕ
ДОПОЛНИТЕЛЬНЫЕ ВИДЫ
Если какую-нибудь часть предмета невозможно показать без искажения формы и размеров, то применяют дополнительные виды, получаемые на плоскостях, не параллельных основным плоскостям проекций (рис.3).
Дополнительный вид обозначают прописной буквой, которая ставится над изображением дополнительного вида и рядом со стрелкой которая показывает направление взгляда. Стрелка ставится у связанного с дополнительным видом изображением (рис.3г.)
Дополнительный вид допускается повёртывать, но с сохранением положения, принятого для данного предмета на главном изображении, при этом обозначение вида дополняется графическим обозначением («повёрнуто» рис.3д.)
Если дополнительный вид расположен в непосредственной проекционной связи с соответствующим изображением, то он не обозначается (рис. 3в.).
Рис.3.
Рис. 4.
МЕСТНЫЙ ВИД
Изображение отдельного, ограниченного места поверхности предмета называют местным видом. Местный вид может быть ограничен линией обрыва, по возможности в наименьшем размере или не ограничен.
Рис. 5.
Для симметричных изображений дополнительный и местный вид ограничивают осевой линией.
2.2.3. РАЗРЕЗЫ: ПРОСТЫЕ, СЛОЖНЫЕ
В зависимости от положения секущих плоскостей сложные разрезы называют ступенчатыми, если секущие плоскости параллельны друг другу и ломаными, если секущие плоскости пересекаются.
Рис. 5. Горизонтальный ступенчатый разрез
Рис.6. Вертикальный ступенчатый разрез
Рис. 7.Горизонтальный Рис. 8. Вертикальный
ломаный разрез ломаный разрез
2.2.4 ОБОЗНАЧЕНИЕ РАЗРЕЗОВ
Положение секущих плоскостей обозначают на чертеже разомкнутой линией. При сложном разрезе штрихи разомкнутой линии проводят также у мест пересечения секущих плоскостей между собой. На крайних штрихах ставится стрелка, показывающая направление взгляда. Стрелка проводится на расстоянии 2…3 мм от конца штриха. Рядом со стрелками, со стороны противоположной контуру изображения, ставят одну и ту же прописную букву русского алфавита. Над изображением разреза ставят его обозначение по типу А – А.
Когда секущая плоскость совпадает с плоскостью симметрии предмета в целом, а соответствующие изображения расположены в непосредственной проекционной связи и не разделены какими-либо другими изображениями, для фронтальных, горизонтальных и профильных разрезов положение секущей плоскости не показывают и разрез надписью не сопровождают.
Рис. 9.
Рис. 10
2.2.5 СОЕДИНЕНИЕ ЧАСТИ ВИДА С ЧАСТЬЮ РАЗРЕЗА
Для представления одновременно, внешней и внутренней формы предмета допускается соединение на чертеже части вида и части разреза, для несимметричных деталей и половины вида с половиной разреза для симметричных. Разрез от вида при этом отделяется линией обрыва (тонкой сплошной волнистой линией) у несимметричных изображений и осевой (штрихпунктирной) у симметричных.
Рис. 11 Рис. 12
Разрез располагается справа на вертикальных плоскостях и снизу на горизонтальной плоскости.
Рис. 13
Линии внутреннего контура показанные на разрезе на виде не показывают. При выполнении штриховки на заштриховывается разрез вдоль тонкой стенки (до 10 мм), рёбер жесткости, ушки, спицы, зубья зубчатых колёс, шлицы.
Рис. 14
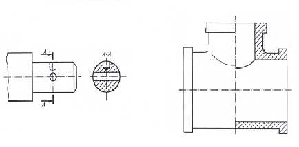
Если у симметричных деталей какой либо элемент совпадает с осью симметрии, то в этом случае соединяют часть вида с частью разреза, при этом элемент показывают видимым.
Рис. 15
В случаи нанесения размеров на разрезе выносная линия проводится со стороны видимости и ограничивается стрелкой только с одной стороны.
3. МЕТОДИКА ИЗУЧЕНИЯ МАТЕРИАЛА С ПОМОЩЬ ИНТЕРАКТИВНОЙ ДОСКТИ
При изучении данной темы используется интерактивная доска, а также модели, макеты. Последние используются для демонстрации процесса получения разрезов. Модели и макеты выполнены с вырезанной частью, по положению секущих плоскостей. При демонстрации в качестве секущих плоскостей можно использовать листы светлого картона или оргстекла, которые вставляем в прорези на макете, а затем убираем вместе с передней частью макета. На оставшейся на демонстрационном столе части мы видим внутреннюю форму, которая показывается на разрезе.
Изложение материала ведётся с демонстрацией лекционного материала с компьютера на интерактивной доске. Для изучения правил выполнения видов и разрезов используем приложения 1-4 данной методички. Так, например, при изучении правил получения сложных разрезов (приложение 2), открываем изображения для редактирования, выделяем изображение вида спереди и переносим его на изображение разреза. По двум видам объясняем последовательность выполнения и обозначения разреза, а затем изображение вида переносим на свободное поле чертежа, при этом на его месте остаётся разрез.
Для изучения правил соединения половины вида с половиной разреза этот же способ можно использовать с видом слева (приложение 4).
Для закрепления материала рекомендуется выполнение ступенчатых и ломаных разрезов в рабочей тетради и графическая работа по соединению на чертеже части вида с частью разреза с выполнением аксонометрии с вырезом четверти.
БИБЛИОГРАФИЧЕСКИЙ СПИСОК
1. А. А. Чекмарёв, В. К. Осипов/ Справочник по машиностроительному черчению Москва Высшая школа 2000г. 493с.
2.С. К. Боголюбов/ Инженерная графика Москва Машиностроение 2000г. 351с.
3.ГОСТ 2.305 – 68. Изображения – виды, разрезы, сечения // ЕСКД. Общие правила выполнения чертежей. ГОСТ 2.301 – 68. Москва 1988г.239с.
Приложение 1
Приложение 2
Приложение 3
Приложение 4
СОЕДИНЕНИЕ ЧАСТИ ВИДА С ЧАСТЬЮ РАЗРЕЗА
perviydoc.ru





